|
2
|
Верстак с тисками
|
1
|
1500 мм* 700 мм
|
3,15м2
|
-
|
36000
|
-
|
|
3
|
3
|
1500 мм* 1000 мм
|
4,5м2
|
-
|
24000
|
-
|
|
Итого:
|
Fоб.т.ос. = 7,65м2
|
-
|
Сто = 105000
|
|
Площадь участка:
Fто= Fавт+ (Fоб+Fосн)*Коб
где fОБ - суммарная площадь технологического
оборудования в плане, м2; fОСН - суммарная площадь организационной оснастки в
плане, м2; КОБП - коэффициент плотности
расстановки оборудования и оргоснастки = 4
Fавт - площадь автомобиля = 16м2
Fто=(16 х2 +10,25)*4=169 м2
Обоснование технологической планировки
производственной зоны (участка, отделения)
В данном разделе обосновывают принятое
планировочное решение, т.е. приводят полученное расчетное значение площади
производственной зоны (участка, отделения) к строительным нормам зданий и
сооружений.
Наиболее распространенной сеткой колонн для сборных
железобетонных конструкций одноэтажных производственных зданий СТОА является:
18´6, 18´12, 24´6 и 24´12 м. Пролеты
строительных конструкций располагаются вдоль здания. Такую сетку колонн
применяют для зон технического обслуживания и текущего ремонта.
Для одноэтажных производственных зданий,
не связанных с внутренним маневрированием подвижного состава, используют сетку
колонн железобетонных конструкций: 6´6, 9´6, 12´6 и 12´12 м. Такую сетку колонн
применяется для проектирования участков и отделений текущего ремонта.
Принятая по планировке площадь помещений
участковых работ не должна иметь отклонения от расчетной площади более чем на ± 10%.
Принимаем размеры зоны 18*9 м
Площадь зоны 18*9 = 162 м2
3. Организационно-технологическая
часть
.1 Выбор метода
организации работ по ТО автомобиля Scania P380
В зависимости от числа постов для вида ТО
и уровня их специализации различают два основных метода организации работ по
техническому обслуживанию автомобилей - метод универсальных и метод
специализированных постов. Посты при любом методе могут быть тупиковыми или
проездными (прямоточными).
Сущность метода универсальных постов состоит в том, что все
работы, предусмотренные для данного вида ТО, выполняются в полном объеме на
одном посту группой исполнителей или рабочих-универсалов.
В условиях АТП «Стройтранс-М» как бы применяется метод
универсальных постов, на которых производится весь перечень работ по ТО и ТР
одной бригадой рабочих состоящей из 4-5 человек, по одному человеку на пост.
Именно по этому расчеты по объему работ зоны ТО, количества
постов ТО, численности производственного персонала, производственных площадей и
пр. - не актуальны и абсолютно не применяются на практике.
.2 Перечень работ при выполнении ТО-2 автомобиля Scania P380
При выполнении работ по ТО Scania P380 рабочие
придерживаются официального «Руководства по техническому обслуживанию»© Scania
CV AB 2002, Sweden, в котором ТО-2 соответствует так называемому ТО-М(Medium) - (Среднее техническое
обслуживание).
Перечень работ так же разделяется на подкатегории:
· А: Смазочные работы, замена масла / масляных
фильтров, проверка уровней масла.
· B: Прочие проверки / замена
фильтров / проверка уровней.
· C: Проверка автомобиля на ходу.
При проведении ТО-М выполняются следующие работы:
A:
Смазочные работы: смазать узлы шасси и
установленное на заводе оборудование согласно картам смазки шасси и
оборудования.
Двигатель: слить масло и очистить сливную пробку.
Двигатель: заменить фильтр и заправить двигатель
маслом до нормального уровня.
Механическая коробка передач: проверить уровень масла;
проверить наличие признаков течи.
Главная передача: проверить наличие
признаков течи.
Гидрозамедлитель: заменить рабочую жидкость
и фильтр; очистить сливную пробку.
Колесные редукторы: заменить масло.
B:
Двигатель: очистить центробежный очиститель масла.
Двигатель: заменить фильтр системы вентиляции
картера.
Рулевой гидроусилитель: проверить уровень рабочей
жидкости.
Воздухоочиститель: проверить индикатор
загрязненности и при необходимости заменить фильтр.
Противосажевый фильтр Scania: очистить фильтр.
Сцепление: проверить степень износа.
Карданная передача: проверить промежуточную
опору и карданные шарниры на наличие повреждений и люфта.
Управляемые мосты: проверить люфт в подшипниках
шкворня и шаровых шарнирах; проверить грязезащитные чехлы и тяги привода на
наличие повреждений.
Воздушные ресиверы: слить конденсат;
Проверить ресиверы на наличие коррозии и наружных повреждений.
Барабанные тормозные механизмы: проверить толщину накладок;
записать следующие данные.
Регуляторы зазоров в тормозных механизмах: проверить начальную
установку.
Тормозные механизмы с ручной регулировкой: проверить степень износа
накладок и отрегулировать приводы тормозов.
Рама и кронштейны: осмотреть на наличие
трещин, ослабших болтов и заклепок.
Амортизаторы: проверить узлы креплений; проверить
наличие признаков течи.
Рессоры: проверить листы рессор, стремянки и хомуты на
наличие признаков повреждений.
Жидкость омывателя: проверить уровень
жидкости.
Система охлаждения: проверить уровень
охлаждающей жидкости, температуру замерзания жидкости или концентрацию
ингибитора коррозии; при необходимости скорректировать температуру замерзания и
концентрацию ингибитора коррозии.
Колеса и шины: проверить наличие повреждений шин и колес,
проверить равномерность износа протекторов шин.
Аккумуляторные батареи: проверить уровень
электролита.
Электрооборудование, фары и другие приборы
освещения и сигнализации: проверить функционирование, регулировку фар и действие
корректора фар; проверить стояночное освещение, стоп-сигналы, аварийную
сигнализацию, боковые габаритные фонари, указатели поворота и звуковой сигнал.
Двигатели DC11/D12/D16: проверить и при
необходимости отрегулировать зазоры в клапанном механизме.
Двигатель: проверить и при необходимости
отрегулировать высоту пружин насос-форсунок Scania PDE.
Двигатель: проверить состояние ремня (или ремней на
9-литровом двигателе) привода вспомогательных агрегатов.
Двигатель OSC11: заменить свечи зажигания.
Система питания топливом: заменить топливный фильтр
и прокачать топливную систему.
Дисковые тормозные механизмы: проверить толщину
тормозных колодок.
С:
Течь: запустить двигатель; проверить наличие течи
масла, охлаждающей жидкости, топлива, утечки воздуха и отработавших газов.
Двигатель OSC11: проверить параметр лямбда
на холостом ходу двигателя.
Контрольные приборы и визуальные сигнализаторы: проверить
функционирование.
Электронные блоки управления: считать и записать все
коды неисправностей; стереть коды неисправностей.
Двигатель OSC11: проверить параметр лямбда
при
работе двигателя под нагрузкой.
Сцепление, коробка передач: проверить работу на ходу
автомобиля.
Тормозная система: проверить
функционирование
рабочей, стояночной и вспомогательной тормозной
систем (моторного замедлителя).
Рулевое управление: проверить
функционирование.
Электронные блоки управления: считать и записать все
кода неисправностей.
3.3 Описание и схема технологического процесса
ТО-2 автомобиля Scania P380
A:
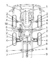
1. Смазать узлы шасси и установленное на заводе оборудование
согласно картам смазки шасси и оборудования:
· Петли и защелки передней решетки радиатора
· Замки опор кабины
· Ограничители дверей
· Петли дверей
· Рычажный привод регулятора тормозных сил
· Замок крышки багажного отделения
1 Рессорный палец
Регулятор рычага кулачкового вала тормоза
Опоры кулачкового вала тормоза
Подшипники шкворня (управляемый мост поднят)
Рессорная серьга
Карданный шарнир
Подшипник промежуточной опоры карданного вала
Шлицевое соединение карданного вала
Рычаг рулевого привода
2 Регулятор рычага кулачкового вала тормоза
Опоры кулачкового вала тормоза
Карданный шарнир
Шлицевое соединение карданного вала
. Слить масло с двигателя и очистить сливную пробку.
. Заменить фильтр и заправить двигатель маслом до
нормального уровня:
-литровый двигатель 23-30 литров.
-литровый двигатель 23-30 литров.
Двигатель DC11 и 12-литровый двигатель 28-35 литров.
-литровый двигатель 22-30 литров.
-литровый двигатель 26-32 литров.
Примечание: Приведенные значения являются
приблизительными. Проверьте
уровень по масляному щупу и долейте масло до нормы.
ВНИМАНИЕ! При выборе моторного масла необходимо обеспечить
соответствие вязкостных свойств масла вероятному диапазону температуры
окружающего воздуха в период до следующей замены масла.
4. Проверить уровень масла КПП; проверить наличие
признаков течи; при необходимости сменить масло.
· Демонтируйте шумоизолирующую панель, см.
рис.
· Поместите под коробку передач подходящую
емкость.
Предупреждение: На автомобилях с левым расположением
выпускной трубы масло при сливе может попадать на выпускной трубопровод. Во
избежание этого изготовьте из металлического листа направляющий желоб, по
которому масло будет течь в сливную емкость.
· Выверните сливную и контрольную пробки.
Слейте масло, пока оно не остыло.
· Очистите магниты сливной и контрольной
пробок.
· Отверните фильтр.
Примечание: Проверьте, чтобы старая прокладка также
была снята вместе с фильтром.
· Смажьте маслом резиновую прокладку нового
фильтра.
· Наверните фильтр до контакта прокладки с
картером коробки передач. Затем дополнительно заверните фильтр на полоборота.
· Вверните на место сливную пробку и
затяните ее моментом 100 Н.м.
· Заправьте коробку передач маслом по
уровень кромки контрольного отверстия.
· Вверните на место пробку контрольного
отверстия и затяните ее моментом 100 Н.м.

1 Контрольная пробка
Сливная пробка
Фильтр
. Проверить наличие признаков течи в главной
передаче.
· Поместите под главную передачу подходящую
емкость для масла.
· Слейте масло, пока оно не остыло.
· Очистите магниты сливной и контрольной
пробок.
· Вверните сливную пробку и затяните ее
моментом 100 Н.м. Заправьте главную передачу маслом по уровень кромки
контрольного отверстия.
· Вверните контрольную пробку и затяните ее
моментом 100 Н.м.
6. Заменить рабочую жидкость и фильтр
гидрозамедлителя; очистить сливную пробку.
· Поверните ключ в положение включения
питания бортовой сети и нажмите на диагностическую кнопку. Это обеспечивает
практически полное опорожнение аккумулятора рабочей жидкости. Весь объем
рабочей жидкости сливается в поддон гидрозамедлителя.
· Поместите под гидрозамедлитель подходящую
емкость.
· Слейте рабочую жидкость. Очистите
магнитную сливную пробку, установите ее на место и затем затяните моментом 26
Н.м.
· Замените фильтр гидрозамедлителя.
· Проверьте состояние уплотнительного кольца
крышки. При необходимости замените уплотнительное кольцо. Затяните болты
крест-накрест моментом 20 Н.м.
· Залейте рабочую жидкость через заправочное
отверстие (около 5 литров) и затем затяните заливную пробку моментом 26 Н.м.
7. Заменить масло в колесных редукторах.
· Поместите под колесный редуктор подходящую
емкость для масла.
· Очистите от грязи крышку редуктора.
· Поверните колесный редуктор, так чтобы
сливная пробка 3 оказалась в нижнем положении.
· Выверните сливную пробку 3 и заливную
пробку 2. Слейте масло.
· Поверните колесный редуктор, так чтобы
линия 1 на крышке заняла горизонтальное положение.
· Заправьте редуктор маслом через верхнее
отверстие 2, пока масло не начнет вытекать из нижнего отверстия 3. Вверните
сливную и заливную пробки и затяните их моментом 10 Н.м.

B:
. Очистить центробежный очиститель моторного масла.
· Очистите крышку. Отверните гайку и снимите
крышку.
· Выньте ротор и отверните гайку ротора на
три оборота.
· Если гайка не отворачивается от руки:
Зажмите гайку (но ни в коем случае не ротор) в тисках и усилием руки или
с помощью отвертки поверните ротор на три оборота.
· Слегка постучите рукой или пластмассовым
молотком по гайке, чтобы отделить корпус ротора от основания.
· Отверните гайку и снимите корпус ротора.
Осторожно подденьте и снимите с основания сетчатый фильтр.
· Соскоблите все отложения с внутренней
поверхности ротора. Если толщина слоя отложений превышает 26 мм, необходимо
сократить интервалы обслуживания центробежного очистителя масла.
· Промойте все детали в чистом дизельном
топливе.
· Установите уплотнительное кольцо в корпус
ротора. Уплотнительное кольцо не должно иметь повреждений.
· Соберите ротор.
· Плотно затяните гайку ротора усилием
руки.
· Установите ротор на место. Проверьте
легкость вращения ротора.
· Проверьте уплотнительное кольцо крышки
очистителя на наличие повреждений. Установите крышку на место и затяните гайку
моментом 10 Н.м.
2. Заменить фильтр системы вентиляции картера.
3. Проверить уровень рабочей жидкости
гидроусилителя.
4. Проверить индикатор загрязненности и при необходимости
заменить фильтр воздухоочистителя.
Для того чтобы заменить воздушный фильтр, необходимо снять
правую секцию бампера. Секция закреплена тремя винтами. Это не относится к
автомобилям со стальным бампером. Снимите пружинные фиксаторы, которые
удерживают крышку воздухоочистителя. Вставьте в корпус воздухоочистителя новый
фильтрующий элемент.

5. Проверить степень износа сцепления.
С помощью щупа 99 315 проверяется предельно допустимый износ
ведомого диска сцепления. Толщина нового ведомого диска сцепления составляет 10
мм. Предельная остаточная толщина ведомого диска составляет 7 мм.
· Демонтируйте шумоизолирующую панель.
· Снимите защитную крышку контрольного окна,
которое расположено снизу кожуха маховика.
· Вставьте щуп 99 315 между нажимным диском
и маховиком. Остаточная толщина ведомого диска сцепления должна превышать 7 мм.
6. Проверить промежуточную опору карданной передачи
и карданные шарниры на наличие повреждений и люфта.
· Проверьте карданные валы (включая
промежуточный вал) на наличие повреждений.
· Проверьте карданные шарниры и подшипник
промежуточной опоры на наличие зазоров.
· Подтяните болты кронштейна промежуточной
опоры и проверьте резиновую обойму подшипника на наличие повреждений.
7. Проверить люфт в подшипниках шкворня и шаровых
шарнирах управляемых мостов; проверить грязезащитные чехлы и тяги привода на
наличие повреждений.
8. Cлить конденсат воздушных
ресиверов; Проверить ресиверы на наличие коррозии и наружных повреждений.
9. Проверить толщину накладок барабанных тормозов;
· Выключите стояночный тормоз.
· Сдвиньте крышку контрольного окна в
какую-либо сторону.
· Приподнимите противоположный край крышки и
снимите ее.
Толщина накладки должна быть не менее 8 мм (или 10 мм для
накладки увеличенного размера). Проверьте остаточную толщину накладки по
индикатору предельного износа. Если толщины накладок на одном мосту отличаются
более, чем на 3 мм, проверьте состояние тормозных механизмов.
10. Проверить начальную установку регуляторов зазоров
в тормозных механизмах.
11. Проверить степень износа накладок и
отрегулировать приводы тормозов.
12. Осмотреть раму на наличие трещин, ослабших болтов
и заклепок.
13. Проверить узлы креплений амортизаторов; проверить
наличие признаков течи.
Проверьте, чтобы затяжка болтов креплений амортизаторов
соответствовала установленным моментам.
Моменты затяжки гаек:
Верхнее крепление, M14 70 Н.м M16 90 Н.м
Нижнее крепление, M16 210 Н.м M20 350 Н.м
14. Проверить листы рессор, стремянки и хомуты на
наличие признаков повреждений.
15. Проверить уровень жидкости омывателя.
16. Проверить уровень охлаждающей жидкости,
температуру замерзания жидкости или концентрацию ингибитора коррозии; при
необходимости скорректировать температуру замерзания и концентрацию ингибитора
коррозии.
Определите содержание гликолевого антифриза в охлаждающей
жидкости с помощью тестера 588 227, используемого для контроля охлаждающей
жидкости и электролита.
17. Проверить наличие повреждений шин и колес,
проверить равномерность износа протекторов шин.
· Измерьте остаточную глубину рисунка протектора:
глубина рисунка должна быть не менее 3 мм, если шина подлежит дополнительной
нарезке канавок. Для обеспечения безопасности дорожного движения минимальная
глубина рисунка протектора составляет 3 мм. Индикаторы предельного износа шины
появляются при глубине рисунка протектора 1,6 мм.
· Проверьте давление воздуха в шинах.
Рекомендуемое давление воздуха в шинах приведено в эксплуатационной
документации (Инструкция по замене колес OM-25) и в инструкции изготовителя
шин. Также соблюдайте требования действующих нормативных документов.
18. Проверить уровень электролита в аккумуляторах.
· Проверьте уровень электролита во всех
аккумуляторах батареи. Уровень электролита должен быть выше пластин на 10-12
мм.
· При необходимости долейте в батарею
дистиллированную воду.
19. Проверить функционирование, регулировку фар и
действие корректора фар; проверить стояночное освещение, стоп-сигналы,
аварийную сигнализацию, боковые габаритные фонари, указатели поворота и
звуковой сигнал.
20. Проверить и при необходимости отрегулировать
зазоры в клапанном механизме двигателя.
Величины зазоров должны составлять:
9-ти и 11-литровый двигатели (кроме DC11):
впускные клапаны 0,45 мм, выпускные клапаны 0,80 мм.
Двигатель DC11 и 12-литровый двигатель:
впускные клапаны 0,45 мм, выпускные клапаны 0,70 мм.
Отрегулируйте зазоры впускных и выпускных клапанов, когда
поршень соответствующего цилиндра находится в ВМТ (TDC) в конце такта сжатия.
Для перехода к следующему цилиндру каждый раз поворачивайте коленчатый вал на
1/3 оборота с помощью приспособления 99 309. Отрегулируйте зазоры клапанного
механизма в порядке работы цилиндров двигателя:
- 5 - 3 - 6 - 2 - 4
21. Проверить состояние ремня (или ремней на
9-литровом двигателе) привода вспомогательных агрегатов.
· Снимите ремень со шкивов, оставив его на
валу вентилятора. Это гарантирует сохранение направления движения ремня при его
последующей установке на шкивы.
· Внимательно осмотрите ремень. При
обнаружении одной или более трещин замените ремень.

· Проверьте также степень износа ремня.

22. Заменить свечи зажигания.
23. Заменить топливный фильтр и прокачать топливную
систему.
· Очистите фильтр снаружи и кронштейн
фильтра.
· Отверните топливный фильтр. Используйте
съемник фильтра, например, приспособление 587 025.
· Смажьте уплотнительное кольцо фильтра и
наверните на кронштейн новый фильтр. Вращайте фильтр рукой до контакта
уплотнительного кольца с пояском кронштейна. Затем дополнительно заверните
фильтр на полоборота. Прокачайте топливную систему.

24. Проверить толщину тормозных колодок.
Проверьте, насколько далеко выступают резиновые втулки.
Положение резиновых втулок указывает на суммарный износ тормозных дисков и
колодок. Если резиновые втулки указывают на предельный износ деталей, снимите
колесо и проверьте степень износа тормозного диска и колодок
С:
. Запустить двигатель; проверить наличие течи
масла, охлаждающей жидкости, топлива, утечки воздуха и отработавших газов.
2. Проверить параметр лямбда на холостом ходу
двигателя.
3. Проверить функционирование контрольных приборов и
визуальных сигнализаторов.
4. Считать и записать все коды неисправностей;
стереть коды неисправностей.
5. Проверить параметр лямбда при работе двигателя
под нагрузкой.
6. Проверить работу коробки передач на ходу
автомобиля.
7. Проверить функционирование рабочей, стояночной и
вспомогательной тормозной систем (моторного замедлителя).
8. Проверить функционирование рулевого управления.
9. Считать и записать все кода неисправностей.
.4 Мероприятия по охране труда, охране окружающей
среды и противопожарные мероприятия зоны ТО
Мероприятия по охране труда включают:
. Проведение в установленном порядке работ
по аттестации рабочих мест по условиям труда, оценке уровней профессиональных
рисков.
. Реализация мероприятий по улучшению
условий труда, в том числе разработанных по результатам аттестации рабочих мест
по условиям труда, и оценки уровней профессиональных рисков.
. Внедрение систем (устройств)
автоматического и дистанционного управления и регулирования производственным
оборудованием, технологическими процессами, подъемными и транспортными
устройствами.
. Приобретение и монтаж средств
сигнализации о нарушении нормального функционирования производственного
оборудования, средств аварийной остановки, а также устройств, позволяющих
исключить возникновение опасных ситуаций при полном или частичном прекращении
энергоснабжения и последующем его восстановлении.
. Устройство ограждений элементов
производственного оборудования от воздействия движущихся частей, а также
разлетающихся предметов, включая наличие фиксаторов, блокировок,
герметизирующих и других элементов.
. Устройство новых и (или) модернизация
имеющихся средств коллективной защиты работников от воздействия опасных и
вредных производственных факторов.
. Нанесение на производственное
оборудование, органы управления и контроля, элементы конструкций, коммуникаций
и на другие объекты сигнальных цветов и знаков безопасности.
. Внедрение систем автоматического
контроля уровней опасных и вредных производственных факторов на рабочих местах.
. Внедрение и (или) модернизация
технических устройств, обеспечивающих защиту работников от поражения
электрическим током.
. Установка предохранительных, защитных и
сигнализирующих устройств (приспособлений) в целях обеспечения безопасной
эксплуатации и аварийной защиты паровых, водяных, газовых, кислотных, щелочных,
расплавных и других производственных коммуникаций, оборудования и сооружений.
. Механизация и автоматизация
технологических операций (процессов), связанных с хранением, перемещением
(транспортированием), заполнением и опорожнением передвижных и стационарных
резервуаров (сосудов) с ядовитыми, агрессивными, легковоспламеняющимися и горючими
жидкостями, используемыми в производстве.
. Механизация работ при складировании и
транспортировании сырья, оптовой продукции и отходов производства.
. Механизация уборки производственных
помещений, своевременное удаление и обезвреживание отходов производства,
являющихся источниками опасных и вредных производственных факторов, очистки
воздуховодов и вентиляционных установок, осветительной арматуры, окон, фрамуг,
световых фонарей.
. Модернизация оборудования (его
реконструкция, замена), а также технологических процессов на рабочих местах с
целью снижения до допустимых уровней содержания вредных веществ в воздухе
рабочей зоны, механических колебаний (шум, вибрация, ультразвук, инфразвук) и
излучений (ионизирующего, электромагнитного, лазерного, ультрафиолетового).
. Устройство новых и реконструкция
имеющихся отопительных и вентиляционных систем в производственных и бытовых
помещениях, тепловых и воздушных завес, аспирационных и пылегазоулавливающих
установок, установок кондиционирования воздуха с целью обеспечения нормального
теплового режима и микроклимата, чистоты воздушной среды в рабочей и
обслуживаемых зонах помещений.
. Приведение уровней естественного и
искусственного освещения на рабочих местах, в бытовых помещениях, местах
прохода работников в соответствии с действующими нормами.
. Устройство новых и (или) реконструкция
имеющихся мест организованного отдыха, помещений и комнат релаксации,
психологической разгрузки, мест обогрева работников, а также укрытий от
солнечных лучей и атмосферных осадков при работах на открытом воздухе;
расширение, реконструкция и оснащение санитарно-бытовых помещений.
. Приобретение и монтаж установок
(автоматов) для обеспечения работников питьевой водой.
. Обеспечение в установленном порядке
работников, занятых на работах с вредными или опасными условиями труда, а также
на работах, производимых в особых температурных и климатических условиях или
связанных с загрязнением, специальной одеждой, специальной обувью и другими
средствами индивидуальной защиты, смывающими и обезвреживающими средствами.
. Обеспечение хранения средств
индивидуальной защиты (далее - СИЗ), а также ухода за ними (своевременная
химчистка, стирка, дегазация, дезактивация, дезинфекция, обезвреживание,
обеспыливание, сушка), проведение ремонта и замена СИЗ.
. Приобретение стендов, тренажеров,
наглядных материалов, научно-технической литературы для проведения инструктажей
по охране труда, обучения безопасным приемам и методам выполнения работ,
оснащение кабинетов (учебных классов) по охране труда компьютерами, теле-,
видео-, аудиоаппаратурой, лицензионными обучающими и тестирующими программами,
проведение выставок, конкурсов и смотров по охране труда.
. Организация в установленном порядке
обучения, инструктажа, проверки знаний по охране труда работников.
. Организация обучения работников оказанию
первой помощи пострадавшим на производстве.
. Обучение лиц, ответственных за
эксплуатацию опасных производственных объектов.
. Проведение в установленном порядке
обязательных предварительных и периодических медицинских осмотров
(обследований).
. Оборудование по установленным нормам
помещения для оказания медицинской помощи и (или) создание санитарных постов с
аптечками, укомплектованными набором лекарственных средств и препаратов для
оказания первой помощи.
. Устройство тротуаров, переходов,
тоннелей, галерей на территории организации в целях обеспечения безопасности
работников.
. Организация и проведение
производственного контроля в порядке, установленном действующим
законодательством.
. Издание (тиражирование) инструкций по
охране труда.
. Перепланировка размещения
производственного оборудования, организация рабочих мест с целью обеспечения
безопасности работников.
. Проектирование и обустройство
учебно-тренировочных полигонов для отработки работниками практических навыков
безопасного производства работ, в том числе на опасных производственных
объектах.
Мероприятия по охране окружающей среды
включают:
результаты расчетов приземных концентраций
загрязняющих ве-ществ, анализ и предложения по предельно допустимым и временно согласованным
выбросам;
обоснование решений по очистке сточных вод
и утилизации обезвреженных элементов, по предотвращению аварийных сбросов
сточных вод;
мероприятия по охране атмосферного
воздуха;
мероприятия по оборотному водоснабжению -
для объектов производственного назначения;
мероприятия по охране и рациональному
использованию земельных ресурсов и почвенного покрова, в том числе мероприятия
по рекультивации нарушенных или загрязненных земельных участков и почвенного
покрова;
мероприятия по сбору, использованию,
обезвреживанию, транс-портировке и размещению опасных отходов;
мероприятия по охране недр - для объектов
производственного назначения;
мероприятия по охране объектов
растительного и животного мира и среды их обитания (при наличии объектов растительного
и животного мира, занесенных в Красную книгу Российской Федерации и красные
книги субъектов Российской Федерации, отдельно указываются мероприятия по
охране таких объектов);
мероприятия по минимизации возникновения
возможных аварий-ных ситуаций на объекте капитального строительства и
последствий их воздействия на экосистему региона;
мероприятия, технические решения и
сооружения, обеспечиваю-щие рациональное использование и охрану водных
объектов, а также сохранение водных биологических ресурсов (в том числе
предотвращение попадания рыб и других водных биологических ресурсов в
водозаборные сооружения) и среды их обитания, в том числе условий их
размножения, нагула, путей миграции (при необходимости);
программу производственного экологического
контроля (монито-ринга) за характером изменения всех компонентов экосистемы при
строительстве и эксплуатации объекта, а также при авариях;
в) перечень и расчет затрат на реализацию
природоохранных мероприятий и компенсационных выплат;
Мероприятия по пожарной безопасности
включают:
1. описание системы обеспечения пожарной безопасности
объекта капитального строительства;
2. обоснование противопожарных расстояний между
зданиями, сооружениями и наружными установками, обеспечивающих пожарную
безопасность объектов капитального строительства;
. описание и обоснование проектных решений по
наружному противопожарному водоснабжению, по определению проездов и подъездов
для пожарной техники;
. описание и обоснование принятых конструктивных и
объемно-планировочных решений, степени огнестойкости и класса конструктивной
пожарной опасности строительных конструкций;
. описание и обоснование проектных решений по
обеспечению безопасности людей при возникновении пожара;
. перечень мероприятий по обеспечению безопасности
подразделений пожарной охраны при ликвидации пожара;
. сведения о категории зданий, сооружений, помещений,
оборудования и наружных установок по признаку взрывопожарной и пожарной
опасности;
. перечень зданий, сооружений, помещений и
оборудования, подлежащих защите автоматическими установками пожаротушения и
оборудованию автоматической пожарной сигнализацией;
. описание и обоснование противопожарной защиты
(автоматических установок пожаротушения, пожарной сигнализации, оповещения и
управления эвакуацией людей при пожаре, внутреннего противопожарного
водопровода, противодымной защиты);
. описание и обоснование необходимости размещения
оборудования противопожарной защиты, управления таким оборудованием,
взаимодействия такого оборудования с инженерными системами зданий и оборудованием,
работа которого во время пожара направлена на обеспечение безопасной эвакуации
людей, тушение пожара и ограничение его развития, а также алгоритма работы
технических систем (средств) противопожарной защиты (при наличии);
. описание организационно-технических мероприятий по
обеспечению пожарной безопасности объекта капитального строительства;
. расчет пожарных рисков угрозы жизни и здоровью людей
и уничтожения имущества (при выполнении обязательных требований пожарной
безопасности, установленных техническими регламентами, и выполнении в
добровольном порядке требований нормативных документов по пожарной безопасности
расчет пожарных рисков не требуется);
. В графической части раздел содержит:
ситуационный план организации земельного участка, предоставленного для
размещения объекта капитального строительства, с указанием въезда (выезда) на
территорию и путей подъезда к объектам пожарной техники, мест размещения и
емкости пожарных резервуаров (при их наличии), схем прокладки наружного
противопожарного водопровода, мест размещения пожарных гидрантов и мест
размещения насосных станций;
. схемы эвакуации людей и материальных средств из
зданий (сооружений) и с прилегающей к зданиям (сооружениям) территории в случае
возникновения пожара;
. структурные схемы технических систем (средств)
противопожарной защиты (автоматических установок пожаротушения, автоматической
пожарной сигнализации, внутреннего противопожарного водопровода).
4. Конструкторская часть
.1 Сравнительная техническая характеристика
существующего и внедряемого технологического оборудования, применяемого при
проведении ТО-2 автомобиля Scania P380
При проведении ТО и ТР Scania P380, как впрочем и любых
большегрузных автомобилей и спецтехники на колесном ходу, возникает такая
проблема как прикипевшие колесные гайки и болты. Порой доходит до того что с
ними не могут справится даже пневматические гайковерты. В подобных ситуациях
применяется специальный инструмент - Балонный ключ с усилителем крутящего
момента (в простонародье - Мясорубка).
Конструкция инструмента основана на планетарной передаче,
которая способна в десятки раз увеличить усилие создаваемое рукой человека при
помощи рукоятки. Некоторые, усиленные модели данного приспособления высшей
ценовой категории, способны выдавать до 3500! Н.м. (для сравнения: Двигатель Bugatti Veyron 16.4 Super Sport - 1500 Н.м. при 2200
об/мин; Двигатель Scania D12 - 2200 Н.м.).
4.2 Устройство и порядок использования
внедряемого технологического оборудования
В комплект приспособления входят:
• ключ баллонный с усилителем крутящего момента
• ручка, удлинитель
• головки торцевые ударные 24 мм и 27 мм
Инструкция по эксплуатации:
Снятие колеса
Для откручивания гайки крепления диска колеса установить
усилитель крутящего момента с присоединенной торцевой головкой. Установить
ручку в рабочее положение. Для отворачивания гайки крепления диска колеса
вращение ручки производить против часовой стрелки до срыва колесной гайки (Рис.
1). Продолжать вращение ручки в том же направлении до полного откручивания
колесной гайки. Операцию повторить для всех гаек.
Установка колеса.
Для закручивания гайки крепления диска колеса установить
усилитель крутящего момента с присоединенной торцевой головкой. Установить
ручку в рабочее положение. Вращение ручки производить по часовой стрелке до
увеличения усилия на вороток (Рис. 2). Продолжать вращение ручки в том же
направлении до полной затяжки колесной гайки. Операцию повторить для всех
колесных гаек.
4.3 Техника безопасности при работе с
технологическим оборудованием
1. Ручной слесарно-кузнечный
инструмент повседневного применения должен быть закреплен за рабочими для
индивидуального или бригадного использования.
. Размеры зева (захвата) гаечных
ключей не должны превышать размеров головок болтов (граней гаек) более чем на
0,3 мм. Применение подкладок при зазоре между плоскостями губок и головок
болтов или гаек более допустимого запрещается.
Рабочие поверхности гаечных ключей не
должны иметь сбитых скосов, а рукоятки - заусенцев. На рукоятке должен быть
указан размер ключа. При отвертывании и завертывании гаек и болтов удлинять
гаечные ключи дополнительными рычагами, вторыми ключами или трубами
запрещается. При необходимости следует применять ключи с длинными рукоятками.
Допускается удлинять рукоятки ключей дополнительными рычагами только типа
«звездочка».
. Инструмент на рабочем месте
должен быть расположен так, чтобы исключалась возможность его скатывания или
падения. Класть инструмент на перила ограждений или неогражденный край площадки
лесов, подмостей, а также вблизи открытых люков, колодцев запрещается.
. При переноске или перевозке
инструмента острые части его должны быть защищены.
. Весь ручной слесарно-кузнечный
инструмент (как находящийся в инструментальной, так и выданный на руки) должен
периодически осматриваться инженерно-техническим работником, назначенным
распоряжением по подразделению, но не реже одного раза в квартал.
Ответственность за исправность инструмента перед работой в процессе работы
определяется соответствующими правилами техники безопасности. Неисправный
инструмент должен изыматься.
5. Экономическая
часть
5.1
Расчет капитальных вложений для зоны постовых работ по ТО и текущему ремонту
Сздан = См * F, где:
См - стоимость 1 м2 строительных работ, руб. (780
руб. в месяц)
Сздан = 12*780*170м2=1591200
5.2
Расчет эксплуатационных затрат для зоны постовых работ по ТО и текущему ремонту
Определяем общий фонд заработной платы ремонтных рабочих с
начислениями:
ФЗПобщ.с нач.=Сср.час.*Фрв*Np.p.*Кпрем.*Кбриг.*Кпразд.*Квред*Кдзп*Квеч.*Кнач.,
где:
Сср.час - средняя часовая тарифная ставка, руб.;
Фрв - фонд рабочего времени ремонтного рабочего за год, ч;.p.
- Количество ремонтных рабочих, ч;
Кпрем. - коэффициент, учитывающий выплату премии = 2;
Кбриг. - коэффициент, учитывающий доплату за руководство
бригадой = 1,02;
Кпразд. - коэффициент, учитывающий работу в праздники = 1,01;
Квред - коэффициент. учитывающий доплату за работу в тяжелых
и вредных условиях труда = 1,04;
Кдзп - коэффициент, учитывающий дополнительную заработную
плату с учетом условий труда ремонтных рабочих = 1,11;
Квеч. - коэффициент, учитывающий доплату за работу в вечерние
и ночные часы = 1;
Кнач. - коэффициент, учитывающий начисления на фонд оплаты
труда = 1,304
ФЗПобщ.с нач.=179*258*30*2*1,02*1,01*1,04*1,11*1*1,304 =
4297139,4
Определяем среднюю заработанную плату 1 ремонтного рабочего
за месяц:
ЗП ср. мес. = ФЗП общ. с нач./ 1,304 / (Nр.р.×12)
ЗП ср. мес. = 4297139/1,304/8х12=34326 руб.
Расчет расходов на ремонтные материалы:
Принимаем в размере 30% от общего фонда заработной платы с
начислениями.
С мат.= ФЗПобщ.с нач. * 0,3
С мат.= 4297139,4 * 0,3 = 1289141,82
Расчет накладных расходов.
Определяем затраты на воду:
для хозяйственно-питьевых нужд:
С воды хоз. нужд=Н расх.*N р. р. * 12, где
Н расх. - затраты на воду на 1 человека в месяц, руб.
С воды хоз. нужд= 258*30*12 = 92880
для технологических нужд:
С воды тех. нужд= Н расх.*Д раб. уч. * Ц куб. м, где
Н расх. - норма расхода воды в день, куб. м.
Ц куб. м - цена за куб. м., руб.
С воды тех. нужд= 3,5*258*19= 17157
общие затраты на воду:
С воды общ.= С воды хоз. нужд +С воды тех. нужд
С воды общ.= 42120+17157=59277
Определяем затраты на электроэнергию:
а) Освещение
ламп * 0,1кВт * 12 ч * 257 дн * 5 руб. = 69390
б) Оборудование
кВт * 12 ч * 257д * 5 руб. = 1542000
в) Вентиляция
,5кВт * 5 руб. * 12 ч *257д = 5250
г) Подогреватель воды
,0кВт * 5 руб. * 12 ч * 257д = 15420
С эл. эн.= 69390+1542000+ 5250+15420= 1632080
Определяем общую сумму амортизационных отчислений:
Таблица 12
|
№ п/п
|
Группы основных фондов
|
Стоимость (руб.)
|
Норма амортизации (%)
|
Сумма амортизационных отчислений (руб.)
|
|
1
|
Здание
|
1938000
|
3,3
|
587272
|
|
2
|
Оборудование
|
861000
|
16,6
|
142926
|
|
3
|
Организац. Оснастка
|
372000
|
20,0
|
74400
|
|
Итого
|
С опф = 3171000
|
-
|
Ам опф = 804598
|
Определяем заработную плату административно-управленческого
персонала и вспомогательных рабочих с начислениями (в размере 25% от общего
фонда заработной платы ремонтных рабочих с начислениями):
ФЗП АУП и всп. Раб. с нач.=ФЗП общ. с нач. р. р *0,25
ФЗП АУП и всп. Раб. с нач.= 69019416,96*0,25=1074284,85
Прочие накладные расходы:
Принимаем, что прочие накладные расхода составляют 20% от
стоимости здания:
С пр. нак. рас. = С здан. * 0,2
С пр. нак. рас. =1938000 * 0,2 = 387600
Таблица 13. Смета накладных расходов
|
№ п/п
|
Наименование статей расходов
|
Условные обозначения
|
Сумма (руб.)
|
|
1
|
Затраты на воду
|
С вод.
|
59277
|
|
2
|
Затраты на электроэнергию
|
С эл. эн.
|
1632080
|
|
3
|
Затраты на амортизацию
|
А м опф
|
804598
|
|
4
|
Затраты на содержание АУП и вспомогательных
рабочих
|
ФЗП АУП и всп. р.
|
1074284,85
|
|
5
|
Износ технологической оснастки
|
С тех.осн.
|
1968000
|
|
6
|
Прочие накладные расходы
|
С пр.нак.рас.
|
387600
|
|
Итого:
|
|
5925839,85
|
5.3 Расчет экономической
эффективности внедряемых предложений
Определение выручки и тарифов на услуги:
Определяем выручку за оказанные услуги
(норма прибыли - 50%)
В = С 2 общ. * 1,5,
где С 2 общ. - общая сумма затрат
В = 43429522,32* 1,5 = 65144283,48
Определяем валовую прибыль:
Пв = В-С 2 общ
Пв =65144283,48 - 43429522,32= 21714761,16
Определяем чистую прибыль:
П ч. = Пв - Налог на прибыль - налог на и
Изм. имущество
Ставки по налогам: налог на прибыль - 20%,
налог на имущество - 2,2%
Н на прибыль = Пв*0,2 = 4342952,23 Н
на имущество = С опф*0,022 = 69762
П ч. = 21714761,16 - 4342952,23 - 69762 =
17302046,93
Определяем рентабельность затрат зоны:
уч. = (Пч/С общ.)*100
уч. = (17302046,93/43429522,32)*100 =
39,83
Определяем срок окупаемости:
О кв = КВ / П ч. О кв =
115619940,28/17302046,93= 6,68
Заключение
В процессе выполнения дипломной работы и прохождения
преддипломной практики на предприятии ООО «Стройтранс-М» мной были достигнуты
цели поставленные на эту дипломную работу, а так же изучены интересные лично
мне вопросы, решения некоторых из них на мой взгляд не помешало бы добавить в
программу обучения специалистов среднего профессионального образования по
специальности «ТО и ремонт автомобильного транспорта».
· Развил умение обоснованно выбирать,
планировать и организовывать производственные процессы ремонта автомобильного
транспорта опираясь на текущий финансовый лимит предприятия и грамотную
расстановку приоритетов;
· Применил способность находить и
анализировать необходимую информацию в отечественных и зарубежных источниках
для решения каждого конкретного вопроса;
· Проанализировал и оценил состояние охраны
труда на предприятии.
· Ознакомился с должностными инструкциями
Механика / Слесаря / Водителя.
· Усвоил правила оформления путевых листов,
товарно-транспортных накладных, и прочей сопроводительной документации.
· Познакомился с порядком складского учета
запасных частей, топлива, ГСМ.
· Научился использовать различную документацию,
такую как заправочные ведомости, нормы расхода топлива и прочее, для проведения
простейших расчетов - таксировки, вычисления количества моточасов, пережог /
экономия / остатки топлива и т.д.
· Ознакомился и частично освоил
специализированное программное обеспечение такое как:
«СКАУТ-Эксплорер» (Спутниковый Контроль Автотранспорта
и Учет Топлива)
«1С-Рарус: Автотранспорт»
На мой взгляд изучение перечисленных выше понятий поможет
молодому специалисту быстрее понять структуру организации, принцип работы
автотранспортного подразделения, основы эксплуатации подвижного состава, и, в
дальнейшем, облегчит дальнейшее обучение в высшем учебном заведении, или же в
условиях автопредприятия при наличии соответствующей информационной базы.
Список литературы
1. Скания
руководство по ТО и ремонту, Scania CV AB 2002, Sweden.
2. Ю.Е.
Глазков, Н.Е. Портнов, А.О. Хренников: ТЕХНОЛОГИЧЕСКИЙ РАСЧЕТ И ПЛАНИРОВКА
АВТОТРАНСПОРТНЫХ ПРЕДПРИЯТИЙ.
3. И.Н.
Лавриков, Н.В. Пеньшин: ЭКОНОМИКА АВТОМОБИЛЬНОГО ТРАНСПОРТА
4. Положение
о техническом обслуживании и ремонте подвижного состава автомобильного
транспорта. - М.:Транспорт, 1991 г.
. Быховский
М.Л., Мирошкин К.П. Методические рекомендации по курсовому проектированию
станций технического обслуживания автомобилей, ГОУ СПО КАТ №9, 2008 г.
. Общесоюзные
нормы технологического проектирования предприятий автомобильного транспорта,
ОНТП-01-91 (Росавто-транс). - М.: Гипроавтотранс. 1991.
. М.В.
Светлов Техническое обслуживание и ремонт автомо-бильного транспорта.
Учебно-методическое пособие. Дипломное проектирование. М КНОРУС, 2012.