Проектирование зоны ТО и ТР автомобилей с выделением шиноремонтного участка
Министерство
образования Нижегородской области
ГОУ
СПО «Лысковский агротехнический техникум»
Курсовой
проект
По
дисциплине: Техническое обслуживание автомобилей
Тема:
Проектирование зоны ТО и ТР автомобилей с выделением шиноремонтного участка
Лысково
Содержание
Введение
. Назначение объекта
проектирования
.1 Назначение АТП
.2 Назначение
проектируемого участка
. Технологическая часть
.1 Выбор исходных данных
.2 Расчет периодичности
воздействия
.3 Таблица
корректирования пробега по кратности
.4 Расчет
производственной программы
.5 Расчет трудоемкости
по ТО и ТР
.6 Расчет явочного
количества производственных работ
.7 Распределение
трудоемкости по видам работ
.8 Расчет зон ТО
.9 Расчет зоны постовых
работ ТР
.10 Подбор оборудования
для объекта проектирования
.11 Расчет площади
объекта проектирования
. Организационная часть
.1 Организация
производства
.2 Мероприятия по охране
труда
Заключение по проекту
Список литературы
Введение
В 1967 году
КрАЗ-214Б был подвергнут глубокой модернизации - были установлены новый, более
мощный и экономичный мотор ЯМЗ-238, колеса с широкопрофильными шинами
переменного давления, система централизованного регулирования давления воздуха
в шинах. Предназначен для транспортировки грузов и личного состава по дорогам и
бездорожью. Увеличились скорость и грузоподъемность. Автомобиль стал называться
КрАЗ-255Б (народные прозвища - «лаптёжник», «лапоть», «луноход»).
Серийное
производство КрАЗ-255Б продолжалось до 1984 года. С 1979 года машина
выпускалась в варианте КрАЗ-255Б1 без раздельного привода тормозов и с
изменённым дизайном передней светотехники: фары и поворотники устанавливались в
прямоугольные металлические короба.
Тяжелые дизельные
грузовики КрАЗ выпускались в стандартных армейских модификациях бортового автомобиля,
седельного тягача (КрАЗ-255В) и шасси. Следует отметить, что бортовая машина в
большинстве случаев используется в качестве тягача для буксировки тяжелых
прицепов, в том числе орудий ствольной артиллерии.
На шасси КрАЗ-255Б
выполнен длинный ряд инженерных машин: автомобили понтонно-мостовых парков ПМП,
ПМП-М, ППС-84, ПП-91, мостоукладчики УСМ и ТММ, экскаваторы Э-305В и ЭОВ-4421,
автокраны. Кроме того, на шасси КрАЗ-255Б устанавливался антенный пост
радиовысотомера ПРВ-16, входившего в состав ЗРК "Круг".
Кабина -
трёхместная, деревянная, с металлической обшивкой. Кузов - металлический, с
откидным задним бортом. Кроме того, автомобиль оборудовался лебедкой и
предпусковым обогревателем.
На базе модели 255Б
разработана также модификация 255В - седельный тягач (6х6).
Первую серьезную
модернизацию грузовиков КрАЗ провели в 1965 году, снабдив их более мощным и
экономичным дизелем ЯМЗ-238 и пятиступенчатой коробкой передач - так появился
КрАЗ-257, выпускавшийся в различных модификациях вплоть до 1995 года.
Самосвал КрАЗ-257 с
колесной формулой 6х4.1963 до 1965 г. завод выпускал автомобиль КрАЗ-219Б,
отличавшийся от модели 257 силовым агрегатом, с 1959 по 1963г. - КрАЗ-219,
который являлся модернизированным автомобилем ЯАЗ-210, выпускавшимся с 1951 по
1959г. Ярославским автомобильным заводом (ныне - ЯМЗ).
Автомобили
семейства КрАЗ 257 высокой проходимости предназначены для использования на
строительстве, в карьерах и рудниках, буксировки грузов, прицепов и
полуприцепов по дорогам с твердым покрытием и грунтовым дорогам.
История КрАЗа
началась еще в тридцатые года прошлого века, когда на Украине, в Полтавской
области, в городе Кременчуг началось строительство авиационного завода. Но с
началом Великой Отечественной войны строительство завода было заморожено, а построенные
заводские корпуса были разрушены бомбардировками и артиллеристскими обстрелами.
августа 1945 года
Наркомат Путей Сообщения издал приказ о строительстве в Кременчуге завода
мостовых конструкций. Ведь стране требовалось восстанавливать разрушенную инфраструктуру
автомобильных и железных дорог. Уже к 1948 году завод был полностью
перепрофилирован и приступил к производству мостовых конструкций. Всего за
восемь лет работы завод выпустил более 600 мостовых конструкций.
Постепенно, с ходом
успешного восстановления народного хозяйства необходимость в производстве
такого количества мостов пропала и в 1956 году Кременчугский завод был
переведен в ведение Министерства тракторного и сельскохозяйственного
машиностроения и переименовали в Кременчугский комбайновый завод. И на поприще
производства комбайнов и сельскохозяйственной техники завод преуспел. Завод
выпускал эту технику с 1956 по май 1958 года, и за столь небольшой промежуток
времени было выпущено более 11 тысяч единиц сельскохозяйственной техники КРАЗ 6322.
Именно с мая 1958 года начинается
история КрАЗа как автомобильного завода. В мае 1958 года было принято
постановление ЦК КПСС и СМ СССР о создании в Кременчуге завода большегрузных
автомобилей и завод был переведен на выпуск тяжелых грузовиков. Главное
оборудование было перевезено с ярославского автомобильного завода (ЯАЗ), а за
ярославским заводом оставили лишь производство силовых агрегатов и
переименовали его в Ярославский Моторный Завод (ЯМЗ).
Освоение производства автомобильных
деталей началось в январе 1959 года, а в апреле была завершена сборка первых
двух самосвалов типа ЯАЗ на рамах собственного производства из деталей и узлов,
завезенных с Ярославского автомобильного завода.
1. Назначение объекта
проектирования
1.1 Назначение АТП
Предприятие комплексного типа
осуществляющего перевозку грузов, ТО и ремонт подвижного состава, а также
снабжение необходимыми эксплуатационными материалами, ремонтными материалами и
запасными частями.
1.2
Назначение проектируемого участка
Малярный участок
для выполнения операций по покраске автомобилей.
2. Технологическая часть
автомобиль текущий ремонт
технический обслуживание
2.1 Выбор исходных
данных
Модель - КрАЗ
Класс - грузовая
Габаритные размеры 9660*2650*2665
Колея передних колес 1950
Колея задних колес 1920
База - базовый
Грузоподъемность 12т
Списочный состав парка A
=200.
Техническое состояние
парка
Автомобили прошли L
=1.9
Среднесуточный пробег
одного автомобиля L
=240 км
Режим работы подвижного
состава Д
=250 - число рабочих дней в году.
i=1 - количество смен работы автомобилей на линии.
Категория условий
эксплуатации КУЭ=II.
Климатическая зона
Климат - жаркий
Участок - малярный
2.2 Расчет периодичности
воздействия
Расчёт периодичности ТО.
L
=L
=240км
L
=L
*K
*K
=3000*0,9*0,9=2430км
L
=L
*K
*K
=12000*0,9*0,9=9720км
Где L
=3000км
- нормативная периодичность ТО1 [3 таб. 2.1 с. 14],
L
=12000км - нормативная периодичность ТО2 [3 таб. 2.1 с. 14],
K
=0,9 - коэффициент корректирования, учитывающий категории условий
эксплуатации [3 таб. 2.8 с. 26]
K
=0,9 - коэффициент корректир,ования, учитывающий
природно-климатические условия[3 таб. 2.10 с. 27].
Расчёт межремонтного
пробега:
L
=L
*K
*K
*K
=202500км
Где L
=250000км
нормативный пробег до капитального ремонта [3 таб. 2.3 с. 18];
K
=1 - коэффициент корректирования, учитывающий модификацию
подвижного состава [3 таб. 2.9 с. 27].
2.3 Таблица
корректирования пробега по кратности
Таблица 1.1
|
Пробег до воздействия
|
Пробег до очередного воздействия
|
Коэффициент корректирования
|
Пробег корректирования
|
Приведение к кратности
|
Принятый пробег
|
|
L
|
240
|
-
|
-
|
-
|
240
|
|
L
|
3000
|
K *K =
0,9*0,9=0,81
|
3000*0,81= 2430
|
2430:240= 10,125 11*240= 2640
|
2640
|
|
L
|
12000
|
K *K =
0,9*0,9=0,81
|
12000*0,81= 9720
|
9720:2640=3,68 4*2640= 10560
|
10560
|
|
L
|
250000
|
K *K *K =
0,9*1*0,9= 0,81
|
250000*0,81= 202500
|
202500: 0560=19,17 20*10560= 211200
|
211200
|
2.4 Расчет
производственной программы
Расчет количественных воздействий
для одного автомобиля за цикл:
N
=0
N
=
- N
=202160/2660
- 0= 76
N
=
=
=19
N
=
=
=1444
Количество дней эксплуатации для
одного автомобиля за цикл:
Д
=N
=1444 дней.
Расчет количества дней
простоя ТО, ТР и КР для одного автомобиля за цикл:
Д
=Д
+Д
=0+39,62=39,62
Д
=Д
*N
=18*0=0
Где Д
=15 - нормативный простой автомобиля в капитальном ремонте [3 таб.
2.6 с. 24]
Д
=
*К
*К
=202160*0,4/1000*10,7
*0,7=39,62
Где d
=0,4 -
норма простоя в ТО и ТР на 1000км пробега [3 таб. 2.6 с. 24];
К
=0,7 - коэффициент, учитывающий пробег автомобиля с начала
эксплуатации [3 таб. 2.11 с. 28];
К
=0,7 - коэффициент технической готовности зон ТО и ТР.
Расчет коэффициента
технической готовности:
=
=1444/1444+39,62=0,9
Расчет коэффициента
использования парка:
=
*
*К
=
*0,9*0,95=0,59
Где К
=0,95 - коэффициент, учитывающий снижение.
Расчет коэффициента
перехода от цикла к году:
=
*
=250/1444*0,9=0,16
Расчет годового пробега
для всего подвижного состава:
L
=365*A
*L
*
=365*100*140*0,59=3014900
км
Расчет годовой программы
для всего парка:
N
=N
*A
*
=1444*100*0,16=23104
N
=N
*A
*
=76*100*0,16=1216
N
=N
*A
*
=19*100*0,16=304
Расчет суточной
программы для всего парка:
N
=
=23104/250=92
Где Д
- принятое количество дней работы в год для данной зоны ТО.
Д
=Д
=250
Д
= Д
=250
Д
= Д
=250
2.5 Расчет трудоемкости
по ТО и ТР
Расчет удельной
трудоемкости одного воздействия:
t
=t
*K
*K
=0,50*1*1,05=0,53
=t
*K
*K
=3,5*1*1,05=3,68
=t
*K
*K
=14,7*1*1,05=15,44
=t
*K
*K
*K
*K
*K
=6,2*0,9*1*0,9*1,9*1,05=10,02
=t
*K
*K
=4,41*1*1,05=4,63
где t
=0,50 -
нормативная трудоемкость ЕО [3 таб. 22 с. 15];
t
=3,5 - нормативная трудоемкость ТО1 [3 таб. 22 с. 15];
t
=14,7 - нормативная трудоемкость ТО2 [3 таб. 22 с. 15];
t
=6,2 - нормативная трудоемкость ТР [3 таб. 22 с. 15];
t
=4,41 - нормативная трудоемкость СО [3 с. 16];
К
=1,9 - коэффициент, учитывающий пробег с начала эксплуатации [3
таб. 2.11 с. 28];
К
=1,05 - коэффициент, учитывающий количество автомобилей на АТП [3
таб. 2.12 с. 29].
Расчет годовой
трудоемкости для всего парка:
Т
=N
*t
*K
=44000*0,53*0,2=4664 чел*час
Где К
=0,2÷0,3 - коэффициент
механизации для механизированной мойки.
Т
=N
*t
+T
=4000*3,68+2944=176641 чел*час
Где Т
- годовая трудоемкость сопутствующего ремонта.
Т
=(0,15÷0,20)*N
*t
=0,2*4000*3,68=2944 чел*час
Т
=N
*t
+T
+T
=1000*15,44+4940+1852=22232чел* час
Т
=(0,15÷0,20)*N
*t
+T
=0,2*1000*15,44+1852=4940чел*час
T
=2А
*t
=2*200*4,63=1852
чел*час
Т
=
*t
- (Т
+Т
)=10161600/1000*10,02-
(2944+4940)=90991 чел*час
Суммарная трудоемкость
за год:
=Т
+Т
+Т
+Т
=4664+17664+22232+90991=135551чел*
час
Расчет трудоемкости
вспомогательных работ:
Т
=
*К
=135551*0,2=27110 чел*час
Где К
=30% - коэффициент трудоёмкости вспомогательных работ [3 с. 16].
2.6 Расчет явочного
количества производственных работ
Р
=
=4664/1991=2,34
Р
=
=17664/1991=8,87
Р
=
=
22232/1991=11,17
Р
=
=90991/1991=45,7
Где Ф
- годовой фонд времени одного рабочего места при работе в 1 смену
для данной зоны.
Ф
=(Д
- Д
- Д
)*Т
- Д
=(365 -
104 - 11)*8 - 9*1=1991
2.7 Распределение
трудоемкости по видам работ
Таблица 1.2
|
Виды работ
|
Трудоемкость
|
Р
|
|
%
|
Чел/час
|
|
|
ЕО
|
|
|
Уборочные
|
80
|
3731
|
1,87
|
|
Моечные
|
20
|
933
|
0,43
|
|
Итого
|
100
|
4664
|
2,34
|
|
ТО1
|
|
|
Диагностические
|
9
|
1590
|
0,8
|
|
Крепежные
|
35
|
6183
|
3,1
|
|
Регулировочные
|
11
|
1943
|
0,98
|
|
Смазочные, заправочные, очистительные
|
21
|
3709
|
1,86
|
|
Электротехнические
|
11,5
|
2031
|
1,03
|
|
По обслуживанию систем питания
|
4,5
|
795
|
0,4
|
|
Шинные
|
8
|
1413
|
0,7
|
|
Итого
|
100
|
17664
|
8,87
|
|
ТО2
|
|
|
Диагностические
|
11
|
2446
|
1,23
|
|
Крепежные
|
38
|
8448
|
4.12
|
|
Регулировочные
|
10
|
2223
|
1.18
|
|
Смазочные, заправочные, очистительные
|
10
|
2223
|
1.18
|
|
Электротехнические
|
7
|
1556
|
0.78
|
|
По обслуживанию систем питания
|
2,5
|
556
|
0.28
|
|
Шинные
|
1,5
|
334
|
0.17
|
|
Кузовные
|
20
|
4446
|
2.23
|
|
Итого
|
100
|
22232
|
11.17
|
|
ТР
|
|
|
Постовые работы:
|
|
|
Общее диагностирование
|
1
|
910
|
0,46
|
|
Углубленное диагностирование
|
1
|
910
|
0.46
|
|
Регулировочные и разборочные
|
35
|
31849
|
16.05
|
|
Сварочные(для подвижного состава с металлическими кузовами)
|
4
|
3639
|
1.83
|
|
Жестяницкие
|
3
|
2729
|
1.34
|
|
Малярные
|
6
|
5459
|
2.74
|
|
Итого
|
50
|
45495.5
|
22.85
|
|
Участковые работы:
|
|
|
Агрегатные
|
18
|
16378
|
8.22
|
|
Слесарно-механические
|
10
|
9099
|
4.57
|
|
Электротехнические
|
5
|
4550
|
2.28
|
|
Аккумуляторные
|
2
|
1820
|
0,91
|
|
Ремонт приборов системы питания
|
4
|
3639
|
1.83
|
|
Шиномонтажные
|
1
|
910
|
0.46
|
|
Вулканизационные
|
1
|
910
|
0.46
|
|
Кузнечно-рессорные
|
3
|
2729
|
1.34
|
|
Медницкие
|
2
|
1820
|
0,91
|
|
Сварочные
|
1
|
910
|
0,46
|
|
Жестяницкие
|
1
|
910
|
0,46
|
|
Арматурные
|
1
|
910
|
0,46
|
|
Обойные
|
910
|
0,46
|
|
Итого
|
50
|
45495.5
|
22.85
|
|
Всего
|
100
|
90991
|
45.7
|
2.8 Расчет зон ТО
Расчет диагностирования.
Расчет трудоемкости
диагностических воздействий за год:
Т
=Т
+0,5*Т
=1590+0,5*910=2045 чел*час
Т
=Т
+0,5*Т
=2446+0,5*910=2901 чел*час
где Т
- годовая трудоемкость общей диагностики в объеме ТО1 (т. 3.2);
Т
- годовая трудоемкость общей диагностики в объеме ТР (т. 3.2);
Т
- годовая трудоемкость углубленной диагностики в объеме ТО2 (т.
3.2);
Т
- годовая трудоемкость углубленной диагностики в объеме ТР (т.
3.2).
Расчет явочного
количества диагностики:
Р
=
=2045/1991=1.03
Р
=
=2901/1991=1,46
Расчет числа постов Д1
и Д2:
П
=
=1.03/(2*1)=0,52
П
=
=1.46/(2*1)=0,73
Где Р
=2 - среднее число работающих на одном посту диагностики;
i
, i
=1 - количество смен работы постов Д
, Д
.
Вывод: диагностика Д
и Д
проводится на одном универсальном посту.
Расчет зоны ТО1.
Выбор исходных данных.
Т
=Т
-Т
=17664 - 1590=16074чел*час
Р
=Р
-Р
=8.87 - 1.03=7.84
t
=3.68 чел*час
N
=4000
N
=16
i
=1
Выбор метода организации
ТО1.
Поточная линия 1-го типа при сменной
программе 15 -17.
Расчет числа постов ТО1:
П
=
=(7,84*1.09)/(4*1*0.93)=2,6
Где К
=1,09 - коэффициент неравномерности загрузки постов.
=0,93 -
коэффициент использования рабочего времени постов.
Расчет количества линий
ТО1:
Л=
=2.6/4=0.65
Расчет такта линии:
=
+t
=(3.68*60)/12.06+0,5=18.81
Р
=
=7.84/0.65=12.06
Где t
=0,5 -
время перемещения автомобиля с поста на пост.
Расчет ритма
производства:
R=(Тсм*Iто1*60)/Nто1сут)=(7*1*60)/16 26.3
Где Т
=7 часов - количество часов работы зоны ТО1 в одной смене.
Проверка правильности
расчета количества линий:
Л=ђЛ/R=18.81/26.3=0.76
Расчет произведен правильно.
Вывод: принимаем одну линию с тремя
постами.
Таблица распределения
трудоемкости и рабочих по постам линии ТО1.
Таблица 1.3
|
№поста
|
Виды работ
|
Трудоемкость по видам работ
|
|
Р
|
Р
|
|
1
|
Крепежные
|
6183
|
6183
|
3,1
|
3
|
|
2
|
Регулировочные
|
1943
|
3974
|
2.01
|
2
|
|
Электротехнические
|
2031
|
|
|
|
|
3
|
Смазочные, заправочные, очистительные По обслуживанию системы
питания
|
3911 795
|
4504
|
2,26
|
2
|
Расчет асинхронности
работы постов:
Т
=
=16074/7.84=2050
чел*час
где Т
- трудоемкость приходящаяся на одного рабочего зоны.
Т
=Т
*Р
=2050*3=6150 чел*час
где Т
- расчетная трудоемкость первого поста.
Р
- принятое количество рабочих на первом посту.
Т
=Т
*Р
=2050*2=4100 чел*час
где Р
- принятое количество рабочих на втором посту.
Т
=Т
*Р
=2050*2=4100 чел*час
где Р
- принятое количество рабочих на третьем посту.
Расчет асинхронности.
% асинхронности 1 поста = (Трасч-Ттабл)/Трасч*100%=(6150-6183)/6150*100%=0.54%
% асинхронности 2 поста = (Трасч-Ттабл)/Трасч*100%=(4100-4504)/4100*100%=9.85%
% асинхронности 3 поста = (Трасч-Ттабл)/Трасч*100%=(4100-3974)/4100*100%=3.07%
Вывод: Расчет выполнен правильно,
асинхронность рабочих постов не превышает 20%.
Расчет зоны ТО2.
Выбор исходных данных.
Т
=Т
-Т
=22232- 2446=19786 чел*час
Р
=Р
-Р
=11.17-1.46=9.71
t
=15.44 чел*час
N
=1000 N
=4
i
=1
Выбор метода организации
ТО2.
Поточная линия 1 - ого типа при
сменной программе 3 - 5.
Расчет числа постов ТО2:
Расчет количества линий
ТО2:
Л=Пто2/Пл=2.8/4=0.7
Расчет такта линии:
Ђл=(tto2*60)/Pлин то2+tn=(15.44*60)/13.87+0.5=67.29
Pлин то2=Pзоны то2/Л*ito2=9.71/0.7=13.87
Расчет ритма
производства:
R=(Тсм*ito2*60)/Nсутто2=(7*1*60)/4=105 мин
Проверка правильности
расчета количества линий:
Л=ђл/R=67.29/105=0.64
Расчет произведен правильно.
Вывод: принимаем одну линию с тремя
постами.
Таблица распределения
трудоемкости и рабочих по постам линииТО2
|
№поста
|
Виды работ
|
Трудоемкость по видам работ
|
|
Р
|
Р
|
|
1
|
Крепежные
|
8448
|
8448
|
4.12
|
4
|
|
2
|
Кузовные
|
4446
|
6002
|
3.01
|
3
|
|
Электротехнические
|
1556
|
|
|
|
|
3
|
Регулировочные Смазочные, заправочные, очистительные Шинные По
обслуживанию системы питания
|
2223 2223 334 556
|
5334
|
2,81
|
3
|
Расчет асинхронности
работы постов:
Траб=Тзоны то2/Рзоны
то2=19786/9.71=2034
Трасч=Траб*Ря
прил=2034*4=8136
где Т
- расчетная трудоемкость первого поста.
Р
- принятое количество рабочих на первом посту.
=2034*3=6102чел*час
где Т
- расчетная трудоемкость второго поста.
Р
- принятое количество рабочих на втором посту.
=2034*3=6102чел*час
где Т
- расчетная трудоемкость третьего поста
р
- принятое количество рабочих на третьем посту.
Расчет асинхронности:
% асинхронности 1 поста = (Трасч-Ттабл)/Трасч*100%=(
8136-8448)/8136*100%=3.83%
% асинхронности 2 поста = (Трасч-Ттабл)/Трасч*100%=(6102-6002)/6102*100%=1.64%
% асинхронности 3 поста = (Трасч-Ттабл)/Трасч*100%=(6102-5334)/6102*100%=12.59%
Расчет выполнен правильно,
асинхронность рабочих постов не превышает 20%.
Расчет числа рабочих
постов для выполнения наружной мойки при ЕО:
Пео=(Nсут*ƛт*0.75)/(ТB*Nц)=(176*0.9*0.75)/(7*30)=0.57
Где 0,75 - коэффициент пикового
возврата подвижного состава.
Т
=7 - продолжительность выполнения работ.
N
=30 - производительность моечного оборудования.
2.9 Расчет зоны постовых
работ ТР
Расчет количества постов
ТР:
Птр=(Ттрп*Кн*υсм)/(Др*Тсм*Рср*ђи)=(37611.5*1.09*0.4)/(250*7*2*0.93)=5.04
Где Т
- годовая трудоемкость постовых работ ТР;
=0,4 -
показатель объема работ, выполняемых в наиболее загруженную смену.
Ттрг=Ттр*Стрг-(Тсрто1+Тсрто2)=90991*0.5-(2944+4940)=37611.5
Где С
=0,5 - суммарная доля постовых работ ТР.
Специализация постов ТР
по видам работ.
Табл. 1.5
|
№ поста
|
Наименование видов постов ТР
|
%
|
|
1
|
Замена двигателя. Замена и регулировка приборов освещения.
|
20
|
|
2
|
Замена узлов и деталей ходовой части. Прочие работы.
|
20
|
|
3
|
Замена и регулировка узлов двигателя. Замена агрегатов и узлов
трансмиссии
|
20
|
|
4
|
Замена узлов деталей РУ и регулировка углов установки
управляемых колес. Замена деталей кабины и кузовов.
|
21
|
|
5
|
Замена и регулировка узлов и деталей тормозной системы. Замена и
перестановка колес.
|
19
|
|
Итого
|
|
100
|
2.10 Подбор оборудования
для объекта проектирования
Табл.3.6
|
№
|
наименование оборудования
|
Модель
|
Кол-во
|
Размер
|
площадь
|
|
|
|
|
|
Ед.
|
Общ.
|
|
1
|
Краскомешалка
|
БС-158
|
1
|
600*900
|
0,54
|
0,54
|
|
2
|
Электронагревательный элемент
|
СКП
|
1
|
6000*250
|
1,5
|
1,5
|
|
3
|
Красконагревательная установка
|
Радуга-063
|
1
|
600*600
|
0,36
|
0,36
|
|
4
|
Гидрофильтр
|
Барьер-01
|
1
|
3600*1200
|
3,4
|
3,4
|
|
5
|
Посты подготовки к окраске
|
РА-6334
|
1
|
5000*1800
|
9
|
9
|
|
6
|
Шкаф вытяжной
|
ШВ-01
|
1
|
650*150
|
0,9
|
0,9
|
|
7
|
Стол с мраморной плиткой
|
С/И
|
2
|
1200*600
|
0,7
|
1,4
|
|
8
|
Стол с вискозиметром
|
С/И
|
2
|
1200*600
|
0,7
|
1,4
|
|
9
|
Плиточный стеллаж
|
С/и
|
1
|
600*5100
|
3,06
|
3,06
|
|
10
|
Площадка для тарного хранения красок
|
-
|
1
|
3000*6000
|
18
|
18
|
|
11
|
Пост нанесения противокоррозионного покрытия
|
ЭМ-17
|
1
|
3000*2100
|
6,3
|
6,3
|
|
12
|
Опрыскиватель
|
GARDENA
|
1
|
3000*2100
|
6,3
|
6,3
|
|
13
|
Пожарный щит
|
НПБ-155
|
2
|
930*160
|
0,14
|
0,28
|
|
14
|
Раковина
|
ТД-7
|
2
|
660*660
|
0,43
|
0,86
|
|
15
|
Ларь для отходов
|
Пи-102
|
2
|
510*375
|
0,19
|
0,38
|
|
16
|
Поворотный круг
|
817М-2704010СБ
|
1
|
3200*5900
|
18,9
|
18,9
|
|
17
|
Привод поворотного круга огнетушителем
|
ИСО 7134-855
|
1
|
600*1200
|
0,72
|
0,72
|
|
18
|
Насос к гидрофильтру
|
FLLMAKES
|
1
|
750*750
|
0,5
|
0,5
|
|
Итого:
|
|
|
|
|
73,8
|
2.11 Расчет площади
объекта проектирования
F=Fоб*Kпл=130*3=390м2
где Fоб- суммарная площадь оборудования в плане (Табл.3.6)
Fоб= 130
Kпл - (3…5) - коэффициент
плотности расстановки оборудования в плане [6 с.54].
3. Организационная часть
3.1 Организация
производства
Перспективный метод организации
труда.
Перспективный метод
организации технологического процесса АТП.
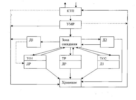
Технологический процесс на объекте
проектирования.
Связь объекта проектирования ЦУП и
другими технологическими необходимыми подразделениями.

3.2 Мероприятия по
охране труда
Охрана труда на объекте
проектирования.
Основным элементом организации
рабочего места является планировка, т.е. расположение его относительно
оборудования, приспособлений инструмента, расположения рабочего места.
Расстояние от оборудования и до рабочего места должно быть таким, чтобы рабочий
мог использовать преимущества движения рук, т.е. при этом сильно не
наклоняться, не приседать и не тянуться высоко.
Основные требования техники безопасности:
Участок работы должен иметь прочные
несгораемые стены
Столы должны иметь ровную, но не
скользкую поверхность. Она должна быть ударопрочная и не впитывающая
нефтепродукты.
Режущие инструменты следует
укладывать на деревянную подставку так, чтобы они были предохранены от
повреждений.
Во время работы рабочий обязан в
течении времени всего рабочего дня выполнять задания своей работы и не
отлучаться от рабочего места.
Оборудование должно быть расставлено
с соблюдением необходимых промежутков. Не допускать скопление на участке
большого количества агрегатов и деталей.
На участке для проведения ТО1
необходимо:
Следить за порядком.
Иметь в наличии аптечку
Следить за исправностью пожарного
инвентаря.
За количеством песка в ящиках
После работы проверить отсутствие в
розетках электроприборов.
Заключение по проекту
В курсовом проекте произведён расчёт
зон ТО и ТР для АТП на 200 автомобилей КрАЗ-257, рассчитывается
производственная программа предприятия, трудоёмкость работ по ТО и ТР, явочного
количества рабочих.
Расчеты показали что:
. Диагностика выполняется на одном
универсальном посту.
. ТО1 выполняется на поточной линии
1 типа с тремя постами при сменной программе 15-17 автомобилей в смену.
. ТО2 выполняется на поточной линии
1 типа с тремя постами при сменной программе 3-5 автомобилей в смену.
. ЕО выполняется на моечной
установке М-529 с одним рабочим постом.
. ТР выполняется на пяти
специализированных постах.
Выполнена планировка малярного
участка с расстановкой оборудования.
Список
используемой литературы
1.
Автомобиль категории С: учебник водителя: Учебник для СПТУ/В.С. Копийский, А.И.
Монзон, Г.Е. Калуга. 4-е изд., переработано и дополнено-М: Транспорт, 1987г.
.
Каталог ГАРО. 2004г.
.
Положение о техническом обслуживание и ремонте подвижного состава автомобильного
транспорта-М: Транспорт, 1986г.
.
Краткий автомобильный справочник. -9-е издание, переработано и дополнено-М:
Транспорт, 1982г.
.
Охрана труда в сельском хозяйстве: Учебное пособие для студентов среднего
профессионального образования /А.К. Гуриев, А.В. Луковников-М: издательский
центр «Академия» ,2003г.
.
Ремонт автомобилей и двигателей учебник для студентов среднего
профессионального образования учебных заведений /В.И. Кародин, Н.И.
Митрохин.-2-е издание стер - М: издательский центр «Академия». Мастерство,2002.
.
Техническое обслуживание и ремонт автомобилей: Учебник для студентов учреждений
среднего профессионального образования - М: ФОРУМ: НИМФА - М ,2003г.
.
Техническое обслуживание и ремонт автомобилей: Учебник для студентов среднего
профессионального образования /В.М. Власов, С.В. Жанказиев, С.М. Круглов и др.
Под ред. В.М. Власов М: издательский центр «Дкадемия»,2003г.
9. Устройство,
техническое обслуживание и ремонт автомобилей: Учебник / Ю.И. Боровских, Ю.В.
Буралев, К.А. Морозов, В.М. Никифоров, А.И. Фещенко - М : Высшая школа.,
Издательский центр «Академия», 1997г.
. Практикум по
устройству, техническому обслуживанию и ремонту автотранспорта /В.М. Токаренко,
В.И. Сирота, В.М. Колмаков и др., Под ред. В.М. Токаренко - К: Урожай, 1989г.-320с.