Приспособление фрезерное

  • Вид работы:
    Контрольная работа
  • Предмет:
    Другое
  • Язык:
    Русский
    ,
    Формат файла:
    MS Word
    61,27 Кб
  • Опубликовано:
    2015-06-21
Вы можете узнать стоимость помощи в написании студенческой работы.
Помощь в написании работы, которую точно примут!

Приспособление фрезерное

1. Определить силу зажима, необходимую для удержания заготовки в неподвижном состоянии в процессе обработки

Эскиз операционный (смотри чертёж)

Расчет режимов резания

Операция 015 - Фрезерная

Содержание операции:

А. Установить и закрепить заготовку.

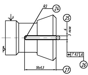
. Фрезеровать последовательно три паза, выдерживая размеры 1-5

Б. Открепить и снять деталь.

. Исходные данные:

Обрабатываемый материал - Сталь У8А ГОСТ 1435-99 (187 НВ; σв = 620 МПа);

Заготовка - поковка штамповнная по ГОСТ 7505-89

Станок модели 6Р10 (Nдв= 7 кВт; η = 0,75)

2. Выбор режущего инструмента.

Принимаем фрезу концевую с цилиндрическим хвостовиком 2220-0007 ГОСТ 17025-71

диаметр фрезы D = 6 мм,

длина фрезы L = 57 мм,

длина рабочей части фрезы l =13 мм;

количество зубьев z=4.

быстрорежущая сталь Р18.

Расчет режимов резания

Определим глубину резания t мм.

t=6 мм.

Определим длину рабочего хода Lрх мм, по формуле:

рх=Lрез+у.

Средняя ширина фрезерования

Вср=F/Lрез

Длина резания (Lрез) принимается равной длине обработанной поверхности в направлении подачи.рез=50 мм.

Площадь фрезеруемой поверхности F определим по чертежу=50∙12=600 мм2.

Вср=600/50=12 мм.

Величину у можно принять по таблице [1, с. 301]. При ширине фрезерования В=12 мм и диаметре фрезы D=6 мм у=6 мм.рх=50+6=56 мм.

Определим подачу на зуб Sz мм/зуб [1, с. 85]. При фрезеровании пазов фрезой из твердого сплава стали с твердостью НВ 187 при глубине резания t=6 мм Sz находится в пределах 0,03-0,08 мм/зуб. Принимаем Sz=0,06 мм/зуб.

Определим стойкость инструмента Тр мин, по формуле [1, с. 87]:

Трм∙λ

Коэффициент λ определяется по формуле

λ= Lрез/Lрх

λ= 50/56=0,89.

При λ≥0,7 можно принять Трм.

Для диаметра фрезы D=6 мм и выбранного материала Тм=60 мин.

Тр=60 мин.

Определение скорости резания V м/мин, по формуле:

V=Vтаб∙K1∙K2∙K3,

где Vтаб - табличное значение скорости, для концевой фрезы из быстрорежущей стали при обработке пазов, при глубине фрезерования t=6 мм и подаче Sz=0,06 мм/зуб Vтаб=24 м/мин.1, K2 и K3 - коэффициенты, учитывающие материал заготовки, материал инструмента и стойкость инструмента [1, с. 88-101]. Коэффициент К1 при D < 15 мм равен К1=1,0. Коэффициент K2 при обработке стали У8А (НВ 187) фрезой из быстрорежущей стали принимаем K2=0,8. Коэффициент K3 для фрезы из сплава Т15К6 при стойкости Тр=200 мин. принимаем K3=1,2.=24∙1,0∙0,8∙1,2=23,04 м/мин.

Определим частоту вращения шпинделя по формуле:

= 1000∙V/(π∙D)

= 1000∙23,04/(3,14∙6)=1223 мин-1.

Уточним частоту вращения шпинделя по паспорту станка с мин-1 [5, с. 422].

Принимаем nп=1180 мин-1.

Определим действительную скорость резания по формуле:

д = π∙D∙nп /1000

д = 3,14∙6∙1180/1000=22,2 м/мин.

Определим минутную подачу Sм (скорость продольного движения стола Vs) по формуле:

м=Vs= Sz∙z∙nп

Sм=Vs= 0,06∙4∙1180=283,2 мм/мин.

Уточним подачу по паспорту станка Sм=Vs мм/мин [5, с. 422].

По паспорту станка примем Sмп=300 мм/мин.

1       Определим мощность резания по формуле [1, с. 101-102]:

рез=Е∙Vд∙t∙z∙K1∙K2/1000

где Е - величина, определяемая по таблице [1, с. 102]. При фрезеровании концевой фрезой с отношением D/t=6/6=1 и подаче Sz=0,06 мм/зуб Е=1,0;1 - коэффициент, зависящий от обрабатываемого материала, при обработке стали У8А (НВ 187) фрезой из быстрорежущей стали K1=0,9;

К2 - коэффициент, зависящий от типа фрезы и скорости резания. Для концевой фрезы из быстрорежущей стали К2=1,0.

Nрез=1,0∙22,2∙6∙4∙1,0∙0,9/1000=0,48 кВт.

Произведем проверку по мощности станка по формуле:

рез < Nдв∙η

где Nдв - мощность двигателя, кВт, по паспорту станка Nдв=11 кВт;

η - КПД станка, по паспорту станка η=0,8.

,56<7∙0,75=5,25 кВт.

Условие выполняется.

Определение основного технологического времени по формуле:

То =Lрх / Sм

То=56/300=0,187 мин.

Определение сил резания, действующих в процессе обработки



где n - частота вращения фрезы, об/минp - коэффициент, характеризующий обрабатываемый материал и другие условия;p= 68.2; q = 0.86; w = 0; x = 0.86; y = 0.72; u = 1.0; n = 0.3.

Общий поправочный коэффициент


где Kмр - коэффициент, учитывающий свойства материала обрабатываемой заготовки; K - коэффициент, учитывающий скорость резания; Kgр - коэффициент, учитывающий величину переднего угла


Н.

Определим составляющие сил резания

y=(0,8…0,9) Pz=0,85*2317,3=1969,7 H;х=(0,2…0,3) Pz=0,25*2317,3=579,3 Н;

Построение расчётной схемы и определение силы зажима W

Заготовка закреплена в цанговом патроне и находится под действием момента обработки и сил резания. Создаваемые силы и моменты трения противодйствуют сдвигу вдоль оси и повороту заготовки. Зажимное устройство воспринимает как силы резания, так и момент обработки. Осуществим расчёт из условия действия сил резания.

Составляем систему уравнений:

 ;

 .

где f - коэффициент трения, примем при трении стали по стали f=0,1.

;


Рисунок 1 - Схема действия сил на заготовку

Решая систему уравнений, получаем R=5793 Н, W=38233 Н.

. Определить погрешность базирования и закрепления

Расчет погрешости базирования

Операция 005 - Токарная 16К20

- закрепить деталь в трехкулачковом патроне;

подрезать торец в размер 82-0,74;


εб82=0, т.к. технологическая и измерительная базы совпадают;

точить поверхность Ø54±0,31 на длину L=50±0,31, подрезать торец;

εбØ54=0, т.к. технологическая и измерительная базы совпадают;


точить поверхность Ø46±0,31;

εбØ46=0, т.к. технологическая и измерительная базы совпадают;

точить фаску 450;


- рассверлить сквозное отверстие Ø32±0,31;


εбØ32=0, т.к. данный размер не зависит от способа базирования, а определяется только конструктивными параметрами инструмента.

рассточить отверстие Ø36±0,31 на длину L=63±0,37;

εбØ36 =0, т.к. технологическая и измерительная базы совпадают;

нарезать резьбу М40х2-7Н на длину L=17±0,22;

εбМ42 =0, т.к. технологическая и измерительная базы совпадают;


переустановить деталь;

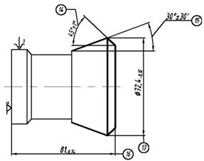
подрезать торец в размер 81-0,74;

εб81=0, т.к. технологическая и измерительная базы совпадают;

точить поверхность Ø72,4-0,12 под углом 300±30’;

εбØ 72,4=0, т.к. технологическая и измерительная базы совпадают;

точить фаску 450;

рассточить поверхность Ø56+0,12 на глубину L=11±0,22;

εбØ56=0, т.к. технологическая и измерительная базы совпадают;

точить канавку Ø60+0,74;

εбØ60=0, т.к. технологическая и измерительная базы совпадают;

Операция 010 - Вертикально-сверлильная

- установить деталь в кондукторе

сверлить отверстие Ø4,5+0,3;

εбØ4,5=0, т.к. данный размер не зависит от способа базирования, а определяется только конструктивными параметрами инструмента.


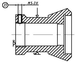
нарезать резьбу М5-7Н;

εбМ5=0, т.к. данный размер не зависит от способа базирования, а определяется только конструктивными параметрами инструмента.

Операция 015 - Фрезерная 6Р10

- закрепить деталь в цанговом патроне

фрезеровать три паза 6+0,3 на длину L=50±0,3;

εб6=0, т.к. данный размер не зависит от способа базирования, а определяется только конструктивными параметрами инструмента;

εбR3=0, т.к. данный размер не зависит от способа базирования, а определяется только конструктивными параметрами инструмента.

εб50=T81=0,74 мм.

заготовка резание зажим

- закалить деталь до 40…45 НRC;

Операция 025 - Круглошлифовальная 3М151

- закрепить деталь в трехкулачковом патроне

шлифовать поверхность Ø56,2+0,1;

шлифовать поверхность Ø72+0,1;

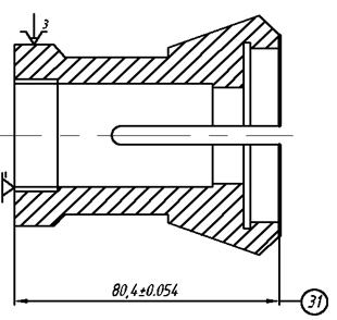
Операция 030 - Плоскошлифовальная 3М151

- шлифовать торец в размер 80,4±0,054;

εб80,4=0, т.к. технологическая и измерительная базы совпадают;


переустановить деталь;

шлифовать торец в размер 80±0,02;

εб80=0, т.к. технологическая и измерительная базы совпадают;

Операция 035 - Гальваническая

- нанесение покрытия хим. окс.

Операция 040 - Контрольная

- проверить размеры согласно конструкторской документации

2.2 Расчет погрешости закрепления

При обработке заготовок в патронах со втягиваемой цангой возникают погрешности в размерах по длине, так как при зажиме цанга оттягивает заготовку от лезкия инструмента на величину, зависящую от допуска на диаметр базовой поверхности. Положение фрезы остается неизменным, а заготовка при зажиме оттягивается от фрезы на величину [3, с. 27]

εl=L1 - L= 0,5δD/tgα

где δD - допуск на диаметр базовой поверхности заготовки; α - угол уклона конуса цанги.

Однако наличие упора (в соответствии с операционным эскизом) исключает смещение заготовки при затяжке, а следовательно и погрешность закрепления εl=0.


Список используемых источников

1. Режимы резания металлов. Справочник. /Под редакцией Барановского, Ю.В./ - М.: Машиностроение, 1972.

2.      Нефедов Н.А., Осипов К.А. Сборник задач и примеров по резанию металлов и режущему инструменту: Учеб. пособие для техникумов. - М.: Машиностроение, 1990.

3. Ансеров М.А. Приспособления для металлорежущих станков. Изд-ие 4-е., неправ, и доп., «Машиностроение» (Ленингр. отд-ние), 1975 г.

. Справочник технолога-машиностроителя. В 2-х т. Т 1 / Под ред. A.M. Дальского, А.Г. Косиловой, Р.А. Мещерякова, А.Г. Суслова. - 5-е изд., исправл. - М.: Машиностроение - 1, 2003 г., 912 е., ил.

Похожие работы на - Приспособление фрезерное

 

Не нашли материал для своей работы?
Поможем написать уникальную работу
Без плагиата!
Без нейросетей!