Потери от утечки нефти при трубопроводном транспорте

  • Вид работы:
    Реферат
  • Предмет:
    Другое
  • Язык:
    Русский
    ,
    Формат файла:
    MS Word
    479,33 Кб
  • Опубликовано:
    2015-06-01
Вы можете узнать стоимость помощи в написании студенческой работы.
Помощь в написании работы, которую точно примут!

Потери от утечки нефти при трубопроводном транспорте

Федеральное государственное автономное образовательное учреждение

Высшего профессионального образования

"СИБИРСКИЙ ФЕДЕРАЛЬНЫЙ УНИВЕРСИТЕТ"

Институт нефти и газа

Кафедра проектирования и эксплуатации газонефтепроводов

РЕФЕРАТ

Потери от утечки при транспортировке нефти и нефтепродуктов по трубопроводам


Преподаватель Д.В. Агровиченко

Студент НБ 12-07 081201977 А.А. Трофимов








Красноярск 2015

Содержание

Введение

1. Общие сведения о потерях нефти и нефтепродуктов при транспортировке по трубопроводам

2. Борьба с авариями на нефтепроводах

3. Методы контроля утечек и предупреждения аварий

4. Организация эффективной защиты трубопроводов от коррозии

5. Совершенствование средств и способов ликвидации аварий на трубопроводах

Заключение

Список использованных источников

Введение


Транспортировка нефти на нефтеперерабатывающие заводы, и полученных продуктов к потребителю связана со значительными их потерями. Потерн от смешения и утечек при трубопроводном транспорте, из резервуаров, от неполного слива нефтеналивных судов, железнодорожных, и автомобильных цистерн, обводнения, зачистки, а также вследствие аварий, разливов, разбрызгивания и испарения наносят огромный ущерб экономике страны, приводят к затратам общественного труда и снижению эффективности производства.; Кроме того, потери нефти и нефтепродуктов при авариях, разливах и утечках загрязняют почву, грунтовые воды и водоемы. Многократные перевалки готовых нефтепродуктов и хранение нефти и нефтепродуктов в резервуарах ведут к потерям от испарения. В атмосферу уходят миллионы тонн углеводородов. Испаряются, главным образом легкие фракции. При этом уменьшается сырье для нефтехимического синтеза, ухудшается качество нефтепродуктов.

При транспортировке нефти и нефтепродуктов по трубопроводам утечки происходят на насосных станциях и линейной части: из сальников насосов, вследствие негерметичности запорной арматуры, компенсаторов, фланцевых соединений и образования свищей в трубе.

1. Общие сведения о потерях нефти и нефтепродуктов при транспортировке по трубопроводам


Потери вследствие утечек из насосов могут составить 0,06 % от перекачиваемого количества нефти и нефтепродуктов. Радикальным средством борьбы с ними является замена сальниковых уплотнений торцовыми, устройство герметичной системы сбора щелевых утечек в емкость и откачка их в трубопровод.

Торцевые уплотнения в последние годы получили самое широкое распространение в насосостроении и имеют следующие достоинства:

незначительные утечки (от 0,05 л/ч вплоть до их практически полного отсутствия),

большая долговечность (от 10 000 до 20 000 ч и более),

возможность использования при высоких давлениях перед уплотнениями (до 30 МПа и выше), а также при вакууме,

отсутствие необходимости постоянного наблюдения и др.

Рисунок 1 - Торцевое уплотнение

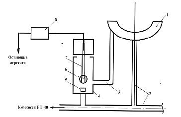
Контроль за работой системы сбора и откачки утечек осуществляется с помощью манометра, установленного на нагнетательной линии насосов откачки утечек и посредством сигнализатора утечек. В качестве последнего на НПС могут применяться сигнализаторы типа СУН-1 (рисунок 2) или OMUV (рисунок 3).

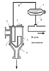
Сигнализатор СУН-1 работает следующим образом. Утечки из уплотнений насоса. Утечки из поступают в бачок датчика утечек насоса 1. Если утечки не превышают допустимой нормы, они сливаются в ёмкость сбора утечек через сменную диафрагму 4, закреплённую на дне датчика. Если утечки превышают допустимые пределы, уровень нефти в бачке датчика начинает расти, перекрывая сечение колокола 2. При дальнейшем повышении уровня утечек в колоколе 2 давление воздуха в колоколе возрастает и через пневматическую линию 6 передаётся на датчик - реле напора 7. Пневмосигнал, поступивший на мембрану датчика 7, деформирует мембрану, что приводит к замыканию контактов 8. В результате автоматически подаётся сигнал о неисправности уплотнения. Патрубок 3 в сигнализаторе СУН-1 предназначен для сброса из бачка датчика 1 аварийного поступления нефти от уплотнений. Визуальный контроль за работой сигнализатора осуществляется через смотровое окно 5.

Рисунок 2 - СУН-1

- бачок датчика утечек; 2 - колокол; 3 - патрубок; 4 - диафрагма; 5 - смотровое окно; 6 - пневматическая линия; 7 - мембрана датчика; 8 - контакты

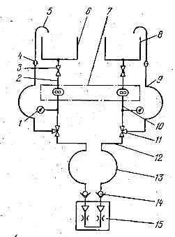
Сигнализатор OMUV устроен несколько иначе и работает следующим образом. Утечки из концевых уплотнений насоса попадают в карман утечек 1, откуда самотёком по трубопроводам 2 поступают в ёмкость сбора утечек ЕП-40.

При нормальной величине утечек они не скапливаются в кармане 1 и успевают отводиться по трубопроводам 2. При возрастании утечек, когда их размер превышает нормальную для уплотнения величину, пропускная способность трубопровода 2 становится уже недостаточной. Нефть накапливается в кармане 1 и по отводному трубопроводу 3 поступает в сигнализатор 4. В сигнализаторе жидкость проходит через дроссельную шайбу 5, которая ограничивает пропускную способность сигнализатора и препятствует быстрому выходу нефти из него. За счёт этого уровень нефти в сигнализаторе поднимается и поднимает магнитный поплавок 6, который замыкает герметичный контакт 7 - возбуждается электрический сигнал. Сигнал подаётся на вторичный прибор 8. Последний останавливает насос по превышению размера утечек.

Из сигнализатора нефть, пройдя дроссельную шайбу 5, попадает в трубопровод 2 и по нему - в ЕП-40.

Рисунок 3 - OMUV

- карман утечек; 2 - трубопроводы утечек; 3 - отводной трубопровод;

- сигнализатор; 5 - дроссельная шайба; 6 - поплавок магнитный; 7 - геркон (герметичный контакт); 8 - вторичный прибор

Потери из-за неплотностей запорной арматуры составляют примерно 0,02 % от общего количества перекачиваемой жидкости. Они происходят через сальниковые уплотнения задвижек и неплотности фланцевых соединений. Особое внимание нужно обращать на сальниковые уплотнения задвижек. В качестве таких уплотнений в настоящее время применяют специальные набивки, резиновые кольца, резиновую крошку, самоуплотняющиеся резиновые набивки и самоподвижные армированные сальники промышленного производства.

Работники наливной и перекачивающей станции Петропавловск применяют комбинированные сальники, состоящие из самой распространенной сальниковой набивки и колец из бензостойкой резины (201. Элементы располагаются в сальниковом гнезде послойно. Начинает и замыкает комбинированный сальник бензостойкое кольцо. Такое уплотнение надежно работает долгие месяцы. В нем резиновые кольца сдерживают смывание пропитки сальниковой набивки, а набивка длительное время обеспечивает шток задвижки смазкой. Штурвал вращается легко, комбинированный сальник не приходится сильно сдавливать грундбуксой - Отверстие в кольце из бензостойкой резины выполняется несколько меньше диаметра штока, а наружный диаметр кольца - чуть больше сальникового гнезда. Просачивание нефти и нефтепродуктов через фланцевые соединения устраняется подтягиванием болтов, заменой прокладок.

Обнаружив место утечки, дефектный участок трубопровода полностью заменяют или ремонтируют. Утечки из небольших отверстий и трещин в сварных швах устраняют установкой хомутов и бандажей (рис.4).

утечка нефть авария трубопровод

Рисунок 4 - Устранение трещин свищей на трубопроводе с помощью бандажей и хомутов: 1 - швеллер; 2 - бандаж; 3 - прокладка; 4 - хомут; 5 - трубопровод.

В последние годы при ликвидации утечек из свищей, трещин и отверстий на трубопроводах и резервуарах широкое распространение находят клеевые композиции на основе полиэфирных, эпоксидных и акрилатных смол. Они обеспечивают надежность в эксплуатации и снижают потери от утечек. При этом упрощается технология ремонта, увеличивается срок службы конструкций, снижается расход металла и стоимость ремонта.

Рецептура клеевых композиций, типы и марки применяемых при этом материалов, инструмента и оборудования, а также технология проведения работ изложены в соответствующей инструкции.

2. Борьба с авариями на нефтепроводах


Большой ущерб народному хозяйству и окружающей среде могут нанести потери нефти и нефтепродуктов вследствие аварий. Аварийные потери вызываются несоблюдением строительных норм и правил при проектировании и сооружении средств транспорта и хранения, нарушением правил технической эксплуатации и несвоевременным ремонтом оборудования, несоблюдением правил обращения с нефтью и нефтепродуктами, заводскими дефектами труб, износамй трубопровода и стихийными бедствиями.

Строительные нормы для проектирования средств транспорта и хранения учитывают как свойства нефти и нефтепродуктов (взрывоопасность, огнеопасность, горючесть и пр.), так и надежность средств транспорта и хранения в зависимости от условий, в которых они будут эксплуатироваться. Так, в СНиП П-45-75 предусматривается деление магистральных трубопроводов на классы в зависимости от диаметра и на участки различной категории в зависимости от окружающих условий. В зависимости от диаметра, температуры нефти и нефтепродуктов и окружающих условий определяются толщина стенки и глубина заложения трубопровода. Наиболее жесткие требования предъявляются к категории "В" участков трубопровода - переходам через водные преграды (при ширине их 25 м и более) и трубопроводам диаметром более 1000 мм.

Строительные нормы предусматривают защиту стальных магистральных трубопроводов от почвенной коррозии при помощи изоляционных покрытий и средств электрохимической защиты, а также защиту подземных трубопроводов. и наземных переходов от атмосферной коррозии.

Чтобы предотвратить аварии при эксплуатации магистральных трубопроводов, в процессе их сооружения следует предусматривать противокоррозийные мероприятия по трассе (организация стока поверхностных вод; крепление размываемых берегов водных преград, оврагов и промоин в местах пересечения их трубопроводами, крепление грунтов, подверженных ветровой эрозии, и пр.).

Магистральный трубопровод перед сдачей в эксплуатацию подлежит испытанию в соответствии со СНиП Ш. Д-Ю-62.

Основные требования к перекачивающим станциям и объектам хранения нефти и нефтепродуктов для обеспечения их безаварийной работы изложены в СНиП II-106-79.

В ряде зарубежных стран при строительстве и эксплуатации магистральных нефтепроводов также основные требования предъявляются к обеспечению безопасности, наименьших потерь нефти и нефтепродуктов и защите окружающей среды. На водных переходах через судоходные реки применяют способ прокладки "труба в трубе". В этом случае можно осуществлять контроль за состоянием обоих трубопроводов через межтрубное пространство, а также производить замену внутреннего трубопровода в случае нарушения его герметичности.

Большое внимание уделяется защите трубопроводов от коррозии. Катодная защита трубопроводов считается наиболее эффективным способом антикоррозийной защиты и находит все большее применение на многих нефтепроводах у нас и за рубежом.

Правительственные организации стран, занимающиеся вопросами транспорта нефти и нефтепродуктов, и компании, эксплуатирующие нефтепродукте проводы, уделяют большое внимание совершенствованию методов обнаружения утечек и предотвращения потерь нефти.

В Западной Европе периодически публикуются статистические отчеты об авариях на трубопроводах, включая аварии насосных станций, резервуарных парков и конечных пунктов. Согласно этим данным в 1973 г. на сети нефтепродуктопроводов Западной Европы обшей протяженностью 17 300 км произошло 20 аварий, сопровождавшихся потерями нефти и нефтепродуктов. Количество пролитой нефти и нефтепродуктов равнялось 1154 м3, из них 1071 мэ были собраны на месте аварий. Потери составили 0,0002 % от общего объема (558 млн. м3/год) перекачки нефти и нефтепродуктов. Из 20 аварий 15 произошли на трубопроводах и пять - на насосных станциях. Все аварии на станциях были вызваны механическими повреждениями оборудования. Из 15 аварий на линейной части две были вызваны механическими повреждениями стенок трубопровода, восемь - коррозийными. Один разрыв трубопровода был вызван оседанием грунта.

Отечественный опыт показывает, что на магистральных трубопроводах пропускной способностью 800-1000 м:,/ч за одну аварию теряется 66-180 т нефти или нефтепродукта и что в первые годы эксплуатации магистральных трубопроводов происходят аварии из-за заводского и строительно-монтажного брака, а после 10-20 лет эксплуатации - из-за коррозийных повреждений.

Потерн нефти и нефтепродуктов при каждой конкретной аварии зависят в основном от быстроты обнаружения и ликвидации аварии, т.е. от эффективности контроля за оборудованием и линейной частью трубопровода, от оперативности и оснащенности ремонтно-восстановительных бригад.

Для эффективной борьбы с потерями нефти и нефтепродуктов при авариях необходимы налаженные способы предупреждения аварий, надежные методы защиты нефтепроводов от коррозии, а также методы обнаружения и устранения утечек.

3. Методы контроля утечек и предупреждения аварий


Все методы контроля могут быть разделены на динамические, осуществляемые без остановок перекачки, и статические - с остановкой перекачки.

К динамическим методам относится широко известный метод обнаружения места утечки по излому линии гидравлического уклона путем графического построения или аналитического расчета, но он применим лишь для приближенного определения района повреждения.

При работающем трубопроводе применяется способ измерения и сравнения расходов на соседних участках трубопровода и таким образом определяют место утечки с точностью длины участка между двумя соседними датчиками расхода. Выходные сигналы расходомеров сравниваются либо специальным вторичным измерительным устройством, либо ЭВМ, которые выдают аварийный сигнал при несовпадении входных сигналов. При стационарном режиме перекачки такие системы работают стабильно и надежно, позволяют определять утечки в 2ti м3/ч, при нестационарном режиме - точность определения утечек снижается.

Разновидностью данного метода является разработанная Харьковским отделением треста Водоканалпроект схема дифференциальной защиты трубопровода.

В ФРГ разработал метод контроля утечек в трубопроводе, основанный на измерении мгновенного расхода жидкости при нарушении герметичности трубопровода.

Кроме того, без остановок перекачки для обнаружения утечек применяются:

метод волн падения давления, основанный на регистрации возникающих в результате утечки волн снижения давления (отрицательных волн давления), которые распространяются вдоль трубопровода от места утечки со скоростью примерно 1 км/с;

метод измерения уровня шумов вдоль трассы трубопровода с помощью акустических датчиков, связанных с диспетчерским пунктом и устанавливаемых на трубопроводе на равных расстояниях друг от друга.

Разработано множество конструкций переносных приборов для обнаружения утечек (течеискателей), действующих преимущественно на акустическом принципе действия.

В Рязанском радиотехническом институте разработан течеискатель ЭЛТ-2. Он представляет собой концентратор (рис. 5), механически соединенный с электроакустическим датчиком 3. Датчик в свою очередь электрически связан со входом электронного усилителя 2. К выходу усилителя подключаются телефон и индикаторный измерительный прибор 4 через выпрямитель 5. Концентратор / состоит из двух волноводов. Сечение волноводов уменьшается по направлению к датчику. Это способствует увеличению амплитуды-продольных механических колебаний, возбужденных в волноводах на конце концентратора.

Рисунок 5 - Кинематическая схема акустического течеискателя

Во время работы входной торец концентратора прикладывается к поверхности исследуемого трубопровода. При наличии акустических колебаний поверхности, вызванных шумом свища поврежденного трубопровода, их амплитуда усиливается на противоположном конце концентратора. Эти усиленные колебания воздействуют на датчик 3 и преобразуются в электрический сигнал переменного тока, который после усиления может быть прослушан через телефон и измерен прибором 5 после выпрямления.

Чтобы исключить влияние помех при обнаружении утечки, предложено 143] устройство (рис. 6), включающее два приемных датчика /, два усилителя 2 низкой частоты, выпрямители 3, компенсатор 4 выпрямленных напряжений, модулятор 5, автогенератор б, усилитель 7 переменного тока, двухполупериодный демодулятор 8t усилитель 9 постоянного тока и индикатор 10. Для нахождения в трубопроводе утечки приемные датчики на расстоянии 3-4 м один от другого перемещаются по поверхности земли вдоль трассы трубопровода. Имеются и другие переносные приборы-течеискатели.

Рисунок 6 - Блок-схема акустического течеискателя с двумя приемными датчиками

Для обнаружения малых утечек целесообразно использовать зондовые устройства, запускаемые в поток перекачиваемой жидкости. Например, в трубопровод запускается небольшое количество радиоактивного трассирующего вещества, которое вместе с жидкостью просачивается через отверстия в стенке трубопровода и задерживается в грунте вблизи повреждения. Место утечки определяют приборами внешнего и внутреннего обнаружения радиоактивности.

Если в трубопроводе между соседними датчиками возникает утечка, то скорость потока будет меняться и датчики покажут изменившееся время движения шара. На рис. 7 представлена кинематическая схема способа обнаружения утечек по изменению скорости потока.

Рисунок 7 - Кинематическая схема способа обнаружения утечек по изменению скорости потока'

В начале контролируемого участка трубопровода 1 устанавливают расходомер 2 и камеру 5 для запуска, шаровых разделителей 4. С расходомером связан генератор импульсов 3, образующий импульсы пропорционально показаниям расходомера. Импульсы поступают в счетчики 7,8 м другие, снабженные системой аварийной сигнализации. Кроме того, каждый счетчик импульсов получает сигналы от датчиков 6 и 9, ограничивающих определенную секцию трубопровода. Запускаемый в трубопровод шаровой разделитель 4 перемещается по нему со скоростью перекачиваемой жидкости. В момент прохождения разделителя мимо датчика 6 последний посылает сигнал, выключающий счетчик 7 и включающий счетчик 8. В дальнейшем при прохождении разделителя по трубопроводу выключаются предыдущие счетчики и включаются последующие. Если между датчиками 9 и 11 в трубопроводе имеется отверстие 10, время прохождения разделителя по этому участку трубопровода увеличивается, что приводит к соответствующему увеличению числа импульсов, зарегистрированных счетчиком 8. Каждый счетчик рассчитан на предельно допустимое число импульсов, при превышении которого включается аварийная сигнализация, что свидетельствует о наличии утечки в обследуемом участке.

Точность способа местонахождения утечки определяется длиной участка между соседними датчиками на трубопроводе.

В НИПИНефтехимавтомате разработано устройство на основе метода регистрации падения давления. Оно представляет собой контейнер, закрепленный между двумя шаровыми разделителями, при прохождении которого по поврежденному участку трубопровода давление в зоне между двумя шаровыми разделителями резко падает. При этом между указанной зоной и участком трубопровода перед устройством возникает перепад давления, приводящий к срабатыванию датчика утечки-дифференциального контактного манометра. Сигналы от датчика утечки фиксируются на магнитной ленте. На этой же ленте записываются сигналы от датчика меток, который срабатывает при прохождении устройством специальных магнитных реперных точек, устанавливаемых на определенном расстоянии друг от друга вдоль трассы трубопровода. По взаимному расположению на пленке сигналов от реперных точек и утечки определяется ее местонахождение. С помощью разработанного устройства можно определить утечку порядка 0,25 % от расхода по трубопроводу. Причем погрешность в определении места утечки не превышает 2,5 % от расстояния между реперными точками.

Применяется также зондовая аппаратура с акустическим способом определения утечек.

Кроме способов обнаружения утечек, связанных с измерением различных характеристик и параметров потока и эффектов от утечек, разработаны методы, основанные на простых физических принципах.

В Баварии на участке Трансальпийского нефтепровода длиной 30 км для обнаружения утечек используют сигнальные шланги из пластмассы, растворимой в нефти. Шланги длиной по 2 км, заполненные водой под давлением 0,15-0,25 МПа, обернуты вокруг нефтепровода и заканчиваются в напорных водяных резервуарах. Изменение уровня воды в резервуарах в случае повреждения шлангов сигнализирует об утечке нефти.

В системах Северо-Западного, Центральноевропейского и Трансальпийского нефтепроводов на некоторых участках с известным направлением течения грунтовых вод у трубопровода (снизу и сбоку) проложены пластмассовые лотки, по которым вода поступает в смотровые колодцы. Здесь наличие нефти может быть установлено визуально или отборами проб.

Статические методы контроля связаны с остановкой через определенные промежутки времени перекачки, они позволяют обнаружить малые утечки.

Некоторые нефте- и нефтепродуктопроводные управления в нашей стране для предупреждения аварий от износа трубопровода применяют так называемый Метод плановых испытании. Этот метод заключается в периодической (1 раз в два года) опрессовке магистральных трубопроводов перекачиваемым продуктом. Работы по испытаниям выполняются, как правило, летом. Испытание проводится под давлением, максимально допустимым для данного участка трубопровода, оно создается опрессовочным агрегатом. Участок выдерживается под давлением в течение б ч, при этом ведется контроль за показаниями манометров, осмотр и облет на самолете или объезд трассы на машине. Испытание участка трубопровода считается законченным, если в течение 6 ч утечек или снижения опрессовочного давления не обнаружено. Опыт показывает, что при таких испытаниях число аварийных повреждений на трубопроводах снижается.

Применяется также следующий способ статического контроля. На контролируемом участке трубопровода перекрывают задвижки и в течение некоторого времени ведутся наблюдения за изменением давления. Наличие и величина утечек оценивается по скорости падения давления.

На западноевропейских нефтепроводах для определения герметичности применяют методы дифференциального давления и падения давления. Первый из них основан на равенстве давления по обеим сторонам линейной задвижки, если утечек нет. Дли проведения измерений трубопровод перекрывают "несколькими задвижками. Разность давления в соседних секциях контролируют с помощью дифманометров (со шкалой 0,05 МПа), устанавливаемых у задвижек. Если утечки имеются, на одном из смежных участков баланс нарушается, о чем сигнализирует прибор. Для получения верных результатов необходимо останавливать нефтепровод на длительное время (до нескольких суток), так как за короткое время разбаланс давления может быть вследствие непостоянства температуры грунта и нефти. Этот метод испытывался на ряде нефтепроводов ФРГ. В результате была установлена целесообразность проведения испытании 4 раза в год для выявления утечек в размере 0,12 м3/ч и по одному разу в год для выявления утечек в. размере 0,04 и 0,01 м3/ч.

Во Франции испытания с перепадом давления на участках трубопровода проводят в среднем 3 раза в год. При испытаниях осуществляется централизованный дистанционный контроль за давлением на отдельных секциях трубопровода.

Испытания по методу падения давления на западноевропейских трубопроводах осуществляются следующим образом. Оператор дистанционно перекрывает задвижки вдоль трубопровода и в течение 15 мин следит за изменением давления. Если давление меняется, что свидетельствует о наличии утечки, оператор переходит к испытаниям по методу дифференциального давления.

Наряду с применением систем контроля утечек используются системы защиты магистральных трубопроводов от аварийных ситуаций. Часто одной из причин аварий на линейной части магистральных нефтепроводов, работающих в режиме "из насоса в насос", является внезапное отключение промежуточных насосных станций, вызывающее распространение волны повышения давления, значительной по крутизне и амплитуде. Расчеты показывают, что и трубопроводах диаметром 1220 мм эти волны могут повысить давление до 1 МШ сверх нормального. В таких случаях одним из основных методов защиты нефтепроводов является сбрасывание волны давления на всасывании промежуточной станции при ее внезапной остановке путем сброса потока из линии всасывания в небольшой резервуар через регулятор скорости повышения давления.

На нефтепроводах, имеющих надежные линии связи между насосными станциями, наибольшее распространение получили системы защиты от разрыва с помощью опережающего сигнала. Такими системами оборудованы многие современные зарубежные трубопроводы.

На нефтепроводе "Дружба" эксплуатируются две системы "Волна", принцип действия которых состоит в том, что при отключении любой промежуточной станции, если на ней работали два или три насосных агрегата, на предыдущую станцию по каналу связи передается электрический сигнал, при этом снижается уставка регулятора давления на линии нагнетания или отключается один агрегат.

Для обеспечения безаварийной работы трубопроводов важен своевременный и качественный ремонт оборудования. На современном уровне это достигается созданием баз производственного обслуживания (БПО) в составе централизованной системы технического обслуживания и ремонта (ЦСТОР) районных управлений. В состав БПО входят опорный аварийно-восстановительный пункт, ремонтно-механическая мастерская с обменным пунктом и ряд участков с выездными бригадами по ремонту и наладке технологического и энергетического оборудования, средств электрохимической защиты, автоматики и телемеханики. Подробно вопросы ремонта освещены в специальной технической литературе.

4. Организация эффективной защиты трубопроводов от коррозии


С целью предотвращения аварий большое внимание уделяется вопросам эффективной защиты труб от коррозии и надежного контроля трубопроводов, находящихся в эксплуатации. Расширяется применение высокоэффективных и экономичных покрытий для изоляции наружных и внутренних стенок труб на основе эпоксидных смол ЭД-49, ЭД-5, ЭД-6, ЭД-Л, пластобита (ВНЙИСПТнефгь) и других эффективных материалов.

ВНИИСТ в качестве материала для защиты от механических повреждений изоляционных покрытий из полимеров рекомендует ламинированную бумагу. Основой такой бумаги может быть рулонная оберточная бумага, а наружным слоем - технический полиэтилен.

Гипроморнефть для подводных трубопроводов разработал покрытия на основе битумно-резиновой мастики с применением в качестве усиливающих обмоток стеклобита (битум, армированный стекловолокном в один или два слоя) и алюминиевой фольги, выпускаемой в СССР в виде рулонов. Наложение покрытия совмещается с катодной поляризацией.

Для предотвращения очаговой коррозии, представляющей значительную опасность для подземных трубопроводов, в США разработаны рекомендации по покрытию поверхности труб (перед нанесением изоляции) грунтовкой с добавлением ингибиторов коррозии или цинка, а также по пескоструйной очистке поверхности труб.

Совершенствуются и методы нанесения противокоррозийных покрытий. Советскими специалистами разработан метод, позволяющий выполнять операции по очистке и изоляции труб одним агрегатом, состоящим из очистной машины ОМЛ-10 и навесного изоляционного оборудования. В США запатентован метод изоляции труб без предварительного нагрева. Во Франции запатентована машина для нанесения на поверхность труб цементных растворов и других видов высоковязких покрытий. Имеются и другие предложения, направленные на повышение качества и эффективности противокоррозийных покрытий.

Повышается эффективность установок электрохимической защиты трубопровода 1721. В СССР налажено производство типовых станций катодной защиты (СКЗТ) мощностью 3000 Вт с питанием от сети переменного тока напряжением 220 В и 10 кВ.

При эксплуатации магистральных трубопроводов важное значение имеет организация постоянного контроля за эффективностью катодной защиты. В последние годы для этой цели применяется авиация.

Разработанная в Англии система авиационного контроля за состоянием катодной защиты подземных трубопроводов состоит из трех основных компонентов:

) наземных запросчиков-ответчиков, устанавливаемых в пунктах контроля и передающих результаты измерения защитного тока, потенциала труба - грунт и утечки тока;

) установленного на борту самолета запросчика, включающего передатчик, приемник, магнитный самописец и дешифратор;

) наземного питающего устройства.

В системе воздушного контроля США установленные на катодных станциях выпрямители тока снабжаются специальной приставкой, обеспечивающей периодическую подачу трех разных сигналов. Сигналы фиксируются приемником, установленным на легком самолете, который пролетает вдоль трассы трубопровода. Один сигнал сообщает о нормальном режиме работы станции, второй посылается в случае приближения силы тока к критическому значению, третий свидетельствует об аварийном состоянии станции при прекращении подачи тока. Сигналы катодных станций устойчиво принимаются на расстоянии до 1,6 км.

Некоторые фирмы США применяют ЭВМ при централизованной обработке данных электрического обследования трубопроводов. Данные о потенциале труба-грунт в. различных точках трассы трубопровода и другие параметры, характеризующие эффективность противокоррозийной защиты, преобразуются в графики с помощью автоматического построителя кривых, функционирующего совместно с ЭВМ. Собирает данные эксплуатационный персонал. В машинную память закладываются закодированные данные, характеризующие состояние покрытия трубопровода. Они представлены в виде статистической характеристики, показывающей, какая часть от общей длины трубопровода имеет потенциал труба-грунт выше критического значения - 0,85 В. Сопоставляя прежние и новые данные, судят об эффективности системы противокоррозийной защиты.

Для защиты внутренней поверхности нефтепродуктопроводов применяют органические ингибиторы коррозии: ХТЗ, RP-2M, БМП и др. Их добавляют в количестве 2,8-14 г на 1 м3 нефтепродукта.

5. Совершенствование средств и способов ликвидации аварий на трубопроводах


Для снижения потерь нефти большое значение имеет совершенствование способов и средств ликвидации аварий. Постоянно улучшаются конструкции механических средств (стягивающие хомуты, кожухи и др.), разрабатываются специальные покрытия из клейких и быстрозатвердевающих веществ. Особо следует отметить полученный в Институте химии высокомолекулярных соединений АН УССР конструкционный водостойкий акрилатный клей (ВАК). Его прочностные характеристики удовлетворяют условиям ремонта свищей и трещин на трубопроводах и резервуарах, даже в подводных условиях.

Механизацию работ при ликвидации аварий на магистральных нефтепроводах, скорость их выполнения и, следовательно, сокращение аварийных потерь нефти и нефтепродуктов обеспечивает установка для временного перекрытия трубопроводов УВПТ-1, разработанная ВНИИСПТНефть.

Она предназначена для создания герметизирующих тампонов из жестких пенополиуретанов на трубопроводах диаметром до 530 мм включительно.

УВПТ-1 - самоходный агрегат на базе автомобиля ГАЗ-66, оснащенный технологическим оборудованием для доставки компонентов смеси тампона к месту аварии, их дозировки, перемешивания и подачи в трубопровод.

Схема обвязки технологического оборудования приведена на рис. 8.

Рисунок 8 - Гидравлическая схема установки УВПТ-1:

- манометр; 2.5.10, 12 - трубопроводы: 3 - кран пробковый; 4 - фильтр; 6.8 - баки расходные; 7 - дозирующее устройство; 9, 13 - гибкие рукава; 11 - кран трехходовой; 14 - обратный клапан; 15 - смесительное устройство

Для привода дозирующих насосов от раздаточной коробки автомобиля установка снабжена трансмиссией. Это позволяет обеспечить работу оборудования в полевых условиях без подвода энергии извне. Механизм управления и контроля дает возможность выполнять все операции по заливке при помощи рычагов управления, расположенных в задней части кузова автомобиля. Кроме того, агрегат оборудуется системой обогрева и специальным геофизическим кузовом СГК-б для создания необходимых температурных условий и защиты технологического оборудования от атмосферных воздействий.

Установка работает следующим образом. Предварительно изготовленные компоненты по системе трубопроводов закачиваются в баки установки, откуда дозирующими насосами подаются в смесительное устройство, где образуется реакционная смесь, которая вытесняется через предварительно пробитое отверстие в трубопровод. Вспениваясь, смесь образует герметизирующий тампон, перекрывающий трубопровод.

Разрабатываются устройства, запускаемые внутрь трубопровода и герметизирующие его.

В США разработано автоматическое самоходное устройство (рис.9), с помощью которого определяют место повреждения, после чего срабатывает механический элемент устройства, производящий уплотнение зоны утечки впредь до осуществления ремонтных работ 1711. Устройство / пропускается по подземному трубопроводу 16. Для плавного перемещения и центровки оно оснащено роликами 14, которые располагаются по внутреннему периметру трубопровода с интервалом 120°. Прижатие роликов обеспечивается поворотными рычагами 17 и пружинами 15. Перемещается устройство с помощью пропеллерного винта 29, приводимого от двигателя 27. Управление последним осуществляется с помощью регулирующего контура 8. Уплотнительный элемент 10 устройства состоит из мастичной оболочки 7, которая при подаче наполнителя в полость 11 между оболочкой и суженной частью 9 корпуса принимает форму, показанную пунктирными линиями, и тем самым перекрывает зону утечки. Для заполнения полости 11 может быть использована перекачиваемая нефть, подаваемая насосом 26 через трубки 25, 28 и обратный клапан 24. Управление работой насоса осуществляется с помощью импульсного преобразователя 22, включенного в цепь регулирующего контура 8. Освобождение полости 11 производится по трубке 18 через клапан 19 с исполнительным механизмом 13.

Рисунок 9 - Автоматическое самоходное устройство для определения мест утечек из трубопровода

Кроме того, полость 11 может заполняться сжатым газом из баллона 2 по трубке 3 через клапан 4 с исполнительным механизмом 5. Для включения используется переключатель 23, связанный с регулирующим контуром 8. С помощью этого переключателя может попеременно открываться клапан 4 или через провод 6 запускаться насос 26. Для дистанционного управления перемещением устройства в трубе и заполнением полости 11 используется приемник 20 с антенной 21 и наружный передатчик 30. Питание всей арматуры внутри устройства осуществляется от батарейки 12. При снижении давления в трубопроводе вследствие утечки оператор дает команду по радио на включение наполнительных агрегатов. После устранения утечки дается команда на разрядку уплотнительного элемента и дальнейшее передвижение устройства.

Заключение


Общим направлением в снижении потерь нефти и нефтепродуктов является максимальная герметизация оборудования, своевременное проведение профилактических и ремонтных работ с целью предотвращения аварий на эксплуатируемых системах, механизация и автоматизация технологических операций и обеспечение надежности средств транспорта и хранения.

Особое внимание следует обратить на повышение точности и достоверности учета поступающих и отпускаемых нефтепродуктов и нефти, своевременное обеспечение всех предприятий и организаций высокоточными средствами измерений и необходимой нормативно-технической документацией, укрепление ведомственных метрологических служб.

Список использованных источников


1. Борьба с потерями нефти и нефтепродуктов при их транспортировке и хранении / Ф.Ф. Абузова [и др.]. - М. Недра, 1981. - 248 с.

. Корж, В.В. Эксплуатация и ремонт оборудования насосных и компрессорных станций: метод. указания к выполнению курсовых работ. В 3 ч.Ч. III. Нефтеперекачивающие станции / В.В. Корж, А.В. Сальников. - Ухта: УГТУ, 2009. - 56 с.

Похожие работы на - Потери от утечки нефти при трубопроводном транспорте

 

Не нашли материал для своей работы?
Поможем написать уникальную работу
Без плагиата!
Без нейросетей!