Устройство газорегуляторных пунктов и газорегуляторных установок

  • Вид работы:
    Контрольная работа
  • Предмет:
    Физика
  • Язык:
    Русский
    ,
    Формат файла:
    MS Word
    560,33 Кб
  • Опубликовано:
    2015-01-21
Вы можете узнать стоимость помощи в написании студенческой работы.
Помощь в написании работы, которую точно примут!

Устройство газорегуляторных пунктов и газорегуляторных установок

Введение

Прием газа в местах добычи, его обработка, транспортирование, распределение по трубопроводам и подача потребителям. Все это выполняет система газоснабжения, которая в нашей стране построена на базе природного газа. Газовые промыслы, включая скважины и их обустройство, представляют самостоятельную, систему, тесно связанную с системой газоснабжения. Систему газоснабжения обычно разделяют на две части: газотранспортную и распределительную.

Газотранспортная система входит, в единую газоснабжающую систему, и включает в себя: магистральные газопроводы, компрессорные станции, переключающую арматуру, подземные хранилища, систему управления и эксплуатации.

Распределительную сеть газопроводов городских и промышленных систем, газорегуляторные станции (ГРС), газорегуляторные пункты (ГРП) и газорегуляторные установки (ГРУ), газопроводы объектов, системы автоматического регулирования и безопасности сжигания газа, автоматизированную систему управления технологическими процессами газоснабжения и эксплуатации.

Отличительная черта газоснабжения по сравнению с другими системами топливоснабжения, это невозможность длительного, хранения газа, т.е. его нельзя добывать впрок. Это связано с весьма малой плотностью газа, что вызывает необходимость сооружения для его хранения огромных емкостей.

В данной контрольно-курсовой работе детально рассмотрим устройство, принципы действия отдельных элементов систем газорегуляторных пунктов (ГРП) и газорегуляторных установок (ГРУ). Принципы безопасной работы, условия размещения, требования устройства антикоррозионной защиты подземных газопроводов.

1       Устройство газорегуляторных пунктов (ГРП) и газорегуляторных установок (ГРУ)

1.1    Назначение и размещение

Газорегуляторные пункты ГРП, газорегуляторные установки ГРУ предназначены для снижения давления газа в системах газоснабжения и поддержания его на заданных уровнях с помощью регуляторов давления. В ГРП, ГРУ кроме регуляторов давления монтируют и другое оборудование.

ГРП размещаются:

в отдельно стоящих зданиях;

встроенными в одноэтажные производственные здания или котельные:

в шкафах на наружных стенах или отдельно стоящих опорах;

на покрытиях производственных зданий I и II степени огнестойкости с негорючим утеплителем;

на открытых огражденных площадках под навесом

ГРУ размещаются:

газифицированных зданиях, как правило, вблизи от входа;

непосредственно в помещениях котельных или цехов, где находятся газоиспользующие агрегаты, или в смежных помещениях, соединенных с ними открытыми проемами и имеющими не менее чем трехкратный воздухообмен в час.

подача газа от ГРУ к потребителям в других отдельно стоящих зданиях не допускается.

Назначение и характер используемого оборудования в ГРП и ГРУ идентичны.

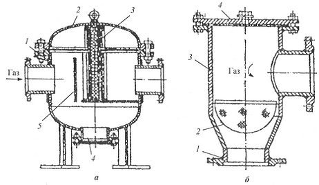
1, 3 - сбросные свечи газорегуляторного пункта (ГРП <#"871490.files/image002.gif">

а - угловой сетчатый, б - волосяной, 1 - корпус, 2- крышка, 3 - сетка, 4- капроновое волокно, 5 - кассета Рисунок 1.2.1 Газовые фильтры

Для минимизирования перепада давления необходимо периодически очищать кассеты фильтра, для этого кассету с фильтрующим материалом промывают в керосине. Очистка должна проходить вне здания ГРП.

Устройство фильтра, предназначенного для ГРП, оборудованного регуляторами РДУК изображено на рисунке 1.2.2, а. Фильтр состоит из сварного корпуса 1 с присоединительными патрубками для входа и выхода газа, крышки 2 и кассеты 3. Со стороны входа газа внутри корпуса приварен металлический отбойный лист 5, защищающий сетку от прямого попадания наиболее крупных частиц. Ударяясь в металлический лист, поступающие с газом крупные частицы собираются в нижней части фильтра и периодически удаляют через люк 4. Сетчатая кассета 3, заполненная капроновой нитью, располагается внутри корпуса. Твердые частицы, оставшиеся в потоке газа, фильтруются в кассете, которая по мере необходимости прочищается. Для очистки и промывки кассеты верхнюю крышку фильтра можно снимать.

В работе по замерам перепада давления используют дифференциальные манометры, которые присоединяют к специальным штуцерам. Фильтр-ревизию показанный на рисунке 1.2.2 устанавливают перед ротационными счетчиками. В нем улавливаются сеткой 2 частицы пыли, имеющиеся в газе.

а- фильтр к регуляторам РДУК: 1 - сварной корпус, 2- верхняя крышка, 3 - кассета, 4- люк для чистки, 5- отбойный лист; б - фильтр-ревизия: 1- входной патрубок, 2 - сетка, 3- корпус, 4 - крышка

Рисунок 1.2.2 Фильтры сварные

.3      Предохранительно-запорные клапаны

Предохранительно-запорный клапан типа ПКН (В) состоит из чугунного литого корпуса 1 вентильного типа, мембранной камеры, надстроечной головки и системы рычагов. Внутри корпуса имеется седло и клапан 9. Шток клапана входит в соединение с рычагом 14, один конец которого крепится шарнирно внутри корпуса, а другой с грузом выведен наружу. Для открытия клапана 9 с помощью рычага 14 сначала немного поднимается шток и удерживается в таком положении, при этом открывается отверстие в клапане и перепад давления до и после него уменьшается. Рычаг с грузом 14 вводится в зацепление с анкерным рычагом 15, который укреплен на корпусе шарнирно. Ударный молоточек 17 также крепится шарнирно и расположен над плечом анкерного рычага. Над корпусом под надстроечной головкой расположена мембранная камера, в которую под мембрану подается газ из рабочего газопровода. На мембране сверху расположен шток с гнездом, в которое одним плечом входит коромысло 16. Другое плечо коромысла входит в зацепление со штифтом ударного молоточка. Схема предохранительно-запорного клапана типа ПКН (В) изображена на рисунке 1.3.1.

- корпус; 2 - переходной фланец; 3 - крышка; 4 - мембрана; 5 - большая пружина; 6 - пробка; 7 - малая пружина; 8 - шток; 9 - клапан; 10 - направляющая стойка; 11 - тарелка; 12 - вилка; 13 - поворотный вал; 14 - рычаг; 15 - анкерный рычаг; 16 - коромысло; 17 - молоток

Рисунок 1.3.1 Клапан предохранительный запорный ПКН(В)

Если в рабочем газопроводе давление превышает верхний или снижается ниже нижнего заданных пределов, мембрана перемещает шток, выводя из зацепления ударный молоточек с коромыслом, молоточек падает, бьет по плечу анкерного рычага, выводя другое его плечо из зацепления с рычагом клапана. Клапан под действием груза опускается и закрывает подачу газа. Органом настройки ПКН (В) на верхний предел является большая надстроечная пружина.

При повышении или понижении давления газа в подмембранной полости за пределы настройки наконечник перемещается влево или вправо и упор, установленный на рычаге, выходит из зацепления с наконечником, освобождает связанные между собой рычаги и даст возможность оси повернуться под воздействием пружин. Клапан закрывает проход газа.

.4      Регуляторы давления

Регулятор давления универсальный Казанцева РДУК-2 состоит из собственно регулятора и регулятора управления - пилота.

Газ городского (входного) давления через фильтр 4 по трубке А поступает в надклапанное пространство пилота. Своим давлением газ прижимает плунжеры регулятора I и пилота 5 к седлам 2 и б; давление в рабочем газопроводе отсутствует. Медленно плавно вкручиваем стакан пилота 10.

Давление сжимаемой пружины 9 преодолевает давление газа в надклапанном пространстве пилота и усилие пружины 7 - открывается клапан пилота и газ из надклапанного пространства пилота поступает в подклапанное и далее по соединительной трубке Б через дроссель d1, под мембрану регулятора 3. Часть газа через дроссель d сбрасывается в рабочий газопровод. Из-за непрерывного движения газа через дроссель давление под мембраной регулятора несколько больше давления в выходном газопроводе.

Под воздействием перепада давления мембрана 3 приподнимается, приоткрывая клапан регулятора 1 - газ пошел к потребителю. Вкручиваем стакан пилота до тех пор, пока давление в выходном газопроводе станет равным заданному рабочему.

Например, при уменьшении расхода газа давление повышается, клапан пилота 5 прикрывается и клапан регулятора 1 тоже прикроется, восстанавливая давление в рабочем газопроводе до заданного.

При увеличении расхода и снижении давления клапана пилота и регулятора приоткрываются, давление в рабочем газопроводе поднимается до заданного. Регулятор давления блочный Казанцева РДБК состоит из трех узлов: регулятор 1; стабилизатор 2; пилот 3.

Клапан регулирующий по конструкции аналогичен клапану РДУК и отличается наличием импульсной колонки 4 с тремя регулирующими дросселями.

.5 Предохранительно-сбросные клапаны

Предохранительно-сбросные устройства должны обеспечивать полное открытие при превышении заданного максимального рабочего давления не более чем на 15%. После сброса избыточного объема газа и восстановления расчетного давления, сбросное устройство должно быстро и плотно закрываться. Наиболее широко применяются пружинные сбросные клапаны типа ПСК. Клапан состоит из корпуса 1, мембраны 2, на которой укреплен клапан 4, настроечной пружины 5 и регулировочного винта 6. С рабочим газопроводом клапан сообщается через боковой патрубок. При повышении давления газа выше определенного сжатием настроечной пружины 5 мембрана 2 вместе с клапаном 4 открывается, открывая выход газу через сбросную свечу в атмосферу. При уменьшении давления клапан под действием пружины перекрывает седло, сброс газа прекращается.

Предохранительно - сбросный клапан устанавливается за регулятором, при наличии расходомера - за ним. Перед ПСК устанавливается отключающее устройство, которое должно быть опломбировано в открытом положении.

Пружинные ПСК должны быть снабжены устройством для их принудительного открытия. На газопроводах низкого давления допускается установка ПСК без приспособления для принудительного открытия.

.6      Шкафной регуляторный пункт

Шкафной регуляторный пункт (ШРП) технологическое устройство в шкафном исполнении, предназначенное для снижения давления газа и поддержания его на заданном уровне. Устанавливаются для газоснабжения потребителей небольшой мощности, обособленных от общей системы.

Стоимость ШРП значительно ниже, по сравнению с ГРП. ШРП также как и ГРП, ГРУ должны иметь в своем составе:

запорные устройства до и после установки;

фильтр;

предохранительный запорный клапан;

предохранительный сбросный клапан;

регулятор давления;

манометры на входе, выходе, до и после фильтра;

обводную линию (байпас) с двумя отключающими устройствами на ней ШРП могут поставляться с теплоизолирующим покрытием внутренних поверхностей стенок, с обогревом или без.

.7      Контрольно-измерительные приборы в ГРП (ГРУ)

Устанавливаются показывающие и регистрирующие приборы для измерения давления входного и выходного, температуры газа КИП с электрическим выходным сигналом и электрооборудованием должны быть во взрывозащищенном исполнении; в нормальном исполнении размещают снаружи или в обособленном помещении ГРП, пристроенном к противопожарной газонепроницаемой стене. Вводы импульсных линии проходят через уплотнительное устройство.

Приборы учета расходов газа устанавливают при необходимости.


.8      Требования к помещениям ГРП.

Здания ГРП должны относиться к I и II степени огнестойкости класса СО, быть одноэтажными, бесподвальными, с совмещенной кровлей.

Допускается размещение ГРП встроенными в одноэтажные газифицируемые производственные здания, котельные, пристроенными к газифицируемым производственным зданиям, бытовым зданиям производственного назначения, на покрытиях газифицируемых производственных зданий I и II степени огнестойкости класса СО, с негорючим утеплителем и на открытых огражденных площадках, а также в контейнерах ГРПБ.

Здания, к которым допускается пристраивать и встраивать ГРП, должны быть не ниже II степени огнестойкости класса СО с помещениями категорий Г и Д. Строительные конструкции зданий (в пределах примыкания ГРП) должны быть противопожарными I типа, газонепроницаемыми.

Здания ГРП должны иметь покрытие (совмещенную кровлю) легкой конструкции массой не более 70 кг/м2 (при условии уборки снега в зимний период).

Применение покрытий из конструкций массой более 70 кг/м2 допускается при устройстве оконных проемов, световых фонарей или легкосбрасывасываемых панелей общей площадью не менее 500 см2 на 1 м3 внутреннего объема помещения.

Помещения, в которых расположены газорегуляторные установки ГРУ, а также отдельно стоящие и пристроенные ГРП и ГРПБ должны отвечать требованиям для помещений категории А. Материал полов, устройство окон и дверей помещений регуляторных залов должны исключать образование искр. Стены и перегородки, отделяющие помещения категории А от других помещений, следует предусматривать противопожарными I типа, газонепроницаемыми, они должны опираться на фундамент. Швы стен и фундаментов всех помещений ГРП должны быть перевязаны. Разделяющие стены из кирпича следует отштукатурить с двух сторон. Вспомогательные помещения должны иметь самостоятельный выход наружу из здания, не связанный с технологическим помещением. Двери ГРП следует предусматривать противопожарными, открывающимися наружу. Устройство дымовых и вентиляционных каналов в разделяющих стенах (внутренних перегородках), а также в стенах здания, к которым пристраивается (в пределах примыкания) ГРП, не допускается. Необходимость отопления помещения ГРП следует определять в зависимости от климатических условий.

В помещениях ГРП следует предусматривать естественное и (или) искусственное освещение и естественную постоянно действующую вентиляцию, обеспечивающую не менее трехкратного воздухообмена в I час.

Для помещений объемом более 200 м3 воздухообмен производится по расчету, но не менее однократного воздухообмена в 1 час.

Похожие работы на - Устройство газорегуляторных пунктов и газорегуляторных установок

 

Не нашли материал для своей работы?
Поможем написать уникальную работу
Без плагиата!
Без нейросетей!