Техническая эксплуатация газораспределительного пункта
Содержание
Введение
1. Общие сведения
1.1 Назначение ГРП, его элементы
1.2 Комплектность ГРП
1.3 Возможные неисправности в процессе эксплуатации
2. Технический раздел
2.1 Выбор оборудования газорегуляторных пунктов
2.2 Выбор регулятора давления
2.3 Выбор предохранительно-запорного клапана
2.4 Выбор предохранительно-сбросного клапана
2.5 Выбор фильтра
2.6 Выбор запорной арматуры
3. Организационно-технологический раздел
3.1 Работы, проводимые при техническом обслуживании ГРП
3.1.1 Технический осмотр
3.1.2 Техническое обслуживание
3.1.3 Текущий ремонт
3.1.4 Капитальный ремонт
3.1.5 Остановка ГРП
3.2 Контроль работы узлов ГРП
3.2.1 Контрольная опрессовка
3.2.3 Техническое обслуживание запорной арматуры
3.3 Охрана труда
3.3.1 Общие положения
3.3.2 Требования безопасности перед началом работы
3.3.3 Требования безопасности во время работы
3.3.5 Требования безопасности в аварийных ситуациях
3.3.6 Требования безопасности по окончании работ
4. Экономическая часть
4.1 Краткая характеристика ОАО "Газпром газораспределение
Уфа" в г. Октябрьском
4.1.1 Организационно-управленческая структура
4.1.2 Финансово-экономические показатели ОАО "Газпром
газораспределение Уфа" в г. Октябрьском
4.2 Обслуживание ГРП
Заключение
Список литературы
Введение
В настоящее время наряду с постоянным ростом потребления газа
происходит техническое перевооружение газовой промышленности, обновление
оборудования. Базой для широкого развития отрасли являются значительные запасы
природного газа, в результате чего удается заметно повысить интенсивность
производства и качество получаемой продукции. Применение газа для промышленных
установок улучшает условия труда и способствует росту его производительности, а
также позволяет использовать принципиально новые прогрессивные и экономически
эффективные технологические процессы. Из достоинств природного газа следует,
что применение его в качестве топлива дает возможность значительно улучшить
условия быта населения, повысить санитарно-гигиенический уровень производства и
оздоровить воздушный бассейн в городах и промышленных центрах. Расходы газового
топлива в настоящее время составляют существенную долю в общем топливном
балансе страны. Широкое применение природного газа в качестве топлива особенно
остро ставит перед обслуживающим персоналом газорегуляторных пунктов вопрос о
повышении безопасности при их эксплуатации. Газорегуляторные пункты и установки
- наиболее ответственные элементы систем газоснабжения. Они снижают давление
газа в газопроводах и автоматически поддерживают его на заданном уровне, что
является необходимым условием безопасного и экономичного сжигания газа. В
зависимости от назначения газорегуляторных пунктов оснащают разными типами
регуляторов давления, которые служат важнейшей частью оборудования
газорегуляторного пункта обеспечивающей регулирование давления газа. Эти типы,
регуляторов в зависимости от места установки, пропускной способности и
назначения различаются конструктивным исполнением, формой и размерами.
Для защиты газопроводов от аварийного повышения или понижения
давления при неисправностях регуляторов давления газорегуляторные пункты
оснащают средствами защиты, а также средствами измерения давления и расхода
газа. Промышленностью выпускается большое количество различных средств
измерений: от простейших первичных приборов и преобразователей до сложных
многоточечных измерительных систем, позволяющих контролировать отдельные
параметры, а также осуществлять автоматическую запись показаний и управление
технологическими процессами.
Раз в два месяца проводится регулировка оборудования и проверка
порогов срабатывания предохранительных устройств. Кроме того, раз в 6 месяцев
должно проводиться техобслуживание, а раз в год - плановый ремонт. Каждый вид
обслуживания - от обхода до ремонта - сопровождается либо с записью в журнале,
либо составлением акта. То есть данные об исполнителях фиксируются. Для
исключения влияния заводского брака, монтажных ошибок и прочих неприятностей,
перед пуском газорегуляторного пункты в эксплуатацию проводится его испытание,
ревизия и наладка с составлением соответствующего Акта, в котором отражается
состояние работоспособности оборудования, параметры наладки регулятора и
порогов срабатывания автоматики.
1. Общие
сведения
1.1
Назначение ГРП, его элементы
Основное назначение газорегуляторных пунктов (ГРП) и
установок (ГРУ) - снижение входного давления газа (дросселирование) до
заданного выходного и поддержание последнего в контролируемой точке газопровода
постоянным (в заданных пределах) независимо от изменения входного давления и
расхода газа потребителями. Кроме этого, в ГРП (ГРУ) производятся: очистка газа
от механических примесей, контроль за входным и выходным давлением и
температурой газа, учет расхода (если отсутствует специально выделенный пункт
измерения расхода), предохранение от возможного повышения или понижения
давления газа в контролируемой точке газопровода сверх допустимых пределов.
Наличие в системе газоснабжения постоянного давления (в заранее заданном
диапазоне его колебания) является одним из важнейших условий безопасной и
надежной работы этой системы и подключенных к ней газопотребляющих объектов и
агрегатов.
ГРП и ГРУ оснащаются практически одним и тем же оборудованием
и отличаются друг от друга в основном своим расположением.
ГРУ монтируют непосредственно в помещениях, где расположены
агрегаты, использующие газовое топливо (цеха, котельные и т.п.).
ГРП размещают в зависимости от назначения и технической
целесообразности: в отдельно стоящих зданиях; в пристройках к зданиям; на
несгораемом покрытии промышленного здания, в котором расположены потребители
газа; в шкафах, устанавливаемых на несгораемой стене снаружи газифицируемого
здания, на отдельно стоящей несгораемой опоре или (при наличии опорных стоек)
на бетонном фундаменте.
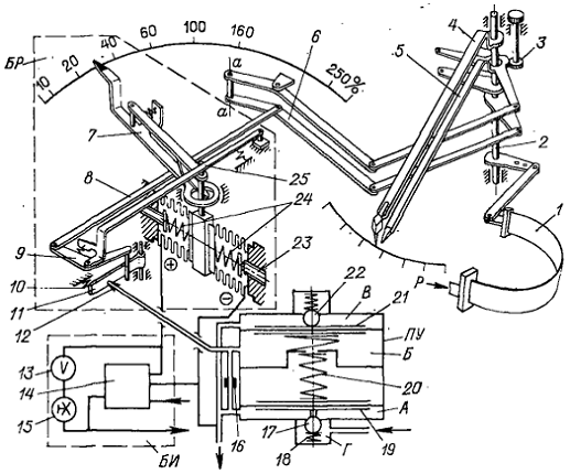
Рассмотрим схему ГРП с регулятором РДУК2 на рисунке 1:
- ввод; 2 - запорное устройство; 3 - кран; 4 - кран; 5 -
фильтр; 6 - пзк; 7 - регулятор давления; 8 - регулятор давления с пилотом; 9 -
запорное устройство; 10 - поворотное колено; 11 - задвижка; 12 - импульсный
трубопровод; 13 - вывод; 14 - запорное устройство; 15 - запорное устройство; 16
- штуцер; 17 - псу; 18 - сбросной трубопровод; 19 - задвижка; 20 - счетчик; 21
- задвижка; 22 - фильтр ревизия; 23 - технический термометр; 24 - самопишущий
термометр; 25 - самопишущий манометр; 26 - манометр; 27 - второе запорное
устройство; 28 - манометр; 29 - кран; 30 - запорное устройство; 31 - сбросной
трубопровод; 32 - штуцер; 33 - манометр; 34 - самопишущий манометр; 35 -
дифманометр.
Рисунок 1 - Схема ГРП (ГРУ) с регулятором РДУК2 и измерением
расхода газа ротационным счетчиками.
Рассмотрим схему рисунок 1 одноступенчатого ГРП (ГРУ),
имеющего одну технологическую линию с учетом расхода газа двумя ротационными
счетчиками и оборудованного регулятором давления РДУК2. Общие запорные
устройства установлены вне ГРП на вводе 1 и выводе 13 (показаны штрихами). Для
продувки газопроводов, расположенных до 240.
В ГРП, служит сбросной трубопровод 31, который соединяют с
основным газопроводом в точке Б или А в зависимости от конструктивных особенностей
ГРП. В первом варианте для продувки открывают первое по ходу газа запорное
устройство 30 на байпасе и кран 29 на отводе к сбросному трубопроводу, во
втором варианте - только кран 29. Штуцер 32 служит для отбора пробы при
контроле окончания продувки. На байпасе имеется второе запорное устройство 27 и
манометр 28. Манометр 33 предназначен для измерения входного давления, а для
его регистрации самопишущий манометр 34. Для включения и отключения основного
оборудования: фильтра 5, ПЗК 6 и регулятора давления 7 - служат запорные
устройства 2 и 9. Участок газопровода между задвижкой 2 и фильтром 5 соединен
отводом с краном 3 со сбросным трубопроводом 31. Это позволяет снизить давление
газа в технологической линии при закрытых запорных устройствах 2 и 9 до
атмосферного, что необходимо осуществить до начала чистки фильтра и ремонта ПЗК
и регулятора. При входном давлении до 3 кгс/см2 и диаметре технологической
линии Dy^L100 мм допустимо не предусматривать сброс газа из этого участка.
Перепад давления на сетке или кассете фильтра определяют с помощью дифманометра
35, на импульсных трубках которых имеются краны 4. Если давление на входе не
превышает 2,5 кгс/см2, то возможно применение вместо дифманометра показывающего
манометра с ценой деления не более 0,05 кгс/см2. Самопишущие термометр 24 и
манометр 25 регистрируют температуру и давление газа до счетчиков, что
позволяет вводить соответствующие поправки к показаниям последних. Кроме
самопишущего предусматривается обычно также установка технического термометра 23,
нижняя часть которого располагается в специальной полости газопровода рядом, с
датчиком самопишущего термометра. Если расход газа потребителем невелик и для
его измерения в ГРУ используется один ротационный счетчик, то зачастую
используют только технический термометр, нижнюю часть которого вводят в
отверстие, имеющееся в верхней крышке фильтра-ревизии 22, используя
соответствующее уплотнение или приваривая к ней гильзу. Импульсный трубопровод
12 подключают к выходному газопроводу в точке Г. От него предусматривают отводы
с кранами к показывающему манометру 26, а также к ПЗК и регулятору давления с
пилотом 8. К нему же может быть подсоединен подводящий трубопровод к ПСУ 17 с
запорным устройством 15, нормально опломбированным в закрытом состоянии. Штуцер
16 предназначен для настройки ПСУ, а для стравливания газа в атмосферу через
ПСУ - сбросной трубопровод 18. Отключение и включение счетчиков 20 производят
задвижками 21. При необходимости работы без счетчиков (ревизия, ремонт)
открывают задвижку 19, которая нормально должна быть опломбирована в закрытом
положении. Перед счетчиком устанавливают фильтр-ревизию 22, а после него
поворотное колено 10.
В соответствии с назначением в ГРП и ГРУ входят следующие
элементы:
) Регулятор давления (РД), понижающий давление газа и
поддерживающий его в контролируемой точке на заданном уровне независимо от
расхода газа и изменения в определенных пределах входного давления.
2) Предохранительный запорный клапан (ПЗК), прекращающий
подачу газа при повышении или понижении его давления после регулятора сверх
заданных пределов. На промышленных предприятиях, где по условиям производства
не допускается перерыв в подаче газа (например, электростанциях), ПЗК не
устанавливают, а для предупреждения аварий предусматривают сигнализацию о повышении
или понижении давления газа сверх установленных пределов.
) Предохранительное сбросное устройство (ПСУ),
сбрасывающее излишки газа из газопровода после регулятора, с тем чтобы давление
газа в контролируемой точке не превысило заданного.
) Фильтр для очистки газа от механических примесей.
Установка фильтра не обязательна в ГРУ, к которой газ поступает через ГРП ил
централизованный пункт очистки газа предприятия и расстояние, от которой до ГРП
или пункта очистки не превышает 1000 м.
) Контрольно-измерительные приборы (КИП) для
измерения: давления газа до и после регулятора, а также на обводном газопроводе
- манометры показывающие (при необходимости самопишущие); перепада давления на
фильтре
) дифманометр; учета расхода газа в ГРП или ГРУ (при
необходимости) - расходомеры; температуры газа перед расходомером - термометры
показывающий и самопишущий.
) Импульсные трубопроводы для соединения регулятора,
ПЗК, ПСУ и КИП с теми точками на газопроводах, в которых контролируется
давление и температура газа.
) Сбросные трубопроводы для стравливания газа в
атмосферу от ПСУ, продувочных линий и т.п.
) Запорные устройства для включения и отключения
регулирующего и предохранительного оборудования, а также КИП. Число и
расположение запорных устройств должны обеспечить возможность отключения
основного оборудования и необходимых КИП для ревизии и ремонта ГРП (ГРУ) без
прекращения подачи газа к потребителям.
10) Обводный газопровод (байпас) с двумя запорными
устройствами для снабжения газом через него потребителей на время ревизии и
ремонта, а также аварийного состояния оборудования, смонтированного на основной
технологической линии. В шкафном ГРП устройство байпаса не обязательно.
В зависимости от давления газа на вводе ГРП и ГРУ
подразделяют на:
- ГРП и ГРУ среднего давления (более 0,05 до
3 кгс/см2);
- ГРП и ГРУ высокого давления (более 3 до 12
кгс/см2).
1.2
Комплектность ГРП
1) Регуляторы давления. Регуляторы давления (далее
регуляторы) рисунок 2 являются основным элементом ГРП (ГРУ), предназначенным
для автоматического понижения давления газа от начального (входного) p1 до
расчетного (выходного) р2 и поддержания последнего постоянным в заданном
диапазоне (с учетом неравномерности регулирования) независимо от изменения
расхода газа и колебаний входного давления р1 в определенных пределах.
- плунжер; 2 - седло; 3 - мембрана; 4 - дроссель; 5 - трубка;
6 - трубка; 7 - трубка; 8 - дроссель; 9 - трубка; 10 - пилот; 11 -
соединительный патрубок; 12 - регулирующий клапан; 13 - фильтрирующая сетка.
Рисунок 2 - Регулятор РДУК2.
Конструктивное исполнение и размеры регуляторов определяются
условиями их эксплуатации, расчетной пропускной способностью, входным и
выходным давлением, характеристикой регулируемого объекта (системы
газопроводов).
Регулятор может поддерживать заданное давление газа в
контролируемой точке газопровода, расположенной после регулятора или до него. В
первом случае регулятор называют регулятором "после себя", во втором
- регулятором "до себя". В данном дипломном проекте будут
рассматриваются регуляторы "после себя", так как в ГРП (ГРУ)
городских систем газоснабжения, промышленных, коммунальных и бытовых объектов
применяют регуляторы только этого типа.
Надежность и эффективность функционирования бытовых и
промышленных потребителей газа зависят от постоянства основных технологических
параметров (давления, числа Воббе, плотности и т.д.) в питающих их
газопроводах. Регулятор поддерживает постоянным (в заданном диапазоне) только
один из этих параметров - давление газа. Причем это постоянство сохраняется в
одной определенной точке газопровода, которая соединена импульсной трубкой с
чувствительным элементом регулятора и которую ниже будем называть
контролируемой точкой. Давление во всей остальной сети газопроводов равно
давлению в контролируемой точке лишь тогда, когда потребители газа отключены и
из газопроводов, расположенных после контролируемой точки, нет отбора газа.
Назовем эту сеть газопроводов объектом регулирования или
просто объектом. Если потребители, подключенные к объекту, расходуют газ, то
при установившемся режиме давление в любой точке объекта всегда несколько
меньше давления в контролируемой точке из-за гидравлических потерь, возникающих
при движении газа по газопроводу. Чем значительнее расстояние между
рассматриваемой и контролируемой точками и расход газа на участке между этими
точками, тем больше перепад давления между этими точками. При проектировании и
эксплуатации газопроводов стремятся к тому, чтобы этот перепад свести к
минимуму.
) Манометры. Манометр с трубчатой пружиной самопишущий с
пневматическим изодромным регулирующим устройством МТ-711Р (МТ-712Р) рисунок 3
предназначен для измерения, записи и автоматического поддержания заданного
давления при работе в системе контроля и регулирования технологических
процессов. При использовании его в ГРП (ГРУ) в качестве командного прибора к
клапану регулирующему (КР) он обеспечивает поддержание постоянным давления газа
в контролируемой точке газопровода,, записывая при этом выходное давление на
дисковой диаграмме, которая совершает полный оборот за 12 или 24 ч.
газораспределительный пункт техническая эксплуатация
МТ-711Р имеет привод диаграммы от синхронного
электродвигателя и может располагаться только во взрывобезопасном помещении,.
МТ-712Р оборудован приводом диаграммы от часового механизма с 8-суточным
заводом и может устанавливаться непосредственно в помещении ГРП.
- манометрическая трубчатая пружина; 2 - ось; 3 - шестерня; 4
- стрелка; 5 - стрелка; 6 - рычаг; 7 - стрелка; 8 - тяга; 9 - угловой рычаг; 10
- пружина; 11 - заслонка; 12 - сопло; 14 - реле; 13 - пневмоемкость; 15 -
дроссель; 16 - постоянный дроссель; 17 - шариковый клапан; 18 - пружина; 19 -
мембрана; 20 - пружина; 21 - мембрана; 22 - клапан сброса воздуха; 23 - винт;
24 - пружины; 25 - рычаг;
Рисунок 3 - Схема устройства манометра МТ-711Р.
Класс точности измерительного устройства 1,
регулирующего-1,5. Пределы пропорциональности от 10 до 250 %. Давление воздуха
питания 1,4 кгс/см2, выходной пневматический сигнал от 0,2 до 1,0 кгс/см2.
Масса не более 11 кг.
Верхний предел измерений (шкала прибора), определяющий
выходное давление после КР, кгс/см2: 0,6; 1; 1,6; 2,5; 4; 6; 10; 16 и т.д. до
1600. Для записи использовано перо, в полость которого чернила закапываются в
объеме, рассчитанном на работу в течение суток.
Предел допускаемой основной погрешности записи в процентах от
нормирующего значения не должен превышать ±1. Действие измерительной части
основана уравновешивании измеряемого давления силой упругой деформации
трубчатой пружины, а пневматического изодромного регулирующего устройства на
принципе компенсации перемещений с использованием сифонного устройства.
Конструктивно прибор состоит из следующих основных узлов:
датчика, манометра двухстрелочного, передающего механизма, регулирующего
устройства, пневмоусилителя и привода диаграммы.
Расстояние от прибора до исполнительного механизма по трассе
рекомендуется принимать не более 20-40 м. При выборе места установки прибора
необходимо соблюдать следующие условия:
а) расстояния от точки измерения до прибора и от прибора до
КР должны быть минимальными;
б) во избежание конденсации паров температура окружающего
воздуха должна быть на 10°С выше точки росы воздуха на выходе из компрессора,
но не выше +50°С;
в) прибор не должен испытывать воздействия вибрации. При
наличии вибрации необходимы амортизирующие приспособления;
г) окружающая среда не должна разрушающе действовать на
лакокрасочные покрытия, пассивированную латунь, оксидированные алюминиевые
сплавы, никелевые, хромовые и цинковые покрытия.
В зависимости от типа прибор монтируется на стене, стойке,
кронштейне или щите в вертикальном положении. Пневмокоммуникации должны
выполняться, медной, латунной или стальной трубкой с внутренним диаметром 6 мм
и толщиной стенки не менее 1 мм. На трассе должно быть как можно меньше
изгибов, причем радиусы закругления должны быть не менее 20 мм.
) Стабилизаторы давления воздуха. Стабилизатор давления
воздуха СДВ-1.6М рисунок 4 предназначен для регулирования и автоматического
поддержания давления воздуха, необходимого для питания приборов и средств
автоматизации, в частности командных приборов регуляторов непрямого действия.
- пружина; 2 - плунжер; 3 - фланец корпуса; 4 - седло; 5 -
мембрана; 6 - жесткий диск; 7 - штуцер; 8 - пружина; 9 - крышка; 10 - гайка; 11
- стакан; 12 - упор; 13 - манометр.
Рисунок 4 - Стабилизатор давления воздуха СДВ-1,6М.
Число в шифре обозначает максимальный расход воздуха (м3/ч),
индекс М - укомплектованность прибора показывающим манометром. Рабочее входное
давление 3-8, выходное 0,2-2 кгс/см2. Допустимая температура окружающей среды
от - 30 до +50°С, относительная влажность 95 %Масса прибора 0,5 кг.
) Фильтры воздуха. Фильтр воздуха ФВ-1,6 рисунок 5
предназначен для окончательной очистки воздуха питания пневматических приборов
и средств автоматизации от механических примесей, масла и влаги.
Рабочее давление на входе 3-6 кгс/см2, максимальный расход
воздуха при р = 760 мм рт. ст. и t = 20°C равен 1,6 м3/ч, падение давления на фильтре при рВх=3
кгс/см2 не более 0,2 кгс/см2, степень очистки воздуха не менее 99,95 %,
температура окружающего воздуха ±50°С, относительная влажность окружающего
воздуха до 95 % при +35°С. Масса фильтра ~0,4 кг.
- ниппель; 2 - гайка; 3 - штуцер; 4 - корпус; 5 -
фильтровальный материал; 6 - поддон; 7 - фильтрующий патрон; 8 - отражатель; 9
- пробка;
Рисунок 5 - Фильтр воздуха ФВ-1,6.
) Предохранительные запорные клапаны. Предохранительные
запорные клапаны (ПЗК) рисунок 6 предназначены для автоматического прекращения
подачи газа к потребителям в случае повышения или понижения его давления в
контролируемой точке ГРП (ГРУ) сверх заданных пределов.
- корпус; 2 - тарельчатый плунжер; 3 - шток; 4 - рычаг; 5 -
рычаг; 6 - защелка; 7 - мембрана; 8 - вентиль; 9 - груз; 10 - груз; 11-защелка;
12-ударник.
Рисунок 6 - Предохранительный запорный клапан ПК.
Чрезмерное повышение давления газа после регулятора может
привести к отрыву пламени у газовых горелок, нарушению герметичности и
появлению утечек газа в соединениях газопроводов и арматуры, выходу из строя
КИП и т.д.
Значительное понижение давления газа чревато возможностью
проскока пламени в горелки некоторых конструкций или погасания у них пламени.
Прекращение горения газа может привести к образованию взрывоопасной
газовоздушной смеси в топках и газоходах газифицированных агрегатов и в
помещениях котельных, цехов, жилых и коммунально-бытовых зданий.
Котлы и промышленные агрегаты, работающие на газовом топливе,
как правило, оборудованы автоматикой безопасности, прекращающей поступление к
ним газа при чрезмерном повышении или понижении давления газа, а также
погасании пламени. Поэтому особое внимание должно быть уделено безопасной
работе бытовых газовых приборов.
Так, при понижении давления в системе газоснабжения
населенного пункта главная опасность исходит из наиболее распространенных
приборов - газовых плит, горелки которых (конфорочные и духовых шкафов) не
имеют защитных устройств, прекращающих подачу к ним газа при погасании пламени.
По данным Гинронии газа при давлении природного газа перед
соплом горелки бытовой плиты ниже 15-20 кгс/м2 возможно задувание пламени
потоками воздуха внутри помещения, а при давлении 20-25 кгс/м2 перед плитой и
прикрытых краниках горелок пламя гаснет, и, значит, давление газа перед плитой
не должно опускаться ниже 25 кгс/м2.
С другой стороны, через ГРП обычно питаются газом сотни или
тысячи бытовых приборов, и прекращение подачи газа к ним, даже кратковременное,
а затем возобновление может привести к несчастным случаям.
Следовательно, полное отсутствие газа в газопроводах низкого
давления, снабжающих газом бытовых потребителей, недопустимо даже на короткое
время. Таким образом, срабатывание ПЗК в ГРП, питающих газом бытовых
потребителей, следует рассматривать как чрезвычайное происшествие, и в таких
ГРП целесообразно устройство сигнализации для принятия своевременных мер по
нормализации давления в контролируемой точке. Тем более недопустимо
самопроизвольное включение (открытие) ПЗК после его срабатывания (закрытия),
вызванного резким понижением или повышением давления в газопроводе, так как при
этом начнется поступление газа через погасшие горелки в помещения, топки и
газоходы агрегатов.
Следовательно, до включения ПЗК для подачи газа потребителям
необходимо обнаружить и устранить причины, вызвавшие его срабатывание, а также
убедиться в том, что перед всеми горелками и агрегатами закрыты запорные
устройства. Поэтому включение ПЗК производится не автоматически, а только
вручную.
Согласно СНиП II-37-76, нормы герметичности ПЗК должны
соответствовать классу 1, а погрешность его срабатывания составлять. не более
±5 % от заданного контролируемого давления. Все типы ПЗК монтируют на
газопроводе по ходу газа до регулятора давления, а импульс выходного давления
подводят к мембранной камере ПЗК от контролируемой точки газопровода после
регулятора. При этом монтаж производят на горизонтальном участке газопровода
так, чтобы мембрана клапана занимала строго горизонтальное положение.
Исключение составляет ПКК-40М, который можно устанавливать в любом положении.
) Предохранительные сбросные устройства.
Предохранительное сбросное устройство (ПСУ) рисунок 8
предназначено для удаления в атмосферу некоторого избыточного объема газа из
газопровода после регулятора с целью предотвратить повышение давления выше
заданного допустимого значения.
В ГРП (ГРУ) тупиковых систем газопроводов ПСУ предназначено
для сброса некоторого избыточного объема газа из газопровода после регулятора в
атмосферу с целью предотвратить повышение давления в контролируемой точке до
значения, при котором возможно:
- срабатывание ПЗК с полным прекращением
подачи газа потребителям в моменты резкого уменьшения расхода газа или
внезапного увеличения давления до ГРП (ГРУ), а также в периоды, когда отбор газа
оказывается меньшим 5 % номинальной пропускной способности регулятора или
временно прекращается полностью, но регулятор не обеспечивает герметичности
затвора;
- корпус; 2 - прокладка; 3 - плунжер; 4 - тарелка; 5 - мембрана;
6 - диск; 7 - крышка; 8 - пружина; 9 - шайба; 10 - винт.
Рисунок 8 - Сбросной клапан ПСК-50.
- повреждение КИП и нарушение плотности
газопроводов и арматуры в случае неисправности регулятора и срабатывания ПЗК,
затвор которого может оказаться негерметичным;
- нарушение технологии сжигания газа,
плотности газопроводов и арматуры, а также повреждение КИП в случае
неисправности регулятора в ГРП (ГРУ), в котором имеется система сигнализации о
повышении давления и отсутствует ПЗК.
7) Фильтры газовые.
Фильтры газовые в ГРП (ГРУ) рисунок 9 предназначены для
очистки газа от пыли, смолистых веществ, нафталина и других твердых частиц.
Отсутствие в очищенном газе твердых частиц или уменьшение их
количества до возможного минимума позволяет повысить плотность запорных
устройств, включая арматуру перед агрегатами, горелками и приборами, ПЗК, ПСУ и
регулирующих органов регуляторов давления, а также увеличить межремонтное время
этих устройств за счет уменьшения износа (в основном эрозии) уплотняющих
поверхностей.
- корпус; 2 - кассета; 3 - крышка; 4 - решетка; 5 - штуцер.
Рисунок 9 - Фильтр кассетный волосяной литой ФВ.
При этом уменьшается износ и повышается точность работы
расходомеров (счетчиков и измерительных диафрагм), особо чувствительных к
эрозии. Поэтому правильный выбор фильтра и его квалифицированная эксплуатация
являются одним из важнейших мероприятий по обеспечению надежного и безопасного
функционирования системы газоснабжения.
К сожалению, на практике наблюдаются случаи применения
фильтров при расходах газа, заведомо больше допустимых, что значительно
ухудшает степень очистки газа, а в кассетных фильтрах вызывает унос
фильтрующего материала. В процессе эксплуатации проверка загрязненности фильтра
осуществляется нерегулярно, а добавление фильтрующего материала в кассету и его
смазка висциновым маслом зачастую не производятся годами. Результат этого - не
плотность запорных устройств, необходимость их частого ремонта. В ГРП (ГРУ)
фильтры устанавливают на газопроводах до расходомеров (счетчиков и
измерительных диафрагм), ПЗК и регуляторов давления.
Степень засорения фильтров определяют измерением перепада
давления в них с помощью дифманометров, для присоединения которых фильтр должен
иметь штуцеры. При отсутствии штуцеров их приваривают к газопроводу до и после
фильтра.
1.3 Возможные
неисправности в процессе эксплуатации
В процессе эксплуатации регулятора могут наблюдаться
следующие неполадки:
) ПЗК срабатывает из-за значительного понижения
выходного давления, вызванного заеданием подвижной системы регулятора,
загрязнением фильтра, поломкой настроечной пружины, разрывом рабочей мембраны
или намораживанием кристаллогидратов в зоне дросселирующего органа;
2) ПЗК срабатывает из-за значительного повышения
выходного давления, вызванного заеданием подвижной системы регулятора, разрыва
разгрузочной мембраны, поломки настроечной пружины, износа уплотнения
регулирующего плунжера или намораживания кристаллогидратов в зоне
дросселирующего органа;
) ПЗК не срабатывает, выходное давление значительно
выше или ниже давления настройки из-за заедания подвижной системы, поломки
пружин или износа уплотнения отсечного клапана (ПЗК);
) наблюдается сброс газа в атмосферу при нормальном
выходном давлении. Причины: поломка, нарушение настройки пружины или износ
уплотнения сбросного клапана, износ уплотнения регулирующего плунжера,
намораживание кристаллогидратов в зоне дросселирующего органа. Во всех
перечисленных случаях следует регулятор разобрать, очистить от пыли и
кристаллогидратов и при необходимости заменить неисправные детали;
) выходное давление падает до нуля. Причина: разрыв
мембраны регулятора. Мембрану заменяют;
) выходное давление непрерывно растет. Причины: разрыв
мембраны пилота, засорение седла или заедание толкателя золотника пилота в
направляющих. Мембрану заменить, прочистить седло пилота и устранить заедание
толкателя;
) выходное давление постепенно уменьшается, временами
резко возрастает и вновь снижается почти до нуля. Причина: обмерзание золотника
и седла пилота. Обмерзание устраняют обогревом пилота тряпкой, смачиваемой
горячей водой.
В процессе эксплуатации клапана возможны следующие неполадки:
) Шток не перемещается при подаче командного воздуха в
надмембранное пространство. Причина: разрыв мембраны;
2) Шток перемещается рывками при плавном изменении
командного воздуха. Причины: чрезмерная затяжка сальника или отсутствие смазки;
) Шток не достигает крайних положений (верхнего и
нижнего) при изменении давления командного воздуха от 0,2 до 1,0 кгс/см2.
Причина: неправильная настройка пружины (чрезмерное или недостаточное ее
сжатие);
) Плунжер в процессе эксплуатации почти всегда
находится в положении, близком к крайнему верхнему или крайнему нижнему.
Причина: условный диаметр клапана и его пропускная способность не соответствуют
действительному расходу газа. Клапан надо заменить.
В процессе эксплуатации клапанов ПК наблюдаются следующие
неполадки:
) Клапан при закрытии пропускает газ. Причины:
попадание под плунжер механических примесей, наличие на поверхности плунжера
или седла раковин, царапин и т.д. Плунжер и седло следует прочистить, а при
необходимости произвести притирку.
2) Плунжер с трудом поднимается, при освобождении
рычагов опускается медленно или совсем не опускается. Причины: заедание в
шарнирах или штоке рычага, сильно затянут сальник на оси рычага. Следует
проверить натяжение сальника или, если дело не в нем, отремонтировать плунжер.
) Разрыв мембраны. Давление под ней понизится, и
клапан, настроенный на отключение при понижении давления, прекратит подачу
газа. Мембрану необходимо заменить.
) Клапан срабатывает на закрытие при исправном
регуляторе. Причины: неправильное зацепление между рычагом мембраны и
молоточком, подработались концы зацепляющего устройства (слишком слабое
зацепление). Клапан мог сработать от сотрясения, случайного толчка. Следует
обеспечить надежное зацепление. Клапан не должен подвергаться действию сотрясений и
толчков.
2.
Технический раздел
2.1 Выбор
оборудования газорегуляторных пунктов
Выбор оборудования ГРП начинается с определения типа регулятора
давления газа. После выбора регулятора давления определяются типы
предохранительно-запорных и предохранительно-сбросных клапанов. Далее
подбирается фильтр для очистки газа, а затем запорная арматура и
контрольно-измерительные приборы.
2.2 Выбор регулятора
давления
Регулятор давления должен обеспечивать пропуск через ГРП
необходимого кол-во газа и поддерживать постоянное давление его независимо от
расхода.
Расчётное уравнение для определения пропускной способности
регулятора давления выбираются в зависимости от характера истечения газа через
регулирующий орган.
При докритическом истечении, когда скорость газа при проходе
через клапан регулятора не превышает скорость звука, расчётное уравнение
записывается в виде:
(1)
При сверх критическом давлении, когда скорость газа в клапане
регулятора давления превышает скорость звука, расчётное уравнение имеет вид:
(2)
где 
коэффициент пропускной способности регулятора давления;
коэффициент, учитывающий не точность исходной модели для
уравнений;

перепад давлений в линии регулирования, МПа.
(3)
(4)
(5)
где 
-
абсолютное давление газа перед ГРП или ГРУ, МПа;

абсолютное давление газа после ГРП или ГРУ, МПа;
Р1 =
0,15 + 0,1 = 0,25 (МПа),
Р2 =
0,005 + 0,1 = 0,105 (МПа),
где 
потери давления газа в линии регулирования, обычно равные 0,007
МПа;
(DР/Р1)кр
*0,5, eкр=1 - 0,46 * 0,5 * 0,77,
где 
- 0,73 - плотность газа при нормальном
давлении, кг/м3;
Т- абсолютная температура газа равная 283 К;

Z - коэффициент,
учитывающий отклонение свойств газа от свойств идеального газа (при Р1
≤1,2 МПа 
= 1).
Расчётный расход 
должен быть больше оптимального расхода газа через ГРП на 15…20%,
то есть:
, (6)
Vp
1,2
* 1883,52 = 2260,224 (м3/ч.),
Определить режим истечения газа через клапан регулятора можно по
соотношению
,
Если
Р2/Р1 то течение
газа будет докритическим и поэтому следует применять уравнение первое.
Так как
Р2/Р1 то течение
газа будет сверхкритическим и поэтому следует применять уравнение второе.
Из вышеуказанных уравнений для определения типа регулятора
определяем его коэффициент пропускной способности Kv.
, (7)
,
Определив Kv,
выбираем тип регулятора с 
ближайшим большим значением по таблице 1, чем получен по расчёту.
Таблица 1. Технические и эксплуатационные характеристики
регуляторов РДУК-50/100/200
|
Наименование
параметра или размера
|
Значения для
типа или исполнения
|
|
РДУК-50
|
РДУК-100
|
РДУК-200
|
|
Диаметр фланца,
Ду
|
50
|
100
|
200
|
|
Диаметр седла,
мм
|
35
|
50
|
70
|
105
|
140
|
|
|
|
|
|
|
По расчёту получен 

45,37 Ближайший 
равен 50 и относится к регулятору РДУК-50 рисунок 11.
Следовательно, этот регулятор следует установить в ГРП.
Рисунок 11 - Регулятор давления газа РДУК 50.
2.3
Выбор предохранительно-запорного клапана
Промышленность выпускает два типа ПЗК: ПКН и ПКВ. Первый
следует применять в случаях, когда после ГРП или ГРУ поддерживается низкое
давление рисунок 12, второй - среднее. Габариты и тип клапана определяются
типом регулятора давления. ПЗК обычно выбирают с таким же условным диаметром,
как и регулятор.
Определен тип регулятора РДУК-50. Этот регулятор имеет
условный диаметр 50 мм. Следовательно, ПЗК будет или ПКН-50 рисунок 12.
Рисунок 12 - ПКН-50
2.4
Выбор предохранительно-сбросного клапана
Предохранительно-сбросной клапан подбирается по пропускной
способности регулятора давления. Пропускная способность ПСК должна составлять
не менее 10 % от пропускной способности регулятора давления или не менее
пропускной способности наибольшего из клапанов. Выбираем ПСК-50Н/0,05 рисунок
13.
Рисунок 13 - ПСК-50
2.5
Выбор фильтра
Задачей фильтра в ГРП или ГРУ является отчистка от
механических примесей. При этом фильтр должен пропускать весь газовый поток, не
превышая допустимую потерю давления на себе в размере 10000 Па.
Промышленность выпускает два вида газовых фильтров: кассетные
с литым корпусом типа ФВ-100 и ФВ-200; кассетные со сварным корпусом типа
ФГ7-50-6; ФГ9-50-12; ФГ15-100-6; ФГ19-10-12; ФГ36-200-6; ФГ46-200-12;
ФГ80-300-6; ФГ100-300-12.
Первый тип фильтров предназначен для небольших до 3800 м3/ч
расходов газа. Второй тип фильтров предназначен для пропуска больших расходов
газа.
Число после ФГ означает пропускную способность фильтра в
тысячах кубических метров в час.
Для подбора фильтра необходимо определить перепад давления
газа на нем при расчетном расходе газа через ГРП или ГРУ.
Для фильтров этот перепад давления определяют по формуле:
, (8)
где DPгр - значение перепада давления газа на фильтре,
Па;
Vгр - паспортное значение пропускной
способности фильтра, м3/ч;
r0 -
плотность газа при нормальных условиях, кг/м3;
Р1 - абсолютное давление газа перед фильтром, МПа;
Vр - расчетный расход газа через ГРП иди ГРУ, м3/ч.
Pгр = 10000
(Па),
Vгр 7000 (м3/ч),
0 0,73 (кг/м3),
За исходный возьмем фильтр ФГ 7 - 50 - 6.

(Па),
Перепад для фильтра ГРП не превышает допустимого значения 10000
Па, следовательно выбран фильтр ФГ 7 - 50 - 6 рисунок 14.
Рисунок 14 - ФГ 7-50-6.
2.6 Выбор
запорной арматуры
Запорная арматура (задвижки, вентили, пробковые краны),
применяются в ГРП и ГРУ должна быть рассчитана на газовую среду. Главными
критериями при выборе запорной арматуры являются условный диаметр 
и исполнительное давление 
.
Задвижки применяются как с выдвижными, так и с не выдвижными
шпинделем. Первые предпочтительней для надземной установки, вторые - для
подземной.
Вентили применяют в тех случаях, когда повышенной потерей давления
можно пренебречь, например, на импульсных линиях.
Пробковые краны имеют значительно меньшее гидравлическое
сопротивление, чем вентили. Их различают по затяжке конической пробки на
натяжные и сальниковые, а по методу присоединения к трубам - на муфтовые и
фланцевые.
Материалом для изготовления запорной арматуры служат: углеродистая
сталь, легированная сталь, серый и ковкий чугун, латунь и бронза.
Запорная арматура из серого чугуна применяется при рабочем
давлении газа не более 0,6 МПа. Стальная, латунная и бронзовая при давлении до
1,6 МПа. Рабочая температура для чугунной и бронзовой арматуры должна быть не
ниже - 35 С, для стальной не менее - 40 С.
На входе газа в ГРП следует применять стальную арматуру, или
арматуру из ковкого чугуна. На выходе из ГРП при низком давлении можно
применять арматуру из серого чугуна. Она дешевле стальной.
Условный диаметр задвижек в ГРП должен соответствовать диаметру
газопроводов на входе и выходе газа. Условный диаметр вентилей и кранов на
импульсных линиях ГРП или ГРУ рекомендуется выбирать равным 20 мм или 15 мм.
3.
Организационно-технологический раздел
3.1
Работы, проводимые при техническом обслуживании ГРП
3.1.1
Технический осмотр
Периодичность проведения технического осмотра ГРП должна
устанавливаться эксплуатационной организацией самостоятельно с учетом
обеспечения условий их безопасной эксплуатации, но не реже одного раза в месяц
для ГРП, размещенных в зданиях и в блоках контейнерного типа.
Проверка перепада давления на фильтре вновь введенных в
эксплуатацию ГРП в течение первых двух недель эксплуатации производить
ежедневно.
При техническом осмотре ГРП должны выполняться следующие виды
работ:
- внешний и внутренний осмотр здания (блоков
контейнерного типа) или шкафа;
- проверка состояния окраски шкафов,
ограждений, газопроводов обвязки и технических устройств;
- внешний осмотр газопроводов и технических
устройств, очистка их от загрязнений;
- проверка положения регулировочных
элементов защитной и предохранительной арматуры;
- внешний осмотр систем
инженерно-технического обеспечения (отопление, вентиляция, электроснабжение и
молниезащита);
- выявление утечек газа из разъемных
соединений прибором или пенообразующим раствором;
- проверка соответствия режимной карте
давления газа на выходе из пункта редуцирования газа;
- проверка перепада давления на фильтре;
- проверка наличия пломб на запорной
арматуре байпаса счетчика и счетном механизме;
- внешний осмотр средств измерений и
контроль сроков проведения их поверки;
- проверка температуры воздуха в помещении
(в отопительный период, при наличии отопительного оборудования);
- проверка состояния и очистка от
посторонних предметов прилегающей территории.
Результаты технического осмотра должны быть оформлены
записями в журнале проведения технического осмотра ГРП. При выявлении
необходимости устранения дефектов технических устройств, замены средств
измерений, ремонта здания или систем инженерно-технического обеспечения должны
быть приняты меры по организации соответствующих работ.
3.1.2
Техническое обслуживание
Техническое обслуживание газорегуляторных пунктов (ГРП,
размеченный в здании и имеющий собственные ограждающие конструкции) должно
производиться не реже одного раза в шесть месяцев.
Периодичность технического обслуживания других ГРП должна
устанавливаться в соответствии с документацией изготовителей, при отсутствии
установленных изготовителями требований, техническое обслуживание должно
проводиться в сроки, обеспечивающие безопасность их эксплуатации, но не реже:
- одного раза в шесть месяцев - при
пропускной способности регулятора давления свыше 50 м3/ч;
- одного раза в год - при пропускной
способности регулятора давления до 50 м3/ч.
Внеплановое техническое обслуживание отдельных технических устройств ГРП должно
проводиться по истечении среднего срока службы, установленного изготовителем.
При техническом обслуживании технологического оборудования
ГРП должны выполняться следующие виды работ:
- работы, выполняемые при техническом
осмотре;
- устранение утечек газа из разъемных
соединений технических устройств;
- осмотр фильтра и (при необходимости)
очистка фильтрующего элемента;
- проверка соответствия параметров настройки
предохранительной и защитной арматуры режимной карте;
- смазка подвижных элементов запорной
арматуры (без разборки);
- проверка работоспособности запорной
арматуры;
- проверка уровня заправки счетчика маслом,
смазка счетного механизма и заливка масла (при необходимости), промывка
счетчика (при необходимости);
- проверка работоспособности средств
измерений установкой стрелки на нулевое деление шкалы и (при необходимости) их
замена;
- очистка помещения и технических устройств
ГРП от загрязнений (при необходимости);
- устранение выявленных дефектов и
неисправностей.
Технические устройства с дефектами и неисправностями, не
позволяющими обеспечить герметичность закрытия или требуемые параметры
настройки рабочего режима ГРП, должны быть заменены исправными идентичными
техническими устройствами.
Результаты технического осмотра оформляются записями в
эксплуатационных журналах ГРП.
3.1.3
Текущий ремонт
Текущий ремонт технологического оборудования должен
производиться по результатам мониторинга технического состояния и проведения
технического обслуживания ГРП, но не реже одного раза в три года, если иное не
установлено изготовителем оборудования. При эксплуатации оборудования свыше
среднего срока службы, установленного изготовителем, текущий ремонт
производится ежегодно.
При текущем ремонте должны выполняться следующие виды работ:
- замена изношенных деталей технических
устройств;
- устранение повреждений газопроводов
обвязки технологического оборудования;
- восстановление окраски шкафов ГРП,
ограждений, газопроводов обвязки и технических устройств.
Внеплановый текущий ремонт должен производиться при
возникновении инцидентов (нарушений режимов работы или работоспособности
технических устройств) в процессе эксплуатации ГРП.
Сведения о текущем ремонте должны быть оформлены записями в
эксплуатационных журналах ГРП.
3.1.4
Капитальный ремонт
Капитальный ремонт должен производиться в сроки,
установленные изготовителем.
Внеплановый капитальный ремонт может производиться при
необходимости на основании дефектных ведомостей, составленных по результатам
мониторинга технического состояния, технического обслуживания и текущего
ремонта ГРП.
При капитальном ремонте должны выполняться следующие виды
работ:
замена неисправных технических устройств;
замена изношенных технических устройств с истекшим сроком
эксплуатации;
замена узлов учета, газопроводов обвязки, ограждений и шкафов
ГРП.
Сведения о капитальном ремонте должны быть оформлены записями
в эксплуатационных паспортах ГРП. В технологические схемы ГРП по результатам
проведения капитального ремонта должны вноситься соответствующие изменения.
3.1.5
Остановка ГРП
ГРП останавливают как для плановых работ (например, текущий
рем в основном при отсутствии байпаса, так и при аварийных ситуациях (напри
утечка газа). Остановка ПРГ производится в следующей последовательности:
- открыть кран к выходному манометру;
- вывернуть стакан пилота. На закальцованных
ГРП убедиться устойчивой закальцовке;
- закрыть входную запорную арматуру, вывести
из зацепления рычаги клапана защитной арматуры (ПЗК), закрыть клапан ПЗК
(опустить его седло);
- закрыть выходную запорную арматуру, краны
на импульса; регулятору давления и ПЗК;
- стравить газ через продувочные свечи;
- установить заглушки (поворотные или
инвентарные) после входной перед выходной запорной арматурой. Если запорные
арматуры обеспечив герметичность перекрытия, то заглушки можно не
устанавливать.
3.2
Контроль работы узлов ГРП
Контроль узлов ГРП проверяется выполнением следующих
операций:
- проверка настройки рабочих параметров
технологического оборудования;
- осмотром мест присоединения компонентов к
линии редуцирования;
- осмотром мест присоединения дифманометров,
показывающих манометров и индикаторов;
- наличием отметок о поверке манометров и
индикаторов;
- внешним осмотром общего состояния
технологического оборудования отсутствие механических повреждений;
- проведение контрольной опрессовки.
- проверка герметичности разъемных и сварных
соединений основной и резервной линии прибором или пенообразующим раствором при
рабочем давлении газа;
3.2.1
Контрольная опрессовка
Перед пуском необходимо осмотреть оборудование и газопроводы,
убедиться в укомплектованности оборудования, исправности манометров, проверить
наличие средств пожаротушения, состояние отопления, освещения. Далее необходимо
подготовить ГРП к контрольной опрессовке:
- проверить закрытие запорной арматуры до и
после ГРП, установку инвентарных заглушек после входной и перед выходной
запорной арматурой. Поворотные или инвентарные заглушки должны устанавливаться
на фланцевых соединениях после первой и перед последней запорной арматурой на
границах отключенного участка. Заглушки должны соответствовать максимальному
давлению газа;
- закрыть краны (отключающие устройства) на
продувочных свечах, перед предохранительной арматурой, перед жидкостным
манометром, манометрами низкого давления и датчиками давления установленных на
газопроводах низкого давления, на импульсах к редукционной арматуре (регулятор
давления) и защитной арматуре;
- открыть все остальные отключающие
устройства в ГРП, открыть клапан защитной арматуры.
Далее подается воздух (или инертный газ) в газопроводы и
оборудования под давлением 0,01 МПа, ведется наблюдение за манометром, в
течение одного часа. Падение давления по окончании опрессовки не должно превышать
0,0006 МПа. Если падение давления превысит это значение, необходимо найти и
устранить утечки, после чего произвести повторную опрессовку.
После опрессовки необходимо стравить воздух из газопроводов
ГРП и закрыть краны на продувочных свечах, завернув пробку и т.д.
3.2.3
Техническое обслуживание запорной арматуры
В объеме технического обслуживания проводятся следующие
работы:
- мелкий ремонт арматуры, не требующий
специальной остановки
- визуальная проверка состояния всех частей
запорной арматуры, включая смазки в подшипниках и редукторе, ее пополнение;
- проверка срабатывания конечных
выключателей, их ревизия;
- проверка герметичности сальникового
уплотнения и фланцевых соединений.
Операция по ремонту сальниковых уплотнений выполняется
согласно инструкции по эксплуатации завода-изготовителя.
Для обеспечения герметичности фланцевых соединений запорной
арматуры необходимо два раза в год (весной и осенью) производить обтягивание
фланцевых соединений, при обнаружении течи во фланцевом соединении производится
равномерная обтяжка болтов и гаек; если умеренная обтяжка фланцев не дает
положительных результатов и утечка продолжается, производится замена прокладки
согласно инструкции.
Перед обтяжкой фланцевого соединения (корпуса и крышки)
клиновых задвижек необходимо приоткрывать клин во избежание повреждения
резьбовой втулки.
Обтяжка фланцевых соединений запорной арматуры должна
проводиться при давлении сниженном до безопасного уровня в нефтепроводе или на
отключенном участке нефтепровода.
При текущем ремонте производятся все операции технического
обслуживания, а также:
для клиновых или шиберных задвижек - удаление воздуха из
задвижки: подготовка необходимых ремонтных приспособлений, транспортных и
подъемных механизмов; снятие редуктора с электроприводом, разборка редуктора и
электропривода, очистка и промывка деталей, дефектация, замена изношенных
деталей, смазка редуктора и механической части электропривода, их сборка;
проверка и подтяжка контактных соединений электропривода, восстановление
изоляции выходных концов проводов, проверка состояния уплотнителей взрывозащиты
шарикоподшипников электродвигателя, правильность посадки крыльчатки вентилятора
электродвигателя, замена дефектных деталей электродвигателя; проверка состояния
подшипникового узла штока задвижки после его фиксации, определение степени
износа резьбовой втулки штока (в случае чрезмерного износа ее замена):
устранение следов коррозии штока, задиров; замена сальников, нажимной втулки,
при необходимости; прогонка шпинделя по гайке на всю рабочую длину; подтяжка
шпилек разъема корпуса, полная сборка и установка электропривода на задвижку;
регулировка конечных выключателей на открытие и закрытие, муфты ограничение
крутящего момента на отключение по допустимым значениям.
Текущий ремонт запорной арматуры осуществляется без ее
демонтажа.
Данные о проведенном техническом обслуживании и текущем
ремонте заносятся в журнал профилактических осмотров и ремонтов лицом,
ответственным за исправное состояние объекта. Журнал хранится у лица,
ответственного за исправное состояние объекта.
Капитальный ремонт запорной арматуры осуществляется с ее
демонтажем. Демонтаж подлежащих капитальному ремонту задвижек, обратных
клапанов производится согласно графику.
При капитальном ремонте производятся все операции текущего
ремонта, а также: полная разборка и дефектация всех деталей и узлов, их
восстановление или замена пришедших в негодность в результате коррозии,
чрезмерного механического износа узлов и базовых деталей запорной арматуры.
После капитального ремонта арматура подвергается испытаниям
на прочность и плотность материалов и сварных швов, герметичность по отношению
к внешней среде, герметичность затвора и работоспособность в соответствии с
требованиями ГОСТ 5762-74Е и нормативно-технической документации на капитальный
ремонт запорной арматуры.
Испытание на прочность и плотность материала задвижки в сборе
проводится при открытом затворе и заглушенных. Испытания на прочность и
плотность проводятся при постоянном давлении в течение времени, необходимого
для осмотра задвижки. Пропуск среды и потение сквозь металл и сварные швы не
допускаются.
Проверяется герметичность верхнего уплотнения крышка-шпиндель
при ослабленных креплениях сальникового уплотнения и полностью поднятом
шпинделе задвижки. Проверяется герметичность сальникового уплотнения и
прокладки между крышкой и корпусом. Протечки среды не допускаются. Метод
контроля визуальный.
3.3
Охрана труда
3.3.1
Общие положения
К работам допускаются лица не моложе 18 лет, обученные
методам выполнения газоопасных работ, пользования средствами индивидуальной
защиты, оказания доврачебной помощи пострадавшим и прошедшие проверку знаний
безопасных методов и приемов выполнения работ в объеме соответствующих
производственных инструкций, прошедшие стажировку в течение 10 рабочих смен и
допущенные приказом по филиалу Общества.
Слесарь несет персональную ответственность за качество
выполняемых работ и нарушение требований производственных инструкций, техники
безопасности.
Работы должны проводиться при выполнении технического
обслуживания технологического оборудования ГРП, а также после ремонта
технологического оборудования в дневное время.
Газоопасные работы должны выполняться бригадой в составе не
менее двух рабочих под руководством специалиста. Все распоряжения при
проведении газоопасной работы должны выдаваться лицом, ответственным за работу.
Другие должностные лица и руководители, присутствующие при проведении работы,
могут давать указания только через лицо, ответственное за проведение работ.
До начала газоопасных работ ответственный за их проведение
обязан проинструктировать всех рабочих о технологической последовательности
операций и необходимых мерах безопасности. После этого каждый работник,
получивший инструктаж, должен расписаться в наряде-допуске.
До начала выполнения работ в помещении ГРП должна быть
обеспечена проверка загазованности газоанализатором. Выполнение работ в
помещениях при концентрации газа свыше 1% не допускается. При производстве
работ усиленно проветривается помещение
При ремонтных работах в загазованной среде следует применять
инструмент из цветного металла, исключающий искрообразование. Рабочая часть
инструмента из черного металла должна обильно смазываться солидолом или другой
аналогичной смазкой.
При выполнении газоопасных работ следует использовать
переносные светильники во взрывозащищенном исполнении напряжением 12В.
Использование электрических инструментов, дающих искрение, не
допускается.
Обувь у лиц, выполняющих газоопасные работы в помещениях ГРП,
не должна иметь стальных подковок и гвоздей.
3.3.2
Требования безопасности перед началом работы
Перед началом работ производится инструктаж о
последовательности выполнения предстоящих работ:
- Проверка комплектности и исправности
инструмента.
- Проверка индивидуальных средств зашиты.
- Проверка помещения газорегуляторного
пункта.
- Проверка отсутствия опасной концентрации
газа приборами ШИ-10 или ЭТХ-1.
3.3.3
Требования безопасности во время работы
Во время выполнения ремонтных работ в помещении
газорегуляторного пункта организован непрерывный надзор с улицы в открытую дверь.
Для этой цели из бригады рабочих назначается дежурный, в обязанности которого
входит: неотлучно находиться у входа в помещение газорегуляторного пункта,
держат связь с работающими в помещении и наблюдает за их состоянием.
При вскрытии фильтра кассета с фильтрующей массой с целью
исключения воспламенения необходимо немедленно выносится из помещения и
разборка кассеты производится вне помещения.
Плотность на фланцевых и резьбовых соединениях и арматуре
проверяется мыльной эмульсией. В случае обнаружения утечек газа определяется
место утечки и принимаются меры по их немедленному устранению. При обнаружении
утечек газа на соединениях и сальных задвижек на газопроводах среднего и
высокого давления в газорегуляторном пункте давления газа в ремонтируемых участках
газопроводов, предварительно снижается до минимальных размеров, обеспечивающих
бесперебойную работу потребителей.
Проверку настройки и срабатывания предохранительных
устройств, (запорных и сбросных) производится не реже 1-го раза в два месяца.
Верхний предел настройки предохранительного запорного клапана
равен рабочему давление плюс 25% от рабочего давления, нижний предел настройки
60мм в. ст.
Сбросные предохранительные клапана настроены на срабатывание
плюс 15% от рабочего давления.
Переход на газоснабжение потребителей через линию байпаса
производится только на период, необходимый для ремонта арматуры или газового
оборудования газорегуляторного пункта.
При работе через байпас под особым контролем должно
находиться регулирование давления газа на выходе из газорегуляторного пункта.
Во время выполнения профилактических работ газорегуляторного
пункта в отопительный период проверяется работа АГВ и системы отопления:
- исправность системы автоматики.
- наличие тяги в дымоходах и вентиканалах.
- отсутствие утечек газа.
- нормальная работа горелки.
- наличие воды в системе отопления.
- работа насоса.
- отсутствие утечек газа из системы.
- поддерживать температуру в помещениях не
ниже плюс 5 градусов.
Работы по ремонту электрооборудования, смены электроламп,
производятся только при снятом напряжении. Применять только переносные
светильники только во взрывоопасном исполнении.
Хранение в помещении ГРП обтирочных и горючие материалов
запрещается.
Снаружи газорегуляторного пункта, на видном месте имеются
предупредительные надписи "Огнеопасно".
3.3.5
Требования безопасности в аварийных ситуациях
После срабатывания предохранительного клапана,
газорегуляторного пункта работа производится только после обнаружения и
устранения неисправностей.
При срабатывании предохранительно-сбросного клапана (ПСК) или
гидрозатвора, проверяется выходное давление.
Разборка газового оборудования, арматуры, фланцевых и
резьбовых соединений на газопроводах находящихся под давлением запрещается.
Для аварийной остановки газорегуляторного пункта необходимо
сначала вывести из зацепления рычаг предохранительно-запорного клапана, а затем
поочерёдно закрыть входную и выходную задвижку.
Действия по оказанию первой помощи.
Основными условиями успеха при оказании доврачебной помощи
пострадавшим от электрического тока и при всех несчастных случаях, является
быстрота и правильность действия.
Искусственное дыхание проводится в тех случаях когда
пострадавший дышит очень плохо или совсем не дышит.
В настоящее время рекомендуется проводить искусственное
дыхание способом "изо рта в рот" или "изо рта в нос", т.к.
при этом обеспечивается значительно больший объём воздуха вдуваемого в лёгкие
пострадавшему. Для оказания первой помощи при ранении необходимо вскрыть
имеющийся в аптечке индивидуальный пакет" в соответствии с постановлением
напечатанным на его обороте.
При наличии повязки не следует касаться руками той части,
которая будет положена непосредственно на рану.
Для остановки кровотечения необходимо: поднять раненную
конечность, закрыть кровоточащую рану перевязочным материалом из пакета,
сложенного в комочек и придавить сверху, не касаясь пальцами самой раны и в
таком положении, не отпуская пальцев держать 4-5 минут.
При сильном кровотечении, если его невозможно остановить
давящей повязкой следует сдавить кровеносные сосуды. Во всех случаях при
большом кровотечении необходимо срочно вызвать врача и указать ему точное время
наложения жгута.
Самым главным моментом в оказании доврачебной помощи, как при
открытом, так и при закрытом переломах является иммобилизация повреждённой
конечности. Это значительно уменьшает боль и предотвращает дальнейшее смещение
костных обломков. Для иммобилизации используются готовые шины, также палка
доска, линейка. При закрытом переломе не следует. снимать с пострадавшего
одежду - шину нужно накладывать поверх неё. К месту травмы необходимо подкладывать
холод (резиновый пузырь со льдом).
При несчастном случае необходимо не только немедленно
оказывать перовую помощь пострадавшему, но быстро и правильно доставить его в
ближайшее лечебное учреждение.
При поднимании, переноске и перевозке пострадавшего, нужно
следить, чтобы он находился в удобном положении и не трясти его.
При переноске на руках оказывающие помощь должны идти в ногу,
поднимать и класть пострадавшего на носилки необходимо согласовано.
3.3.6
Требования безопасности по окончании работ
После окончания работ все обтирочные у смазочные материалы из
газорегуляторного пункта и шкафного регуляторного пункта
удаляются.
Проверяется комплектность инструмента и средств защиты и
производится сбор.
Убирается рабочее место.
При движении на транспорте соблюдать правила дорожного
движения.
4.
Экономическая часть
4.1
Краткая характеристика ОАО "Газпром газораспределение Уфа" в г.
Октябрьском
4.1.1
Организационно-управленческая структура
Филиал "Газпром газораспределение Уфа" в г.
Октябрьском. Юридический адрес: 452606, республика Башкортостан, г.
Октябрьский, ул. Северная, 5.
"Газпром газораспределение Уфа" в г. Октябрьском
является коммерческой организацией, созданной в соответствии с Гражданским
кодексом Российской Федерации и Федеральным законом "Об обществах с
ограниченной ответственностью".
"Газпром газораспределение Уфа" в г. Октябрьском
был открыт 10 октября 2010 года.
Основными видами деятельности "Газпром газораспределение
Уфа" в г. Октябрьском являются:
- выдача технических
условий на присоединение к сети газораспределения,
- выполнение проектных
работ на газификацию,
- выполнение
строительно-монтажных работ,
- поставка газового
оборудования и материалов,
- монтаж (замена)
газоиспользующего оборудования,
- проверка качества
изоляции, контроль качества сварных соединений,
- ведение строительного
контроля строительства газопроводов и сооружений на них,
- проведение инструктажа по
безопасному пользованию газом,
- врезка построенного
газопровода в действующие сети газоснабжения,
- пуск газа в газоиспользующее
оборудование,
- техническое обслуживание
и заявочный ремонт газопроводов и газового оборудования.
Организационно-управленческая структура
предприятия - состоит из подразделений, уровней управления, взятые в единство и
логическом соотношении между собой, также структура устанавливает
взаимоотношения уровней управления и функциональных подразделений, которые
позволяют наиболее эффективно достигать целей организации.
Организационно-управленческая структура "Газпром газораспределение Уфа"
в г. Октябрьском представлена на рисунке 15.
Рисунок 15 - Схема ОУС "Газпром газораспределение Уфа" в
г. Октябрьском.
Организационно-управленческая структура "Газпром
газораспределение Уфа" в г. Октябрьском - линейная. Достоинствами
линейного типа ОУС являются:
- единство и четкость распорядительства;
- разграничение ответственности
- согласованность действий исполнителей;
- повышение ответственности руководителя за
результаты деятельности возглавляемого им подразделения;
- оперативность в принятии решений;
- получение исполнителями увязанных между
собой распоряжений и заданий, обеспеченных ресурсами;
- личная ответственность руководителя за
конечные результаты деятельности своего подразделения.
Недостатками линейного типа ОУС являются:
- высокие требования к руководителю, который
должен иметь обширные разносторонние знания и опыт по всем функциям управления
и сферам деятельности, осуществляемым подчиненными ему работниками, что, в свою
очередь, ограничивает масштабы возглавляемого подразделения и возможности
руководителя по эффективному управлению им;
- большая перегрузка информацией, огромный
поток бумаг, множественность контактов с подчиненными, вышестоящими и смежными
организациями.
Далее приведены основные должностные и функциональные
обязанности служб и подразделений:
Руководство "Газпром газораспределение Уфа" в г.
Октябрьском осуществляется директором. Он осуществляет оперативное руководство
с деятельностью общества, имеет право первой подписи финансовых документов,
распределяет обязанности между заместителями, устанавливает степень
ответственности заместителей и руководителей структурных подразделений за
состоянием дел на порученных участках работ.
В подчинении директора находится:
- Глав. Инженер,
- Глав. Бухгалтер,
- ФЭО (финансово-экономический отдел),
- Зам. Директора по капитальному
строительству, снабжению и общим вопросам.
В целях обеспечения охраны труда на предприятии принимаются
меры к тому, чтобы труд работающих был безопасным. В рамках обеспечения охраны
труда на предприятии "Газпром газораспределение Уфа" в г. Октябрьском
постоянно проводят следующие мероприятия:
- улучшение условий работы: обеспечение
достаточной освещенности, хорошей вентиляции, отсосов пыли от мест обработки,
своевременное удаление отходов производства, поддержание нормальной температуры
в цехах, на рабочих местах и у теплоизлучающих агрегатов;
- организованное ознакомление всех
поступающих на работу с правилами поведения на территории предприятия и
основными правилами техники безопасности, систематическое обучение и проверка
знания работающими правил безопасной работы;
- обеспечение работающих инструкциями по
технике безопасности, а рабочих участков плакатами, наглядно показывающими
опасные места на производстве и меры, предотвращающие несчастные случаи.
- Эффективностью управления "Газпром
газораспределение Уфа" в г. Октябрьском является постоянное создание
благоприятных условий для достижения производственным коллективом поставленных
целей в кратчайший срок при наивысших качественных и количественных показателях
и наименьших затратах ресурсов.
4.1.2
Финансово-экономические показатели ОАО "Газпром газораспределение
Уфа" в г. Октябрьском
Финансово-экономические показатели работы предприятия - это
совокупностьпоказателей, которые отражают общее состояние дел предприятия в
различных сферах. Каждый показатель в отдельности характеризует одно из
направлений его внутренней или внешней деятельности.
Необходимость проведения анализа финансово-экономических
показателей работы предприятия, приведенных в таблице 2, заключается в
выявлении преимуществ и недостатков различных подходов к построению системы
управления, позволит сделать правильный выбор в пользу конкретных улучшений
производства, учитывая при этом состояние рынка и стратегию предприятия.
Таблица 2 - Финансово-экономические показатели ОАО
"Газпром газораспределение Уфа" в г. Октябрьском.
|
Наименование
показателей
|
Период
|
Отклонение
(+,-)
|
|
2012 г.
|
2013 г.
|
абсолют.
|
относит.,
|
|
1. Основные
средства, тыс. руб.
|
154 246
|
150 938
|
4
|
-2,15
|
|
в том числе:
|
|
здания, тыс.
руб.
|
14684
|
14632
|
-52
|
-0,35
|
|
сооружения и
передаточные устройства, тыс. руб.
|
126044
|
123840
|
-2204
|
-1,75
|
|
машины и
оборудование, тыс. руб.
|
9719
|
9246
|
-473
|
-4,87
|
|
транспортные
средства, тыс. руб.
|
3066
|
2446
|
-620
|
-20,2
|
|
производственный
и хозяйственный инвентарь, тыс. руб.
|
388
|
429
|
41
|
10,57
|
|
др. виды
основных средств-, тыс. руб.
|
345
|
345
|
0
|
0
|
|
2.
Незавершенное строительство, тыс. руб.
|
1821
|
572
|
-1249
|
-68,6
|
|
в том числе:
|
|
незавершенное
строительство газовых сетей, тыс. руб.
|
1584
|
543
|
-1041
|
-65,7
|
|
незавершенное
строительство производственных баз, тыс. руб.
|
237
|
29
|
-208
|
-87,8
|
|
3. Дебиторская
задолженность (платежи по которой ожидаются в течение года), тыс. руб.
|
125542
|
116092
|
-9450
|
-7,53
|
|
4. Денежные
средства, тыс. руб.
|
221
|
178
|
-43
|
-19,5
|
|
5. Кредиторская
задолженность, тыс. руб.
|
120907
|
167566
|
46659
|
+.38,591
|
|
6. Выручка по
основным видам деятельности, тыс. руб.
|
98565
|
89462
|
-9103
|
-9,24
|
|
в том числе от:
|
|
|
|
|
|
услуг по
транспортировки сетевого газа, тыс. руб.
|
38954
|
33509
|
-5445
|
-14
|
|
продаж сжиженного
газа, тыс. руб.
|
13628
|
11915
|
-1713
|
-12,6
|
|
прочих видов
деятельности, тыс. руб.
|
45983
|
44038
|
-1945
|
-4,23
|
|
7.
Себестоимость проданных товаров, работ и услуг, тыс. руб.
|
140509
|
129072
|
-11437
|
-8,14
|
|
в том числе:
|
|
|
|
|
|
услуг по
транспортировки сетевого газа, тыс. руб.
|
91972
|
80896
|
-11076
|
-12
|
|
продаж
сжиженного газа, тыс. руб.
|
16385
|
13569
|
-2816
|
-17,2
|
|
прочих видов
деятельности, тыс. руб
|
32152
|
34607
|
2455
|
7,636
|
|
8. Валовая
прибыль, тыс. руб.
|
-61966
|
-39610
|
2336
|
-5,57
|
|
9. Прибыль от
продаж по основным Видам деятельности, тыс. руб.
|
-66983
|
-61177
|
3806
|
-5,86
|
|
10. Прочие
доходы, тыс. руб.
|
3161
|
2692
|
-669
|
-16,3
|
|
11 Прочие
расходы, тыс. руб.
|
9130
|
6252
|
-2878
|
-31,5
|
|
12. Прибыль до
налогообложения, тыс. руб.
|
-70972
|
-66737
|
6235
|
-8,79
|
|
13. Отложенные
налоговые активы, тыс. руб.
|
865
|
5
|
-860
|
-99,6
|
|
14. Отложенные
налоговые обязательства, тыс. руб.
|
769
|
311
|
-658
|
-59,6
|
|
15. Текущий
налог на прибыль, тыс. руб.
|
-11687
|
-10997
|
690
|
-5,91
|
|
16. Отвлеченные
средства, тыс. руб.
|
69
|
11
|
-38
|
-77,6
|
|
17. Чистая
прибыль отчетного периода, тыс. руб.
|
-59258
|
-56057
|
5201
|
-8,78
|
В отчетном периоде произошло сокращение основных средств,
которое дает основание говорить об отсутствии разбития производственно -
технической базы организации. Число объектов незавершенного строительства
сократилось б разы, что является положительным показателем. В 2013 году
кредиторская задолженность увеличилась, а принимая во внимание тот факт, что
возможные выплаты по дебиторской задолженности никак не покроют займы, можно
сказать об опасном финансовом состоянии предприятия. Положительно уменьшение
отложенных налоговых обязательств. Убыточность деятельности предприятия
сохраняется, судя по показателю чистой прибыли в 2013 году, но идут мероприятия
по улучшению. Положительную тенденцию можно отметить на основе уменьшения
отрицательного показателя чистой прибыли и снижения себестоимости проданных
товаров и услуг в отчетном периоде.
4.2
Обслуживание ГРП
Обслуживанием ГРП занимается служба газовых сетей (СГС)
которая организует работы по обеспечению безопасной и безаварийной
эксплуатации, а также своевременного проведения технического обслуживания, и
планово-предупредительных работ ГРП, ГРПБ, ГРПШ, ГРУ, ПП, КБО, газопроводов и
сооружений на них.
Обслуживанием занимается бригада, которая состоит из:
слесарей ремонтников 4-го - 6-го разрядов, в количестве двух человек и мастера.
В обязанности слесаря ремонтника входят:
- контрольный осмотр подземных и надземных
газопроводов, находящихся на балансе (в ведении) ТЭС;
- проверка плотности всех соединений
газопроводов и арматуры на них (отысканием мест утечек с помощью мыльной
эмульсии или приборным методом);
- осмотр и очистка газовых фильтров;
- проверка параметров срабатывания и
настройки предохранительных запорных и сбросных клапанов;
- смазка трущихся частей и перенабивка
сальников на газовом оборудовании и арматуры;
- проведение текущих и капитальных ремонтов
газового оборудования и газопроводов;
- выполнение такелажных работ с применением
подъемно-транспортных механизмов и специальных приспособлений;
- слесарная обработка деталей и узлов по
6-10 квалитетам (1-3 класс точности);
- проведение газоопасных и
аварийно-восстановительных работ на действующих газопроводах высокого и
среднего давления;
- проведение контрольной опрессовки
газопроводов перед пуском газа;
- разборка, ремонт, сборка, регулировка и
наладка узлов газового оборудования, регулирующей, предохранительно-сбросной и
запорной арматуры ГРП;
- наладка и ремонт вентиляции и отопления
ГРП;
- выявление дефектов во время эксплуатации
оборудования и устранение дефектов в процессе ремонта и испытаний;
- снятие и установка заглушек на
газопроводах и газовом оборудовании;
- проверка загазованности помещений ГРП;
- пуск газа в систему газоснабжения в
составе бригады после ремонта или консервации системы газоснабжения или отдельных
ее узлов.
В обязанность мастера входят:
- обеспечивать выполнения производственных
заданий по техническому обслуживанию и плановым ремонтом оборудования системы
газоснабжения в соответствии с утвержденными планами и графиками объема работ;
- подготавливать наряды-допуски на
производство газоопасных работ;
- осуществлять непосредственное руководство
и обеспечение безопасности при производстве газоопасных работ и ликвидации
аварий на газовом хозяйстве предприятия;
- осуществлять контроль за качеством
выполняемых работ при проведении регламентированного технического обслуживания
и плановых ремонтов оборудования системы газоснабжения;
- обеспечивать производство работ
необходимыми материалами, оборудованием, инструментом, спецодеждой, средствами
индивидуальной защиты;
- производить инструктажи рабочим по
безопасности труда перед началом газоопасных работ, а также проводить повторный
и внеплановые инструктажи с регистрацией в журнале, разъяснять условия
производства газоопасных работ;
- осуществлять контроль за проведением
своевременных испытаний средств индивидуальной защиты. Вести учет проведения
испытаний;
- обеспечивать соблюдение рабочими трудовой
и производственной дисциплины;
- вести документацию по техническому
обслуживанию и ремонту оборудования системы газоснабжения;
- осуществлять контроль за техническим
состоянием и безопасной эксплуатацией оборудования системы газоснабжения,
составлять ведомости дефектов газового оборудования;
- владеть техникой применения средств
индивидуальной и групповой защиты при выполнении газоопасных работ. Знать и
уметь применять способы оказания первой помощи пострадавшим;
- разрабатывать и пересматривать в требуемые
сроки маршрутные карты обхода газопроводов и перечень газоопасных работ,
выполняемых без руководства специалистами и без оформления наряда-допуска;
- участвовать в разработке (совместно с
другими подразделениями) технологических карт ремонта запорной, регулирующей и
предохранительной арматуры;
- составлять годовой план-график
технического обслуживания и ремонтов оборудования системы газоснабжения до 15
декабря текущего года на последующий год;
- обеспечивать технический надзор и контроль
за производством работ, выполняемых в газовом хозяйстве предприятия подрядными
организациями, в т. ч. строительно-монтажными организациями на вновь строящихся
объектах;
- сообщать непосредственно руководителю
(начальнику газовой службы) или лицу, ответственному за безопасную эксплуатацию
газового хозяйства о всех недостатках и неисправностях в системе газоснабжения,
а также о принятых мерах по их устранению;
- контролировать и обеспечивать наличие в
газовой службе всех материально-технических средств, необходимых для выполнения
каждой позиции "Плана локализации и ликвидации аварий", обеспечивать
сохранность и исправность материально-технических средств.
Экономическая эффективность в эксплуатации ГРП заключается в
следующем: соблюдения планово-предупредительных работ (ППР) позволят избежать
не только аварийные ситуации, повлекшие за собой выход из строя ГРП, но и
избежать несчастные случаи со смертельным исходом (взрыв), срывы подачи газа
потребителям.
Выход из строя ГРП предусматривает следующие неисправности:
- Не герметичность резьбовых и фланцевых
соединений;
- Засорение газового фильтра;
- Износ комплектующих (задвижки, предохранительные
запорные клапана, регуляторов давления, и др.);
- Заедание составляющих.
Поэтому чтобы предотвратить данные неисправности необходимо
соблюдать графики ППР. Не соблюдение которых помимо выше изложенных ситуаций,
могут повлечь за собой непредусмотренные дополнительные затраты связанные с
восстановлением объекта в рабочее состояние и штрафные санкции до 500 000
рублей.
Заключение
Цель дипломного проекта заключалась в раскрытии темы
"Техническая эксплуатация ГРП". Для достижения результатов данной
работы, были приведены исследования в виде: назначения ГРП, его
комплектованности, неисправностей в процессе эксплуатации, работ проводимых при
обслуживании, а так же подбора оборудования для ГРП.
Детально рассмотрены элементы ГРП, описано устройство и назначение
его элементов. Представлено подробное описание процессов обслуживания ГРП и
видов его ремонта.
Экономическая эффективность в эксплуатации ГРП заключается в
безперебойной подаче газа потребителю, своевременном проведении графиков ППР,
предотвращающих безавариуйную эксплуатацию ГРП, которые позволяют избегать
предприятию выплаты по экологическим штрафам до 500 000 рублей согласно
нормативным документам, что в конечном итоге приводит к эффективной
деятельности предприятия.
В процессе написания дипломного проекта повысились и
расширились знания о газовой промышленности.
Список
литературы
1. Газовые
установки и сети, 1993 г., М. "Омега-Л", 2014, 137с.
2. Основы
газоснабжения, М. "Юрайт", 2013 г.
. Газорегуляторные
пункты и установки, "Недра", 1985г.
. Нормативные
документы
. Инструкция
по техническому обслуживанию и ремонту трубопроводной арматуры, 2013 г
. СТО
Газпром 2-2.2-115. Инструкция по сварке магистральных газопроводов, 2012 г.
. СТО
Газпром. Общие технические требования к трубопроводной арматуре, поставляемой
на объекты ОАО "Газпром", 2012 г.
. СТО
Газпром 2-1.19-297. Охрана окружающей среды на предприятиях ОАО
"Газпром", 2012 г.
. СТО
Газпром 2-4.1-273. Технические требования к соединительным деталям для объектов
ОАО "Газпром", 2011 г.
. Производственная
инструкция по установке и снятию заглушек на действующих газопроводах ОАО
"Газпром", 2011 г.