Аэродинамический расчет котельной установки
Содержание
Введение
. Теоретическая
часть
.
Аэродинамический расчёт воздушного тракта
.1.
Аксонометрическая схема воздушного тракта
.2. Расчёт потерь
давления в воздухопроводе
.3. Расчет
участка 1-2
.4. Расчет
участка 2-2′
.5. Расчёт
сопротивления воздухоподогревателя
.6. Расчет
участка 2′-3
.7. Расчет
участка 3-4
.8. Расчет
участка 4-5
.9. Сопротивление
горелочного устройства
.10. Выбор
дутьевого вентилятора
.11. Пересчет
участка 1-2
.12. Пересчет
участка 2-2'
.
Аэродинамический расчёт газового тракта
.1.
Аксонометрическая схема газового тракта
.2.
Аэродинамическое сопротивление котла
.3. Сопротивление
кипятильного пучка
.4.
Аэродинамическое сопротивление пароперегревателя
.5.
Аэродинамическое сопротивление водяного экономайзера
.6.
Аэродинамическое сопротивление воздухоподогревателя
.7.
Аэродинамическое сопротивление газоходов в тракте
.7.1. Расчет
участка 1-2
.7.2. Расчет
участка 3-4
.7.3. Расчет
участка 5-6
.7.4. Расчет
участка 7-8
.7.5. Расчет
участка 8-9
.8.
Аэродинамический расчёт дымовой трубы
.9. Выбор
дымососа
.10. Пересчет
участка 7-8
.11. Пересчет
участка 8-9
. Вывод
. Литература
Введение
В данной курсовой работе необходимо выполнить аэродинамический расчет
котельной установки. Для организации процесса горения котлоагрегаты оснащаются
тягодутьевыми устройствами: дутьевыми вентиляторами, подающими воздух в топку,
дымососами для удаления из котла дымовых газов, а также дымовой трубой.
Современные котлоагрегаты имеют индивидуальные дымососы и дутьевые вентиляторы.
Для того чтобы подобрать необходимые тягодутьевые устройства и выполняют
аэродинамический расчет котлоагрегата, который состоит из двух частей. Вначале
выполняется расчёт воздушного тракта котлоагрегата. Целью этого расчета
является подбор дутьевого вентилятора. Вторая часть включает в себя расчёт
газового тракта. Главной задачей этого расчета является подбор дымососа и
дымовой трубы. Все необходимые данные представлены в задании для выполнения
курсовой работы.
1.
Теоретическая часть
Аэродинамический
расчёт котельной установки - это расчет, в результате которого определяют
аэродинамические сопротивления газовоздушного тракта как установки в целом, так
и различных ее элементов. Нормальная работа котельной установки
<#"583760.files/image001.gif">м3/ч, и напор Нв, Па. Все
исходные данные (температура воздуха, живое сечение, средняя скорость и др.)
берутся из теплового расчета.
Производительность
вентилятора определяется по формуле:
, м3/ч
где β1 - коэффициент запаса по производительности; Vв - количество воздуха,
необходимое для подачи в топку котла, м3/ч,
,

м3/ч.
Тогда:
QВ= 
м3/ч.
Значения Вр, V0, αт, Δαт, Δβвп, tхв, β1, берутся из исходных данных.
Напор, развиваемый вентилятором, находится по формуле:
,
где β2
- коэффициент запаса по напору, β2 = 1,1; ΔРВ - аэродинамическое
сопротивление воздушного тракта котлоагрегата.
Расчёт ΔРВ, Па, ведётся в следующей последовательности:
составляется аксонометрическая схема воздушного тракта котлоагрегата от
воздухозаборного патрубка до самой последней горелки;
весь тракт разбивается на участки (на участках должен быть постоянный
расход и средняя скорость);
для каждого участка определяются потери давления от трения и от местных
сопротивлений;
найденная сумма потерь давления ΣΔP прибавляется к сопротивлению
горелочного устройства ΔРгор:
.
2.1 Аксонометрическая схема воздушного тракта
Рис. 1 Воздушный тракт
2.2
Расчёт потерь давления в воздухопроводе
Потери давления от трения:
, Па.
Потери давления от местных сопротивлений ΔРмс, Па, определяются по
формуле:
где λ - коэффициент трения, зависящий от числа Рейнольдса и
коэффициента шероховатости стенок канала kэ,
λ = 0,02 - для стальных труб;
l -
длина участка, м; Σξ - сумма коэффициентов местных
сопротивлений;
dэ - эквивалентный диаметр сечения
воздушного канала, м,
где F -- площадь живого сечения канала, м2;
П - периметр канала, м; ρ - плотность воздуха,
кг/м3,
,
где t - температура воздуха, °С;
ρо - плотность воздуха при нормальных условиях, кг/м3;
W -
скорость воздуха м/с.
где VВ - расход воздуха на данном участке, м3/ч; F - площадь поперечного сечения трубы,
м2.
2.3
Расчет участка 1-2
На участке 1-2 находятся: воздухозаборный патрубок, шибер, всасывающий
карман, а также диффузор (конфузор) для соединения трубы с карманом, который
направляет воздух в вентилятор.
Площадь поперечного сечения равна:

м2.
Соответственно полученной площади выбираем, согласно ГОСТ
24751-81, размеры и вид трубы:
Труба 1120 Х 1250 мм.
Площадь живого сечения равна:
F =
1,12 * 1, 25= 1,4 (м2).
Эквивалентный диаметр воздуховода равен:

(м).
Рассчитываем скорость воздуха в трубе:

(м/с).
Плотность холодного воздуха равна:
(кг/м3).
Динамический напор равен:

= 
119.105Па.
Рассчитываем потери от трения:
ΔРтр = 
=
20.187(Па).
Коэффициенты местных сопротивлений в воздухозаборном патрубке 0,3 и в
шибере 0,1
Чтобы определить коэффициент местного сопротивления соединения воздухопровода
с всасывающим карманом, необходимо знать размеры входного отверстия кармана,
которые зависят от диаметра выходного отверстия. Выход кармана непосредственно
соединяется с входным отверстием дутьевого вентилятора. Таким образом, следует
выбрать вентилятор, но для этого необходимо знать напор, который он будет
развивать в воздушном тракте. Напор вентилятора зависит от потерь давления на
всём воздушном тракте, поэтому, рассчитав потери давления на участках
воздушного тракта после вентилятора, определяем приближённое значение напора.
По этому значению напора и по значению расхода воздуха QB выбираем тип дутьевого вентилятора.
Затем, рассчитав потери давления в соединении трубы участка 1-2 с всасывающим
карманом и соединении трубы участка 2-2' с выходом вентилятора, вносим поправку
в значение создаваемого вентилятором напора. Если же такого напора вентилятор
создать не может, то необходимо выбрать другой вентилятор.
Тогда потери давления в воздухозаборном патрубке и шибере составят:
ΔРм.с .= 
47,642(Па).
Приближённые потери на участке:
ΔР1-2 = 20,187+ 47,642=
67,829(Па).
2.4 Расчет
участка 2-2′
Этот участок воздухопровода соединяет выходное отверстие вентилятора с
воздухоподогревателем. На данном участке расход и плотность воздуха остаются
такими же, как и на участке 1-2, т. е. VВ = 72070,713м3/ч. Если принять на участке размеры
воздуховода как на участке 1-2, т. е. 1120×1250мм, то останется неизменным скорость
воздуха и динамический напор.
Рассчитываем потери от трения:
(Па).
2.5
Расчёт сопротивления воздухоподогревателя
Воздухоподогреватель представляет собой пучок линейных труб. Дымовые газы
проходят внутри труб (снизу вверх или сверху вниз), которые снаружи омываются
нагреваемым воздухом. Расположение труб может быть как коридорного вида, так и
шахматного. Соответственно сопротивлением воздухоподогревателя будет являться
сопротивление поперечно омываемого коридорного или шахматного пучка труб.
При аэродинамическом расчёте выберем: количество Z1 = 47 и Z2 =77, шаг S1 = 78 мм и S2 = 48 мм труб в поперечном и
продольном сечениях соответственно, диаметр d = 42 мм, высота h = 2550 мм и толщина стенок s = 3 мм труб. Расположение труб в воздухоподогревателе - шахматное,
трубы- гладкие.
Ширина воздухоподогревателя равна:
(мм).
Длина воздухоподогревателя определяется по формуле:
(мм).
Коэффициент сопротивления гладкотрубного шахматного пучка определяется в
зависимости:
от относительного поперечного шага труб в пучке
;
от
коэффициента
,
где
-диагональный шаг труб, мм;
;
мм;
.
Сопротивление
шахматного пучка труб
, мм вод.ст., при
и 0,1
рассчитывается по формуле:
,
где
Сd-поправочный коэффициент, зависит от диаметра труб; СS
- поправочный коэффициент, зависти от относительных шагов труб
и
;
- графическое сопротивление одного ряда труб, зависит
от скорости и температуры потока.
При
d=42 мм коэффициент Cd=
0,93 .
При
=1,86 и
коэффициент
Cs= 1,08
Площадь живого сечения пучка равна:
м2
Средняя температура воздуха в воздухоподогревателе:
ºС.
Средний объем воздуха, проходимый через воздухоподогреватель,
равен:
;
, (м3/ч).
Скорость
воздуха в воздухоподогревателе равна:
(м/с).
По
скорости и средней температуре определяем
:
мм вод.ст.
Тогда:
мм вод.ст. = 383,925 Па.
Присоединение
трубы участка 2-2’ к воздухоподогревателю происходит с помощью резкого
расширения: начальное сечение 1120
1250 мм,
конечное- 3744
2550мм.
Коэффициент сопротивления при резком расширении прямого канала
определяется в зависимости от отношения меньшего сечения к большему:
.
Тогда:
Потери
давления при резком расширении:
Па.
Потеря
давления на участке составляет
Па.
2.6
Расчет участка 2′-3
Этот участок воздухопровода соединяет выход воздухоподогревателя с
трубопроводами, подающими подогретый воздух к горелкам. Объём подогретого
воздуха VВ, м3/ч, подаваемый в топку, определяется по
формуле:
,
где tпв - температура подогретого воздуха,
°С.

(м3/ч).
Площадь поперечного сечения равна:
(м/с).
Соответственно полученной площади выбираем по ГОСТу размеры и вид трубы:
Труба 2000 Х 1120 мм;
(м2);
(м);
Скорость воздуха в трубе:
(м/с).
Плотность подогретого воздуха равна:
(кг/м3).
Динамический напор равен:
(Па).
Рассчитываем потери от трения:
(Па).
Выход воздухоподогревателя соединяется с трубой участка посредством
пирамидального конфузора (3744х2550 мм → 2000х1120мм).
Коэффициент местного сопротивления пирамидального конфузора определяется
в зависимости от большего угла сужения α. Больший угол сужения будет при
уменьшении ширины воздухоподогревателя до ширины трубопровода:
;
.
Получаем
.
Так
как угол 20° < α
< 60°, то коэффициент местного сопротивления
конфузора ξ
= 0,1.
На
участке также находится поворот на угол 90°, коэффициент местного сопротивления
которого ξ
= 1.
Потери
давления в местных сопротивлениях составляют:
(Па).
Суммарная потеря давления на участке равна:
(Па).
2.7
Расчет участка 3-4
По расходу топлива определяем количество горелок, используемых в
котельной установке.
Для этого данный расход делим на производительность горелки по газу. Возьмём
горелку РГМГ-30, у которой производительность по газу равна 4060 м3/ч.
Тогда число горелок равно:
13000/4060 = 3,2
т. е. устанавливаем 4 горелки.
Для осуществления подвода воздуха к горелкам, в начале участка 3-4
поставим симметричный разделяющий тройник. Каждая ветка тройника направляет
поток воздуха к одной горелке. Поскольку ответвления к горелкам симметричные,
то для определения потерь давления на участке 3-4 достаточно вычислить потери в
одной ветке.
Для расчета разделим участок 3-4 на два: 1’- участок до ответвления
потока на первую горелку; 2’- участок после ответвления. Сопротивлением участка
3-4 будет суммарное сопротивление этих участков.
Участок 1’
Данный участок содержит поворот на угол 90о в симметричном
тройнике.
Так как в тройнике поток делится на две равные части, объем воздуха,
проходимый через участок, равен половине расхода на предыдущем участке:
(м3/ч).
Площадь
поперечного сечения
(м2).
Соответственно полученной площади выбираем, согласно ГОСТ24751-81,
размеры и вид трубы:
Труба
1120
1000 (мм);
(м2);
(м).
Рассчитываем скорость воздуха в трубе:
(м/с).
Плотность
подогретого воздуха равна
=0,616 (кг/м3).
Динамический
напор
, (Па).
Потери
давления от трения
, (Па).
Коэффициент
сопротивления при повороте в симметричном тройнике определяется так же, как при
боковом ответвлении в несимметричном тройнике при
,
где
Fc-площадь живого сечения трубы до ответвления; Fб-площади живого сечения бокового ответвления тройника;
FП-площадь
живого сечения трубы в проходе тройника.
При
равенстве скоростей до ответвления и в боковом ответвлении при ответвлении на
угол 90о коэффициент местного сопротивления
Потери
давления в местных сопротивлениях
, (Па).
Суммарные
потери давления на участке 1’ составляют
, (Па).
Участок 2’
На данном участке находится разделяющий несимметричный тройник, площадь
ответвления в котором равна площади прохода и соответственно объемы воздуха,
проходимые через проход и ответвление, равны.
Объем воздуха, проходимый через проход тройника ( участок 2’) и через
ответвление, равен
(м3/ч).
Площадь
поперечного сечения
(м2).
Соответственно
полученной площади выбираем, согласно ГОСТ24751-81, размеры и вид трубы: Труба
1000
560 (мм);
(м2);
(м).
Рассчитываем скорость воздуха в трубе:
(м/c).
Плотность
подогретого воздуха:
=0,616
(кг/м3).
Динамический
напор
, (Па).
Потери
давления от трения
, (Па).
Коэффициент
местного сопротивления в проходе тройника определяется в зависимости от
отношения скоростей после и до ответвления.
Следовательно
, (Па).
Суммарные
потери давления на участке 2’
, (Па).
Суммарное сопротивление участка 3-4 принимается равным:
, (Па).
2.8
Расчет участка 4-5
На данном участке происходит соединение воздухопровода с горелочными
устройствами.
Рассчитываем сопротивление воздухопроводов к каждой из горелок на одной
ветке участка 3-4, а затем, умножив на 4, получим потери на участке 4-5.
Подвод к первой горелке:
Данный подвод является ответвлением несимметричного тройника в начале
участка 3-4 (2’) под углом 45о, на котором также находятся поворот
на угол 45о и соединение а вводом в горелку.
Объем воздуха, проходящий через участок 4-5, равен
м3/ч.
площадь
поперечного сечения равна
м2.
Соответственно
полученной площади выбираем, согласно ГОСТ24751-81, размеры и вид трубы: Труба
1000
560 (мм);
(м2);
(м).
Рассчитываем скорость воздуха в трубе:
(м/c).
Плотность
подогретого воздуха:
=0,616
(кг/м3).
Динамический
напор
, (Па).
Потери
давления от трения
, (Па).
Коэффициент
местного сопротивления бокового ответвления тройника на угол 45о
определяется в зависимости от отношения скоростей после и до ответвления. При
их равенстве коэффициент местного сопротивления
.
Коэффициент
местного сопротивления поворота на угол 45о
.
В
конце участка 4-5 воздухопровод присоединяется к вводу в горелку размерами
1750Х1300 мм. Для подсоединения трубы 1000Х560 необходимо устанавливать и
диффузор.
Коэффициент
местного сопротивления диффузора рассчитывается по формуле:
где
φр -
коэффициент полноты удара, определяется в зависимости от угла раскрытия
диффузора , ξвых -
коэффициент сопротивления при внезапном расширении определяется в зависимости
от отношения меньшего сечения к большему:
Тогда
ξвых=0,65. =>
Угол
раскрытия α=2*arctg
0.25=28.08° По углу раскрытия α определяем,
что φр= 0,58
Потери
давления от местных сопротивлений составляют
Па.
Суммарные
потери давления на подводе к первой горелке составляют
Па.
Подвод
ко второй горелке:
На
данном участке воздухопровода находится поворот на угол 45о от
участка 3-4 (2’) и соединение трубы с вводом в горелку (
=0, т.к. одинаково поперечное сечение воздухопровода и
ввода в горелку).
Объем
воздуха, проходящий через данный участок, равен объему воздуха, проходящему на
участке 3-4 (2’), т.е. 29025,175 м3/ч. расчеты трубопровода остаются
неизменными по сравнению с участком 3-4 (2’), следовательно, остаются
неизменными скорость воздуха и динамический напор. Потери давления от трения
составляют
Па.
Коэффициент
местного сопротивления поворота на угол 45о
Потери
давления от местных сопротивлений составляют
Па.
Потери
давления в подводе ко второй горелке
Па.
Потери давления на участке 4-5 принимаются равными сопротивлению подвода
к первой горелке, умноженными на 4:
Па.
Приближенное значение потерь давления по воздушному тракту:
Па
2.9
Сопротивление горелочного устройства
Сопротивление горелочного устройства Δhгор, Па, рассчитывается по
формуле:
,
где W - скорость воздуха в горелке,
м/с,
(м/с).
где Fгор - площадь, по которой двигается
воздух в горелке,

(м2).
Динамический напор:
(Па).
Сопротивление горелки: Ƹ=3 для РГМГ-30
(Па).
2.10
Выбор дутьевого вентилятора
Аэродинамическое сопротивление воздушного тракта котлоагрегата примерно
равно:
(Па).
Напор, развиваемый вентилятором, равен:
(Па) = 302,549 (мм вод. ст.)
Используя производительность дутьевого вентилятора:
Qв= 75674,28 (м3/ч)
и напор Нв = 302,549 (мм вод.
ст.),
создаваемый им, по сводному графику характеристик выбираем вентилятор.
Выбираем дутьевой вентилятор ВДН-19 с частотой вращения 740 об/мин.
В таблице конструктивных характеристик вентилятора находим размеры
входного и выходного отверстий вентилятора: d = 1900 мм; а = 1235 мм; b = 670 мм. аэродинамический газовый тракт котельный
После выбора вентилятора рассчитываем потери давления на участках 1-2 и
2-2'. Пересчитав потери давления, находим истинное значение напора, который
должен создавать вентилятор.
2.11
Пересчет участка 1-2
Размеры входного отверстия кармана:
а = 1,8 ∙ dв = 1,8 ∙ 1900 =
3420 (мм);
b = 0,92 ∙ dв = 0,92 ∙ 1900 =
1748 (мм).
Трубопровод участка 1-2 присоединяется к карману с помощью диффузора
(1120х1250мм → 1748×3420 мм).
Коэффициент местного сопротивления пирамидального диффузора определяется
в зависимости от большего угла раскрытия диффузора и от отношения меньшего
сечения к большему. Больший угол раскрытия будет при увеличении стороны
трубопровода размером 1250 мм до стороны кармана размером 3420 мм.
Угол раскрытия α = 2arctg 0,36 = 39,596°.
По углу α находим φр=1,09.
Отношение меньшего сечения к большему равно:
.
Тогда ξвых = 0,675
.
Потери давления в диффузоре равны:
(Па).
Потери давления во всасывающем кармане рассчитываются по скорости потока
воздуха в кармане:
(м/с).
Коэффициент местных сопротивлений в кармане равен 0,1.
(Па).
Потери давления от местных сопротивлений на участке составляют:
(Па).
Суммарные потери на участке 1-2:
(Па).
2.12
Пересчет участка 2-2'
Труба соединяется с выходом вентилятора посредством резкого расширения
(670×1235
мм → 1120×1250
мм).
Коэффициент местного сопротивления при резком расширении трубы
определяется в зависимости от отношения площади меньшего сечения к большему:
.
Тогда коэффициент местного сопротивления резкого расширения ξвых = 0,2.
Потеря давления ΔР, Па, от местного сопротивления после вентилятора
определяется по формуле:
,
где W - скорость воздуха на выходе из
вентилятора.
Скорость воздуха на выходе из вентилятора
(м/с).
(Па).
Потери давления от местных сопротивлений на участке составляют:
(Па).
Суммарные потери на участке с учетом потерь в воздухоподогревателе:
(Па).
Пересчитав потери давления на участках 1-2 и 2-2', получаем истинное
значение потерь давления по воздушному тракту. Объединим полученные результаты
при расчёте потерь давления на всех участках в таблицу:
Таблица 1
|
Номер участка
|
Vв, м3/ч
|
l, м
|
a´b, мм
|
dэ, м
|
W, м/с
|
x
|
DRтр, Па
|
DRм.с, Па
|
DR, Па
|
|
1-2
|
72070,713
|
10
|
1120´1250
|
1,18
|
14,299
|
0,4
|
20,187
|
135,927
|
156,114
|
|
2-2’
|
72070,713
|
1120´1250
|
1,18
|
14.299
|
0,822
|
30,281
|
166,07
|
580,28
|
|
2’-3
|
116100,7
|
15
|
2000´1120
|
1,44
|
14,39
|
1,1
|
13,288
|
70,158
|
83,446
|
|
3-4
|
1’
|
58050,35
|
4,5
|
1120´1000
|
1,057
|
14,39
|
1,07
|
5,438
|
68,338
|
73,776
|
|
2’
|
29025,175
|
5,5
|
1000´560
|
0,718
|
14,39
|
0
|
9,77
|
0
|
9,77
|
|
4-5
|
1
|
29025,175
|
5
|
1000´560
|
0,718
|
14,39
|
1,147
|
8,883
|
73,153
|
81,986
|
|
2
|
29025,175
|
5
|
1000х560
|
0,718
|
14,39
|
1,147
|
8,883
|
73,153
|
81,986
|
Потери давления по всему воздушному тракту составляют:
(Па).
Напор, развиваемый вентилятором:
Используя производительность дутьевого вентилятора:
Qв= 75674,28 (м3/ч)
и напор Нв = 292,628 (мм вод. ст.),
создаваемый им, по графику аэродинамических характеристик дутьевого
вентилятор ВДН-19 с частотой вращения 740 об/мин находим значение КПД
вентилятора: η = 0,80.
Затрачиваемая вентилятором мощность Nв, кВт, рассчитывается по формуле:
,
где Qв - производительность вентилятора, м3/ч; Нв
-- напор, создаваемый вентилятором, Па;
(кВт).
3.
Аэродинамический расчёт газового тракта
Целью расчёта является подбор дымососа и дымовой трубы. Для подбора
дымососа необходимо знать его производительность Qд и создаваемое насосом давление Нд.
Производительность дымососа Qд, м3/ч,
определяется по формуле:
,
где β1
- коэффициент запаса по производительности: β1 = 1,05;
Vдг - объём дымовых газов, удаляемых
дымососом из котлоагрегата, м3/ч,
(м3).
Тогда производительность дымососа Qд равна:
(м3/ч).
Давление, создаваемое дымососом, определяется по формуле:
,
где β2
- коэффициент запаса по расходу, β2 = 1,1;
k2 - коэффициент, учитывающий отличия
условия работы дымососа от условий, для которых составлена аэродинамическая
характеристика дымососа,
,
где tхар = 100 °С - температура дымовых
газов, для которой составлена характеристика дымососа. Тогда
ΔРка = ΔРк + ΔРп/п +
ΔРв эк + ΔРв/п +
ΔРг/х +
ΔРд тр ± ΔPс/т,
где ΔРка - потери давления по газовому тракту
котлоагрегата, Па.
ΔРк - аэродинамическое
сопротивление самого котла, Па;
ΔРп/п - аэродинамическое
сопротивление пароперегревателя, Па;
ΔРв эк -
аэродинамическое сопротивление водяного экономайзера, Па;
ΔРв/п - аэродинамическое
сопротивление воздухоподогревателя, Па;
ΔРг/х - аэродинамическое
сопротивление газоходов, соединяющих котёл с хвостовыми поверхностями нагрева,
а также дымосос и дымовую трубу между собой, Па;
ΔРд тр - аэродинамическое
сопротивление дымовой трубы, Па;
ΔPс/т - самотяга, развиваемая дымовой
трубой, Па.
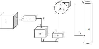
3.1
Аксонометрическая схема газового тракта
Рис. 2 Газовый тракт
Условные обозначения:
I -
котел
II -
пароперегреватель
III -
водяной экономайзер
IV -
воздухоподогреватель
V -
дымосос
VI -
дымовая труба
3.2
Аэродинамическое сопротивление котла
Котёл состоит из топки, выложенной внутри экранными поверхностями
нагрева, по которым циркулирует вода. Примем габаритные размеры котла 11×24×18
м.
,
где ΔРр - разряжение на выходе из топки (20 ~ 30 Па).
Примем ΔРр = 25 Па;
ΔР4пов - потери давления
при четырех резких поворотах на угол 90° в камере, Па;
ΔPкп - потери давления в кипятильных
пучках, Па;
ΔРрс - потери давления при
резком сужении на входе в канал газового тракта, Па.
Объём дымовых газов, проходимых через котёл:
(м3).
Площадь камеры котла равна:
(м2).
Скорость дымовых газов в камере котла:
(м/с).
Плотность дымовых газов ρ, кг/м3, вычисляется по
формуле:
,
(кг/м3).
Динамический напор:
(Па).
Потери давления при четырех резких поворотах на угол 90° (ξ
= 1) составляют:
(Па).
3.3
Сопротивление кипятильного пучка
Кипятильный пучок в котле образован из экранных труб задней стенки котла,
на которой расположено Z
трубок диаметром d = 50 мм с шагом
60 мм. Количество трубок на задней стенке равно:
.
Составим кипятильный пучок коридорного типа из Z2 = 3 рядов с шагом S2 = 70 мм,
тогда в каждом ряду будет по Z1 = 133 трубки, расположенных с шагом S1 = 3 ∙ 60 = 180мм. Высота пучка равна 2000 мм.
По количеству трубок в поперечном сечении и их шагу уточняем ширину котла:
м.
Коэффициент сопротивления гладкотрубного коридорного пучка труб
определяется в зависимости:
- от относительного поперечного шага труб
,
- от относительного продольного шага труб
,
- от коэффициента
.
При σ1 > σ2 и 1 ≤ ψ ≤ 8 коэффициент местного
сопротивления коридорного пучка труб ξ определяется по формуле:
.
При σ1
= 3,6 коэффициент Сσ = 0,495.
Площадь сечения, по которому движутся дымовые газы в пучке, равна:
(м2).
Скорость дымовых газов в пучке равна:
(м/с).
При W = 2,58 коэффициент ξгр = 0,688.
При ξгр = 0,688 и ψ = 6,5 коэффициент CRe = 0,259.
.
Потери давления в пучке труб составляют:
(Па).
Коэффициент местного сопротивления при входе в канал с прямыми кромками
заподлицо со стенкой равен 0,5. Тогда
(Па).
В итоге получаем:
(Па).
3.4
Аэродинамическое сопротивление пароперегревателя
Расположение змеевиков в пароперегревателе может быть как коридорное, так
и шахматное. Соответственно сопротивлением пароперегревателя является
сопротивление коридорного или шахматного пучков труб.
Принял: расположение шахматное, трубы гладкие.
Количество труб в поперечном сечении Z1 = 104, а по ходу дымовых газов Z2 = 59. Трубы расположены соответственно на расстоянии S1 = 60 мм и S2 = 45 мм.
Диаметр труб равен 32 мм. Высота труб равна 3500 мм.
Размеры пароперегревателя:
высота h = 5000 мм;
ширина b = (Z1 +l) · S1 = (l04 + l) · 60 = 6300 мм;
длина l = (Z2+1) · S2 = (59 + l) · 45 = 2700 мм.
Коэффициент сопротивления гладкотрубного шахматного пучка
определяется в зависимости от отношений:
;
, где
мм.
Сопротивление шахматного пучка труб Δh, мм вод. ст., при 0,1
≤ φ ≤ 1,7 находится по формуле:
.
При d = 32 мм Cd = 1,005.
При
σ1 = 1,88 и
коэффициент Cs = 1,07.
Площадь
живого сечения пучка равна:
м2.
Средняя температура дымовых газов в пароперегревателе:
ºС.
Плотность дымовых газов в пароперегревателе равна:
(кг/м3).
Объём дымовых газов в пароперегревателе:
(м3).
Скорость дымовых газов в пароперегревателе равна:
(м/с).
По скорости и средней температуре определяем Δhгр, мм вод. ст.:
Δhгр = 0,388 (мм вод. ст.)
Сопротивление пароперегревателя:
Δh =
(мм вод. ст.) = 245,335(Па).
3.5
Аэродинамическое сопротивление водяного экономайзера
Стальной змеевиковый экономайзер представляет собой пучок труб, набранный
из стальных змеевиков диаметром 28 или 32 мм, со стенками толщиной 3 или 4 мм.
Дымовые газы поперечно омывают змеевики. Расположение змеевиков может быть
коридорным и шахматным. (Принял шахматное расположение змеевиков).
Количество труб в поперечном сечении Z1 = 74, а по ходу дымовых газов Z2 = 74. Трубы расположены соответственно на расстоянии S1 = 70 мм и S2 = 40 мм.
Диаметр труб равен 32 мм, высота труб - 4500 мм.
Размеры экономайзера:
длина (высота кипятильного пучка) h = 3500 мм.
ширина (ширина кипятильного пучка)
мм;
- высота (длина кипятильного пучка)
мм;
Сопротивление шахматного пучка труб зависит от
;
,
Где
мм.
.
Сопротивление шахматного пучка труб Δh, мм вод. ст., при σ1 ≤ 3 и 1,7 ≤ φ ≤
6,5 рассчитывается по
формуле:
.
При d = 32 мм коэффициент Cd = 1,005.
При
σ1 = 2,19 и
σ2 =
коэффициент СS
= 1,07.
Площадь
живого сечения пучка
(м2).
Средняя температура дымовых газов в водяном экономайзере равна:
°С.
Средний объём дымовых газов, уходящих из экономайзера:
(м3).
Объём дымовых газов в экономайзере:
(м3).
Скорость дымовых газов в экономайзере равна:
(м/с).
По
скорости W = 6,729 м/с и средней температуре
°С определяем Δhгр, мм вод. ст.: Δhгр = 0,36.
Сопротивление экономайзера:
(мм вод. ст.) = 284,54 (Па).
3.6
Аэродинамическое сопротивление воздухоподогревателя
Сопротивление воздухоподогревателя складывается из сопротивления трения в
трубах и сопротивления входа в трубы и выхода из них. Параметры
воздухоподогревателя берутся из воздушного тракта котлоагрегата.
Размеры воздухоподогревателя: h = 2500 мм, b = 4000 мм, l = 4000 мм;
Диаметр и толщина труб: d = 40 мм; s = 3 мм;
Количество труб: Z1 = 49, Z2 = 79;
Расстояние между осями труб: S1 =80 мм; S2 = 50 мм;
Площадь живого сечения пучка равна:
(м).
Средняя температура дымовых газов в воздухоподогревателе:
°С.
Средний объём дымовых газов, уходящих из воздухоподогревателя:
(м3 /с).
Объём дымовых газов в воздухоподогревателе:
(м3/ч).
Скорость движения дымовых газов в воздухоподогревателе:
(м/с).
Сопротивление трения в трубах рассчитывается по формуле:
,
где Δh′гр
- зависит от средней температуры потока и от скорости потока, Δh′гр = 6,8 мм вод.
ст./м;
Сш - поправочный коэффициент на шероховатость, Сш =
0,92;
l -
общая длина труб, м; (l =
4м)
(мм вод. ст.) = 245,235 (Па).
Сопротивление при входе в трубы и при выходе из них вычисляется по
формуле:
,
где m - количество последовательно
расположенных по ходу газа отдельных кубов, m = 1;
ξвх и ξвых - коэффициенты входа и
выхода определяются в зависимости от отношения суммарной площади живого сечения
труб к площади живого сечения газохода до и после воздухоподогревателя.
.
При
= 0,219 коэффициенты местного сопротивления при входе
и выходе дымовых газов в трубочки воздухоподогревателя равны соответственно ξвх = 0,38
и ξвых =
0,69.
Плотность
дымовых газов в воздухоподогревателе:
(кг/м3).
Динамический напор:
(Па).
Тогда
(Па).
В итоге сопротивление воздухоподогревателя равно:
(Па).
3.7
Аэродинамическое сопротивление газоходов в тракте
.7.1
Расчет участка 1-2
Данный участок газохода соединяет выход котла с пароперегревателем.
Объём дымовых газов, проходящих через участок, равен объёму дымовых
газов, выходящих из котла, т. е.
V1-2 =
324523,79
(м3/ч).
Площадь
поперечного сечения:
(м2).
Соответственно
полученной площади выбираем размеры и вид трубы:
труба 3350 ×
2800мм. Площадь живого сечения:
(м2).
Эквивалентный диаметр газохода:
(м).
Скорость дымовых газов в трубе:
(м/с).
Динамический напор:
(Па).
Рассчитываем потери от трения:
(Па).
Труба соединяется с выходом котла (3350 × 2800мм) без местных сопротивлений. Вход пароперегревателя соединяется
с трубой с помощью резкого расширения: начальное сечение 3350 × 2800мм, конечное - 6300×3500
мм.
Отношение площади меньшего сечения к площади большего сечения
. Тогда
.
Потери
давления в местных сопротивлениях составляют:
Па.
Суммарные
потери давления на участке:
(Па).
3.7.2
Расчет участка 3-4
Данный участок газохода соединяет пароперегреватель с водяным
экономайзером.
Объём дымовых газов, проходящих через участок равен:
(м3/ч).
Площадь поперечного сечения:
(м2).
Соответственно полученной площади выбираем размеры и вид трубы:
труба 3550×2000
мм.
Площадь живого сечения:
(м2).
Эквивалентный диаметр газохода:
(м).
Скорость дымовых газов в трубе:
(м/с).
Плотность дымовых газов при 695 °С:
(кг/м3).
Динамический напор:
(Па).
Рассчитываем потери от трения:
(Па).
Выход пароперегревателя соединяется с трубой с помощью пирамидального
конфузора (6300×3500 мм → 3550×2000 мм). Коэффициент местного
сопротивления пирамидального конфузора находится в зависимости от большего угла
сужения α,
который в данном случае
будет при уменьшении ширины пароперегревателя до ширины трубы:
.
Получаем α = 57,62°. Так как угол 20° < α
< 60°, то коэффициент
местного сопротивления конфузора ξ = 0,1.
Коэффициент местного сопротивления поворота на угол 90° ξ
= 1.
Труба соединяется с входом водяного экономайзера с помощью резкого
расширения (3550×2000 мм → 5250×3000
мм). Отношение площади
меньшего сечения к площади большего сечения равно:
.
Тогда ξвых = 0,325.
Потери давления в местных сопротивлениях составляют:
(Па).
Суммарные потери давления на участке:
(Па).
3.7.3
Расчет участка 5-6
Данный участок газохода соединяет водяной экономайзер с
воздухоподогревателем.
Объём дымовых газов, проходящих через участок, равен:
(м3/ч).
Площадь поперечного сечения:
(м2).
Соответственно полученной площади выбираем размеры и вид трубы:
труба 3350×2000
мм. Площадь живого сечения:
(м).
Эквивалентный диаметр газохода:
(м).
Скорость дымовых газов в трубе:
(м/с).
Плотность дымовых газов при 555°С:
(кг/м3).
Динамический напор:
(Па).
Рассчитываем потери от трения:
(Па).
Выход водяного экономайзера соединяется с трубой с помощью пирамидального
конфузора (5250×3000 мм → 3350×2000
мм). Больший угол
сужения в данном конфузоре будет при уменьшении ширины водяного экономайзера до
ширины трубы:
.
Получаем α = 50,8°. Так как 20° < α < 60°, то коэффициент местного сопротивления
конфузора ξ = 0,1.
В конце участка 5-6 труба присоединяется к входу воздухоподогревателя
(4000×4000мм). Для присоединения трубы 3350×2000
мм необходимо установить
пирамидальный диффузор.
Коэффициент местного сопротивления диффузора в прямом канале
рассчитывается по формуле.
.
Отношение меньшего сечения к большему равно:
,
тогда ξвых = 0,38. Длину диффузора принимаем равной 3000 мм.
.
Угол раскрытия:
.
По углу α определяем, что φр = 0,9.
.
Коэффициент местного сопротивления каждого из двух поворотов на угол 90° ξ
= 1
Потери давления в местных сопротивлениях:
(Па).
Суммарные потери давления на участке:
(Па).
3.7.4
Участок 7-8
Данный участок газохода соединяет воздухоподогреватель с всасывающим
карманом, который направляет дымовые газы в дымосос.
На данном участке находится 1 поворот на 90° Коэффициент местного
сопротивления поворота на угол 90° ξ = 1
Объём
дымовых газов, проходящих через участок, равен объёму дымовых газов, уносимых
дымососом, т. е
(м3/ч).
Площадь
поперечного сечения:
(м2).
Соответственно полученной площади выбираем по ГОСТу размеры и вид
трубы:
труба 1800×2000
мм.
Площадь живого сечения:
(м2).
Эквивалентный диаметр газохода:
(м).
Скорость дымовых газов в трубе:
(м/с).
Плотность дымовых газов при 145 °С равна:
(кг/м3).
Динамический напор:
(Па).
(Па).
Соединение воздухоподогревателя с трубой - с помощью конфузора (3350×2000
мм → 2000×1800
мм). Больший угол
сужения в данном конфузоре будет при уменьшении ширины воздухоподогревателя до
ширины трубы:
Получаем α = 31,638°. Так как 20° < α
< 60°, то коэффициент
местного сопротивления конфузора ξ = 0,1.
Чтобы рассчитать потери давления во всасывающем кармане и в соединении
трубы участка с карманом, необходимо знать размеры входного отверстия кармана,
которые определяются в зависимости от размера выходного отверстия, равного
размеру входного отверстия дымососа. Для этого необходимо выбрать дымосос.
Определим потери давления на участке 8-9 и в дымовой трубе, а также самотягу в
дымовой трубе. Рассчитаем приближённое давление, создаваемое дымососом, по
которому выберем дымосос. Затем, пересчитав потери на участках 7-8 и 8-9,
определим истинное значение напора, создаваемого дымососом. Если же такой напор
дымосос не может создать, то необходимо выбрать другой.
Потери давления в конфузоре:
(Па).
Суммарные приближённые потери давления на участке:
(Па).
3.7.5
Участок 8-9
Данный участок газохода соединяет выход дымососа с дымовой трубой.
На данном участке находится 2 поворота на угол 90°. Коэффициент местного
сопротивления поворота на угол 90° ξ = 1
Объём и плотность дымовых газов, проходящих через данный участок,
остаются неизменными по сравнению с участком 7-8, если принять размеры
трубопровода на данном участке такими же, как и на участке 7-8, то не изменится
скорость дымовых газов, а соответственно и динамический напор.
(м3/ч).
Потери
от трения:
(Па).
Газоход присоединяется к дымовой трубе с помощью цоколя с подводом
одиночного газохода с размерами:
b = 3350 мм; a = 0,9 · h = 0,9 · 3350 = 3015мм.
Присоединение газохода с цоколем осуществляется при помощи резкого
расширения (1800×2000 →
3015×3350 мм).
Отношение меньшего сечения к большему равно:
, тогда ξвых = 0,5.
Потери давления в местных сопротивлениях составляют:
(Па).
Суммарные потери давления на участке составляют:
(Па).
Суммарные потери давления в газоходах:
(Па).
3.8
Аэродинамический расчет дымовой трубы
Выберем цилиндрическую, кирпичную трубу. Для расчёта трубы необходимо
задать скорость выхода дымовых газов из трубы. Пусть W = 15 м/с.
Площадь устья трубы равна:
(м2).
Зная площадь отверстия, можно найти диаметр выходного отверстия:
(м).
По
унифицированному ряду типоразмеров дымовых труб выбирается наиболее близкое
значение диаметра к полученному значению
(м).
По
выбранному диаметру устья находим площадь устья и скорость дымовых газов в
трубе:
(м2).
(м/с).
По диаметру на выходе трубы по унифицированному ряду типоразмеров дымовых
труб выбираем высоту дымовой трубы.
Hтр = 80 м.
Плотность дымовых газов при 145°С равна ρ = 0,862кг/м3.
Динамический напор равен:
(Па).
Рассчитываем потери от трения. Коэффициент трения λ = 0,05.
(Па).
Потери от местных сопротивлений при выходе из дымовой трубы (ξ
= 1) составляют:
(Па).
Суммарные потери давления в дымовой трубе:
(Па).
Самотяга в трубе:
(Па).
3.9
Выбор дымососа
Складывая потери давления во всех агрегатах и газоходах, получаем
приближённое значение потерь давления по газовому тракту:
(Па).
Напор, развиваемый дымососом, равен:
(Па) = 141,337(мм вод. ст.)
По производительности дымососа
Qд = 146299,28(м3/ч)
и напору
Нд = 141,337 (мм вод. ст.),
которое он создаёт, выбираем дымосос Д18×2 с частотой вращения 590 об/мин. Зная
размеры входного и выходного отверстий дымососа, можно найти потери давления на
участках 7-8 и 9-10.
Диаметр входного отверстия дымососа Д18×2 : d=1800мм .
3.10
Пересчет участка 7-8
Перед дымососом стоит всасывающий карман с размерами входного
отверстия:
а = 0,92 ∙ dд = 0,92 ∙ 1800 =
1656 мм;
b = 1,8 · dд = 1,8 · 1800 = 3240 мм.
Чтобы присоединить карман размером 1656×3240 мм к трубе 1800×2000 мм участка, необходимо
установить конфузор
.
Получаем
.
Так
как угол 20° < α
< 60°, то коэффициент местного сопротивления
конфузора ξ
= 0,1.
На
участке также находится поворот на угол 90°, коэффициент местного сопротивления
которого ξ
= 1.
Скорость
дымовых газов в дымоходе:
(м/с)
Коэффициент сопротивления во всасывающем кармане ξ
= 0,1
Потери давления в конфузоре и всасывающем кармане:
(Па).
Потери давления в местных сопротивлениях на участке 7-8:
(Па).
Суммарные потери давления на участке:
(Па).
3.11
Пересчет участка 9-10
Газоход присоединяется к выходу дымососа с помощью диффузора (893х1680мм→1500х2000мм
и 1500х2000мм→1800х2000 мм).
Коэффициент местного сопротивления резкого
расширения определяется взависимости от отношения меньшего сечения к большему:
Тогда коэффициент резкого расширения ξвых=0,27.
Скорость дымовых газов на выходе из дымососа:
W=
(м/с)
Потери давления при резком расширении состравляют:
0,27
(Па).
Коэффициент сопротивления пирамидального конфузора в прямом
канале:
ξвых=0,08
.
Получаем
.
φр=0,44 => ξдиф=0,08*0,44=0,0352
Скорость
дымовых газов в дымоходе:
(м/с)
Коэффициент сопротивления во всасывающем кармане ξ
= 0,1
Потери давления в диффузоре:
(Па).
Потери давления в местных сопротивлениях на участке 9-10:
(Па).
Суммарные потери давления на участке:
(Па).
Суммарные потери давления в газоходах:
ΔРг/х =278,79+201,033+24,673=504,496
(Па).
Потери давления по всему газовому тракту:
(Па).
Давление создаваемое дымососом:
Hд=1,1*1,134*1215,03=1515,628
Па=154,656 (мм вод. ст.)
Используя производительность дымососа Qд=146299,28
(м3/ч) и напор Hд=154,656 (мм вод. ст.), создаваемый им, по
графику аэродинамических характеристик выбираем дымосос Д18×2
с частотой вращения 590
об/мин. Пересчитываем на дымосос Д18×2 с частотой вращения 740об/мин => Qд=(146299,28*740)/590=183494,012(м3/ч)
Находим КПД дымососа: ηд=44%
Затрачиваемая дымососом мощность NД, кВт:
Nд =
где QД - производительность вентилятора, м3/ч; HД - напор развиваемый вентилятором, Па; ηД - КПД вентилятора, %.
NД =
(кВт)
4. Вывод
Для осуществления процесса горения котлоагрегаты оснащаются тягодутьевыми
устройствами: дутьевыми вентиляторами, подающими воздух в топку, дымососами,
удаляющими из котла дымовые газы и дымовой трубой.
Выбор вентилятора или дымососа сводится к выбору машины, обеспечивающей
производительность и давление, определённые при расчёте воздушного и газового
трактов, и потребляющей наименьшее количество энергии при эксплуатации.
В расчёте курсовой работы я осуществила аэродинамический расчет
воздушного тракта котлоагрегата по данным своего варианта, подобрала по
производительности и напору дутьевой вентилятор ВДН-19 с частотой вращения 740
об/мин и определена мощность, потребляемая им и его КПД по графику ;рассчитала
аэродинамический расчет газового тракта, выбрала дымосос Д18×2
с частотой вращения 590
об/мин (далее идёт пересчёт для частоты вращения 740 об/мин) и определена
мощность, потребляемая им и его КПД по графику; впоследствии была выбрана
цилиндрическая дымовая труба высотой 80 метров.
5.
Литература
1. Захарова Н.С. Методические указания к выполнению
курсовой работы "Аэродинамический расчет котельных установок" по
дисциплине "Гидрогазодинамика": Учеб.- метод. пособие. - Череповец:
ЧГУ, 2003.
. Приложения к учебно-методическому пособию
"Аэродинамический расчет котельных установок". Ч. 1. Череповец: ЧГУ,
2002.
. Приложения к учебно-методическому пособию
"Аэродинамический расчет котельных установок". Ч. 2. Череповец: ЧГУ,
2002.
. Аэродинамический расчет котельных установок. Нормативный
метод / Под ред. С.И. Мочана. 3-е изд. Л.: Энергия, 1977.