Схемы автоматического повторного включения
Министерство образования и науки
Украины
Черниговский национальный
технологический университет
Учебно-научный институт технологий
Факультет электронных и
информационных технологий
Кафедра электрических систем и сетей
ОТЧЕТ
по исполнению цикла лабораторных
работ с дисциплины: автоматизация в электроэнергетике
Выполнил
студентка группы ЗЕМ-092 Землянский В.В.
Руководитель
доцент, к. т. н. Приступа А.Л.
Содержание
Исследование функций автоматики микропроцессорного комплекса МРЗС
05
Использованная литература
Исследование
функций автоматики микропроцессорного комплекса МРЗС 05
Цель работы: изучить АПВ: применение, функции, классификация,
принцип действия. Научится устанавливать уставки АПВ и УРОВ на
микропроцессорном комплексе МРЗС 05.
Краткие
теоретические сведенья
Автоматическое повторное включение (АПВ) - это одно из средств
релейной защиты
<#"871100.files/image001.gif">
Рисунок 1.1 - Путь от главного меню к разделам АПВ и УРОВ
Рисунок 1.2 - Меню раздела АПВ

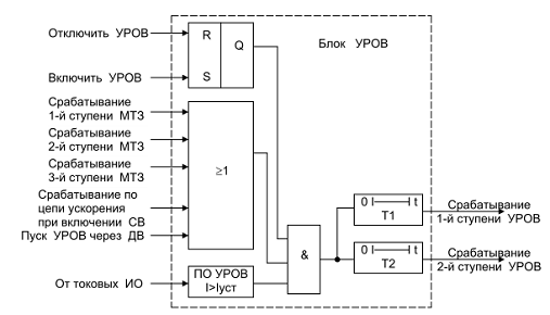
2. Изучили принцип работы УРОВ. Устройство предназначено
для отключения смежных питающих присоединений при отказе силового выключателя
присоединения, на котором произошло короткое замыкание.
Функциональная схема устройства резервирования отказа
выключателя приведена на рисунке 1.4 Блок, показанный на рисунке 1.4,
реализован программно. Устройство имеет уставку по току срабатывания и две
уставки по времени. Для срабатывания УРОВ, кроме наличия тока, превышающего
уставку, требуется также наличие пуска. Устройство пускается при срабатывании
внутренней МТЗ на отключение или через дискретный вход от других устройств
защиты. При срабатывании, устройство с первой выдержкой или без выдержки времени
(первая ступень) повторно действует по другой цепи на отказавший выключатель и,
если он не отключается, отсчитав заданное время (вторая ступень) действует на
отключение смежных питающих присоединений.
Через дискретные входы можно производить включение/отключение
УРОВ. В том случае, если отключение УРОВ производится через дискретный вход, то
последующее включение необходимо обязательно производить через дискретный вход.
Рисунок 1.4 - Функциональная схема блока устройства резервирования
отказа выключателя (УРОВ)
3. Настроили УРОВ. Уставка - 2А, выдержка первой ступени
- 4с, выдержка второй ступени - 8с.
4. Изучили особенности настройки АПВ. Устройство АПВ
предназначено для автоматического повторного включения присоединения после его
отключения от устройств защиты. АПВ двукратного действия. Функциональная схема
блока формирования команды пуска АПВ от МТЗ приведена на рисунке 1.7
Функциональная схема блока АПВ приведена на рисунке 1.7 Блоки, показанные на
рисунках 1.5, 1.7 реализованы программно. Временная диаграмма работы АПВ
приведена на рисунке 1.6. АПВ имеет уставки по длительности первого и второго
цикла АПВ, по длительности блокировки первого цикла и АПВ в целом и по
длительности блокировки АПВ при ручном включении выключателя СВ. После
срабатывания МТЗ происходит пуск АПВ. При этом запускается таймер первого цикла
(Т1), который отсчитав установленное время, действует на включение выключателя
присоединения. Одновременно запускается таймер блокировки 1 который блокирует на
заданное время таймер первого цикла и подготавливает цепь пуска второго цикла
АПВ. Если первое включение было на короткое замыкание, снова срабатывает МТЗ и
происходит пуск таймера второго цикла АПВ (Т2). Таймер первого цикла в это
время заблокирован. Таймер второго цикла АПВ, отсчитав установленное время,
действует на включение выключателя одновременно запускается таймер блокировки
2, который блокирует на заданное время таймеры первого и второго циклов. Если и
второе включение было на короткое замыкание, срабатывает МТЗ и производит
окончательное отключение. Пуска АПВ больше не происходит, таймеры первого и
второго циклов в это время заблокированы. После истечения времени (таймер
второго цикла АПВ), независимо от того было включение успешным или неуспешным,
происходит возврат ПВ в исходное состояние. Через дискретный вход можно
производить включение/отключение пуска АПВ от любой ступени МТЗ. Через
дискретный вход можно также производить запрет АПВ, а также
включение/отключение второго цикла АПВ и АПВ в целом.
В том случае, если отключение второго цикла АПВ и (или) АПВ в
целом производится через дискретный вход, то последующее включение необходимо
обязательно производить через дискретный вход. При ручном включении силового
выключателя запускается таймер блокировки 3, который на установленное время
блокирует АПВ. Таким образом, при включении выключателя на короткое замыкание и
срабатывании МТЗ пуска АПВ не происходит, АПВ будет готово к действию по
истечении времени.
Рисунок 1.5 - Функциональная схема блока формирования команды
пуска АПВ от МТЗ
Рисунок 1.6 - Временные диаграммы работы двухкратного АПВ
Рисунок 1.7 - Функциональная схема блока АПВ и блока включения
5. Настроили световую индикацию, оповещающую о
протекающих процессах в моделируемой системе (СДИ4 - АПВІ, СДИ5 - АПВІІ,).
6. Смоделировали на стенде аварийную ситуацию для
проверки работы АПВ и УРОВ.
Выводы по
работе
В ходе данной лабораторной работы было освоено назначение,
принцип действия, классификацию АПВ. Следует отметить, что сочетание АПВ и
другой защитной автоматики позволяют автоматизировать, ускорить и облегчить
работу на подстанциях. А современные микропроцессорные комплексы, такие как
изученный МРЗС 05, позволяют совместить в себе все функции управления любыми
защитными устройствами и АПВ в том числе. Это уменьшает габариты панелей
управления на подстанции и позволяет отказаться от постоянного обслуживающего
персонала.
Использованная
литература
1. Устройство
микропроцессорное защиты, автоматики, контроля и управления присоединений 6-35
кВ МРЗС - 05. Руководство по эксплуатации. РСГИ.466452.007 РЭ.
2. Автоматика
энергосистем: Учеб. для техникумов/ М.А. Беркович, В.А. Гладышев, В.А. Семенов.
- 3-е изд., перераб. и доп. - М.: Энергоатомиздат, 1991. - 240 с.: ил.