Определение тепловых нагрузок района города
Введение
При развитии городов главную роль играет
теплоснабжение как важнейшая система жизнеобеспечения. Теплоснабжение является
крупной отраслью хозяйства. На нужды теплоснабжения ежедневно расходуется 25%
всего добываемого топлива.
Значительную роль в решении задачи рационального
и экономичного расходования топливных ресурсов отводится централизованному
теплоснабжению.
Централизованное теплоснабжение базируется на
использовании крупных районных котельных, характеризующихся значительным КПД.
Кроме экономии топлива, централизованное теплоснабжение имеет большое
социальное значение, способствует повышению производительности труда.
Главная задача теплоснабжения - надежное
обеспечение страны тепловой энергией. Эта задача решается с учетом экономии
тепла за счет уменьшения бесполезных потерь горячей воды и пара у потребителей,
автоматизированной подачи тепла; снижение температуры воздуха ночью в жилых
домах; развитие централизованного теплоснабжения на базе других источников.
1. Теплоснабжение района города
.1 Исходные данные для проектирования
. Район строительства―
город
Уссурийск.
. Расчетная температура наружного воздуха для
проектирования системы отопления―t
O=-31°С.
. Расчетная температура наружного воздуха для
проектирования системы вентиляции ― t
V
=-21°С.
. Средняя температура отопительного периода ―
t ОТ
=-8,3°С.
. Продолжительность отопительного периода ―
=198сут.
6. Располагаемый напор в камере―
=36м.
. Плотность населения ― P=370 чел/га.
. Общая площадь на одного человека ― f=19 м2/чел.
. Расчетные температуры
теплоносителя ―
t 1
=130°С; t 2=70°С.
. Система теплоснабжения ― открытая.
. Тип прокладки ― безканальная/канальная.
. Масштаб района города ― 1:50000.
.2 Определение
тепловых нагрузок района города
Определим для условий г. Уссурийск расчетные
тепловые потоки на отопление, вентиляцию и горячее водоснабжение для 19
кварталов района города.
Расчет площадей кварталов и количества жителей
сводим в табл.1.1. В графы 1, 2, 3 таблицы заносим соответственно номера
кварталов, их площадь Fкв в гектарах, плотность населения Р
Рисунок 1.1 - Район города.
Количество жителей в кварталах m, определяем по
формуле:
(1.1)
Общую площадь жилых зданий кварталов
А определяем по формуле
(1.2)
Таблица 1.1 Расчет площадей
кварталов и количества жителей.
|
N
квартала
|
Площадь
квартала Fкв,га
|
Плотность
населения p, чел/га
|
Количество
жителей m, чел
|
f,
м3/чел
|
A,
м3
|
|
1
|
2
|
3
|
4
|
5
|
6
|
|
1
|
80,00
|
370
|
29600
|
19
|
562400
|
|
2
|
36,25
|
370
|
13412,5
|
19
|
254837,5
|
|
3
|
47,50
|
370
|
17575
|
19
|
333925
|
|
4
|
12,50
|
370
|
4625
|
19
|
87875
|
|
5
|
32,00
|
370
|
11840
|
19
|
224960
|
|
6
|
42,50
|
370
|
15725
|
19
|
298775
|
|
7
|
51,00
|
370
|
18870
|
19
|
358530
|
|
8
|
72,25
|
370
|
26732,5
|
19
|
507917,5
|
|
9
|
76,50
|
370
|
28305
|
19
|
537795
|
|
10
|
81,20
|
370
|
30044
|
19
|
570836
|
|
11
|
30,00
|
370
|
11100
|
19
|
210900
|
|
12
|
30,00
|
370
|
11100
|
19
|
210900
|
|
13
|
37,50
|
370
|
13875
|
19
|
263625
|
|
14
|
25,00
|
370
|
9250
|
19
|
175750
|
|
15
|
55,00
|
370
|
20350
|
19
|
386650
|
|
16
|
50,00
|
370
|
18500
|
19
|
351500
|
|
17
|
50,00
|
370
|
18500
|
19
|
351500
|
|
18
|
40,00
|
370
|
14800
|
19
|
281200
|
|
19
|
75,00
|
370
|
27750
|
19
|
527250
|
|
|
|
341954
|
|
6497126
|
Расчет тепловых потоков сводим в табл.1.2.
Принимаем согласно прил. 2 [1] для зданий
постройки после 1985г величину удельного показателя теплового потока на отопление
жилых зданий при t 0 = -35 0С qо = 87Вт/м2,
находим расчетные тепловые потоки на отопление жилых и общественных зданий
кварталов по формуле:
(1.3)
Максимальные тепловые потоки на
вентиляцию общественных зданий кварталов определяем по формуле:
(1.4)
По приложению 3 [1] укрупненный
показатель теплового потока на горячее водоснабжение qh c учетом
общественных зданий при норме на одного жителя a = 115 л/сутки составит 407 Вт.
Среднечасовые тепловые потоки на
горячее водоснабжение жилых и общественных зданий кварталов определяем по
формуле:
(1.5)
Суммарный тепловой поток по
кварталам, QS, определяем
суммированием расчётных тепловых потоков на отопление, вентиляцию и горячее
водоснабжение
(1.6)
Аналогично выполняются расчёты тепловых потоков
и для других кварталов.
Таблица 1.2 - Расчёт тепловых потоков на
отопление, вентиляцию и горячее водоснабжение.
|
N
квартала
|
Количество
жителей m, чел
|
Общая
площадь A, м3
|
Расчётные
тепловые потоки, МВт
|
|
|
|
Отопление
|
Вентиляция
|
ГВС
|
Q∑
|
|
|
|
|
qo
|
Qоmax
|
k2
|
Qvmax
|
qh
|
m
|
Qhm
|
|
|
|
1
|
29600
|
562400
|
87
|
61,16
|
0,6
|
7,34
|
407
|
29600
|
12,05
|
80,55
|
|
|
2
|
13412,5
|
254837,5
|
87
|
27,71
|
0,6
|
3,33
|
407
|
13412,5
|
5,46
|
36,50
|
|
|
3
|
17575
|
333925
|
87
|
36,31
|
0,6
|
4,36
|
407
|
17575
|
7,15
|
47,83
|
|
|
4
|
4625
|
87875
|
87
|
9,56
|
0,6
|
1,15
|
407
|
4625
|
1,88
|
12,59
|
|
|
5
|
11840
|
224960
|
87
|
24,46
|
0,6
|
2,94
|
407
|
11840
|
4,82
|
32,22
|
|
|
6
|
15725
|
298775
|
87
|
32,49
|
0,6
|
3,90
|
407
|
15725
|
6,40
|
42,79
|
|
|
7
|
18870
|
358530
|
87
|
38,99
|
0,6
|
4,68
|
407
|
18870
|
7,68
|
51,35
|
|
|
8
|
26732,5
|
507917,5
|
87
|
55,24
|
0,6
|
6,63
|
407
|
26732,5
|
10,88
|
72,74
|
|
|
9
|
28305
|
537795
|
87
|
58,49
|
0,6
|
7,02
|
407
|
28305
|
11,52
|
77,02
|
|
|
10
|
30044
|
570836
|
87
|
62,08
|
0,6
|
7,45
|
407
|
30044
|
12,23
|
81,76
|
|
|
11
|
11100
|
210900
|
87
|
22,94
|
0,6
|
2,75
|
407
|
11100
|
4,52
|
30,21
|
|
|
12
|
11100
|
210900
|
87
|
22,94
|
0,6
|
2,75
|
407
|
11100
|
4,52
|
30,21
|
|
|
13
|
13875
|
263625
|
87
|
28,67
|
0,6
|
3,44
|
407
|
13875
|
5,65
|
37,76
|
|
|
14
|
9250
|
175750
|
87
|
19,11
|
0,6
|
2,29
|
407
|
9250
|
3,76
|
25,17
|
|
|
15
|
20350
|
386650
|
87
|
42,05
|
0,6
|
5,05
|
407
|
20350
|
8,28
|
55,38
|
|
|
16
|
351500
|
87
|
38,23
|
0,6
|
4,59
|
407
|
18500
|
7,53
|
50,34
|
|
|
17
|
18500
|
351500
|
87
|
38,23
|
0,6
|
4,59
|
407
|
18500
|
7,53
|
50,34
|
|
|
18
|
14800
|
281200
|
87
|
30,58
|
0,6
|
3,67
|
407
|
14800
|
6,02
|
40,27
|
|
|
19
|
27750
|
527250
|
95
|
62,61
|
0,6
|
7,51
|
407
|
27750
|
11,29
|
81,42
|
|
Определим соотношение тепловых нагрузок
.3 Расчет и построение графиков
теплового потребления
Выполним расчет и построение графиков часовых
расходов теплоты на отопление вентиляцию и горячее водоснабжение, а также
годовых графиков теплопотребления по продолжительности тепловой нагрузки и по
месяцам.
.3.1 Расчёт и построение графиков часовых
расходов теплоты на отопление, вентиляцию и ГВС
Определим, используя формулы пересчета, часовые
расходы на отопление и вентиляцию при температуре наружного воздуха tн=
+100С.
(1.7)
(1.8)
Отложив на графике (см. рис. 1.2 а)
значения
и
при tн
= +10 0С, а также значения
и
при tн = t0 =
-35 0C и соединив их прямой, получим графики
= f (tн)
и
= f (tн).
Для построения часового графика расхода теплоты на горячее водоснабжение,
определим среднечасовой расход теплоты на горячее водоснабжение для
неотопительного периода
.
(1.9)
График среднечасового расхода
теплоты на горячее водоснабжение не зависит от температуры наружного воздуха, и
будет представлять собой прямую. Просуммировав ординаты часовых графиков на
отопление, вентиляцию и горячее водоснабжение для диапазона температур tн =
+10… -35 0C и соединив их прямой получим суммарный часовой график
. Для
построения годового графика теплоты по продолжительности тепловой нагрузки по
[2] табл.1.3 находим продолжительности стояния температур наружного воздуха в
часах с интервалом 50C и продолжительность отопительного периода для
г. Николаевск-на-Амуре n0 = 5858 ч. Данные сводим в таблицу 1.3
Таблица 1.3 - Продолжительность
стояния температур наружного воздуха
|
Продолжительность,
n
|
Температура
наружного воздуха
|
|
-40
|
-35
|
-30
|
-25
|
-20
|
-15
|
-10
|
-5
|
0
|
5
|
|
|
-35
|
-30
|
-25
|
-20
|
-15
|
-10
|
-5
|
0
|
5
|
10
|
|
|
23
|
220
|
594
|
751
|
725
|
651
|
588
|
885
|
979
|
487
|
|
|
n
|
23
|
243
|
837
|
1543
|
2268
|
2919
|
3507
|
4392
|
5371
|
5858
|
|
График по продолжительности тепловой
нагрузки (см. рис. 1.2.б) строится на основании суммарного часового графика
. Для этого
из точек на оси температур (+8, +5, 0, -10, -20, -35) восстанавливаем
перпендикуляры до пересечения с линией суммарного часового графика и из точек
пересечения проводим горизонтальные прямые до пересечения с перпендикулярами,
восстановленными из точек на оси продолжительности, соответствующих данным
температурам. Соединив найденные точки плавной кривой, получим график по
продолжительности тепловой нагрузки за отопительный период в течение 5858 часов.
Затем построим график по продолжительности тепловой нагрузки за неотопительный
период, для чего проведем прямую, параллельную оси абцисс с ординатой, равной
=60МВт до
расчетной продолжительности работы системы теплоснабжения в году, равной 8400
часов.
Рис. 1.2 Графики теплового
потребления:
А - часовые графики теплового
потребления;
Б - годовой график по
продолжительности тепловой нагрузк
.3.2 Расчёт и построение годового
графика потребления тепла по месяцам
Для построения годового графика
теплового потребления по месяцам находим среднемесячные температуры наружного
воздуха. Затем, используя формулы пересчета, определим часовые расходы теплоты
на отопление и вентиляцию для каждого месяца со среднемесячной температурой
ниже +100C.Определим суммарные расходы теплоты для месяцев
отопительного периода как сумму часовых расходов на отопление, вентиляцию и
горячее водоснабжение. Для месяцев неотопительного периода (с
>+10)
суммарный расход теплоты будет равен среднечасовому расходу теплоты на горячее
водоснабжение
= 93,7 МВт.
Выполним расчеты для января

МВт

МВт
МВт
Аналогично выполняем расчёты и для
других месяцев отопительного периода. Расчёты сведём в табл. 1.4. Используя
полученные данные, построим годовой график теплового потребления по месяцам
(см. рис 1.3)
Таблица 1.4 - Среднечасовые расходы
теплоты по месяцам года
|
Среднечасовые
расходы теплоты по месяцам
|
Янв
|
Фев
|
Март
|
Апр
|
Май
|
Июнь
|
Июль
|
Авг
|
Сент
|
Окт
|
Нояб
|
Дек
|
|
-23,9
|
-20
|
-12,7
|
-2,9
|
3,7
|
11,5
|
16,5
|
16,2
|
11,1
|
2
|
-9,9
|
-19,8
|
|
Qо,
МВт
|
359,6
|
327,6
|
267,8
|
187,6
|
133,5
|
|
|
|
|
147,4
|
244,9
|
326,0
|
|
Qв,
МВт
|
43,2
|
39,3
|
32,1
|
22,5
|
16,0
|
|
|
|
|
17,7
|
29,4
|
39,1
|
|
Qг,
МВт
|
93,7
|
93,7
|
93,7
|
93,7
|
93,7
|
60
|
60,0
|
60,0
|
59,9
|
93,7
|
93,7
|
93,7
|
|
QΣ,
МВт
|
496,4
|
460,6
|
393,7
|
303,8
|
243,2
|
60
|
60,0
|
60,0
|
59,9
|
258,8
|
368,0
|
458,8
|
Рис. 1.3 Годовой график теплового потребления по
месяцам
.4 Выбор и обоснование способа регулирования,
графика температур сетевой воды
Построение графика регулирования.
Т.к. соотношение тепловых нагрузок
лежит в
интервале от 0,15 до 0,3, то принимаем регулирование по совместной нагрузке
отопления и горячего водоснабжения. Применение данного метода регулирования
позволяет определять диаметры трубопроводов тепловых сетей по суммарному
расходу сетевой воды на отопление и вентиляцию без учета расхода воды на
горячее водоснабжение. Однако для удовлетворения нагрузки горячего
водоснабжения температура воды в подающем трубопроводе должна быть выше, чем по
отопительному графику. Некоторая недоподача теплоты в системы отопления в часы
максимального водоразбора, компенсируется в ночное время при отсутствии
водоразбора на горячее водоснабжение. При этом строительные конструкции зданий
служат аккумуляторами теплоты, выравнивающими неравномерность подачи теплоты на
отопление. В закрытых системах теплоснабжения эффективность повышенного графика
реализуется при применении двухступенчатой смешанной с ограничением расхода
включения водоподогревателей. Расчет повышенного графика для таких систем заключается
в определении перепада температур сетевой воды в водоподогревателях верхней d1 и нижней d2 ступеней
при различных температурах наружного воздуха и балансовой нагрузке горячего
водоснабжения
.Расчёт
произвожу с помощью специальной программы RTGS для
закрытых систем теплоснабжения.
Результаты расчёта сведены в таблицу
№ 1.5.
Для водяных тепловых сетей следует
принимать качественное регулирование отпуска теплоты по нагрузке отопления и
ГВС согласно графику изменения температуры воды в зависимости от температуры
наружного воздуха.
При качественном способе
регулирования для зависимых схем присоединения элеваторных систем отопления,
температуры сетевой воды соответственно в подающей магистрали τ10, в обратной
магистрали τ20, а также
после элеватора τ30, в течение
отопительного периода определяют по следующим выражениям:
, (1.10)
, (1.11)
, (1.12)
где
- расчетная температура внутреннего
воздуха, принимаемая для жилых районов 18 0С
- температура наружного воздуха, 0С
Dt
- расчетный температурный напор нагревательного прибора, 0С,
определяемый по формуле
∆t=(τ3+
τ2)/2-ti
(1.13)
Где t3
и t2
температуры воды соответственно после элеватора и в обратной магистрали
тепловой сети при to; для жилых районов, как правило,
t3 = 95о С;
t2
= 70 о С;
t
- расчетный перепад температур сетевой воды в тепловой сети
t=t1-t2;
q
- расчетный перепад температур сетевой воды в местной системе отопления:
Определение значения
величин
Используя расчетные
данные и приняв минимальную температуру сетевой воды в подающем трубопроводе
=
70 0С, строится отопительно-бытовой график температур. Точке излома
температурного графика будут соответствовать температуры сетевой воды
=
60 0С,
=
40,48 0С,
=
48,17 0С, температура наружного воздуха
=
3,09 0С.
Далее приступаем к
расчету скорректированного графика. Определяем балансовую нагрузку горячего
водоснабжения
(1.13)
Суммарный перепад температур сетевой
воды в верхней и нижней ступенях водоподогревателей d в течение всего
отопительного периода постоянен и определяется по формуле:
(1.14)
Перепад температуры сетевой воды в
нижней ступени водоподогревателя d2 соответствующий температуре
наружного воздуха для точки излома температурного графика tн',
а так же для всего диапазона температур наружного воздуха от +10оС
до tн' определяют по формуле:
(1.15)
для диапазона от tн'
до to величину d2 определяют
по формуле:
(1.16)
где th - температура
горячей воды поступающей из водоподогревателя в систему горячего водоснабжения,
0С;c - температура холодной водопроводной воды перед
водоподогревателем нижней ступени, 0С;h' -
температура водопроводной воды после водоподогревателя нижней ступени, 0С,
определяемая по формуле
(1.17)
- температура сетевой воды в
обратной магистрали соответствующая точке излома температурного графика, 0С
- температура сетевой воды в
обратной магистрали принимаемая по отопительному графику в соответствии с
заданной температурой наружного воздуха tн, 0С;
Температуру сетевой воды по
повышенному графику в обратной магистрали t2п определяют по формуле, 0С
(1.18)
Перепад температур сетевой воды в
верхней ступени водоподогревателя d1 определяют по формуле, 0С
(1.19)
Температуру сетевой воды в подающей магистрали t1п
определяют по формуле:
(1.20)
При построении графиков температур сетевой воды
для систем вентиляции основной задачей является определение температуры сетевой
воды в обратном трубопроводе после калориферов t2v
для различных диапазонов отопительного периода. Для решения этой задачи
используют следующие уравнения:
Для диапазона I (от +10 оС
до
)
(1.21)
для диапазона II (от
до tv)
(1.22)
для диапазона III (от tv до to)
(1.23)
Где Dtк - температурный напор в
калорифере, определяемый при температуре tн (Dtк' -
то же при температуре
)
(1.24)
Dtpк - расчетный
температурный напор в калорифере, определенный при температуре наружного
воздуха, расчетной для систем вентиляции, tv
(1.25)
t1, t2v
- значения температур сетевой воды соответственно в подающем трубопроводе перед
калориферами и в обратном трубопроводе после калориферов при заданной
температуре наружного воздуха tн
;
- то же, но для точки излома
температурного графика tн.
;
- то же, но при расчетной
температуре наружного воздуха для вентиляции, tv.
Неизвестные значения температуры
обратной воды после калориферов t2v для I и III диапазонов определяют
решением уравнений (1.21) и (1.23) методом последовательных приближений.
Таблица 1.5 - Расчет повышенного
(скорректированного) графика для закрытой системы теплоснабжения.
|
tН
|
t10
|
t20
|
t30
|
t1П
|
t2П
|
t2V
|
|
10
|
70,0
|
40,48
|
48,17
|
64,96
|
32,41
|
19,84
|
|
3,09
|
70,0
|
40,48
|
48,17
|
64,96
|
32,41
|
40,48
|
|
-10,95
|
89,01
|
52,42
|
62,49
|
90,75
|
42,01
|
52,42
|
|
-25
|
116,18
|
63
|
85,46
|
115,49
|
55,17
|
63
|
|
-35
|
135,0
|
70,0
|
95,0
|
135
|
57,02
|
47,5
|
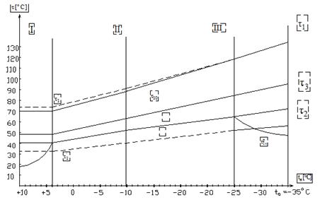
Используя данные таблицы 1.5, построим
отопительно-бытовой, а также повышенный графики температур сетевой воды.
Рис.1.4 Отопительно-бытовой () и повышенный
(----) графики температур сетевой воды для закрытой системы теплоснабжения
1.5 Определение расходов сетевой воды
Расчетный расход сетевой воды для определения
диаметров труб в водяных тепловых сетях при качественном регулировании отпуска
теплоты следует определять отдельно для отопления, вентиляции и горячего
водоснабжения.
Расчетный расход сетевой воды на отопление Go
max,
т/ч определяется по формуле:
Go max = 3,6·Qоmax·1000
/ с·(τ1
- τ2),
(1.26)
где t1
-
температура воды в подающем трубопроводе тепловой сети при расчетной
температуре наружного воздуха to,
oC;
t2 -
то же, в обратном трубопроводе тепловой сети, оС;
с - удельная теплоемкость воды, принимаемая в
расчетах равной 4,19 кДж/(кг°С).
Расчетный расход сетевой воды на вентиляцию Gv
max,
т/ч определяется по формуле:
v
max = 3,6·Qvmax·1000 / с·(τ1
- τ2), (1.27)
Т.к. отношение ρ = К4·Qhmd/
Qоmax = 2,4·117,68/564,41 = 0,5 составляет больше 0,2 и меньше 1 -
принимаем двухступенчатую схему. Расчетный расход сетевой воды на горячее
водоснабжение в закрытых системах теплоснабжения при параллельной схеме
подключения водоподогревателей, Ghmax,
кг/ч определяется по формуле:
Ghmax
= 3,6·Qhmах
/ с·(t1'
- t3'),
(1.28)
где t1'
- температура воды в подающем трубопроводе тепловой сети в точке излома графика
температур воды, оС,
t3'
-
температура воды после параллельно включенного водоподогревателя горячего
водоснабжения в точке излома графика температур воды, оС.
Суммарные расчетные расходы сетевой воды, кг/ч,
в двухтрубных тепловых сетях и закрытых системах теплоснабжения, при
регулировании по повышенному графику, в отопительный период, определяются по
формуле:
ΣG = Gv max +
Go max (1.29)
Результаты расчета расходов теплоносителя
сведены в таблицу 1.6
Таблица 1.6 - Таблица расчетных расходов
теплоносителя.
|
№
квартала
|
Отопление
|
Вентиляция
|
Gd,
т/ч
|
ГВС
|
|
Q0,
МВт
|
Gоmax,
т/ч
|
Qv,
МВт
|
Gvmax,
т/ч
|
|
Qh
md, МВт
|
Ghm,
т/ч
|
Qh
max, МВт
|
Ghmax,
т/ч
|
|
|
1
|
2
|
3
|
4
|
5
|
10
|
6
|
8
|
7
|
9
|
|
|
1
|
41,6
|
549,9
|
5,0
|
66,1
|
616,0
|
8,7
|
151,9
|
13,4
|
287,0
|
|
|
2
|
12,5
|
165,2
|
1,5
|
19,8
|
185,1
|
2,6
|
45,4
|
4,0
|
85,8
|
|
|
3
|
23,7
|
313,3
|
2,8
|
37,0
|
350,3
|
85,6
|
7,5
|
161,7
|
|
|
4
|
6,9
|
91,2
|
0,8
|
10,6
|
101,8
|
1,4
|
24,4
|
2,2
|
46,2
|
|
|
5
|
16,6
|
219,4
|
2,0
|
26,4
|
245,9
|
3,5
|
61,1
|
5,4
|
115,5
|
|
|
6
|
20,8
|
274,9
|
2,5
|
33,0
|
308,0
|
4,3
|
75,1
|
6,6
|
141,9
|
|
|
7
|
22,9
|
302,7
|
2,7
|
35,7
|
338,4
|
4,8
|
83,8
|
7,4
|
158,4
|
|
|
8
|
31,2
|
412,4
|
3,7
|
48,9
|
461,3
|
6,5
|
113,5
|
10,0
|
214,5
|
|
|
9
|
31,2
|
412,4
|
3,7
|
48,9
|
461,3
|
6,5
|
113,5
|
10,0
|
214,5
|
|
|
10
|
42,7
|
564,4
|
5,1
|
67,4
|
631,8
|
8,9
|
155,4
|
13,7
|
293,6
|
|
|
11
|
14,6
|
193,0
|
1,7
|
22,5
|
215,5
|
3,0
|
52,4
|
4,6
|
99,0
|
|
|
12
|
14,6
|
193,0
|
1,7
|
22,5
|
215,5
|
3,0
|
52,4
|
4,6
|
99,0
|
|
|
13
|
19,4
|
256,4
|
2,3
|
30,4
|
286,8
|
4,0
|
69,9
|
6,1
|
132,0
|
|
|
14
|
25,0
|
330,5
|
3,0
|
39,7
|
370,1
|
5,2
|
90,8
|
8,0
|
171,6
|
|
|
15
|
26,4
|
349,0
|
3,2
|
42,3
|
391,3
|
5,5
|
96,0
|
8,4
|
181,5
|
|
|
16
|
25,0
|
330,5
|
3,0
|
39,7
|
370,1
|
5,2
|
90,8
|
8,0
|
171,6
|
|
|
17
|
28,2
|
372,8
|
3,4
|
44,9
|
417,7
|
5,9
|
103,0
|
9,1
|
194,7
|
|
|
18
|
28,0
|
370,1
|
2,5
|
33,0
|
403,2
|
4,3
|
75,1
|
6,6
|
141,9
|
|
|
19
|
26,4
|
349,0
|
3,2
|
42,3
|
391,3
|
5,5
|
96,0
|
8,4
|
181,5
|
|
|
Σ
|
|
6050,0
|
|
711,1
|
6761,2
|
|
1636,3
|
|
3091,4
|
|
|
|
|
|
|
|
|
|
|
|
|
|
|
Для построения графиков расхода
теплоносителя (cм. рис 1.5) определяем расход воды
на систему отопления и вентиляции при tн=+100С
и tн=40С

;
;

;
;

;
.6 Гидравлический расчет
магистральных теплопроводов двухтрубной водяной тепловой сети
Расчетная схема теплосети от источника теплоты
(ТЭЦ 2) до кварталов города (КВ) приведена на рис. 1.5. Для компенсации
температурных деформаций предусмотриваются сальниковые компенсаторы. Удельные
потери давления по главной магистрали принимаются в размере 20-50 Па/м.
Рис.1.5. Расчетная схема магистральной тепловой
сети.
Основной задачей гидравлического расчета
является определение диаметров трубопроводов, а также потерь давления на
участках тепловых сетей.
По результатам гидравлических расчетов
разрабатывают гидравлические режимы систем теплоснабжения, подбирают сетевые и
подпиточные насосы, авторегуляторы, дроссельные устройства, оборудование
тепловых пунктов.
При движении теплоносителя по трубам
полные потери давления DР
складываются из потерь давления на трение
и потерь давления в местных
сопротивлениях DРм
(1.30)
(1.31)
Где R - удельные потери давления,
Па/м, определяемые по формуле
, (1.32)
гдеl - коэффициент гидравлического
трения;- внутренний диаметр трубопровода, м;
r - плотность
теплоносителя, кг/м3;
w - скорость
движения теплоносителя, м/c;- длина трубопровода, м.
Потери
давления в местных сопротивлениях DРм определяют
по формуле
, (1.33)
гдеåx - сумма
коэффициентов местных сопротивлений.
Потери давления в местных сопротивлениях могут
быть также определены по следующей формуле
DРм
=
R Lэ,(1.34)
гдеLэ - эквивалентная длина местных
сопротивлений, которую определяют по формуле
(1.35)
Расчет выполним для подающего трубопровода.
Примем за главную магистраль наиболее протяженную и загруженную ветвь теплосети
от ИТ до КВ 18 (участки 20,19,17,15,12,9,7,4,2).
По таблицам гидравлического расчета, приведенным
в [2], на основании известных расходов теплоносителя, ориентируясь на удельные
потери давления R в пределах от 20 до 50 Па/м, определим для участков диаметры
трубопроводов dнхS, мм, фактические удельные потери давления R,
Па/м, скорости воды V, м/с.
По известным диаметрам на участках главной
магистрали определим сумму коэффициентов местных сопротивлений Sx
и их эквивалентные длины Lэ.
Далее определим приведенную длину участков Lп
п=L
+ Lэ (1.36)
Затем определим потери давления DP
на участке
DP = R × Lп (1.37)
Результаты гидравлического расчета сведены в
табл.1.7 и 1.8
Таблица 1.7 - Расчет эквивалентных длин местных
сопротивлений
|
№
уч-ка
|
Dн×S, мм
|
L,
м
|
Вид
местного сопротивления
|
ξ
|
Кол-во
|
Σξ
|
lэ,
м
|
Lэ,
м
|
|
|
|
|
|
|
|
|
|
|
20
|
1220×12
|
675
|
задвижка
|
0,5
|
1
|
3,9
|
265,98
|
1037,32
|
|
|
|
отвод
на 90˚
|
0,5
|
1
|
|
|
|
|
|
|
тройник
на проход
|
1
|
2
|
|
|
|
|
|
|
сал.
компенсатор
|
0,3
|
3
|
|
|
|
|
19
|
1020×11
|
180
|
тройник
на проход
|
1
|
1
|
2,1
|
127,05
|
266,805
|
|
|
|
внез.
сужение
|
0,5
|
1
|
|
|
|
|
|
|
сал.
компенсатор
|
0,3
|
2
|
|
|
|
|
17
|
1020×11
|
585
|
задвижка
|
0,5
|
1
|
1,5
|
90,75
|
136,125
|
|
|
|
тройник
на проход
|
1
|
1
|
|
|
|
|
15
|
1020×11
|
495
|
тройник
на проход
|
1
|
2
|
3,2
|
193,6
|
619,52
|
|
|
|
|
|
|
|
|
|
|
|
|
сал.
компенсатор
|
0,3
|
4
|
|
|
|
|
12
|
920×8
|
225
|
тройник
на проход
|
1
|
1
|
2,4
|
127,44
|
305,856
|
|
|
|
внез.
сужение
|
0,5
|
1
|
|
|
|
|
|
|
сал.
компенсатор
|
0,3
|
3
|
|
|
|
|
9
|
820×9
|
405
|
внез.
сужение
|
0,5
|
1
|
2,6
|
119,6
|
310,96
|
|
|
|
отвод
на 90˚
|
0,5
|
1
|
|
|
|
|
|
|
тройник
на проход
|
1
|
1
|
|
|
|
|
|
|
сал.
компенсатор
|
0,3
|
2
|
|
|
|
|
7
|
720×9
|
1035
|
внез.
сужение
|
0,5
|
1
|
4,4
|
171,16
|
753,104
|
|
|
|
отвод
на 90˚
|
0,5
|
2
|
|
|
|
|
|
|
тройник
на проход
|
1
|
2
|
|
|
|
|
|
|
сал.
компенсатор
|
0,3
|
3
|
|
|
|
|
4
|
720×9
|
522
|
отвод
на 90˚
|
0,5
|
1
|
2,1
|
81,69
|
171,549
|
|
|
|
тройник
на проход
|
1
|
1
|
|
|
|
|
|
|
сал.
компенсатор
|
0,3
|
2
|
|
|
|
|
2
|
630×8
|
517
|
внез.
сужение
|
0,5
|
1
|
3,1
|
101,99
|
316,169
|
|
|
|
тройник
на проход
|
1
|
2
|
0,3
|
2
|
|
|
|
|
1
|
426×7
|
45
|
внез.
сужение
|
0,5
|
1
|
1,8
|
36,36
|
65,448
|
|
|
|
отвод
на 90˚
|
0,5
|
1
|
|
|
|
|
|
|
сал.
компенсатор
|
0,3
|
1
|
|
|
|
|
|
|
задвижка
|
0,5
|
1
|
|
|
|
Таблица 1.8 - Гидравлический расчет
магистральных трубопроводов
|
Nуч
|
G,т/ч
|
Длина,
м
|
dн*s,
мм
|
w,
м/с
|
R,
Па/м
|
Rl,
Па
|
ΣRl,
Па
|
|
|
L
|
Lэ
|
Lп
|
|
|
|
|
|
|
1
|
2
|
3
|
4
|
5
|
6
|
7
|
8
|
9
|
10
|
|
Направление
20-19-17-15-12-9-7-4-2-1
|
|
20
|
6761,4
|
675
|
1037
|
1712
|
1220×12
|
1,76
|
20,2
|
34588,9
|
160914,2
|
|
19
|
4136,2
|
180
|
267
|
447
|
1020×11
|
1,56
|
19,8
|
8846,7
|
126325,3
|
|
17
|
3520,2
|
585
|
136
|
721
|
1020×11
|
1,3
|
13,7
|
9879,4
|
117478,6
|
|
15
|
3335,1
|
495
|
620
|
1115
|
1020×11
|
1,26
|
13,7
|
15268,9
|
107599,2
|
|
12
|
2523,5
|
225
|
306
|
531
|
920×8
|
1,13
|
11,7
|
6211,0
|
92330,2
|
|
9
|
2175,8
|
405
|
311
|
716
|
820×9
|
1,7
|
12,6
|
9021,1
|
86119,2
|
|
7
|
1714,5
|
1035
|
753
|
1788
|
720×9
|
1,7
|
21,6
|
38623,0
|
77098,1
|
|
4
|
1212,2
|
522
|
172
|
694
|
720×9
|
1,42
|
25,5
|
17685,5
|
38475,1
|
|
2
|
794,5
|
517
|
316
|
833
|
630×8
|
1,22
|
22,5
|
18746,3
|
20789,6
|
|
1
|
391,3
|
45
|
65
|
110
|
426x7
|
0,87
|
18,5
|
2043,3
|
2043,3
|
Найдем ориентировочные удельные потери давления
для ответвления с участками 9,10,11.
Коэффициент a, учитывающий долю потерь
давления на местные сопротивления, определяем по формуле:
;
Ориентируясь на R = 21Па/м,
определим по таблицам гидравлического расчета диаметры трубопроводов, удельные
потери давления R, скорости V, потери давления DР на участках 21,24,27,29,31.
Таблица 1.9 - Расчет эквивалентных
длин местных сопротивлений для ответвления с участками 21,24,27,29,31
|
№
уч-ка
|
Dн×S, мм
|
L,
м
|
Вид
местного сопротивления
|
ξ
|
Кол-во
|
Σξ
|
lэ,
м
|
Lэ,
м
|
|
|
|
|
|
|
|
|
|
|
21
|
820×9
|
428
|
задвижка
|
0,5
|
1
|
3,4
|
156,4
|
532
|
|
|
|
тройник
на проход
|
1
|
2
|
|
|
|
|
|
|
сал.
компенсатор
|
0,3
|
3
|
|
|
|
|
24
|
720×9
|
1215
|
тройник
на проход
|
1
|
2
|
4,4
|
171,16
|
753
|
|
|
|
отвод
на 90˚
|
0,5
|
2
|
|
|
|
|
|
|
внез.
сужение
|
0,5
|
1
|
|
|
|
|
|
|
сал.
компенсатор
|
0,3
|
3
|
|
|
|
|
27
|
630×8
|
585
|
задвижка
|
0,5
|
1
|
2,6
|
85,54
|
222
|
|
|
|
отвод
на 90˚
|
0,5
|
2
|
|
|
|
|
|
|
внез.
сужение
|
0,5
|
1
|
|
|
|
|
|
|
тройник
на проход
|
1
|
1
|
|
|
|
|
|
|
сал.
компенсатор
|
0,3
|
2
|
|
|
|
|
29
|
529×7
|
473
|
тройник
на проход
|
1
|
1
|
1,6
|
42,4
|
68
|
|
|
|
|
|
|
|
|
|
|
|
|
сал.
компенсатор
|
0,3
|
2
|
|
|
|
|
31
|
426×7
|
653
|
тройник
на проход
|
1
|
1
|
2,6
|
52,52
|
137
|
|
|
|
внез.
сужение
|
0,5
|
1
|
|
|
|
|
|
|
отвод
на 90˚
|
0,5
|
1
|
|
|
|
|
|
|
сал.
компенсатор
|
0,3
|
2
|
|
|
|
Таблица 1.10 - Гидравлический расчет ответвления
с участками 21,24,27,29,31
|
Nуч
|
G,т/ч
|
Длина,
м
|
dн*s,
мм
|
w,
м/с
|
R,
Па/м
|
Rl,
Па
|
ΣRl,
Па
|
|
|
L
|
Lэ
|
Lп
|
|
|
|
|
|
|
1
|
2
|
3
|
4
|
5
|
6
|
7
|
8
|
9
|
10
|
|
Направление
21-24-27-29-31
|
|
21
|
2625,2
|
428
|
532
|
960
|
820×9
|
1,55
|
25,7
|
24665,83
|
119212,7
|
|
24
|
1978,8
|
1215
|
753
|
1968
|
720x9
|
1,5
|
28,3
|
55697,34
|
94546,85
|
|
27
|
1131,2
|
585
|
222
|
807
|
630×8
|
1,13
|
18,8
|
15179,2
|
38849,5
|
|
29
|
761,4
|
473
|
68
|
541
|
529x7
|
1,06
|
20,7
|
11195,39
|
23670,31
|
|
31
|
370,1
|
653
|
137
|
790
|
426×7
|
0,81
|
15,8
|
12474,92
|
12474,92
|
|
|
|
|
|
|
|
|
|
|
|
|
Определим невязку потерь давления на ответвлении
с участками 21,24,27,29,31.
1.7 Графики напоров для отопительного и летнего
периодов
Гидравлические режимы водяных тепловых сетей
(пьезометрические графики) следует разрабатывать для отопительного и
неотопительного периодов. Пьезометрический график позволяет: определить напоры
в подающем и обратном трубопроводах, а также располагаемый напор в любой точке
тепловой сети; с учетом рельефа местности, располагаемого напора и высоты
зданий, выбрать схемы присоединения потребителей; подобрать авторегуляторы,
сопла элеваторов, дроссельные устройства для местных систем теплоснабжения;
подобрать сетевые и подпиточные насосы. Пьезометрические графики строятся для
магистральных и квартальных тепловых сетей.
Пьезометрические графики построены для
статического и динамического режимов системы теплоснабжения. За начало
координат в магистральных сетях принимают местоположение ТЭЦ. Построен профиль
трассы и высоты присоединенных потребителей (принята 9-ти этажная застройка).
За нулевую отметку оси ординат (оси напоров) принята отметка низшей точки
теплотрассы. Построена линия статического напора, величина которого должна быть
выше местных систем теплопотребления не менее чем на 5 метров, обеспечивая их
защиту от "оголения", и в то же время не должна превышать максимальный
рабочий напор для местных систем.
При построении пьезометрического графика для
квартальных сетей следует учитывать, что квартальные сети являются продолжением
магистральных сетей. Располагаемый напор в начале квартальных сетей (40м)
должен быть использован на потери давления в подающей и обратной магистрали
квартальных сетей (»10м), на потери напора в элеваторных
узлах системы отопления потребителей кварталов (20-30м) и на потери напора в
системе отопления (1-2м). Следует учитывать, что линии напоров пьезометрического
графика квартальных сетей и при статическом и при динамическом режимах будут
продолжением соответствующих линий пьезометрического графика магистральных
тепловых сетей.
Для построения пьезометрического графика для
неотопительного периода необходимо определить потери давления в главной
магистрали при пропуске максимального расхода сетевой воды на горячее
водоснабжение.
(1.38)
где
- потери напора в трубопроводах в
отопительный период, м;
- суммарный расход сетевой воды на
головном участке системы теплоснабжения в отопительный период;
- максимальный расход сетевой воды
на горячее водоснабжение в неотопительный период, определяемый
по формуле:
=
м
.8 Подбор сетевых и подпиточных насосов
В водяных сетях насосы используются для создания
заданных давлений и подачи необходимого количества теплоносителя к потребителям
тепла.
Сетевые насосы создают циркуляцию воды в системе
теплоснабжения, а подпиточные компенсируют утечки воды и поддерживают
необходимый уровень пьезометрических линий, как при статическом, так и при
динамическом режимах. Количество сетевых насосов принимается не менее двух, из
которых один резервный.
В закрытой системе теплоснабжения
устанавливается не менее двух подпиточных насосов, из которых один является
резервным.
По пьезометрическому графику определяется напор,
который должен развивать сетевой насос, м
, (1.39)
Где
- потери напора в теплофикационном
оборудовании источника теплоты, м;
- потери напора в подающем и
обратном трубопроводе тепловой сети, м;
- потери напора в системах
теплопотребления, м
м
Подача сетевого насоса
должна
обеспечивать расчетный расход теплоносителя
:
т/ч (1.40)
Принимаем к установке по параллельной схеме 3
рабочих и один резервный насосы СЭ-2000-100 обеспечивающие требуемые параметры.
В летнее время принимаем сетевой
насос по напору
м и подаче
т/ч:
м
Принимаем для неотопительного периода 3 рабочих
и 1 резервный насосы СЭ-1250-70-11
Для восполнения утечек воды из тепловой сети
предусматривается подпиточная линия с насосными установками.
Подача подпиточного насоса
в закрытой
системе теплоснабжения должна компенсировать утечку теплоносителя
. Согласно
[2] прил.23 величина утечки принимается в размере 0,2% от объема системы
теплоснабжения
, м3
(1.41)
где
- суммарный тепловой поток, Мвт;-
удельный объем системы, принимается равным 65 м3/МВт
м3
Величина утечки
определяется
по формуле, м3/ч
(1.42)
Требуемый напор подпиточного насоса
Hпн, м определяется по формуле
(1.43)
где
- потери напора в подпиточной
линии, принимаются равными 10- 20 м;- превышение отметки баков с подпиточной
водой по отношению к оси подпиточных насосов, м.
м
К установке принимается 1 насос марки
СЭ-800-55-16 и один резервный той же марки.
2. Теплоснабжение квартала
.1 Определение тепловых нагрузок для
зданий расчётного квартала
Тепловые потоки на отопление и
вентиляцию зданий при известных наружных строительных объемах, Vзд., м3, удельных отопительных qот, Вт/(м3оС), и вентиляционных нагрузок qвент., Вт/(м3оС), определяются по формулам:
тепловой сеть водяной
здание
Qo max=qот
·Vзд·( ti-to )·a (2.1)v max=qвент·Vзд
·( t i-to) (2.2)
где а - поправочный коэффициент к
величине qот, принимаемый по
приложению 4 /1/; а=0,95;
to - расчетная температура
наружного воздуха для проектирования отопления,°С
ti - средняя температура
внутреннего воздуха отапливаемых зданий, принимаемая по приложению 4 /1/.
Среднечасовой тепловой поток, кВт,
на горячее водоснабжение жилых и общественных зданий определяется формуле:
Qhm=1,16·1,2·m·
(55 - tc) / Т, (2.3)
где
-
норма расхода воды, л/сут;
m
- количество людей;
Т - период пребывания
людей или период их работы.
Максимальный тепловой
поток Qhmax, кВт, на горячее водоснабжение
жилых и общественных зданий определяется формуле:
Qh max=
1,16·1,1·m
(55
- tc) (2.4)
где
-
норма расхода воды в час наибольшего водопотребления, л/ч.
2.2 Определение расчётных расходов теплоносителя
для зданий расчётного квартала
Расчетный расход сетевой воды, кг/ч, для
определения диаметров труб в водяных квартальных тепловых сетях при
качественном регулировании отпуска теплоты следует определять отдельно для
отопления, вентиляции и горячего водоснабжения по формулам согласно [8]:
а) на отопление
(2.5)
б) на вентиляцию
(2.6)
в) на горячее водоснабжение в закрытых системах
теплоснабжения:
максимальный, при двухступенчатых схемах
присоединения водоподогревателей:
(2.7)
с - теплоёмкость, принимается равной 4,198
кДж/(кг °С).
В неотопительный период максимальный
расход на ГВС при параллельной схеме присоединения водоподогревателей:
(2.8)
Суммарный расход сетевой воды
определяется в зависимости от способа регулирования. При регулировании по
совмещенной нагрузке отопления и ГВС
, суммарный расход вычисляется по
формуле:
(2.9)
а при
(2.10)
Таблица 2.1 - Расчетные расходы сетевой воды для
квартальной тепловой сети
|
Nзд
|
Наим.
зданий
|
Отопление
|
Вентиляция
|
Горячее
водоснабжение
|
|
|
Qо,
кВт
|
Gо,
т/ч
|
Qv,
кВт
|
Gv,
т/ч
|
Qhmax,
кВт
|
Ghmax,
т/ч
|
Qhлmax,
кВт
|
Ghлmax,
т/ч
|
ρ
|
|
1
|
2
|
3
|
4
|
5
|
6
|
7
|
8
|
9
|
10
|
11
|
|
1
|
Жилой
дом 80 кв.
|
388,7
|
4,45
|
-
|
-
|
193,6
|
3,10
|
123,93
|
2,66
|
0,50
|
|
2
|
Жилой
дом80 кв.
|
388,7
|
4,45
|
-
|
-
|
193,6
|
3,10
|
123,93
|
2,66
|
0,50
|
|
3
|
Жилой
дом 80 кв.
|
388,7
|
4,45
|
-
|
-
|
193,6
|
3,10
|
123,93
|
2,66
|
0,50
|
|
4
|
Жилой
дом80 кв.
|
388,7
|
4,45
|
-
|
-
|
193,6
|
3,10
|
123,93
|
2,66
|
0,50
|
|
5
|
Жилой
дом 60 кв.
|
284,4
|
3,26
|
-
|
-
|
145,1
|
2,32
|
92,86
|
1,99
|
0,51
|
|
6
|
Жилой
дом 90 кв.
|
436,8
|
5,00
|
-
|
-
|
217,6
|
3,48
|
139,26
|
2,99
|
0,50
|
|
7
|
Жилой
дом 90 кв.
|
436,8
|
5,00
|
-
|
-
|
217,6
|
3,48
|
139,26
|
2,99
|
0,50
|
|
8
|
Жилой
дом 90 кв.
|
436,8
|
5,00
|
-
|
-
|
217,6
|
3,48
|
139,26
|
2,99
|
0,50
|
|
9
|
Жилой
дом 55 кв.
|
260,6
|
2,99
|
-
|
-
|
129,8
|
2,08
|
83,07
|
1,78
|
0,51
|
|
10
|
Жилой
дом 160 кв.
|
702,2
|
8,04
|
-
|
-
|
385,2
|
6,17
|
246,53
|
5,30
|
0.4
|
|
11
|
Магазин
прод. 460 кв. м.
|
40,2
|
0,46
|
49,4
|
0,65
|
16,1
|
0,26
|
10,30
|
0,22
|
0,31
|
|
12
|
Кинотеатр
на 800 мест
|
219,9
|
2,52
|
291,1
|
3,85
|
68,0
|
1,09
|
43,52
|
0,93
|
0,45
|
|
13
|
Баня
на 100 мест
|
91,2
|
1,04
|
348,0
|
4,60
|
671,6
|
10,75
|
429,82
|
9,23
|
7,36
|
|
14
|
Прачечная
1000 кг/смена
|
94,1
|
1,08
|
209,3
|
2,77
|
125,9
|
2,02
|
80,58
|
1,73
|
1,34
|
|
4557,8
|
52,21
|
897,8
|
11,87
|
2969,1
|
47,53
|
1900,19
|
40,82
|
|
Список использованных источников
1. СНиП
23-01-99 Строительная климатология /Госстрой России. - М.: 2000. - 66 с.
2. СНиП
2.01.07- 86* Тепловые сети /Минстрой России. - М.: ЦПП,
1994. - 48 с.
3. СНиП
2.04.14-88* Тепловая изоляция оборудования и трубопроводов
/Госстрой России.- М.: ГУП ЦПП, 1998. - 28 с.
4. Водяные
тепловые сети: Справочное пособие по проектированию /И.В. Беляйкина, В.П.
Витальев, Н.К. Громов и др.: Под ред. Н.К. Громова, Е.П. Шубина. - М.:
Энергоатомиздат, 1988. - 376 с.
5. Наладка
и эксплуатация водяных тепловых сетей.: Справочник / В.И. Манюк, Я.И.
Каплинский, Э. Хиж и др. - изд., 3-е переработ. и доп. - М.: Стройиздат, 1988.
- 432 с.
6. Справочник
проектировщика под ред. А.А. Николаева. - Проектирование тепловых сетей.-М.:
1965-360с.
7. ГОСТ
21.605-82. Сети тепловые. Рабочие чертежи. М.: 1982-10 с.
. А.К. Тихомиров. Теплоснабжение
района города: учеб. пособие - Хабаровск: Изд-во Тихоокеан. гос. университета
2006г. - 135с.