Централизованная система теплоснабжения города Калуга
1. Описание системы теплоснабжения
В данном проекте будет разработана водяная
двухтрубная система централизованного теплоснабжения жилищно-коммунальной
застройки района города, источником теплоты для которой будет является ТЭЦ.
Централизованная система теплоснабжения состоит
из следующих основных элементов:
· источник теплоты
(ТЭЦ);
· тепловые сети;
· абонентские вводы,
· местные системы теплопотребления
(систем отопления, вентиляции и горячего водоснабжения).
На ТЭЦ осуществляется комбинированная выработка
тепла и электроэнергии, обеспечивающая существенное снижение удельных расходов
топлива при получении электроэнергии. Преимущества теплофикации и
централизованного теплоснабжения наиболее ярко проявляются при точечной
концентрации тепловых нагрузок, что характерно для современных развивающихся
городов.
В состав тепловой сети входят теплопроводы,
компенсаторы, воспринимающие температурные удлинения, отключающее, регулирующее
и предохранительное оборудование, устанавливаемое в специальных камерах,
районные и местные тепловые пункты (ЦТП).
Теплоноситель (вода с рабочими параметрами τ1=130ºС
и τ2=70ºС)
от источника теплоты транспортируют по теплопроводам. Горячая вода поступает к
потребителям по подающему теплопроводу, отдает в теплообменном аппарате свое
тепло и после этого возвращается на ТЭЦ по обратному теплопроводу. Таким
образом, теплоноситель непрерывно циркулирует между источником теплоты и
потребителем, транспортируя необходимое количество тепла. Схемы транспорта
тепла от источника до потребителей зависят от вида теплоносителя, взаимного
размещения источника тепла и потребителей и характера изменения тепловой
нагрузки.
Теплопроводы прокладываются в грунте в
непроходных каналах. Для уменьшения потерь теплоты при движении теплоносителя
по теплопроводам применяют специальную тепловую изоляцию из пенопласта ФРП-1 и
резопена М75.
2. Климатологические
данные города
Для города Калуга [1]:
1. расчетная температура наружного воздуха
для проектирования отопления (температура наиболее холодной пятидневки) tн.о=-27°С;
2. средняя температура нар. воздуха за
отопительный период tоср=-3,5°С;
. продолжительность отопительного
периода nо=197
суток;
. среднегодовая температура грунта на
глубине вероятной прокладки теплопроводов tг=6°С;
. продолжительность стояния температур
наружного воздуха с интервалом 5°С в течение отопительного периода (таблице
2.1);
Таблица 2.1
|
Продолжительность
стояния n,час
|
Температура
наружного воздуха,ºС
|
|
-35...-30
|
-30...-25
|
-25..-20
|
-20...-15
|
-15...-10
|
-10..-5
|
-5...-0
|
0…+5
|
0…+8
|
|
n
|
6
|
17
|
89
|
258
|
478
|
841
|
1250
|
1456
|
741
|
|
∑n
|
6
|
23
|
112
|
370
|
848
|
1689
|
2939
|
4395
|
5136
|
6. повторяемость
направлений ветра за январь
Таблица 2.2
|
С
|
СВ
|
В
|
ЮВ
|
Ю
|
ЮЗ
|
З
|
СЗ
|
|
7
|
10
|
14
|
14
|
13
|
22
|
14
|
8
|
На основании данных таблицы 2.2 строим розу
ветров (графическая часть лист1) и определяем положение ТЭЦ.
3. Определение
расчетных тепловых нагрузок района города на отопление, вентиляцию и горячее
водоснабжение
Расчетные расходы теплоты на отопление,
вентиляцию и горячее водоснабжение определяют для каждого квартала города по
укрупненным показателям, согласно [2, п. 2.4].
Максимальный тепловой поток, Вт, на отопление
жилых и общественных зданий:
, Вт
где qо - укрупненный показатель
максимального теплового потока на отопление жилых зданий на 1 м2 общей
площади, Вт/м2. Принимаем qо=82,2 Вт/м2 [2]
А - общая площадь жилых зданий, м2;
К1 - коэффициент, учитывающий
тепловой поток на отопление общественных зданий, К1 = 0,25.
Общую площадь жилых зданий А, м2,
определяют, исходя из жилой площади Fж
и безразмерного планировочного коэффициента квартиры K,
который принимается равным 0,7.
A= Fж/
K, м2
Число жителей определяется, исходя из плотности
населения Рн, чел/га, принимают в зависимости от этажности застройки
[3, табл. 4.1], и площади квартала Fкв,
га.
Жилая площадь квартала Fж,
м2, определяется по формуле:
ж=Р·Fкв
где Р - плотность жилого фонда, м2/га.
Число жителей m,
чел, определяется по выражению:
= Fж/
fж
, чел
где fж
- норма жилой площади на одного человека,м2. Принимаем fж=9
м2.
Для квартала №1 с 9-этажной застройкой Р=4200
чел/га, площадь его равна Fкв=4,48
га.
ж
=4200·4,48=18816 м2;
A=18816/0,7=26880 м2;
m=18816/9=2091 чел.
Qо max=88,2·26880(1+0,25)/1000=2762
кВт.
Максимальный тепловой поток, Вт, на вентиляцию
общественных зданий:
в
max=qо·A·K1·K2
где K2
- коэффициент, учитывающий тепловой поток на вентиляцию общественных зданий.
Принимаем К2 = 0,6.
Для квартала №1:
в max=82,2·26880·0,25·0,6/1000=331
кВт.
Средний тепловой поток, Вт, на горячее
водоснабжение жилых и общественных зданий:
hm=qh
·m,
Вт
где qh
-
укрупненный показатель среднего теплового потока на горячее водоснабжение на
одного человека, принимаемый по [2, прил. З]. Принимаем qh
=376 Вт/чел;
m - число
жителей в квартале.
Для квартала №1:
hm=331·2091/1000=786
кВт.
Максимальный тепловой поток, Вт, на горячее
водоснабжение жилых и общественных зданий:
h
max=2,4Qhm
, Вт
Для квартала №1:
h
max=2,4·786=1886
кВт.
Определяя расчетный расход теплоты для района
города, учитывают, что при транспорте теплоносителя происходят потери теплоты в
окружающую среду, которые принимаются равными 5% от тепловой нагрузки.
Расчет теплопотребления в кварталах района
города представлен в таблице 3.1.
|
Расчёт
теплопотребления в кварталах
|
|
№
квартала
|
Этаж-ность
|
Площадь
квартала
|
Плотность
жилого фонда Р
|
Жилая
площадь
|
Общая
площадь
|
Число
жителей
|
Расходы
теплоты, кВт
|
|
|
|
|
|
|
|
Qоmax
|
Qvmax
|
Qhm
|
Q
|
|
1
|
9
|
4,48
|
4200
|
18816
|
26880
|
2091
|
2762
|
331
|
786
|
3879
|
|
2
|
8
|
8,31
|
3800
|
31578
|
45111
|
3509
|
4635
|
556
|
1319
|
6511
|
|
3
|
7
|
10,06
|
3600
|
36216
|
51737
|
4024
|
5316
|
638
|
1513
|
7467
|
|
4
|
5
|
13,5
|
3200
|
43200
|
61714
|
4800
|
6341
|
761
|
1805
|
8907
|
|
5
|
8
|
12
|
3800
|
45600
|
65143
|
5067
|
6693
|
803
|
1905
|
9402
|
|
6
|
9
|
10,8
|
4200
|
45360
|
64800
|
5040
|
6658
|
799
|
1895
|
9352
|
|
7
|
8
|
8,58
|
3800
|
32604
|
46577
|
3623
|
4786
|
574
|
1362
|
6722
|
|
8
|
6
|
7,4
|
3400
|
25160
|
35943
|
2796
|
3693
|
443
|
1051
|
5187
|
|
9
|
5
|
17,28
|
3200
|
55296
|
78994
|
6144
|
8117
|
974
|
2310
|
11401
|
|
10
|
7
|
12,25
|
3600
|
44100
|
63000
|
4900
|
6473
|
777
|
1842
|
9092
|
|
11
|
9
|
7,5
|
4200
|
31500
|
45000
|
3500
|
4624
|
555
|
1316
|
6495
|
|
12
|
8
|
8,98
|
3800
|
34124
|
48749
|
3792
|
5009
|
601
|
1426
|
7036
|
|
13
|
6
|
5,43
|
3400
|
18462
|
26374
|
2051
|
2710
|
325
|
771
|
3806
|
|
14
|
5
|
20,21
|
3200
|
64672
|
92389
|
7186
|
9493
|
1139
|
2702
|
13334
|
|
15
|
7
|
15,05
|
3600
|
54180
|
77400
|
6020
|
7953
|
954
|
2264
|
11171
|
|
16
|
9
|
10,05
|
4200
|
42210
|
60300
|
4690
|
6196
|
743
|
1763
|
8703
|
|
17
|
8
|
18
|
3800
|
68400
|
97714
|
7600
|
10040
|
1205
|
2858
|
14103
|
|
18
|
5
|
11,7
|
3200
|
37440
|
53486
|
4160
|
5496
|
659
|
1564
|
7719
|
|
19
|
8
|
7,5
|
3800
|
28500
|
40714
|
3167
|
4183
|
502
|
1191
|
5876
|
|
Итого:
|
111178
|
13341
|
31643
|
156163
|
|
С
учётом теплопотерь теплопроводами в размере 5% от Q расчётные расходы теплоты
составляют:
|
116737
|
14008
|
33225
|
163971
|
4. 4. Построение графика часовых
расходов теплоты на отопление, вентиляцию и горячее водоснабжение
После определения расчетного теплопотребления
строим графики часовых расходов теплоты на отопление и вентиляцию в зависимости
от температуры наружного воздуха и на горячее водоснабжение. По оси абсцисс
откладываем температуру наружного воздуха от tн=+8°С
до tн.о=-27°С,
по оси ординат - часовые расходы теплоты. Поскольку часовые расходы теплоты на
отопление и вентиляцию представляют собой линейные зависимости от температуры
наружного воздуха, то графики Qо=f(tн)
и Qв=f(tн)
строят по двум точкам:
1) при tн.о
Qо=
Qо max≈116,7
МВт;
в=
Qв max≈14
МВт;
Qhm
≈33,2
МВт
) при tн=+8
°С
расходы теплоты на отопление и вентиляцию определяют по формулам:
, МВт
, МВт
где ti
-
средняя температура внутреннего воздуха отапливаемых зданий (для жилых и
общественных зданий равна 18°С);
tо
- расчетная температура наружного воздуха для проектирования отопления, °С.
МВт
5. Определение годовых
расходов теплоты и построение графика годовых расходов теплоты на отопление,
вентиляцию и горячее водоснабжение по продолжительности стояния температур
наружного воздуха
Тепловая нагрузка на горячее водоснабжение -
круглогодовая и в течение отопительного периода она условно принимается
постоянной и не зависящей от температуры наружного воздуха, поэтому график
часового расхода теплоты на горячее водоснабжение представляет собой прямую,
параллельную оси абсцисс.
Суммарный график часовых расходов теплоты на
отопление, вентиляцию и горячее водоснабжение строится путем сложения
соответствующих ординат при tн=
+8 °С и tо=-27
0С.
График годового расхода теплоты по
продолжительности стояния температур наружного воздуха строится на основании
графика суммарных часовых расходов теплоты и состоит из двух частей: правой -
графика зависимости суммарных часовых расходов теплоты от температуры наружного
воздуха и левой - годового графика расхода теплоты ( рис.5.1), на котором по
оси ординат откладывается расход теплоты, а по оси абсцисс - число часов
стояния температур наружного воздуха (табл. 2.1).
В теплый период (диапазон продолжительности
стояния температуры наружного воздуха от 5136 до 8400 часов) нагрузки на
отопление и вентиляцию отсутствуют, остается только тепловая нагрузка на
горячее водоснабжение
, Вт, которая
определяется по выражению:
где Qhm
- суммарный средний тепловой поток на горячее водоснабжение жилых и
общественных зданий, МВт;
β - коэффициент,
учитывающий изменение среднего расхода горячей воды летом по сравнению с зимним
периодом, для жилищно-коммунального сектора β=0,8;
- температура
холодной воды в неотопительный период, принимаемая равной 150С;
- температура
холодной воды в отопительный период, принимается равной 50С.
МВт.
Из точек на правой части оси абсцисс графика
часового расхода тепла, соответствующих температурам +8, +5, 0, -5, -10, -15,
-20, -25, -270С восстанавливаем перпендикуляры до пересечения с
линией суммарного расхода тепла ΣQ.
Из полученных точек проводим горизонтальные прямые до пересечения с
перпендикулярами, восстановленными к левой части оси абсцисс из точек,
соответствующих продолжительности стояния температур наружного воздуха.
Соединив найденные точки, получаем искомый график годового расхода тепла за
отопительный период. Площадь, ограниченная осями координат Q-n
и кривой расхода теплоты, представляет собой годовой расход теплоты кварталами
района города.
6.
Обоснование метода регулирования отпуска теплоты и схемы подключения
потребителей горячей воды к наружной тепловой сети
В системах теплоснабжения с разнородными
тепловыми нагрузками применяют многоступенчатую систему регулирования отпуска
теплоты, имеющую следующий принцип функционирования:
центральное регулирование производят на ТЭЦ или
в котельной по преобладающей тепловой нагрузке района;
групповое (местное регулирование - в узлах
присоединения отдельных видов тепловых нагрузок;
индивидуальное регулирование - непосредственно у
теплопотребляющих приборов.
Применение многоступенчатого регулирования
приводит к снижению расхода теплоты на отопление за счет ликвидации явления
"перетопов" помещений зданий в диапазоне от +8°С до температуры
наружного воздуха, соответствующей точке излома графика температур воды tн’,
и к снижению расхода теплоносителя на единицу отпущенной теплоты.
В водяных тепловых сетях следует применять
центральное качественное регулирование отпуска теплоты путем изменения
температуры теплоносителя в зависимости от температуры наружного воздуха.
В водяных тепловых сетях принимают центральное
качественное регулирование отпуска теплоты по нагрузке отопления или по
совмещенной нагрузке отопления и горячего водоснабжения.
Если тепловая нагрузка на жилищно-коммунальные
нужды составляет менее 65% от суммарной тепловой нагрузки, а также при
отношении Qhm/Qоmax<0,15
, регулирование отпуска теплоты принимают по нагрузке отопления. При этом в тепловой
сети поддерживается отопительно-бытовой температурный график. В системах
теплоснабжения с жилищно-коммунальной нагрузкой более 65% от суммарной тепловой
нагрузки Qhm/Qоmax>0,15,
принимают центральное качественное регулирование отпуска теплоты по совмещенной
нагрузке отопления и горячего водоснабжения. При этом способе регулирования
отпуска теплоты в тепловой сети поддерживается повышенный температурный график,
который строится на основании отопительно-бытового температурного графика.
Применение данного метода регулирования
позволяет рассчитывать магистральные теплопроводы по суммарному расходу сетевой
воды на отопление и вентиляцию, не учитывая расход воды на горячее
водоснабжение. Для удовлетворения же нагрузки горячего водоснабжения
температура воды в подающем теплопроводе принимается выше, чем по отопительному
графику, и большинство потребителей системы отопления и горячего водоснабжения
должны присоединяться к тепловой сети по принципу связанной подачи теплоты. При
этом строительные конструкции зданий служат аккумуляторами теплоты,
выравнивающими неравномерность суточного графика тепловой нагрузки горячего
водоснабжения.
В нашем случае следовало бы применить
центральное качественное регулирование отпуска теплоты по совмещенной нагрузке
отопления и горячего водоснабжения с применением двухступенчатой
последовательной схемы присоединения потребителей к наружным тепловым сетям. Но
так как по заданию в проекте требуется применять двухступенчатую смешанную
схему присоединения, то расчет ведем по графику центрального качественного
регулирования отпуска теплоты по отопительной нагрузке.
Водоподогреватели горячего водоснабжения
присоединяются к тепловым сетям в зависимости от отношения максимальной
тепловой нагрузки горячего водоснабжения Qhmax
и расчетной отопительной нагрузке Qоmax:
Qh
max
=2,4·33,2=79,68
МВт;
.
- при
--
по двухступенчатой смешанной схеме с установкой регулятора температуры (РТ);
при остальных отношениях - по параллельной
схеме.
7. Расчет и построение
графика центрального качественного регулирования отпуска теплоты (ЦКР)
Построение графика центрального качественного
(ЦКР) регулирования отпуска теплоты по отопительной нагрузке основано на
определении зависимости температуры сетевой воды в подающей и обратной
магистралях от температуры наружного воздуха.
Для зависимых схем присоединения отопительных
установок к тепловым сетям температуру воды в подающей t1о
и обратной t2о магистралях в
течение отопительного периода, т.е. в диапазоне температур наружного воздуха
+8…tо,
рассчитывают по выражениям:
, 0С
, 0С
где Dt
- температурный напор нагревательного прибора, 0С:
где tЭ
-
температура воды в обратном трубопроводе после системы отопления при tо,
tЭ=950С;
Dt - расчетный перепад температур воды
в тепловой сети, 0С:
Dt = t1
- t2=130-70=60 0С
где t1
- температура воды в подающем трубопроводе тепловой сети при расчетной
температуре наружного воздуха tо,
t1 =130 0С;
t2
- температура воды в подающем трубопроводе тепловой сети после системы
отопления при tо,
t2 =70 0С;
Q - расчетный перепад
температур воды в местной системе отопления,
Q = tЭ
- t2=
95-70=25 0С.
Тогда
Задаваясь различными значениями tн
в пределах от +8 0С до tн.о,
определяем t1о и t2о
и строим отопительный график температур воды в тепловой сети (рис.7.1).
0C
0C
Результаты расчета сведены в таблице 7.1
Таблица 7.1
|
tн , 0С
|
+8
|
+5
|
0
|
-5
|
-10
|
-15
|
-20
|
-25
|
-27
|
|
, 0С
|
47,9
|
55,6
|
68
|
80
|
91,7
|
103,2
|
114,5
|
125,6
|
130
|
|
,0С
|
32
|
38,3
|
44
|
49,3
|
54,4
|
59,2
|
63,8
|
68,3
|
70
|
Так как по тепловым сетям одновременно подается
теплота на отопление, вентиляцию и горячее водоснабжение, для удовлетворения
тепловой нагрузки горячего водоснабжения необходимо внести коррективы в
отопительный график температур воды. Температура нагреваемой воды на выходе из
водоподогревателя горячего водоснабжения должна быть 60 - 650С,
поэтому минимальная температура сетевой воды в подающей магистрали принимается
равной 700С для закрытых систем теплоснабжения. Для этого из точки,
соответствующей 700С на оси ординат, проводим горизонтальную прямую
до пересечения с температурной кривой для подающей магистрали (точка А).
Температура наружного воздуха, соответствующая точке А называется точкой излома
графика, обозначается tи’=-1,50С.
Получившейся график температур сетевой воды в тепловой сети называется
отопительно-бытовым графиком.
8.
Определение расчетных расходов сетевой воды
Согласно [2] при качественном регулировании
отпуска теплоты расчетные расходы сетевой воды на отопление и вентиляцию, т/ч,
определяются по следующим выражениям:
, т/ч
, т/ч
где t1
и t2
- расчетные температуры сетевой воды соответственно в подающем и обратном
теплопроводах при tо,
0С;
Qо max,
Qв max
- соответственно максимальные тепловые потоки на отопление и вентиляцию при tо,
кВт;
с - удельная теплоемкость воды, кДж/(кг·К).
Так в целом для района города:
т/ч,
т/ч.
Расчетные расходы сетевой воды на горячее
водоснабжение, т/ч, зависят от схемы присоединения водоподогревателей и определяются
при двухступенчатых схемах по следующим выражениям:
среднечасовой:
, т/ч
- максимальный:
т/ч
где t1’
и t2’
-
температура воды в подающем и обратном теплопроводах в точке излома графика
температур воды, 0С.
Для всего района города:
т/ч
т/ч.
Определяем суммарный расчетный расход сетевой
воды, т/ч, в тепловой сети при регулировании по отопительной нагрузке:
Gd= Go max +Gв
max+K3·G3hm,
т/ч
где K3
- коэффициент, учитывающий долю среднего расхода воды на горячее водоснабжение,
принимается в зависимости от мощности системы теплоснабжения, для систем с
тепловым потоком больше ∑Q≥100МВт
K3=1,0.
d=1592+191+1·648,3=2431,4
т/ч.
Расчетный расход сетевой воды в двухтрубной водяной
тепловой сети в летний период:
GdS=β
G3h max , т/чdS=0,8·1380,3=1305
т/ч.
Аналогично расчету проведенному для всего района
города определим расходы для каждого квартала отдельно, а за тем просуммировав
проверим правильность расчета. Все расчеты приведены в таблице 8.1.
|
|
|
|
|
|
|
|
Таблица
8.1
|
|
Расходы
сетевой воды на отопление и вентиляцию
|
|
|
|
|
|
|
|
|
|
|
|
|
|
№
кв.
|
Qоmax,
кВт
|
Qvmax,
кВт
|
Qhm,
кВт
|
Qh
max, кВт
|
Q2h
max, кВт
|
Gоmax,
т/ч
|
Gvmax,
т/ч
|
Gсрhm,
т/ч
|
Gр,
т/ч
|
Gsd,
т/ч
|
|
|
|
|
|
|
|
|
|
|
|
|
1
|
2762
|
331
|
786
|
1886
|
41
|
39,6
|
4,7
|
16,1
|
60,4
|
32
|
|
2
|
4635
|
556
|
1319
|
3166
|
68
|
66,4
|
8,0
|
27,0
|
101,4
|
54
|
|
3
|
5316
|
638
|
1513
|
3631
|
78
|
76,1
|
9,1
|
31,0
|
116,3
|
62
|
|
4
|
6341
|
761
|
1805
|
4332
|
93
|
90,8
|
10,9
|
37,0
|
138,7
|
74
|
|
5
|
6693
|
803
|
1905
|
4572
|
98
|
95,8
|
11,5
|
39,0
|
146,4
|
79
|
|
6
|
6658
|
799
|
1895
|
4548
|
98
|
95,3
|
11,4
|
38,8
|
145,6
|
78
|
|
7
|
4786
|
574
|
1362
|
3269
|
70
|
68,5
|
8,2
|
27,9
|
104,7
|
56
|
|
8
|
3693
|
443
|
1051
|
2522
|
54
|
52,9
|
6,3
|
21,5
|
80,8
|
43
|
|
9
|
8117
|
974
|
2310
|
5544
|
119
|
116,2
|
13,9
|
47,3
|
177,5
|
95
|
|
10
|
6473
|
777
|
1842
|
4421
|
95
|
92,7
|
11,1
|
37,7
|
141,6
|
76
|
|
11
|
4624
|
555
|
1316
|
3158
|
68
|
66,2
|
7,9
|
27,0
|
101,1
|
54
|
|
12
|
5009
|
601
|
1426
|
3422
|
74
|
71,7
|
8,6
|
29,2
|
109,6
|
59
|
|
13
|
2710
|
325
|
771
|
1850
|
40
|
38,8
|
4,7
|
15,8
|
59,3
|
32
|
|
14
|
9493
|
1139
|
2702
|
6485
|
139
|
135,9
|
16,3
|
55,4
|
207,6
|
111
|
|
15
|
7953
|
954
|
2264
|
5434
|
117
|
113,9
|
13,7
|
46,4
|
173,9
|
93
|
|
16
|
6196
|
743
|
1763
|
4231
|
91
|
88,7
|
10,6
|
36,1
|
135,5
|
73
|
|
17
|
10040
|
1205
|
2858
|
6859
|
147
|
143,8
|
17,3
|
58,6
|
219,6
|
118
|
|
18
|
5496
|
659
|
1564
|
3754
|
81
|
78,7
|
9,4
|
32,0
|
120,2
|
65
|
|
19
|
4183
|
502
|
1191
|
2858
|
61
|
59,9
|
7,2
|
24,4
|
91,5
|
49
|
|
|
Итого
|
75943
|
1631,24
|
1592
|
191
|
648,3
|
2431,4
|
1305
|
9.
Выбор трассы и конструкции теплосети
Проектирование тепловых сетей начинается с
выбора трассы и способа их прокладки. Трасса прокладывается параллельно красным
линиям застройки улиц, дорогам и проездам, вне проезжей части. В целях
наибольшей экономичности принимаем тупиковую схему. При выборе трассы предусмотрен
один ввод тепловых сетей в каждый квартал, противоположно расположенные
кварталы подключены из одной тепловой камеры, при этом необходимо также
учитывать экономичность и надежность работы тепловых сетей. При трассировке
тепловой сети должны выдерживаться нормативные расстояния от их строительных
конструкций до зданий. Сооружений и инженерных коммуникаций.
По заданию принята подземная прокладка тепловой
сети, при которой применены унифицированные типовые конструкции сборных
железобетонных непроходных каналов, размеры которых зависят от диаметров
теплопроводов [3, табл. 4.6].
Выбор труб и арматуры при проектировании
осуществляется по рабочему давлению и температуре теплоносителя. Для тепловых
сетей рекомендуется применять электросварные стальные прямошовные трубы или со
спиральным швом:
для Dy
до
400 мм трубы ГОСТ 10705-91, ГОСТ 8732-78 сталь марки 10,20.
для Dy
от
500 до 800 мм - по ГОСТ 20295-85 сталь марки 17Г1С.
Соединяют трубы с помощью сварки. Основным видом
запорной арматуры являются стальные задвижки с выдвижным шпинделем с ручным
приводом при диаметре до 500 мм и электрическим при диаметре более 500 мм.
10.
Разработка монтажной схемы теплопроводов
теплоснабжение отопление
гидравлический изоляция
Монтажная схема разрабатывается после выбора
трассы тепловой сети зависимости от способа прокладки и предварительного
гидравлического расчета, по которому определяют диаметры теплопроводов.
Монтажная схема вычерчивается в две линии,
причем подающий теплопровод располагается с правой стороны по ходу движения
теплоносителя от источника теплоты. В местах ответвлений к кварталам или
зданиям предусмотрены тепловые камеры.
Составление монтажной схемы заключается в
расстановке на трассе тепловой сети неподвижных опор, компенсаторов и
запорно-регулирующей арматуры. На участках между узловыми камерами, то есть
камерами в узлах ответвлений, размещаем неподвижные опоры, расстояние между
которыми зависит от диаметра теплопровода, типа компенсатора и способа
прокладки тепловых сетей [3. табл.4.7]. В каждой узловой камере устанавливаем
неподвижную опору. На участке между двумя неподвижными опорами предусматриваем
компенсатор. Повороты трассы теплосети под углом 90-130° используем для
самокомпенсации температурных удлинений, а в местах поворотов под углом более
130° устанавливаем неподвижные опоры.
Камеры тепловых сетей могут выполняться из
сборных бетонных и железобетонных элементов, монолитными или из кирпича. Их
габаритные размеры определяют из условия удобства и безопасности обслуживания и
обеспечения нормативных расстояний между строительными конструкциями и
оборудованием [2, прил.7, табл.3].
На всех ответвлениях теплопроводов в камере
установлена отключающая арматура. Переход на другой диаметр труб осуществлен в
пределах камеры. Высота камеры обусловлена наличием задвижки на магистральном
трубопроводе. Минимальная высота камеры - 2 м. С целью уменьшения высоты камеры
и заглубления тепловых сетей задвижки в камерах УТ10 и УТ4 установлены под
углом 30°.
11. Гидравлический
расчет водяных тепловых сетей для зимнего периода
В задачу гидравлического расчета входит
определение диаметров теплопроводов, давления в различных точках сети и потерь
давления на участках. Последние устанавливают методом удельных потерь давления
на трение и приведенных длин. В курсовом проекте удельные потери давления в
магистральных трубопроводах принимаются в пределах 30-80 Па/м, для ответвлений
- по располагаемому давлению, но не более 300 Па/м.
Гидравлический расчет закрытой системы
теплоснабжения выполняется для подающего теплопровода, принимая диаметр
обратного теплопровода и падение давления в нем такими же, как и в подающем.
Расчет производим в следующей
последовательности:
) выбираем на трассе тепловых сетей расчетную
магистраль, наиболее протяженную и загруженную, соединяющую источник теплоты с
дальними потребителями;
) разбиваем тепловую сеть на расчетные участки,
определяем согласно таблице 8.1 пояснительной записки расчетные расходы
теплоносителя Gd
и измеряем по генплану длины участков;
) задавшись удельными потерями давления на
трение R
(30
- 80
Па/м), исходя из расходов теплоносителя на участках по номограммам,
составленным для труб с коэффициентом эквивалентной шероховатости Кэ=0,5
мм, находим диаметр теплопровода, действительные удельные потери давления на
трение и скорость движения теплоносителя, которая должна быть в пределах
0,58-3,5 м/с;
) определив диаметры расчетных участков тепловой
сети, разрабатываем монтажную схему теплопроводов, размещая по трассе запорную
арматуру, неподвижные опоры, компенсаторы;
) по монтажной схеме устанавливаем местные сопротивления
на расчетных участках и находим эквивалентную длину lэ
местных сопротивлений. Приведенную длину lпр
расчетного участка тепловой сети определяем как сумму:
lпр
= l +
lэ,
м
где l - фактическая длина участка, м.
) потери давления на расчетных участках тепловой
сети находим как:
, Па
) после чего вычисляем суммарные потери давления
в подающем теплопроводе расчетной магистрали;
) ответвления магистрали рассчитываем по
располагаемому перепаду давлений в точке присоединения ответвления к расчетной магистрали.
При этом невязка между потерями давления в ответвлениях и располагаемым
давлением не должна превышать 10%.
Расчетная схема теплосети представлена на
рисунке 11.1, а расчет приведен в таблице11.1.
Таблица 11.1
|
Гидравлический
расчёт водяных тепловых сетей
|
|
№
уч.
|
Gd
т/ч
|
D,
мм
|
ДнxS,
мм
|
R,
Па/м
|
v
м/с
|
l,
м
|
lэ,
м
|
lпр,
м
|
P,
кПа
|
H,
м
|
Н,
м
|
Примечания
|
|
|
|
|
|
|
|
|
|
|
|
|
|
|
Основная
магистраль
|
|
1
|
355,1
|
350
|
377х9
|
30,5
|
1,01
|
430
|
40,3
|
470,3
|
14344,15
|
1,43
|
1,43
|
|
|
2
|
565,8
|
400
|
426x7
|
36
|
1,23
|
170
|
74
|
244
|
8784
|
0,88
|
2,31
|
|
|
3
|
705,9
|
450
|
478x7
|
30
|
1,2
|
220
|
50,9
|
270,9
|
8127
|
0,81
|
3,13
|
|
|
4
|
956,2
|
450
|
478x7
|
56
|
1,62
|
370
|
102,7
|
472,7
|
26471,2
|
2,65
|
5,77
|
|
|
5
|
1057,6
|
500
|
529x7
|
37
|
1,45
|
325
|
63,3
|
388,3
|
14367,1
|
1,44
|
7,21
|
|
|
6
|
1234,3
|
500
|
529x7
|
54
|
1,7
|
1280
|
171
|
1451,0
|
78354
|
7,84
|
15,04
|
|
|
7
|
2431,7
|
600
|
630x7
|
82
|
2,36
|
300
|
126,2
|
426,2
|
34948,4
|
3,49
|
18,54
|
|
|
Ответвление
от магистрали Hрасп=Σ∆H1-6=15,04
м
|
|
8
|
211,7
|
250
|
273x8
|
68
|
1,15
|
430
|
27,3
|
457,3
|
31096,4
|
3,11
|
3,11
|
|
|
9
|
593,2
|
350
|
377х9
|
85
|
1,7
|
500
|
68
|
568,0
|
48280
|
4,83
|
7,94
|
|
|
10
|
912,3
|
450
|
478x7
|
56
|
1,55
|
420
|
100,4
|
520,4
|
29142,4
|
2,91
|
10,85
|
|
|
11
|
1197,4
|
450
|
478x7
|
89
|
2,1
|
240
|
98
|
338
|
30082
|
3,01
|
13,86
|
|
|
Невязка:
(15,04-14,03)/15,04*100%=
|
7,87
|
%
|
|
Ответвление
от магистрали Hрасп=Σ∆H1-2=2,31
м
|
|
12
|
140,1
|
250
|
273x8
|
51
|
0,78
|
470
|
18,6
|
488,6
|
24918,6
|
2,49
|
2,49
|
|
|
Невязка:
(2,31-2,49)/2,31*100%=
|
-7,74
|
%
|
12. Построение пьезометрического графика
давлений и выбор схем присоединения абонентов к теплосети
После выполнения гидравлического расчета водяных
тепловых сетей строим график давлений для расчетной магистрали. Напор, м,
отсчитанный от оси прокладки теплопровода, называется пьезометрическим, а
график давлений - пьезометрическим графиком (графиком напоров).
Пьезометрический график позволяет:
1) определить напор и располагаемый
напор в любой точке сети;
2) учесть взаимное влияние рельефа
местности, высоты присоединенных потребителей и потерь напора в сети при
разработке гидравлического режима;
) выбрать схемы присоединения
потребителей; подобрать сетевые и подпиточные насосы.
Пьезометрический график строится для статического
и динамического режимов системы теплоснабжения. При его построении за начало
координат принимаем отметку оси сетевых насосов, условно считая, что она
совпадает с отметкой земли на выходе теплопровода из ТЭЦ. По оси ординат
откладываем значения напоров в подающей и обратной магистралях тепловой сети,
отметки рельефа местности и высоты присоединенных потребителей. По оси абсцисс
строим профиль местности и откладываем длину расчетных участков теплопровода.
Ввиду небольшого заглубления теплопроводов (около 1,5 м) ось теплотрассы
условно принимаем совпадающей с поверхностью земли.
После построения профиля местности и нанесения
высот присоединенных потребителей начинаем разработку графика напоров при
гидростатическом режиме, когда циркуляция теплоносителя в тепловой сети
отсутствует и напор в системе поддерживается подпиточными насосами. При таком
режиме график напоров представляет собой прямую, параллельную оси абсцисс.
Построение линии статического напора ведем из условия заполнения водой
отопительных установок всех потребителей и создания в их верхних точках
избыточного напора 5 м. Максимальный статический напор в тепловой сети при
присоединении отопительных установок по зависимым схемам не должен превышать 60
м из условия механической прочности чугунных отопительных приборов. Следует
стремиться к установлению одинакового статического напора для всей системы
теплоснабжения.
После построения линии статического напора
приступаем к разработке графиков напоров при гидродинамическом режиме, когда
циркуляция теплоносителя в тепловой сети осуществляется сетевыми насосами.
Построение пьезометрического графика при данном режиме начинаем с нанесения
линий максимальных и минимальных пьезометрических напоров для подающей и
обратной магистралей тепловых сетей. Максимальный напор в подающем теплопроводе
не должен превышать 160 м по условию прочности стальных трубопроводов и
арматуры. Минимальный напор должен обеспечивать невскипание теплоносителя при
его циркуляции в сети.
Для обратного теплопровода максимальный
пьезометрический напор при зависимых схемах присоединения потребителей не
должен превышать 60 м из условия механической прочности чугунных отопительных
приборов.
Минимальный пьезометрический напор для обратной
магистрали должен обеспечивать избыточный напор в сети для защиты системы от
подсоса воздуха и предупреждения кавитации насосов. При построении
пьезометрического графика необходимо учитывать, что требуемый напор у
всасывающего патрубка сетевого насоса составляет 5-25 м в зависимости от марки
насоса, поэтому принимаем его равным 10 м.
Располагаемый напор для квартала определяется
суммой потерь напора в водоподогревательной установке ЦТП, внутриквартальной
сети и в системе отопления, что составляет около 25-30 м при зависимой схеме
включения систем отопления. Принимаем равным 25 м.
На графике необходимо показать потери напора у
источника теплоты, которые принимаем равными 25 м.
Выбор схем присоединения систем отопления к
тепловой сети производят исходя из графика.
При зависимых схемах систем отопления с
элеваторным смешением необходимо, чтобы пьезометрический напор в обратной
магистрали при динамическом и статическом режимах не превышал 60 м, а
располагаемый на вводе в здание был не менее 15 м для поддержания требуемого
коэффициента смешения элеватора. Если при данных условиях располагаемый напор
на вводе в здание менее 15 м, в качестве смесительного устройства используют
центробежный насос, установленный на перемычке.
Для систем отопления, у которых напор в обратной
магистрали ввода теплосети при динамическом режиме превышает допустимое
значение, требуется установка насоса на обратной линии ввода.
13. Построение продольного профиля
Продольный профиль участка теплосети строится в
масштабах вертикальном 1:100 и горизонтальном 1:5000. Построение начинают с
определения минимальной глубины тепловых камер по трассе с учетом габаритных
размеров устанавливаемого в них оборудования. Следует стремиться и к
минимальной глубине заложения каналов или теплопроводов. С этой целью в
тепловых камерах допускается установка задвижек в горизонтальном положении или
под углом. Количество
сопряжения участков с обратными уклонами должно быть по возможности наименьшим.
Уклон теплопроводов независимо от способа прокладки должен составлять не менее 0,002.
На
продольном профиле показывают:
отметки поверхности земли;
отметки дна и потолка канала;
отметки дна камер;
уклон и длину участков тепловой сети;
диаметр теплопровода и тип канала.
Кроме того, дается развернутый план трассы с
указанием углов поворота, ответвлений, неподвижных опор и тепловых камер. В
самых низких точках теплопроводов предусматривают дренажные выпуски, а в самых
высоких - устройства для выпуска воздуха. При
построении продольного профиля высоту камеры рассчитывают в зависимости от
установленного в ней оборудования, при этом ее высота в свету от уровня пола до
низа выступающих должна приниматься не менее 2 м.
uде a
- расстояние от поверхности земли до верха перекрытия камеры. Принимаем a
=0,3м;
δ - толщина
плиты перекрытия камеры, δ=0,2
м;
b - расстояние от
маховика задвижки до перекрытия камеры, принимают в зависимости от диаметра
трубопроводов, м;
h - высота шпинделя
задвижки, которую принимают в зависимости от диаметра теплопровода, м;
c - расстояние от
оси теплопровода до пола канала, м;
d - расстояние от
оси теплопровода до дна камеры, м;
H - высота канала
примыкающего к камере, м;
L - высота камеры в
свету, м.
Все приведенные выше параметры принимаются по
[3, стр.361-364].
Произведем расчет камер:
УТ7:
Отметка поверхности земли 205,3 м. Для диаметра 600 мм с учетом толщины
изоляции принимаем канал КЛс 210-120, высота шпинделя задвижки h=2,13
м. Устанавливаем задвижку под углом 300:
h/=
h·sin300/=
2,13·0,5=1,065 м
Отметка дна камеры:
205,3-a-δ-b-h/-
d=205,3-0,3-0,2-0,4-1,065-0,82=202,52
м
Высота камеры: 205,3-202,52=2,78 м
Отметка пола канала УТ7: 202,52+0,5 =203,02 м.
Отметка потолка канала УТ7: 203,02+ H=203,02+1,2=204,22
м.
Принимая толщину перекрытия канала 0,1м находим
расстояние от поверхности земли до поверхности верха перекрытия канала:
205,3 - (204,22+0,1)=0,98 м > 0,5м
Зная отметки пола и потолка канала и расстояние
от УТ7 до ИТ (источника тепла). Задавшись уклоном i=0,004,
находим:
Отметку дна канала ИТ:
203,02+0,004·300=204,22 м
Отметку потолка канала:
,22+1,2=205,42 м.
Проверяем выдержано ли расстояние от поверхности
земли до поверхности канала: 206,5-(205,42+0,1)=0,98м>0,5м.
УТ5:
Отметка поверхности земли 200,28 м. Для диаметра 500 мм с учетом толщины
изоляции принимаем канал КЛС 210-120, высота шпинделя задвижки h=2,02
м. Устанавливаем задвижку под углом 300:
h/=
h·sin300/=
2,02·0,5=1,01 м
Отметка дна камеры:
,28-a-δ-b-h/-
d=200,28-0,3-0,2-0,4-1,01-0,785=197,59
м
Высота камеры: 200,28-197,59=2,69 м
Отметка пола канала УТ5: 197,59+0,78 =198,37 м.
Отметка потолка канала УТ5: 198,37+ H=197,37+1,2=199,57
м.
Принимая толщину перекрытия канала 0,1м находим
расстояние от поверхности земли до поверхности верха перекрытия канала:
200,28 - (199,57+0,1)=0,61 м > 0,5м
УТ3:
Отметка поверхности земли 201,52 м. Для диаметра 450 мм с учетом толщины
изоляции принимаем канал КЛС 210-120, высота шпинделя задвижки h=2,105
м. Устанавливаем задвижку под углом 300:
h/=
h·sin300/=
2,105·0,5=1,053 м
Отметка дна камеры
201,52-a-δ-b-h/-
d=201,52-0,3-0,2-0,3-1,053-0,765=198,9
м
Высота камеры: 201,52-198,9=2,62 м
Отметка пола канала УТ3: 198,9+0,65 =199,55 м.
Отметка потолка канала УТ3: 199,55+ H=199,55+1,2=200,75
м.
Принимая толщину перекрытия канала 0,1м находим
расстояние от поверхности земли до поверхности верха перекрытия канала:
201,52 - (200,75-0,1)=0,67 м > 0,5м
После ответвления в камере УТ3 диаметр
теплопровода меняется с 450мм на 350 мм. Для трубопровода 350 мм принимаем
канал КЛС 150-90. Отметка дна канала 199,55 м. Отметка потолка
канала:
199,55+Н=199,55+0,9=200,45 м.
Аналогично производим расчет остальных камер, а
для тех в которых не установлены задвижки задаемся высотой камеры в свету L=2,0
м .
14. Подбор основного оборудования
теплоподготовительной установки ТЭЦ (сетевых насосов на зимний и летний режимы
работы, подпиточных насосов)
Сетевые насосы
обеспечивают циркуляцию сетевой воды по замкнутому контуру. Подберем их для ТЭЦ
при условии, что потери напора в пиковых котлах и станционных коммуникациях
составляют 25 м, в подающих и обратных теплопроводах теплосети - 37,08 м, а
требуемый напор у абонентов - 25 м. Расход сетевой воды в зимний период Gd=2431,4
м3/ч, а в летний - GdS=1305
м3/ч.
Требуемый напор сетевых насосов Нн,
м, при суммарных расчетных расходах сетевой воды складывается из потерь напора
в подогревательной установке источника теплоты DHит,
суммарных потерь напора в подающем и обратном теплопроводах тепловой сети (от
источника теплоты до наиболее удаленного потребителя) DHl,tot
и потерь напора у абонента DHаб:
, м
м.
Подбор сетевых насосов производится по их
характеристикам [4]. По принятому напору и расчетной подаче определяем число
параллельно или последовательно работающих насосов, при этом минимальное
количество устанавливаемых насосов принимают по [2, п. 5.23].
По технической характеристике сетевых насосов
подбираем 2 наноса СЭ1250- 75. Включение в сеть - параллельное.
Характеристику насоса принимаем по [4].
Суммарная характеристика двух насосов при их параллельном присоединении
строится путем сложения подач при одинаковых напорах (рис. 11.1). К установке
принимают 3 насоса: 2 рабочих и 1 резервный.
Определяем характеристику сопротивления сети.
Производительность соответствует расчетному расходу на первом от ТЭЦ участке Gd=2431,4
м3/ч.
, м/(м6/ч2)
м/(м6/ч2)
Задаваясь различными расходами воды при
постоянной характеристике сопротивления сети, находим напор в ней (табл.14.1) :
Таблица 14.1
|
Gd, м3/ч
|
2600
|
2431,4
|
1800
|
1400
|
1000
|
600
|
400
|
|
Н,м
|
101,4
|
87,08
|
48,6
|
29,4
|
15
|
5,4
|
2,4
|
По полученным значениям строим характеристику
сети S. Точка А
характеризует параметры работы 2 насосов на данную сеть (рис. 14.1).
Требуемый напор сетевых насосов в летний период
находим по выражению:
,м,
м.
По летнему расходу и требуемому напору выбираем
1 насос Д2500-17. К установке принимают 2 насоса Д2500-17, один из которых
резервный (рис.14.1).
Подберем подпиточные насосы для нашей
системы тепловой мощностью 163,9 МВт. Статический напор в системе составляет 28
м. Уровень воды в подпитоных баках поддерживается на отметке 3 м по отношению к
оси подпиточных насосов, а потери напора в подпиточной линии равна 2 м.
Объем воды в системе теплоснабжения определяем
по формуле:
= Q(Vс
+ Vм
), м3
где Q
- мощность системы теплоснабжения, Q=163,9
МВт;
Vс
- удельный объём воды в тепловых сетях, Vc
=40 м3/МВт [5];
Vм -
удельный объем сетевой воды в системах отопления гражданских зданий, Vм
=
26 м3/МВт [5].
= 1163,9(40+26)=10817,4 м3.
Подача подпиточных насосов для закрытых систем
теплоснабжения определяется из условий восполнения утечки воды, принимаемой
равной 0,75% объема воды в теплопроводах теплосети, а также присоединенных к
ним системах отопления и вентиляции зданий:
Gп
=0,0075·10817,4=81 м3/ч.
Требуемый напор подпиточных насосов
устанавливается исходя из необходимости поддержания определенного статического
напора в тепловой сети и обеспечения условий невскипания воды в трубопроводе
тепловой сети и определяется:
, м
где Hст
-
статический напор в тепловой сети, Hст
=28 м;
Hб
-
высота установки подпиточных баков относительно оси подпиточных насосов,Hб
=3 м;
DHподп
- потери напора в подпиточной линии, DHподп
=2 м.
м.
По характеристике [4] выбираем насос К 90/35. К
установке принимаем 2 насоса К 90/35: 1 рабочий и 1 резервный.
Аварийная подпитка осуществляется водопроводной
водой:
=V·0,02
, м3/ч
G=10817,4·0,02=216,3
м3/ч.
Для аварийного режима принимаем к установке по
[4] подпиточный насос 5НДВ.
15. Подбор оборудования ЦТП квартала №1
Тепловой и гидравлический расчет
водоподогревательной установки сводится к определению расчетной поверхности
нагрева, выбора количества секций, а также гидравлического сопротивления
водоподогревателя по греющей и нагревающей воде.
Расчет водоподогревательной системы горячего
водоснабжения производиться для самого неблагоприятного режима,
соответствующего точке излома температурного графика. Для скоростных секционных
водоподогревателей следует принимать противоточную схему потоков
теплоносителей, при этом греющая вода из тепловой сети должна поступать в
межтрубное пространство.
В проекте применена двухступенчатая смешанная
схема присоединения водоподогревательной установки горячего водоснабжения.
Тепловая нагрузка на отопление квартала №1 Qо
max=2762
кВт, а на горячее водоснабжение Qhmax=1886
кВт. Температура сетевой воды, соответствующая точке излома графика,
,
.
Температура холодной и горячей воды tс=50С,
th=600С.
Расчетная температура сетевой воды
,
.
В
зимний период расход сетевой воды:
на отопление:
кг/ч
кг/ч.
на горячее водоснабжение:
кг/ч
кг/ч.
Расчетный расход на абонентский ввод:
Gаб
max= Gо
max+ Gз
h max, кг/чаб
max=39551+34278=73829 кг/ч
Расход нагреваемой воды для горячего
водоснабжения:
, кг/ч
кг/ч.
Температура нагреваемой воды на выходе из
подогревателя первой ступени:
, 0С
0С.
Теплопроизводительность подогревателей второй и
первой ступени:
, кВт
кВт;
, кВт
кВт.
Температура сетевой воды на выходе из
подогревателя первой ступени:
, 0С
Среднелогарифмические разности температур между
греющим и нагревательным теплоносителями в подогревателях первой и второй
ступеней:
,0С
0С;
,0С
0С.
Средние температуры сетевой и нагреваемой воды в
подогревателях первой и второй ступеней:
,0С
0С;
,0С
0С;
,0С
,0С;
,0С
0С.
Задавшись скоростью нагреваемой воды υтр=1,5м/с,
определяем требуемую площадь живого сечения трубного пространства
подогревателя:
, м2
м2.
К установке принимаем скоростной
водоподогреватель типа 10ОСТ 34-588-68 с техническими данными: длина секции l
=4000 мм, внутренний диаметр корпуса Di=168
мм, площадь поверхности нагрева одной секции Fсек=6,9
м2, диаметр трубок de/di=16/14мм,
количество трубок п=37, площадь живого сечения межтрубного пространства fм.тр=0,0122
м2, трубного пространства fтр=0,0057
м2. Эквивалентный
диаметр межтрубного пространства:
, мм
мм =0,0247 м.
Действительная скорость нагреваемой воды в
трубках подогревателя:
, м/с
м/с.
Скорость сетевой воды в межтрубном пространстве
водоподогревателя первой и второй ступени:
,м/с
м/с;
,м/с
м/с.
Коэффициент теплоотдачи от сетевой воды к
стенкам трубок в подогревателях первой и второй ступеней:
, Вт/(м2·0С)
Вт/(м2·0С);
, Вт/(м2·0С)
Вт/(м2·0С).
Коэффициент теплоотдачи от сетевой воды к
нагреваемой воде в водоподогревателях первой и второй ступеней:

,Вт/(м2·0С)
Вт/(м2·0С);
,Вт/(м2·0С)
Вт/(м2·0С).
Коэффициент теплоотдачи для подогревателей
первой и второй ступеней:
, Вт/(м2·0С)
, Вт/(м2·0С);
, Вт/(м2·0С)
Вт/(м2·0С).
Требуемая площадь поверхности нагрева
подогревателей первой и второй ступеней:
,м2
м2;
,м2
,м2.
Количество секций в подогревателях первой и
второй ступеней:
n1=F1/Fсек,
шт
n1=34,3/6,9=4,97≈5
шт;
n2=F2/Fсек,
шт
n2=44,1/6,9=6,4≈7
шт.
Потери давления в подогревателях первой и второй
ступеней:
,кПа
кПа;
,кПа
кПа;
,кПа
кПа;
,кПа
кПа.
В летний период расчетные параметры сетевой воды
составляют:
,
.
Температура холодной и горячей воды tсs=150С.
Расходы теплоты для горячего водоснабжения:
,кВт
кВт.
Расход нагреваемой воды:
, кг/ч
кг/ч;
Расход сетевой воды:
кг/ч
кг/ч.
Среднелогарифмическая разность температур
теплоносителей:
,0С
0С.
Средняя температура нагреваемой и сетевой воды в
подогревателе:
,0С
0С;
,0С
0С.
Скорость сетевой и нагреваемой воды в
подогревателе:
,м/с
м/с.
, м/с(15.40)
м/с.
Коэффициенты теплоотдачи:
,Вт/(м2·0С)
Вт/(м2·0С);
,Вт/(м2·0С)
,Вт/(м2·0С).
Коэффициент теплопередачи:
, Вт/(м2·0С)
Вт/(м2·0С).
Поверхность нагрева подогревателя в летний
период:
, м2
м2.
Количество секций подогревателя:
n=58,1/6,9=8,42≈9
секций.
В летний период включается только подогреватель
второй ступени. Причем к его 9 секциям добавляется еще одна.
Потери давления в летнее время:
,кПа
кПа;
, кПа
кПа.
16. Определение эффективности тепловой изоляции
При тепловом расчете требуется:
1) выбрать толщину основного слоя
изоляционной конструкции;
2) рассчитать потери теплоты
теплопроводами;
) определить тепловую эффективность
изоляции.
Исходные данные:
t1=1300С;
t2=700С;
тепловая изоляция - пенопласт ФРП-1 и резопен
марки М75;
грунт - маловлажный, коэффициент
теплопроводности грунтаlгр=1,74
Вт/(м2·0С);
температура грунта t0=60С;
покровный слой из бризола в 2 слоя, dпс
= 0,008 м, lпс=0,175 Вт/(м·0С).
При расчете потерь теплоты теплопроводами за
расчетную температуру теплоносителя для водяных тепловых сетей принимают
среднегодовую температуру сетевой воды.
Таблица 16.1
|
месяц
|
1
|
2ь
|
3
|
4
|
5
|
6
|
7
|
8
|
9
|
10
|
11
|
12
|
|
кол-во
дней
|
31
|
28
|
30
|
31
|
30
|
31
|
30
|
31
|
30
|
31
|
30
|
31
|
|
средняя
tн,ºС
|
-6,9
|
-6,3
|
-1,8
|
6,3
|
13,7
|
16,9
|
18,6
|
17,4
|
12,5
|
6,4
|
0,6
|
-4,3
|
|
τ1,0
|
100,5
|
98,7
|
85,2
|
70
|
40
|
70
|
70
|
70
|
70
|
70
|
77,8
|
92,7
|
|
τ2,0
|
53,0
|
52,4
|
47,4
|
42
|
42
|
42
|
42
|
42
|
42
|
42
|
44,7
|
50,2
|
Нормируемые плотности тепловых потоков для
трубопроводов dн=630
мм при среднегодовых температурах теплоносителя в подающем -
,
в обратном -
определяем по [7].
q1норм=96
Вт/м;
q2норм=41
Вт/м.
Коэффициент теплопроводности основного слоя
изоляции [7,прил.1]:
λиз.1=0,042+0,00023·tср.1
λиз.2=0,042+0,00023·tср.2
tср.1=(τср.1+40)/2=(78,8+40)=59,4
оС,
tср.2=(τср.2+40)/2=(45,1+40)=42,6
оС.
λиз.1=0,042+0,00023·59,4=0,06
Вт/(м ·оС),
λиз.2=0,042+0,00023·42,6=0,058
Вт/(м ·оС).
Определяем термическое сопротивление
теплопроводов:
, (м2·оС)/Вт
, (м2·оС)/Вт
(м2·оС)/Вт
(м2·оС)/Вт.
Толщину основного слоя изоляции определяем по
формуле:
, м
где В=dп/dн
-
отношение наружного диаметра изоляционного слоя к наружному диаметру трубы.
где α - коэффициент
теплоотдачи на поверхности покрытия принимается равным 8 Вт/(м2·0С).
Для подающего теплопровода:
.
По таблице натуральных логарифмов чисел находим
В=1,32 , тогда
м.
Для обратного теплопровода:
В=1,39.
м.
Принимаем толщину основного слоя изоляции для
обоих теплопроводов
м.
Тогда
dиз=0,63+2·0,12=0,87
м.
Термическое сопротивление основного слоя
изоляции для трубы:
,(м·0С)/Вт
(м·0С)/Вт,
(м·0С)/Вт.
Термическое сопротивление покровного слоя:
,(м·0С)/Вт
dпс=0,63+2·0,008=0,886
м.
(м·0С)/Вт.
Термическое сопротивление на поверхности
покрытия трубопровода:
,(м·0С)/Вт
(м·0С)/Вт.
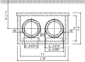
Рис. 16.1 Схема канальной прокладки двухтрубной
теплосети в канале ТЛ 240-180.
Термическое сопротивление теплопроводов
определяется по выражению:
1(2)=Rиз1(2).+Rп.с.+Rп,
(м·0С)/Вт
R1=0,86+0,017+0,05=0,927(м·0С)/Вт,
R2=0,95+0,017+0,05=1,017(м·0С)/Вт.
Эквивалентные наружный и внутренний диаметры
канала:
м,
м.
Рассчитываем термическое сопротивление на
поверхности канала :
(м·0С)/Вт
(м·0С)/Вт.
Термическое сопротивление стенок канала при
коэффициенте теплопроводности железобетонной стенки канала lк=1,6
Вт/(м·0С) составит:
,(м·0С)/Вт
(м·0С)/Вт.
Так как отношение глубины заложения оси
теплотрассы к наружному диаметру h/dн=1,7/0,63=2,70
больше 2, то термическое сопротивление грунта определяем по выражению:
,(м·0С)/Вт
lгр - коэффициент
теплопроводности грунта, зависящий от типа грунта и его влажности, равный 1,74
Вт/(м2*0С).
(м·0С)/Вт.
Суммарное сопротивление потоку тепла от воздуха
в канале в грунт:
R0=Rп.к.+Rк+Rгр,
(м·0С)/Вт
R0=0,019+0,016+0,250=0,285(м·0С)/Вт.
Температура воздуха в канале определяется по
выражению:
,0С
0С.
Удельные потери теплоты подающим и обратным
изолированными трубопроводами определяются:
,Вт/м
Вт/м;
, Вт/м
Вт/м.
Суммарные удельные потери теплоты:
из=q1+q2,
Вт/м
qиз=57,6+19,4=77
Вт/м.
При условии неизолированных теплопроводов
суммарное термическое сопротивление будет равно термическому сопротивлению на
поверхности теплопровода:
,(м·0С)/Вт
(м·0С)/Вт.
Температура воздуха в канале при неизолированных
трубопроводах:
, 0С
0С.
Удельные потери тепла неизолированными
теплопроводами:
,Вт/м
Вт/м,
, Вт/м
Вт/м.
Суммарные удельные потери теплоты
неизолированными трубопроводами:
qнеиз.=q1’=358,7
Вт/м,
Эффективность тепловой изоляции:
Список использованной литературы
1.
СНиП
2.01.01-82 "Строительная климатология и геофизика" - М.: Стройиздат,
1983.
2.
СНиП
2.04.07-86 "Тепловые сети" /Госстрой СССР - М.: ЦИТП Госстрой СССР,
1987.
3.
Б.М
Хрусталев, Ю.Я Кувшинов, В.М Копко "Теплоснабжение и вентиляция. Курсовое
и дипломное проектирование" - М.: Ассоциация строительных вузов, 2005.
4.
В.
И. Манюк, Я. И. Каплинский, Э. Б. Хиж и др. "Наладка и эксплуатация
водяных тепловых сетей" - М.: Стройиздат, 1988.
5.
В.Е.Козин
"Теплоснабжение - М.: Высшая школа, 1980.
6.
СНиП
2.04.14-88 "Тепловая изоляция оборудования и трубопроводов" /
Госстрой СССР - М.: ЦИТП Госстроя СССР, 1989.
7.
В.М.
Копко "Теплоизоляция трубопроводов теплосетей" - Минск: Технопринт,
2002.