Оборудование для измельчения и дробления

  • Вид работы:
    Реферат
  • Предмет:
    Другое
  • Язык:
    Русский
    ,
    Формат файла:
    MS Word
    151,66 Кб
  • Опубликовано:
    2015-05-17
Вы можете узнать стоимость помощи в написании студенческой работы.
Помощь в написании работы, которую точно примут!

Оборудование для измельчения и дробления

Министерство образования и науки Российской Федерации

Федеральное государственное бюджетное образовательное учреждение высшего профессионального образования

"Восточно-Сибирский Государственный Университет Технологий и Управления"

Кафедра: "ПСМИ"





Реферат

на тему: "Оборудование для измельчения и дробления"


Выполнил:

студент гр. Б332-31

Мижидон Чингис

Проверил преподаватель:

Лхасаранов С. А.




г. Улан-Удэ

г.

Содержание

Введение

. Назначение, устройство и работа машины. Правила технической эксплуатации

. Общие сведения и классификация бегунов

. Конструкция, принцип действия и описание процессов, происходящих в машине

. Расчёт основных параметров

. Виды и характер износа деталей машины

. Экономическая целесообразность восстановления деталей

Список использованной литературы

Введение

Многообразие измельчаемых материалов по их свойствам и преследуемым промышленным целям этого процесса приводит к большому количеству различных конструкций дробильно-помольных машин и установок.

Все применяемые машины для измельчения материалов разделяют на две группы: дробилки и мельницы.

Дробилки - это машины, которые применяются для дробления сравнительно крупных кусков материала, начальный размер 100-1200 мм, размер кусков конечного продукта 250-3 мм. Дробилки применяются в горнодобывающей, горнорудной, строительной, химической и других отраслях промышленности для крупного, среднего и мелкого дробления различных горных пород. Степень измельчения в дробилках находится в пределах 3-20.

Мельницы предназначаются для получения тонко измельченного порошкообразного материала. Они применяются при грубом, тонком и сверхтонком помоле известняка, мела, мрамора, глины, угля, клинкера и других материалов, при этом размер начальных кусков равен 2-20 мм, а размер частиц конечного продукта составляет от 0,1-0,3 мм до долей микрометра.

По конструкции и принципу действия различаются следующие виды дробилок: щековые (дробление происходит между подвижной и неподвижной щеками), конусные (раздавливание материала и частичное его изгибание происходят между двумя конусами), валковые (материал раздавливается между двумя валками, вращающимися навстречу друг другу), бегуны (измельчение материала происходит между вращающимися катками и чашей (подвижной или неподвижной) путем раздавливания и истирания.), дробилки ударного действия.

По сравнению с другими машинами для измельчения материала, например валковыми дробилками, в общем случае бегуны менее эффективны. Поэтому их следует применять только тогда, когда это вызывается специальными технологическими требованиями, когда наряду с измельчением необходимо обеспечить уплотнение, растирание, обезвоздушивание массы (например, при переработке глины).

1.     
Назначение, устройство и работа машины. Правила технической эксплуатации

Бегуны размалывающие модели 1А18М непрерывного действия предназначены для размалывания (измельчения) сухой глины, угля полевого шпата и других сухих материалов, применяемых для приготовления формовочных и стержневых смесей.

дробилка бегун износ деталь

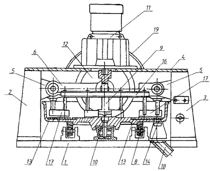
Бегуны состоят из следующих основных сборочных единиц: нижней плиты основания (1), двух стоек левой (2) и правой (3), скреплённых сварной траверсой (4), образуя собой замкнутый жесткий остов на котором монтируются все узлы и механизмы бегунов.

В правую стойку вмонтировано электрооборудование для чего имеется соответствующая ниша. На приливах (5) левой и правой стоек монтируются рычаги (6) катков (12) и перемычка (16) для крепления отвалов (17).

На основной плите смонтирована центральная опора чаши (7) и её боковые ролики (8). Чаши жестко соединена с вертикальным валом (9) посредством крестовой муфты (10). Вращение чаши осуществляется от мотор-редуктора (11), прикреплённого к сварной траверсе, он предназначен для передачи вращения и изменения крутящего момента от вала электродвигателя к крестовой муфте.

Беговая дорожка днища чаши, по которой катятся катки и на которой происходит размалывание измельченного материала, оснащена стальными плитами (13) (секторами). На периферии днища чаши имеются окна (14) куда вмонтированы просеивающие решетки (15) с помощью которых происходит регулировка необходимой величины фракции. Материал, не прошедший через просеивающую решетку подаётся отвалом под каток. Установка нижней рабочей кромки отвалов относительно рабочей поверхности днища должна создавать зазор в пределах 3-5мм. Для очистки сеток предусмотрены щетки.

Материал, просеянный через решетки проваливается на днище ограждения, откуда далее увлекается скребками и высыпается через разгрузочный патрубок (18) в приёмный люк, из которого измельченная продукция может быть извлечена как вручную, так и при помощи транспортных средств.

Бегуны ограждены кожухом(19), который изолирует процесс размывания от окружающей среды и прикрывает вращающиеся части машины.

2. Общие сведения и классификация бегунов

Бегуны применяются для мелкого дробления (конечный размер частиц 3...8 мм) и грубого помола (0,2...0,5 мм) извести, глины и других материалов. Кроме того, бегуны могут также обеспечить растирание, гомогенизацию, уплотнение и обезвоздушивание материала. При производстве строительной керамики бегуны используют для мелкого и тонкого дробления сухой и увлажнённой глины, полевого шпата, фарфорового боя, угля, доломита и других материалов.

Бегуны классифицируют по следующим основным признакам.

По способу действия: периодического и непрерывного действия.

По технологическому назначению: для мокрого, сухого и полусухого измельчения; для измельчения и перемешивания и только перемешивания; для брикетирования сырьевой смеси; с металлическими катками и металлическим подом; с каменными катками и каменным подом.

По конструктивному оформлению: с неподвижной чашей; с вращающейся; с верхним и нижним приводом (при нижнем приводе сложнее разборка, длительнее ремонт, но масса не загрязняется); с катками, опирающимися на материал своей массой или с дополнительным гидравлическим, пневматическим или с пружинным нажатием на катки.

По способу разгрузки: с ручной разгрузкой; продавливанием через подовую решетку; с центробежной разгрузкой; с разгрузкой через периферическую подовую решетку и с разгрузкой по опускающемуся в чашу отвалу. В бегунах с вращающимися катками вокруг вертикальной оси центробежные силы стремятся сорвать катки, а в случае их неуравновешенности вертикальный вал может изогнуться, но центробежные силы при этом не оказывают влияния на материал, находящийся в чаше.

У бегунов с вращающейся чашей более спокойный ход, но центробежные силы отбрасывают материал к периферии, кроме того, у этих бегунов большая нагрузка на упорный подшипник (массы катков и чаши).

Достоинства бегунов по сравнению с валковыми дробилками: можно загружать значительно большие куски материала; проще регулировать тонкость измельчения; улучшаются пластические свойства глиняных материалов из-за многократного воздействия катков. Недостатки бегунов: громоздкость; более сложный ремонт; повышенный удельный расход энергии на единицу массы перерабатываемого материала.

3. Конструкция, принцип действия и описание процессов, происходящих в машине

Бегуны мокрого помола (материал влажностью более 15 %) с вращающимися катками (рис. 1) имеют нижнее расположение привода. При вращении вертикального вала 1 катки 5, установленные на подшипниках на водилах 6, перекатываются по поддону 4 и одновременно вращаются вокруг собственных осей. Коленчатые водила, шарнирно закрепленные в цапфе 7, позволяют каткам подниматься или опускаться в зависимости от толщины слоя материала и преодолевать недробимые предметы. Катки устанавливают на разных радиусах от центра поддона, чтобы они перекрывали большую площадь. Поддон укладывают плитами, имеющими овальные отверстия размером от 6×30 до 12×40 мм. Измельченный материал продавливается сквозь отверстия в поддоне и попадает на вращающуюся тарелку 8, с которой сбрасывается скребком 3 в разгрузочный лоток 2. К валу 1 прикреплены поводки со скребками 9, которые очищают борта и поверхность чаши от налипшего материала и равномерно направляют его под катки.

Рисунок 1

Применяют также верхний привод катков, бегуны с вращающейся чашей, бегуны с пружинным, гидравлическим или пневматическим прижимом катков. Использование последних позволяет снизить металлоемкость машины.

В бегунах массивные катки, перекатываясь по слою материала, находящемуся на поддоне, измельчают его раздавливанием и истиранием. Это происходит вследствие того, что широкие катки, перемещаясь по окружности небольшого радиуса, непрерывно разворачиваются относительно поддона и их внешняя сторона скользит юзом, а внутренняя буксует. В бегунах может осуществляться как сухой, так и мокрый помол материалов. Главным параметром бегунов является диаметр D и ширина b катков. Для мокрого помола выпускают бегуны с размерами D х b от 1200 х 300 до 1800 х 800 мм с катками массой, соответственно 2...9 т. Для сухого помола изготавливают бегуны с D х b от 600 х 200 до 1800 х 450 мм.

Бегуны мокрого помола СМ - 365 предназначены для тонкого помола, перемешивания, растирания и увлажнения керамических масс. Чугунное кольцо станины состоит из шести секций, скреплённых болтами. Стальная литая чаша бегунов, укреплённая на станине, имеет форму усечённого конуса, расширяющегося к верху. Отливка чаши выполнена без днища, днищем служат сегментообразные дырчатые плиты, образующие дорожку, по которой перекатываются катки.

Перерабатываемый материал загружается в загрузочную воронку, и далее через течку попадает под каток, раздавливается и истирается. Далее материал продавливается через отверстия решётчатых плит и просыпается под чашу на тарель, с которой сбрасывается на течку для измельчённого материала. Отверстия в дырчатых плитах конические, увеличивающиеся к низу для обеспечения свободного просыпания продавленных в отверстия кусочков материала.

На вертикальном валу бегунов укреплена крестовина с горизонтальными полуосями, на которых вращаются катки. Катки для более эффективного помола снабжены специальными пружинными прижимами. Для регулирования силы прижима катков имеются регулировочные гайки.

Катки бегунов состоят из двух частей: чугунного корпуса и прочно насаженного на него стального бандажа. Бегуны получают движение от электродвигателя через фрикционную муфту, редуктор, горизонтальный приводной вал с конической шестерней. Коническое колесо, входящее в зацепление с шестерней, насажено на вертикальный вал.

Для равномерности загрузки бегуны оснащают вращающейся загрузочной воронкой.

. Расчёт основных параметров

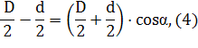
) Определение угла захвата.

Углом захвата называют угол, образованный плоскостью чаши и касательными, проведёнными через точки соприкосновения куска материала с поверхностью катка.

Рисунок 2

В момент захвата куска материала в точке А возникает сила нормального давления Р и сила F=Pf, где f - коэффициент трения (рис.2,схема а).

Возникает также сила противодействия P1 и сила трения P1f. При равновесии куска имеем:

∑x=0, Psinα - Pfcosα - P1f=0,sinα= P1f+ Pfcosα

∑y=0, P1 - Pfsinα - Pcosα1= Pfsinα + Pcosα

Получаем:

sinα=f Pcosα + fP (cosα + fsinα). (1)


Подставим значение коэффициента трения

f=tg2 φ,

где φ - угол трения:

tgα=2tg φ/(1 - tg2 φ)=tg2 φ (2)

α<2 φ (3)

Следовательно, угол захвата должен быть меньше двойного угла трения. Коэффициент трения может колебаться в пределах 0,3 - 0,5, что соответствует углу захвата 30 - 50 ˚.

2) Определение соотношений между диаметром катка бегунов и диаметром дробимого материала (рис.2, схема б).


где D - диаметр катка,

d - диаметр куска дробимого материала.


При угле α = 50˚ получаем:


При угле α = 30˚:

D = (4,6…14) d. (6)

При D =1800 мм возможная крупность дробимого материала:

dmax = .

При переработке влажных глин отношение D/d составляет 5…6, следовательно для бегунов СМ - 365 максимальная крупность исходного материала составляет:

dmax = .

Для обеспечения надёжного захвата материала максимальная крупность кусков принимается на 20% меньше.

d = 0,8 dmax =0,8  (360…300) = 288…240 мм.

) Сила нормального давления, действующая на

материал (усилие раздавливание), H:

ср = σсж F Kρ (7)

где σсж - предел прочности материала при сжатии, H/м2,

для мягких пород σсж = 80МПа, для прочных σсж ≥ 150МПа

(1 H/м2 = 10-6 МПа); F - площадь дробления, м2;ρ -коэффициент разрыхления материала (для прочных породρ = 0,2 … 0,3, для глины Kρ = 0,4 … 0,6).

Полагая, что F=bl = bRβ,

где l - длина дуги на участке измельчения материала, м;=D/2 - радиус катка, м;

b - ширина катков, м;

β - угол дуги, рад, β = α /2.

Формула (7) принимает следующий вид

При дроблении твердых пород (β=16°40’ ):

ср = 0,04 σсж bD, (8)

при дроблении глин (β = 24°20’ ):

ср = 0,1 σсж bD (9)

Для бегунов СМ - 365:

σсж = 80 МПа = 800000 Н.

B = 0,8 м;

D = 1,8 м.ср=0,1 8000000 0,8 1,8=152000 Н.

) Определение угловой скорости и числа оборотов вертикального вала бегунов.

На вращающейся чаше материал находится под действием двух сил: силы трения Gf, удерживающей материал на чаше, и центробежной сил mω2 стремящейся отбросить материал

(где r - наружный радиус качения катка; ω - угловая скорость вращения вертикального вала; - линейная скорость.).

Чтобы материал не отбрасывался к борту чаши должно соблюдаться условие:

Gf mω2r;mv2/r,

где ω - угловая скорость вращения вертикального вала;

m=G/g; v=rn/30.

Тогда:

Gfω2r;

Gf,

где n - частота вращения вала.

ω (рад/с); (10)

n (об/мин). (11)

Приняв для увлажнённых глин f=0,5 получаем:

Угловая скорость вращения вертикального вала:

ω=2,4 рад/с

Частота вращения вала:

n = 23,3 об/мин.

) Определение производительности бегунов.

Для ориентировочного расчёта производительности бегунов с решётчатым подом используют следующую формулу:

Q =3/с); (12)= S l a n 60  (м3/ч); (13)

где S - площадь отверстия в решётчатой плите, м2;

l - длина глиняного прутка, м, продавливаемого при каждом набегании катка (l= 25 - 35 мм для глин влажностью 20 - 22%);

а - число отверстий, перекрываемых катком за один оборот вертикального вала;

ω - угловая скорость вертикального вала, рад/с;

n - частота вращения вертикального вала, об/мин;

λ - поправочный коэффициент, λ = 0,8 - 0,9.

Исходные данные для бегунов мокрого помола СМ - 365:

S = 34 28 + 2= 745 мм2 =0,000745 м2;

l = 30мм = 0,03м;

λ = 0,8;

n = 22,7 об/мин.

Q = 0,000745 0,03 920 22,7 60 0,8 = 22,4 м3/ч.

При плотности глины (влажностью 20%) γ = 1450 кг/м3 получим:

Q = 22,4 1450 = 38480 кг/ч = 38,4 т/ч.

) Определение мощности двигателя.

Мощность двигателя может быть определена как сумма мощностей, необходимых в основном для преодоления сил трения качения и трения скольжения катков.

N = (N1 + N2)/ η, (14)

где N1 - мощность, необходимая для преодоления сил трения качения;

N2 - мощность, необходимая для преодоления сил трения скольжения катков. η - КПД установки, η = 0,5 - 0,8.

Мощность, необходимая для преодоления сил трения качения

N1 = (кВт), (15)

где G - вес (сила тяжести катка), Н;

 - коэффициент трения качения;

vср - средняя окружная скорость качения катка, м/с:

R - радиус катка, м.

Подставляя в формулу значение средней окружной скорости

vср = r n/30,

получаем

N1 = ; (16)

N1 =  =  (кВт), (17)

где i - число катков.

Исходные данные:

G = 90000 Н;

= 0,03;

r = 0,9 м;

n = 22,7 об/мин ;

i = 2;

R = 0,9 м.

N1 =  = 12,8 кВт.

Мощность, необходимая для преодоления сил трения скольжения катков:

N2 =  (кВт); (18)

N2=  =  (кВт), (19)

где  - коэффициент трения скольжения;

b - ширина катка.

Для бегунов СМ - 365:

fск = 0,3;

b = 0,8 м.

N2 =  = 25,7 кВт.

Необходимая мощность электродвигателя:

N = kN  , (20)

где kN - коэффициент мощности двигателя на преодоление пускового момента, kN = 1,1 - 1,5.

N = 1,1  = 60,48 кВт.

5. Виды и характер износа деталей машины

Бегуны работают в сильно запылённых условиях, так как размалывают сильно пылящие материалы. В этих условиях наиболее быстроизнашиваемыми деталями будут катки, сектора чаши, у которых будет происходить ускоренное абразивное истирание, так как между ними осуществляется сам процесс измельчения. При этих условиях ускорено будут изнашиваться и подшипники катков. У них будет наблюдаться общий износ. Абразивное истирание будет наблюдаться и у отвалов, так как они находятся в непрерывном соприкосновении с материалом, так же будут изнашиваться скребки.

Бегуны работают при нормальной температуре летом и при более низкой зимой, поэтому у деталей может возникать химическая коррозия.

С учётом всего вышеуказанного условия работы деталей бегунов следует считать тяжелым, что неблагоприятно сказывается на ресурсе данной машины. 8. Экономическая целесообразность восстановления деталей

Восстановление- производство восстановительных работ, в результате которых детали, узлу или агрегату возвращают первоначальные размеры, форму, свойства, мощность и точность либо номинальные.

Износ деталей часто приводит к нарушению посадки в сопряжении- увеличиваются зазоры и уменьшаются первоначальные натяги, нарушается форма поверхностей, возникают другие неисправности и дефекты. Такие детали при ремонте заменяют или восстанавливают (стоимость восстановления составляет от 15% до 40% стоимости новых деталей).

Для восстановления изношенных деталей широкое применение получили следующие способы восстановления деталей:

механический способ( способ ремонтных размеров).

сварка, наплавка с последующей механической обработкой.

восстановление полимерными материалами.

гальваническое покрытие.

химическая обработка.

Чтобы выбрать способ восстановления деталей и сборочных единиц за основу принимают экономическую целесообразность восстановления деталей.

Восстановленная деталь должна быть достаточно долговечной и надежной в эксплуатации, а также обладать качествами новой.

Применяя современные методы ремонта, можно восстанавливать некоторые детали так, что их эксплуатационные свойства будут превышать соответствующие показатели новых деталей.

При выборе способа восстановления деталей и сборочных единиц, за основу принимают экономическую целесообразность восстановления, наличие на предприятии необходимого оборудования и материалов, технологические и конструктивные особенности деталей, величину и характер износа.

Целесообразность способа восстановления и упрочнения детали в каждом случае зависит от многих факторов: условий их работы;

Характеристики сопряжения ( подвижная и неподвижная посадка); величины и характеристики действующих нагрузок; скорости взаимного перемещения деталей с подвижной посадкой. Основным показанием экономической эффективности восстановления изношенных деталей и целесообразность того или иного способа восстановления и упрочнения служит относительная себестоимость, т.е. себестоимость восстановления детали, отнесенная к сроку ее службы после ремонта.

Для данной машины изношенные детали экономически целесообразно восстановить, так как их износ не велик и стоимость их восстановления составит около 30% от стоимости новых деталей.

Список использованной литературы

1.      Сапожников В.А. и др. "Механическое оборудование предприятий строительных материалов, изделий и конструкций". М., "Высшая школа". 1971.-382 с.

.        Ильевич А.П. "Машины и оборудование для заводов по производству керамики и огнеупоров". М., "Высшая школа", 1979. - 343 с.

.        Сапожников Н. Я. "Атлас механического оборудования"

.        Уваров В.А., Семикопенко И.А., Чемеричко Г.И., "Процессы в производстве строительных материалов и изделий". БелГТАСМ, 2002. - 121с.

5.   Веронкин Ю.Н. "Методы профилактики и ремонта промышленного оборудования" М.2002г.

6.      Ф.Г. Бонит и др. "Эксплуатация, ремонт и монтаж промышленного оборудования" М. 1971 г.

Похожие работы на - Оборудование для измельчения и дробления

 

Не нашли материал для своей работы?
Поможем написать уникальную работу
Без плагиата!
Без нейросетей!