|
U
|
Rca
|
Xca
|
Rab
|
Xab
|
Rbc
|
Xbc
|
|
127
|
10
|
9
|
4.5
|
14
|
8
|
4
|
.1
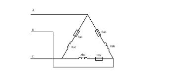
Расчет комплексов действующих значений линейных и фазных токов цепи
Схема замещения
трехфазной цепи представлена на рисунке 3.1.
Рисунок 3.1 - Схема
трехфазной цепи переменного тока
Линейные напряжения
в комплексном виде равны
(3.1)
Фазные токи в
комплексном виде равны:
.2 Расчет активной и
реактивной мощности
Определим линейные токи,
используя первый закон Кирхгофа:
.3 Построение векторной
диаграммы токов и напряжений
Определим активную
мощность ветвей всей цепи:

Определим реактивную
мощность ветвей:
Определим полную
мощность всей цепи
Построение векторной
диаграммы трехфазной цепи
При построении векторной
диаграммы токов используем уравнения записанные по первому закону Кирхгофа
4. Энерго- и
материалосбережение
В данное время в мире
стоит острый вопрос о энерго- и материалосбережении.
Для выполнения схем
менее энерго- и материалозатратными могут применятся следующие решения:
уменьшение площади
схемы.
объединение нескольких
блоков в один, что позволит применять один источник питания.
использование
оптимальных способов монтажа элементов на плату, что позволит уменьшить площадь
занимаемую радиоэлементами.
уменьшение размеров
платы за счет компоновки и рационального использования пространства платы.
Все элементы являются
менее энергозатратными. Компоновка элементов должна происходить таким образом,
чтобы они занимали как можно меньше места.
5. Охрана труда
Факторы
производственной среды оказывают существенное влияние на работоспособность
человека. Существует разделение производственных факторов на опасные и вредные.
Опасный производственный фактор - это производственный фактор, воздействие
которого в определенных условиях приводит к травме или к другому внезапному
ухудшению здоровья. Воздействие же вредного производственного фактора в
определенных условиях приводит к заболеванию или снижению работоспособности.
Значительным
физическим фактором является микроклимат рабочей зоны, особенно температура и
влажность воздуха. Человек постоянно находится в процессе теплового
взаимодействия с окружающей средой. Исследования показывают, что высокая
температура в сочетании с высокой влажностью воздуха оказывает большое влияние
на работоспособность человека. Увеличивается время реакции, нарушается
координация движений, резко увеличивается число ошибочных действий. Высокая
температура на рабочем месте отрицательно влияет на психологические функции:
понижается внимание, уменьшается объем оперативной памяти, снижается
способность к ассоциациям.
Температура,
относительная влажность и скорость движения воздуха влияют на теплообмен и
необходимо учитывать их комплексное воздействие. Нарушение теплообмена вызывает
тепловую гипертермию, или перегрев.
Мероприятия по
приведения температуры воздуха рабочей зоны, влажности, подвижности воздуха к
оптимальным значениям:
Для обеспечения
установленных норм микроклиматических параметров и чистоты воздуха в машинных
залах и других помещениях применяют вентиляцию. Общеобменная вентиляция
используется для обеспечения в помещениях соответствующего микроклимата;
местные вентиляторы - для охлаждения ЭВМ и вспомогательных устройств.
Периодически должен вестись контроль за атмосферным давлением и влажностью
воздуха.
6.
Охрана окружающей среды
Для развития и
соблюдения правил природопользования, также применяется экологическое
образование. Во многих учебных заведениях, в том числе и в нашем оно тоже
существует. Вопросами развития окружающей среды занимается экология - наука о
взаимоотношении живых организмов и среды их обитания. Рациональное решение
экологических проблем возможно лишь при оптимальном взаимодействии природы и
общества.
Исходя из такого
положения вещей, производство продукции и сама продукция не должны никоим
образом загрязнять окружающую среду. Поэтому на предприятиях используются
разного рода очистные сооружения. Методика очистки промышленных выбросов по
характеру протекания физико-химических процессов делят на 4 группы:
промывка выбросов
растворителями примесей (абсорбция);
промывка выбросов
растворами реагентов, связывающих примеси химически (хемосорбция);
поглощение
газообразных примесей твердыми активными веществами (адсорбция);
При разработке
информационно-сигнальной системы оледенения в автомобиле были соблюдены правила
природопользования.
Заключение
В результате
выполнения курсового проекта произведен анализ электрических цепей постоянного
и переменного тока.
Анализ
электрических цепей постоянного тока выполнен на основе использования законов
Кирхгофа, метода узловых потенциалов, и метода контурных токов.
Результаты расчетов
проверены составлением баланса мощностей и построением диаграмм.
Анализ
электрических цепей переменного тока выполнен на основе цепи содержащей
индуктивные, емкостные и резистивные элементы с одним источником питания и
трехфазной цепи при соединении нагрузки приемников треугольником.
Результаты расчетов
проверены составлением баланса мощностей и построением векторных диаграмм
напряжения и тока.
Список
использованных источников
1 Бессонов Л.А. Теоретические основы
электротехники: Электрические цепи: Учебник для студентов электротехнических,
энергетических и приборостроительных специальностей вузов. - 7-е изд., перераб.
и доп. - М.: Высш. школа, 2008. - 528 с. (2009 г.).
Бессонов Л.А. Теоретические основы
электротехники: Электромагнитное поле: Учебник для студентов вузов. - 7-е изд.,
перераб. и доп. - М.: Высш. школа, 2008. - 231 с. (2009 г.).
Нейман Л.Р., Демирчян К.С. Теоретические
основы электротехники. В 2-х т.: Учебник для вузов. Том 1. - 3-е изд., перераб.
и доп. - Л.: Энергоиздат, 2006. - 536 с.
Основы теории цепей: Учебник для
вузов/ Г.В. Зевеке, П.А. Ионкин, А.В. Нетушил, С.В. Страхов. - 5-е изд.,
перераб. - М.: Энергоатомиздат, 2009. - 528 с.
Теоретические основы электротехники.
В 3-х ч. - Ч. I. Атабеков Г.И. Линейные электрические цепи: Учебник для вузов.
- 5-е изд., испр. и доп. - М.: Энергия, 2008. - 592 с.
Бычков Ю.А., Золотницкий В.М.,
Чернышев Э.П. Основы теории электрических цепей. - СПб.: Издательство «Лань»,
2002.
Курсовое проектирование по теории
электрических цепей: Учебное пособие для самостоятельной работы студентов. /
Под редакцией Ю.А. Бычкова, Э.П. Чернышева; ГЭТУ, СПб., 1996
Матханов П.Н. Основы анализа
электрических цепей. Линейные цепи. - М.: Высш. шк., 1990
Волынский В.А. и др. Электротехника
/Б.А. Волынский, Е.Н. Зейн, В.Е. Шатерников: Учеб. пособие для вузов. - М.:
Энергоатомиздат, 2001. - 528 с., ил.