|
Магнитная цепь
|
Электрическая
цепь
|
|
F=wI - МДС
|
E - ЭДС
|
|
Ф - магнитный
поток
|
I -
электрический ток
|
|
Rм -
магнитное сопротивление
|
R -
электрическое сопротивление
|
|
Uм=Hl=RмФ
- магнитное напряжение
|
U=RI -
электрическое напряжение
|
|
SФi=0
- первое правило Кирхгофа
|
SIi=0
- первое правило Кирхгофа
|
|
SUмi=SFk - второе правило Кирхгофа
|
SU=SEk - второе правило Кирхгофа
|
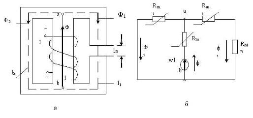
Продолжая аналогию между магнитной и электрической цепями,
можно получить также выражение закона Ома для магнитной цепи. Так, для ферромагнитного
участка цепи рисунка 1.1
,
где
,
- соответственно магнитодвижущая
сила и магнитное сопротивление ферромагнитного участка цепи. Аналогично для
воздушного зазора
,
где FB - магнитодвижущая сила
немагнитного участка цепи (зазора);
- магнитное сопротивление воздушного зазора.
На рисунке 1.3, а приведены схема
замещения магнитной цепи рисунка 1.1, а на рисунке 1.3, б аналогичная ей электрическая схема замещения
магнитной цепи рисунка 1.1 Закон полного
тока для рассматриваемой цепи имеет вид
,
откуда
.
Согласно этому выражению магнитное сопротивление всей цепи равно
сумме магнитных сопротивлений ее последовательно соединенных участков.
Величины, обратные магнитным сопротивлениям, называют магнитными
проводимостями. Соответственно получаем: для
ферромагнитного участка lмфм=1/R мфм и для зазора lмB=1/R мB.
Из выражений магнитных сопротивлений и закона Ома видно, каково
влияние высокой магнитной проницаемости ферромагнитных участков на магнитное
напряжение Uм или МДС F. Магнитное
сопротивление уменьшается с увеличением: относительной магнитной проницаемости mr, поэтому для получения больших магнитных
потоков при заданной МДС магнитопровод должен быть выполнен из магнитомягкого материала с высокой магнитной проницаемостью.
Рисунок 1.3 - Расчетная схема замещения (а) и аналогичная
электрическая схема замещения магнитной цепи (б)
1.1.2 Анализ
разветвленных магнитных цепей
Разветвленные магнитные цепи характеризуются наличием
нескольких различных магнитных потоков. Они могут быть симметричными и
несимметричными.
нелинейная электрическая цепь трансформатор
Рассмотрим наиболее простую симметричную разветвленную магнитную цепь с одной намагничивающей обмоткой в
которой магнитопровод выполнен из одного материала и конструктивно симметричен относительно
оси обмотки, расположенной на среднем стержне. Магнитный поток этого стержня
разветвляется на два равных магнитных потока в
боковых стержнях: Ф1=Ф2=Ф/2. Данную магнитную цепь можно разбить на две и представить в
виде двух одинаковых неразветвленных цепей, проводя анализ для одной из
них. Тогда согласно закону полного тока можно записать, например, для правой
половины
, где H1 - напряженность магнитного поля на участке длиной l1 и площадью поперечного сечения
S1; H - напряженность магнитного поля на участке l и площадью поперечного
сечения S/2.
Расчетная схема замещения для рассматриваемой части цепи приведена
на рисунке 1.4.
Рисунок 1.4 - Разветвленная симметричная магнитная цепь с одним
источником МДС
Электрическую машину можно представить как разветвленную магнитную
цепь, содержащую не одну, а несколько намагничивающих обмоток. Поскольку и в
этом случае имеется симметричная магнитная цепь, ее тоже можно представить
состоящей из ряда неразветвленных цепей. Так получается одна неразветвленная
магнитная цепь, которая характеризуется магнитным потоком Ф, проходящим
через статор (lст), половину одного из полюсов (lц), воздушный зазор (lB), ротор (lр) и снова через зазор и половину другого полюса в статор. В
этом случае полный ток, пронизывающий поверхность, опирающуюся на контур
рассмотренной средней магнитной линии, определяется токами проводов двух
обмоток, т.е. он равен произведению тока и количества витков обмотки (каждый
виток состоит из двух проводов).
Для рассмотренной магнитной цепи получаем систему уравнений
,
,
,
,
,
,
где Hст, Hп, HB, Hр - соответственно напряженности
магнитного поля в статоре, полюсе, зазоре и роторе; lст, lп, lB, lр - соответствующие длины магнитной линии
по статору, полюсу, зазору и ротору; Bст, Bп, BB, Bр - соответственно магнитная
индукция в статоре, полюсе, зазоре и роторе; Sст, Sп, SB, Sр - соответственно площади поперечных сечений статора, части
полюса, части зазора и ротора; Ф - магнитный поток, одинаковый вдоль всей длины средней магнитной линии.
Несимметричную разветвленную магнитную цепь анализируют на
основании выражений первого и второго правила Кирхгофа для магнитной цепи. На
рисунке 1.5, а приведен пример магнитной цепи, в которой несимметрия вызвана
наличием воздушного зазора lB в одном из боковых стержней. Магнитное сопротивление правой
половины магнитопровода больше, чем магнитное сопротивление его левой половины,
поэтому данная цепь несимметричная (рисунок 1.5, б).
Рисунок 1.5 - Разветвленная несимметричная магнитная цепь с одним
источником МДС
Магнитное состояние цепи описывается системой уравнений. Цепь содержит два узла (две точки
разветвления магнитных потоков) и два независимых контура. Поэтому нужно
составить одно уравнение по первому правилу Кирхгофа и два уравнения по второму
правилу Кирхгофа. Согласно выражению первого правила Кирхгофа для магнитной
цепи, получим
.
Таким образом, алгебраическая сумма разветвляющихся магнитных
потоков в цепи равна нулю.
Для каждого из замкнутых контуров цепи, образованных средним и
одним из крайних стержней, можно составить уравнения по закону полного тока,
которые, как было сказано, можно назвать уравнениями второго правила Кирхгофа
для магнитной цепи:
,
или
,
.
Следовательно, алгебраическая сумма магнитных напряжений в
замкнутом контуре равна алгебраической сумме МДС,
действующих в этом контуре.
Таким образом, для магнитной цепи рисунка 1.5, а получаем
следующую систему уравнений:
Ее решают относительно трех неизвестных, например значений
магнитной индукции B, B1 и В2 при заданных габаритах, характеристиках материала и магнитодвижущей силе.
1.2 Трансформаторы
Основными параметрами трансформатора
являются:
Номинальная мощность
Это полная мощность (кВА), которую трансформа тор, установленный
на открытом воздухе, может непрерывно отдавать в течение всего срока службы при
номинальном напряжении и при максимальной и среднегодовой температурах окружающего
воздуха, равной соответственно 40 и 5 градусов. Если указанные температуры
отличаются от номинальных, то и номинальная мощность будет отличаться от
указанной и паспорте.
Номинальное первичное напряжение
Это напряжение на которое рассчитана первичная обмотка
трансформатора.
Номинальное вторичное напряжение
Это напряжение на выводах вторичной обмотки трансформатора при
холостом ходе и номинальном первичном напряжении. При нагрузке вторичное
напряжение
снижается из-за потерь в трансформаторе.
Например: если
то при полной нагрузке трансформатора вторичное напряжение
т.к.20 В теряется в трансформаторе.
Номинальный первичный и вторичный ток 
Это токи, вычисленные по номинальной мощности и номинальным
напряжениям.
Для однофазного трансформатора

Для трёхфазного трансформатора

- КПД трансформатора. На практике при определении токов принимают
Трансформаторы чаще всего работают с нагрузкой меньше номинальной,
поэтому вводят понятие о коэффициенте нагрузки
Если трансформатор с мощностью
отдаёт потребителю мощность
то
Значение отдаваемой трансформатором
активной и реактивной мощностей зависит от коэффициента мощности потребителя
Например при
отдаваемая активная мощность
а реактивная
Если потребитель увеличит
т.е. вся отдаваемая мощность будет активной.
Отношение линейных напряжений в трёхфазных трансформаторах
называют линейным коэффициентом трансформации, который равен отношению чисел
витков обмоток, если они имеют одинаковые схемы соединения 
При других схемах коэффициент трансформации находят по формулам
Для уменьшения установленной мощности трансформаторов и снижения
потерь энергии в сетях производят компенсацию части реактивной мощности
конденсаторами. Пусть реактивная мощность предприятия
а заданная системой мощность
Тогда необходимо скомпенсировать с
помощью конденсаторов мощность до
Для этого применяют комплекты конденсаторных установок, например
УК - 0.38 - 450 Н мощностью 450 кВар. Суммарная мощность батареи 9450 = 4050
кВар, что близко к необходимому значению 4000 кВар.
1.3
Асинхронные электрические машины
Асинхронные машины характеризуются
скольжением
где
частота вращения магнитного поля
(синхронная частота вращения), об/мин,
частота вращения ротора, об/мин.
Частота вращения ротора
где
частота переменного напряжения сети;
число пар полюсов машины.
Вращающееся магнитное поле пересекает обмотки статора и ротора, и
индуцирует в них ЭДС, действующие значения которых при неподвижном роторе равны
где
число последовательно соединённых витков
обмоток фаз статора и ротора;
обмоточные коэффициенты статора и ротора;
амплитудное значение магнитного потока
вращающегося поля, Вб.
ЭДС индуцируется в обмотке вращающегося ротора
Ток во вращающемся роторе определяется так
где
активное сопротивление обмотки
неподвижного ротора;
индуктивное сопротивление рассеяния
неподвижного ротора.
Вращающиеся момент (Н. м.) асинхронного двигателя рассчитывается
по формуле
где
постоянный коэффициент, определённый
конструктивными данными двигателя;
угол сдвига фаз между током ротора и его ЭДС. КПД асинхронного двигателя
где
полезная мощность на валу двигателя (Вт);
мощность, подводимая к двигателю (Вт);
суммарная мощность потерь в двигателе
(Вт). Механическая характеристика
при
и
является основной характеристикой асинхронных электрических
машин.
Обозначение типа электродвигателя расшифровывается так: (4) -
порядковый номер серии; А - асинхронный; X - алюминевая оболочка и чугунные щиты (отсутствие X означает, что корпус выполнен из чугуна); В - двигатель
встроен в оборудование; Н - исполнение защищенное 1Р23, для закрытых двигателей
исполнения 1Р44 обозначение защиты не приводится; Р - двигатель с повышенным
пусковым моментом; С - сельскохозяйственного назначения; цифра после буквенного
обозначения показывает частоту оси вращения в мм (100,112, и т.д.) > буквы S, М, L - после цифр -
установочные размеры по длине корпуса (S - станина самая короткая, М - промежуточная, L - самая длинная), цифра после размера - число полюсов,
буква У - климатическое исполнение, последняя цифра - категория размещения.
В обозначениях типов двухскоростных двигателей после установочного
размера указывают через дробь оба числа полюсов.
1.4
Синхронные электрические машины
В синхронных машинах частота вращения ротора равна частоте
вращающегося магнитного поля статора и определяемая следующим образом
где
частота напряжения сети.
Действующее значение ЭДС, индуцируемой в одной фазе статора при
холостом ходе
где
амплитудное значение магнитного потока,
создаваемого обмоткой возбуждения ротора Вб,
число витков одной фазы статора, включённых последовательно,
обмоточный коэффициент статора.
Мощность, отдаваемая трёхфазным генератором при симметричной
нагрузке, определяется из выражения
где
электромагнитная мощность, Вт;
мощность электрических потерь в обмотке
статора, Вт;
активное сопротивление обмотки фазы
статора, Ом.
Вращающий момент (Нм) генератора имеет вид
где
угловая частота вращения генератора (рад / с). КПД трёхфазного генератора
где
мощность, подводимая к генератору от
двигателя. Вт;
полезная мощность, отдаваемая генератором;
Вт,
суммарная мощность потерь, Вт.
КПД синхронного двигателя
где
мощность, потребляемая двигателем от сети;
полезная мощность на валу двигателя;
суммарная мощность потерь в двигателе.
Синхронные электрические машины имеют следующие характеристики:
а) внешнюю
при
и
б) регулировочную
при
и
1.5
Электрические машины постоянного тока
Напряжение на выводах U, ЭДС Е,
падение напряжения в обмотке якоря
для генератора
для двигателя
Электромагнитный или полный момент развиваемый двигателем
откуда
тогда
Здесь
- электромагнитная мощность, Вт,
- угловая скорость вращения, рад/с.
Полезный номинальный момент (по валу):
2. Разработка
задач по нелинейным электрическим цепям
2.1
Нелинейные цепи постоянного тока
Задача 2.1 На рисунке 2.1 приведен
рабочий участок вольт - амперной характеристики полупроводникового кремниевого
стабилитрона - прибора, применяемого для стабилизации напряжения. Определить
статическое и дифференциальное сопротивление стабилитрона.
Решение.
Статическое сопротивление
для любой точки характеристики определяется как отношение
напряжения к току:
С ростом тока статическое сопротивление уменьшается, при этом
напряжение на стабилитроне остаётся практически постоянным. Зависимость
(I), показана на рисунке 2.2, сопротивление
стабилитрона на рабочем участке вольт -
амперной характеристики изменяется от 27 до 4,56 кОм.
Для определения дифференциального сопротивления найдём по кривой
приращение напряжения
и тока
на рабочем участке:
Дифференциальное сопротивление
стабилитрона
Рисунок 2.1 Рисунок 2.2
Задача 2.2 На
рисунке 2.3 представлена вольт - амперная характеристика нелинейного элемента.
Определить сопротивления
и
для точки а характеристики.
Решение.
Задача 2.3 Линейный элемент с
сопротивлением R=200 Ом и нелинейный элемент (н.э.), вольт - амперная
характеристика которого задана табл.1.1, соединены последовательно и подключены
к источнику питания с ЭДС Е=200 В (рисунок 2.4, а). Определить ток в цепи и
напряжение на нелинейном элементе.
Решение.
Воспользуемся методом пересечения характеристик, т.е. графическим
решением системы двух уравнений, выражающих связь между напряжением и током
нелинейного элемента. Зависимость
выражается с одной стороны, вольт - амперной характеристикой
н.э., заданной таблицей 2.1 (рисунок 2.4, б), а с другой уравнением
, составленным по второму правилу
Кирхгофа. Последнее уравнение является уравнением внешней характеристики
активного двухполюсника, к которому подключён нелинейный элемент. Эта прямая
может быть построена по двум точкам с координатами
и
(рисунок 2.4,6). Точка с пересечения характеристик определяет
корни этой системы уравнений
и
Прямую ab называют опрокинутой характеристикой нелинейного элемента, т.к.
её можно построить по-другому: провести прямую из точки а под углом
к вертикали:
. Масштабы тока и напряжения равны: mi = 0,02 А/мм, mu = 4 В/мм.
Таблица 2.1
|
U, В
|
0
|
20
|
40
|
60
|
80
|
|
I, А
|
0
|
0,22
|
0,36
|
0,45
|
0,56
|
|
U, В
|
100
|
120
|
160
|
200
|
240
|
|
I, А
|
0,60
|
0,65
|
0,76
|
0,80
|
0,86
|
Рисунок 2.3 Рисунок
2.4
Задача 2.4
Для измерения температуры в одном из плеч моста, включен полупроводниковый
резистор, представляющий собой нелинейный элемент с вольт - амперной
характеристикой, заданной таблицей 2.2, напряжением источника питания
сопротивления плеч
а сопротивление
Определить ток
в нелинейном элементе.
Решение.
Для определения тока
воспользуемся методом эквивалентного генератора. Размыкаем ветвь
ас и определяем напряжение
(рисунок 2.5, б), предварительно находим токи
и
в резистивных элементах
и
Определяем
Таблица 2.2
|
, В28121416
|
|
|
|
|
|
|
, мА0,2524,25,710,5
|
|
|
|
|
|
Эквивалентная схема (рисунок 2.5, г) представляет собой
последовательное соединение источника ЭДС
с сопротивлением
и нелинейного элемента
Для определения тока
воспользуемся методом пересечения характеристик (рисунок 2.5 д)
Рисунок 2.5
.2 Нелинейные
цепи переменного тока
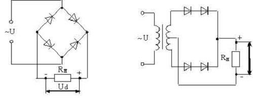
Задача 2.6 Найти
закон изменения тока в схеме однополупериодного выпрямителя (рисунок 1.6, а),
если
Решение.
Сопротивление диода в проводящем направлении пренебрежимо мало,
поэтому при
можно пренебречь падением напряжения на
диоде
и записать
, следовательно,
При
, диод включён в непроводящем направлении,
поэтому его сопротивление велико, а ток в цепи пренебрежимо мал (
). Графики мгновенных значений напряжения
и тока показаны на рисунке 2.6, б.
Задача 2.7 0пределить
среднее значение тока
в схеме двухполупериодного выпрямителя
(рисунок 2.7, а), если
Кривая мгновенного тока показана на рисунке 2.7, б.
Решение. Пренебрегая
сопротивлением диодов в проводящем направлении, можно записать
где Т - период напряжения источника питания.
Рисунок 2.6 Рисунок
2.7
2.3
Выпрямители
Задача 2.8 Составить
схему мостового выпрямителя, использовав один из четырех диодов: Д218, Д222,
КД202Н, Д215Б. Мощность потребителя
напряжение потребителя
Решение.
Параметры диодов берем из таблицы 2.3.
Таблица 2.3
|
Диодный
|
|
|
|
Д218
|
0,1
|
1000
|
|
Д222
|
0,4
|
600
|
|
КД202Н
|
1
|
500
|
|
Д215Б
|
2
|
200
|
Определяем ток
потребителя:
Определяем напряжение, действующее на диод в непроводящий период
для мостовой схемы выпрямителя:
Выбираем диод из условий
Этим условиям удовлетворяет диод КД202Н
Составляем схему мостового выпрямителя (рисунок 2.8). В этой схеме
каждый из диодов имеет параметры диода КД202Н:
А и
В.
Задача 2.9 Для
питания постоянным током потребителя мощностью
при напряжении
необходимо собрать схему
двухполупериодного выпрямителя, использовав стандартные диоды типа Д243 Б.
Решение.
Выписываем параметры диода Д234Б из таблицы 2.3:
и
Определяем ток потребителя:
Определяем напряжение, действующее на диод в непроводящий период:
Проверяем диод по параметрам
и
. Для данной схемы диод должен
удовлетворять следующим условиям
и
. В данном случае первое условие не
соблюдается, т.к.
т.е.
Второе условие соблюдается, т.к.
Составляем схему выпрямителя, чтобы выполнялось условие
необходимо два диода соединить
параллельно, тогда
Задача 2.10
Для питания постоянным током потребителя мощностью
при напряжении
необходимо собрать схему
однополупериодного выпрямителя, использовав имеющиеся стандартные диоды Д242А.
Решение.
Параметры диода Д242А следующие
Определяем ток потребителя:
Определяем напряжение, действующее на диод в непроводящий период:
Проверяем диод по параметрам
и
. Для данной схемы диод должен
удовлетворять условиям
,
. В данном случае второе условие не соблюдается, т.к.
т.е.
. Первое условие выполняется, т.к.
Составляем схему выпрямителя. Чтобы выполнилось условие
, надо два диода соединить параллельно,
тогда
Полная схема выпрямителя приведена на
рисунке 2.9.
Рисунок 2.8 Рисунок 2.9
Задача 2.11
Для составления схемы трехфазного выпрямителя на трех диодах заданы диоды Д243.
Выпрямитель должен питать потребителя с
Определить допустимую мощность потребителя и пояснить порядок
составления схемы выпрямителя.
Решение.
Параметры диода
Определяем допустимую мощность потребителя. Для трёхфазного
выпрямителя
т.е.
Следовательно для данного выпрямителя
Определяем напряжение, действующее на диод в непроводящий период
Составляем схему выпрямителя. Проверяем диод по условию
. В данном случае это условие не
выполняется, т.к.
Чтобы условие выполнялось, необходимо в каждом
плече два диода соединить последовательно, тогда
и
Полная схема выпрямителя приведена на
рисунке 2.10.
Рисунок 2.10 Рисунок
2.11
2.4 Магнитные
цепи постоянного потока
2.4.1
Применение закона полного тока для анализа магнитных цепей. Влияние
ферромагнитных материалов
Задача 2.12 На кольцевой замкнутый
сердечник (рисунок 2.12) равномерно нанесена обмотка с числом витков W=200.
Поперечное сечение кольца прямоугольное,
наружный диаметр кольца Д=16 см, внутренний диаметр d=10 см, толщина b = 4 см.
Определить ток в обмотке катушки, при котором магнитный поток в
сердечнике
если материал сердечника: а) дерево; б)
литая сталь; в) листовая электротехническая сталь марки 1512.
Решение. Магнитная
индукция в сердечнике из дерева и литой стали определяется как

Магнитная индукция в сердечнике из листовой стали 1532 (с учётом
коэффициента заполнения стали
)
а) Напряжённость магнитного сердечника из дерева
Ток в обмотке находим из уравнения
,
где
Обычно для катушек кольцевых сердечников плотность тока в обмотке
с лакостойкой или хлопчатобумажной изоляцией допускается не выше
поэтому для данного тока потребовался бы
провод с лакостойкой изоляцией, сечением
В этом случае площадь окна намотки
при W = 200 должна быть равна (без учёта
коэффициента заполнения меди
)
Для данного размера сердечника площадь окна намотки (без учёта
) составляет
Следовательно, в этом сердечнике заданный поток получить
невозможно.
б) Напряжённость магнитного поля в сердечнике из литой стали
определяется по кривой намагничивания:
при 
ток в обмотке
в) Аналогично для сердечника из листовой электротехнической стали
марки 1512:
при 
ток в обмотке
Задача 2.13
Определить относительные магнитные проницаемости и магнитные сопротивления
ферромагнитных сердечников задачи 2.12 и индуктивности их катушек.
Решение.
Для относительной магнитной проницаемости
для литой стали
для стали марки 1512
Для магнитного сопротивления магнитопровода
для литой стали
для стали марки 1512
Для индуктивности катушки
для литой стали
для стали марки 1512 
Рисунок 2.12 Рисунок
2.13
2.4.2
Магнитные цепи с зазором в магнитопроводе
Задача 2.14 В
сердечнике из литой стати (рисунок 2.13) необходимо создать магнитную индукцию
В=1 Тл. Число витков равномерно намотанной на сердечник обмотки W=200, длина средней линии сердечника lср=69 см, сечение S=6 см2.
Как изменится ток и магнитное сопротивление магнитопровода, если в сердечнике
сделать воздушный зазор
=0.5 мм. Магнитный поток сердечника должен
остаться без изменений. При расчете рассеяниями пренебречь и считать поле в
воздушном зазоре однородным.
Решение.
Пренебрегая потоком рассеяния, считаем, что магнитная индукция в
воздушном зазоре и в стали одинакова:
Напряжённость магнитного поля в магнитном зазоре
Находим напряжённость магнитного поля в сердечнике для В = 1 Тл по
кривой намагничивания стали
Магнитодвижущая сила обмотки: при отсутствии в сердечнике
воздушного зазора
при наличии в сердечнике воздушного зазора
Токи в обмотке
Ток необходимо увеличить на
т.е. почти в два раза. Магнитное сопротивление магнитопровода
Магнитное сопротивление воздушного зазора
Магнитное сопротивление магнитопровода с воздушным зазором
Этот результат можно получить из соотношения
Задача 2.15
На рисунке 2.14 даны геометрические размеры магнитопровода цепи в миллиметрах,
выполненного из электротехнической стали марки 1211. Требуется определить
магнитодвижущую силу F = WI, которая необходима для создания
магнитного потока
значение тока в катушке I, содержащей W = 1000 витков
и индуктивность катушки L.
Решение.
Магнитную цепь делим на участки так, чтобы в пределах каждого
материал и сечение магнитопровода оставались неизменными. В данном случае таких
участков три. Контур, по которому составляем уравнение, пользуясь законом
полного тока, проходит по средней магнитной линии:
Определяем магнитную индукцию в каждом участке цепи, для чего
находим сечение магнитопровода

Магнитная индукция
Напряжённость магнитного поля для ферромагнитных материалов
определяем по кривым намагничивания
которые приводятся в справочной литературе. В данном случае для
электротехнической стали марки 1211 имеем:
и
Для воздушного зазора
напряжённость магнитного поля
определяется из равенства
Искомая магнитодвижущая сила, равная произведению тока на число
витков катушки, по которой он протекает, согласно закону полного
тока

Ток в катушке
Индуктивность катушки
где
- потокосцепление.
Задача 2.16
На рисунке 2.15 изображен тороидальный магнитопровод, выполненный из
электротехнической стали марки 1512. Заданы размеры
магнитодвижущая сила F = WI = 1000; W = 1000 витков. Требуется определить какой поток замыкается по
магнитопроводу.
Решение.
Для её решения необходимо построить кривую зависимости магнитного
потока от магнитодвижущей силы Ф = f (WI), а затем по заданной магнитодвижущей
силе определить графически магнитный поток Ф. Для построения зависимости Ф = f (WI) необходимо
задаться несколькими значениями магнитного потока и для всех этих значений
определить магнитодвижущую силу, т.е. решить несколько прямых задач (обычно
достаточно 3-5 значений). Первое значение магнитного потока выбирается из
расчёта, что магнитное сопротивление стали
, а основное сопротивление представляет собой сопротивление
воздушного зазора
Полученное значение потока будет
несколько завышенным, поэтому далее задаёмся меньшим значением потока. Если
пренебречь
то закон полного тока для рассматриваемой
цепи запишется в виде
откуда
Магнитная индукция
Магнитный поток
Напряжённость магнитного поля определяется для
по кривым намагничивания для стали марки
1512, которые приводятся в литературе.
В данном случае
Результаты вычислений приведены далее
)
)
)
Для полученных значений строим зависимость
По заданной магнитодвижущей силе находим
Задача может быть решена с помощью построения так называемой опрокинутой
характеристики. Для этого строится зависимость
и в точке пересечения её с опрокинутой характеристикой (прямая
линия), которая строится при
находим значение
Рисунок 2.14 Рисунок 2.15
2.4.3
Электромагнитные устройства
Задача 2.17 Магнитопровод
1 и ярмо 2 электромагнита выполнены из стали одинакового сечения 
и имеют суммарную длину
Определить силу
с которой ярмо притягивается к магнитопроводу, если ток в обмотке
число витков обмотки W = 110, длина воздушного зазора
Магнитная характеристика задана таблицей
2.4.
Примечание: по мере притяжения ярма зазор
уменьшается и сила
возрастает, расчёт ведётся для заданного
максимального зазора.
Таблица 2.4
|
В, Тл
|
0
|
0,4
|
0,67
|
0,87
|
1,0
|
1,1
|
1,2
|
1,3
|
|
Н, А/м
|
0
|
100
|
200
|
300
|
400
|
500
|
600
|
700
|
Решение.
При изменении расстояния между
магнитопроводом и ярмом происходит изменение энергии магнитного поля
которое должно быть равно работе сил, вызывающих перемещение
откуда
Виду малости воздушного зазора можно принять
С помощью преобразований находим
или
откуда
Выражая силу в ньютонах
магнитную индукцию
в теслах (Тл), сечение
в
и подставляя значения магнитной
постоянной
получаем расчётную формулу
Подставляя числовые значения заданных величин, вычисляем
магнитодвижущую силу
строим вебер - амперную характеристику
по заданной кривой намагничивания
и далее опрокинутую характеристику
воздушного зазора
Из пересечения характеристик находим, что
индукция в воздушном зазоре
тогда искомая сила притяжения
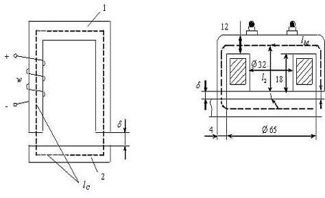
Задача 2.18
Рассчитать тяговую характеристику подъёмного электромагнита
для значений воздушного зазора
При расчёте потоком рассеяния и магнитным
сопротивлением пренебречь, магнитодвижущая сила катушки электромагнита
Размеры электромагнита указаны на рисунке
2.16 в мм.
Решение.
Магнитодвижущая сила электромагнита расходуется на прохождение
магнитного потока через воздушные зазоры, тело электромагнита и поднимаемую
деталь
или в случае пренебрежения магнитными сопротивлениями участков в
теле электромагнита и сопротивлением участка поднимаемой детали
где
и
- магнитные сопротивления воздушных зазоров средней
и внешней
частей электромагнита.
Сила тяги электромагнита состоит из двух различных сил:
где
и
Магнитные индукции воздушных зазоров


Получаем


Задаваясь значениями
и подставляя значения площади средней
и внешней
частей электромагнита
получаем таблицу 2.5
Таблица 2.5
|
1234
|
|
|
|
|
|
81,970,8920,50
|
|
|
|
|
|
8,542,0550,9600,537
|
|
|
|
|
|
16,544,0251,8521,035
|
|
|
|
|
Рисунок 2.16
Рисунок 2.17 Рисунок
2.18
2.4.4
Электромагнитные устройства переменного магнитного потока
Задача 2.19 На рисунке 2.19 даны
геометрические размеры магнитопровода цепи в мм, выполненного из
электротехнической стали марки 1512. Магнитопровод набран из листов толщиной d = 0,5 мм. Толщина
изоляции между листами 0.05 мм. Удельный вес стали Y = 7,8 г\см2.
Напряжение сети U = 220 В, число витков W = 1300, частота f = 50 Гц.
Требуется определить:
1) ток
параметры последовательной и параллельной
схем замещения, если можно пренебречь активным сопротивлением обмотки и потоком
рассеяния;
) как изменится ток
, если в магнитопроводе появился воздушный зазор
Решение.
Определяем длину средней магнитной линии и сечение магнитопровода

Считаем, что изоляция занимает 10% площади магнитопровода, т.е.
находим значение максимальной магнитной
индукции:
Находим активную и реактивную составляющие тока
(они определяются мощностью потерь и
намагничивающей мощностью)

Масса магнитопровода
По кривым зависимостей удельных активной и намагничивающей
мощностей
и
которые приводятся в справочной литературе, находим
тогда
Параметры параллельной и последовательной схем замещения
определяются так (рисунок 2.20)
При появлении воздушного зазора
в магнитопроводе ток в катушке находим по формуле
где:

тогда:
Рисунок 2.19 Рисунок 2.20
Задача 2.20. Определить
сопротивление
и
, схемы замещения катушки с ферромагнитным сердечником (рисунок
2.21) по следующим данным: действующее значение напряжения на катушке 120 В;
действующее значение тока 0,5 А; потери мощности в катушке, измеренные ваттметром
2 Вт; сопротивление обмотки, измеренное методом моста переменного тока 4 Ом.
Полем рассеяния пренебречь.
Решение.
Мощность потерь в катушке
измеренная ваттметром, складывается из мощности потерь в меди
обмотки
и в магнитопроводе
. Следовательно
. Сопротивление
в схеме замещения катушки определяется
мощностью потерь в магнитопроводе:
. Полное сопротивление катушки
а ее индуктивное сопротивление
Задача 2.21. Построить
в масштабе векторную диаграмму катушки с ферромагнитным сердечником, к зажимам
которой подведено синусоидальное напряжение U = 220В. При токе I = 0,25 А
мощность катушки равна 25 Вт. Число витков катушки W = 500А, а активное сопротивление обмотки, измеренное мостом
постоянного тока, равно 240 Ом. Потокосцеплением катушки пренебречь.
Решение.
Мощность потерь в обмотке
Мощность потерь в магнитопроводе
Угол сдвига фаз
между вектором напряжения катушки и вектором эквивалентного поля
определяется по формуле
Откладываем в некотором масштабе вектор напряжения
и под углом
к нему вектор тока
модуль которого равен
(рисунок 2.22). Вычитая из вектора
вектор активного падения напряжения
находим вектор
равный по значению и противоположный по
направлению вектору ЭДС
Вектор потока
отстаёт по фазе от вектора
на угол
а его значение определяется по формуле
Угол потерь
т.е. угол сдвига фаз между
и вектором
определяется из соотношения
Варианты задачи:
1)

)

Рисунок 2.21 Рисунок 2.22
Задача 2.22.0пределить
параметры последовательной и параллельной схем замещения и построить векторные
диаграммы для катушки включённой в сеть с напряжением I = 120 В, частотой f = 50 Гц. При
отсутствии сердечника приборы в схеме (рис.2.23, а) показали:
U = 120 В, I=14 А, Р=100
Вт;
при наличии сердечника в той же катушке (рис.2.23, б) приборы
показали:
U = 120 Вт, I = 8 А, Р = 120
Вт (принять
= 0).
Решение.
Схема 3.4, а.
Полное сопротивление катушки
активное сопротивление
индуктивное сопротивление катушки
На рисунке 2.23, в представлена последовательная схема замещения
катушки и соответствующая ей векторная диаграмма.
Параметры параллельной схемы замещения:
- активная проводимость;
- реактивная проводимость;
- полная проводимость.
На рисунке 2.23, г представлены параллельная схема замещения и
соответствующая ей векторная диаграмма.
Схема 3.5, б.
Полное сопротивление катушки
активное сопротивление
индуктивное сопротивление
при этом
Тогда
Полное сопротивление
Составляющая напряжения
уравновешивая действие ЭДС
равна
Тангенс угла потерь в стали 
Угол сдвига фаз напряжения
на катушке и поля
равен
На рисунке 2.23, д представлена последовательная схема замещения и
векторная диаграмма для катушки с магнитопроводом.
Параметры параллельной схемы замещения катушки с магнитопроводом
На рисунке 2.23, е представлены параллельная схема замещения
катушки с магнитопроводом и соответствующая ей векторная диаграмма. Токи в ветвях
схемы замещения равны
Рисунок 2.23
2.4.5
Трансформаторы
Задача 2.23. Трёхфазный
трансформатор имеет следующие номинальные характеристики
потери в стали
потери в обмотках
Первичные обмотки соединены в
треугольник, вторичные - в звезду. Сечение магнитопровода
амплитуда магнитной индукции Вт = 1,5 Тл.
Частота тока в сети
От трансформатора потребляется активная
мощность
Определить:
) номинальные токи в обмотках и токи при фактической нагрузке;
) числа витков обмоток;
) к. п. д. трансформатора при номинальной и фактической нагрузках.
Решение.
Номинальные токи в обмотках:
Коэффициент нагрузки трансформатора
Токи в обмотках при фактической нагрузке
Фазные ЭДС, наводимые в обмотках. Первичные обмотки соединены в
треугольник, а вторичные - в звезду, поэтому, пренебрегая падением напряжения в
первичной обмотке, считаем, что
Числа витков обеих обмоток находим из формулы
откуда
Здесь
К. п. д. трансформатора при номинальной нагрузке
К. п. д. трансформатора при фактической нагрузке
Задача 2.24. Однофазный
понижающий трансформатор номинальной мощностью
служит для питания ламп местного освещения металлорежущих
станков. Номинальное напряжение обмоток
К трансформатору присоединены десять ламп
накаливания мощностью 40 Вт каждая. Их коэффициент мощности
Магнитный поток в магнитопроводе
Частота сети
Потерями в трансформаторе пренебречь.
Определить:
) номинальные токи в обмотках;
) коэффициент нагрузки трансформатора;
) токи в обмотках при действительной нагрузке;
) число витков обмоток;
) коэффициент трансформации.
Решение.
Номинальные токи в обмотках
Коэффициент нагрузки трансформатора
Токи в обмотках при действительной нагрузке
При холостом ходе
Число витков обмоток находим из формулы
Тогда
Коэффициент трансформации
Задача 2.25. Предприятие
потребляет активную мощность
при коэффициенте мощности
Энергосистема предписала уменьшить потребляемую реактивную
мощность до 450 кВар. Определить: необходимую мощность конденсаторной батареи и
выбрать ее тип; необходимую трансформаторную мощность и коэффициент нагрузки в
двух случаях:
а) до установки батареи;
б) после установки батареи.
Выбрать тип трансформатора. Номинальное напряжение сети
Решение.
Необходимая трансформаторная мощность до установки конденсаторов
Из таблицы выбираем трансформатор типа ТМ-2500/10 с номинальной
мощностью
Коэффициент нагрузки
Необходимая предприятию реактивная мощность
Здесь
Необходимая мощность конденсаторной
батареи
По таблице выбираем комплектные конденсаторные установки типа
УК-0,38-540Н мощностью 540 кВар в количестве 2 штук. Общая реактивная мощность
составит
что близко к необходимой мощности 1042
кВар.
Нескомпенсированная реактивная мощность
Необходимая трансформаторная мощность
Принимаем к установке один трансформатор ТМ-1600/10 мощностью
Его коэффициент нагрузки составит
Таким образом, компенсация реактивной мощности позволила
значительно уменьшить установочную трансформаторную мощность.
Задача 2.26. Определить
параметры Г - образной схемы замещения (рисунок 2.24) однофазного трансформатора
номинальной мощностью
номинальным напряжением
по данным опытов холостого хода и
короткого замыкания
Решение.
Номинальный первичный ток
Из опыта холостого хода находим:
Из опыта короткого замыкания определяем
Рисунок 2.24 Рисунок 2.25
Задача 2.27. Найти
номинальные токи
токи холостого хода
и сопротивления
и
к Г-образной схемы замещения трёхфазных трансформаторов,
технические данные взять из таблицы 2.6, параметры
и
влияют на напряжение вторичной обмотки трансформатора, поэтому их
значение необходимо при анализе работы трансформатора в разных режимах
нагрузки.
Таблица 2.6
Харак. Тр-ра
кВА
кВ
кВ
%ux
%
Вт
ВтСпособ
ТСМ 60/35 50 35 400 11,1 4,55 502 1200
|
|
|
|
ТСМ 560/6
|
560
|
6
|
400
|
4,58
|
4,27
|
1970
|
7000
|
|
Решение.
В паспорте трёхфазных трансформаторов
приводятся номинальная мощность и мощность потерь всех трёх фаз: под
номинальными напряжениями понимаются линейные напряжения на зажимах
трансформатора в режиме холостого хода, а под минимальными токами - линейные
токи независимо от соединения обмоток.
Номинальные токи
трансформатора ТСМ 60/35
Ток холостого хода (первичной обмотки)
Схема замещения трёхфазных трансформаторов составляется только для
одной фазы, поэтому для расчёта её сопротивления нужно использовать фазные
напряжения доки и мощности. У трансформатора ТСМ 60/35 - первичная обмотка
соединена звездой, а вторичная - треугольником, поэтому:
фазные напряжения
фазные токи
А;
Активные сопротивления Г - образной схемы замещения трансформатора
Полное сопротивление
находим с помощью формулы напряжения короткого замыкания
Реактивное сопротивление
Полное сопротивление ветви холостого хода
Реактивное сопротивление
Для трансформатора ТСМ 560/6 имеем:
Задача 2.28. Для
трансформатора ТСМ 60/35, данные которого приведены в таблице 2.6, определить
при половинной нагрузке
напряжение на вторичной обмотке, к. п.
д., ток и
первичной обмотки.
Для расчёта относительного изменения напряжения предварительно
необходимо найти

Относительное изменение напряжения определяется формулой:
При
Поэтому
При
напряжение на вторичной обмотке
К. п. д. (при
)
Активная мощность первичной обмотки
Ток первичной обмотки
Если реактивные мощности, обусловленные полями рассеяния
трансформатора не учитывать, то реактивная мощность первичной обмотки
будет равна сумме реактивных мощностей
нагрузки
и намагничивания сердечника
трансформатора
(реактивная составляющая тока холостого
хода, практически равна полному току
)

следовательно
Коэффициент мощности нагруженного
трансформатора
Задача 2.29. Для
трёхфазного трансформатора мощностью
соединение обмоток
известно: номинальное напряжение на зажимах первичной обмотки
трансформатора
напряжения холостого хода на вторичных
обмотках трансформатора
напряжение короткого замыкания
мощность короткого замыкания
мощность холостого хода
ток холостого хода
Определить:
) сопротивление обмоток трансформатора
) эквивалентное сопротивление
(сопротивление намагничивающей цепи) и его составляющие
и
которыми
заземляется магнитная цепь трансформатора;
) угол магнитных потерь
Построить характеристики трансформатора:
а) Зависимость
напряжения
от нагрузки (внешняя характеристика);
б) Зависимость
коэффициента полезного действия от нагрузки;
в) зависимость
к. п. д. от нагрузки; - коэффициент нагрузки трансформатора
(коэффициент мощности нагрузки принять
).
Построить векторную диаграмму трансформатора при нагрузке,
составляющей 0,8 от номинальной мощности трансформатора
и
Составить Т - образную схему замещения трансформатора.
Решение.
Определяем номинальный ток первичной обмотки
Определяем ток холостого хода и
Находим угол магнитных потерь
Сопротивления короткого замыкания:
Сопротивление первичной обмотки:
Сопротивление вторичной обмотки:
где
Определяем сопротивление намагничивающей цепи:
Для построения внешней характеристики
находим потерю во вторичной обмотке
трансформатора
где
и
- активные и реактивные падения напряжений.

Напряжение на зажимах вторичной обмотки трансформатора
определяется по формуле
Задаваясь разными значениями
определяем напряжение
(таблица 2.7):
Таблица 2.7
|
  
|
|
|
|
|
0,01
|
-
|
-
|
0,555
|
|
0,025
|
-
|
-
|
0,757
|
|
0,05
|
-
|
-
|
0,757
|
|
0,1
|
0,507
|
391,91
|
0,924
|
|
0,2
|
1,014
|
395,94
|
0,956
|
|
0,3
|
1,521
|
393.92
|
0,965
|
|
0,4
|
2,028
|
391,89
|
0,967
|
|
0,5
|
2,535
|
389,86
|
0,969
|
|
0,6
|
3,042
|
287,83
|
0,969
|
|
0,7
|
3,549
|
385,80
|
0,969
|
|
0,8
|
383,78
|
383,78
|
0,964
|
|
0,9
|
383,78
|
385,80
|
0,963
|
|
1,0
|
5,070
|
379,72
|
0,962
|
Для построения зависимости
расчёт к. п. д. производим по формуле
Результаты расчета сведены в таблице 3.2 Полученные характеристики
показаны на рисунке 3.7.
Определяем, при какой нагрузке трансформатор имеет максимальный
кпд:
Построение векторной диаграммы (рисунок 3.8) начнем с вектора
фазного напряжения
значение, которого для
и
равно
Приведенное значение вторичного напряжения
Вектор тока
отстаёт по фазе от вектора
на заданный угол
и равен
Падение напряжения на вторичной обмотке
Электродвижущую силу
находим из уравнения электрического состояния, составленного по
второму правилу Кирхгофа для вторичной цепи
Вектор магнитного потока
опережает вектор
на 90°, а ток холостого хода
опережает магнитный поток
на угол потерь
Ток в первичной обмотке трансформатора
получаем из уравнений магнитодвижущих сил
где
. Вектор напряжения первичной обмотки трансформатора
определяем из уравнения электрического
состояния, составленного по второму правилу Кирхгофа для первичной цепи
Током холостого хода можно пренебречь и принять
или определить
по диаграмме. Тогда падения напряжения в
первичной обмотке будут:
Рисунок 2.26 Рисунок 2.27
Литература
1. Бокалов В.П. и др. Основы теории электрических цепей и
электроники.М. Радио и связь, 1989г.
. Электротехника под ред.В.Г. Герасимова.М. Высшая школа,
1985г.
. Касаткин А.С., Немцов М.В. Электротехника.М.
"Энергоатомиздат", 1983г.
. Л.А. Бессонов. Теоретические основы электроники. Часть 1,
М. Радио.
.А.И. Иванов - Цыганов Электротехнические устройства радиосистем.М.
"Высшая школа", 1979г.
. Сборник задач по электротехнике и основам электроники. Под
ред.В.Г. Герасимова.М. Высшая школа, 1987г.
.О.Н. Веселовский, Л.М. Браславский. Основы электротехники и
электротехнические устройства радиоэлектронной аппаратуры.М., "Высшая
школа", 1977г.
. Шебес М.Р. Задачник по теории линейных электрических
цепей.М. Высшая школа.
. Сборник задач по общей электротехнике под ред.В.С.
Пантюшина. Изд-во "Высшая школа", 1973г.
. Сборник задач по теоретическим основам электротехники. Под
ред. Л.А. Бессонова, М, "Высшая школа", 1980г.