Дорожно-строительные машины

  • Вид работы:
    Контрольная работа
  • Предмет:
    Транспорт, грузоперевозки
  • Язык:
    Русский
    ,
    Формат файла:
    MS Word
    1,18 Мб
  • Опубликовано:
    2016-06-05
Вы можете узнать стоимость помощи в написании студенческой работы.
Помощь в написании работы, которую точно примут!

Дорожно-строительные машины

Содержание

привод дробилка бетономешалка

1. Дробильная машина

.1 Конструкция машины

.2 Определение основных геометрических размеров дробилки

.3 Определение производительности дробилки

.4 Определение мощности привода дробилки

.5 Определение оптимальной частоты вращения эксцентрикового вала

. Бетономешалка

.1 Конструкция бетономешалки

.2 Определение геометрических размеров смесительного барабана

.3 Определение технической производительности бетономешалки

.4 Определение массы материалов на один замес

.5 Определение массы смесительного барабана

.6 Определение частоты вращения смесительного барабана

.7 Определение мощности привода

Литература

Исходные данные:

Параметр бетономешалки:

Наклоняемый барабан;

Производственная емкость барабана, л - 1800;

Водоцементный фактор - 0,57;

Осадка конуса, см - 3;

Состав бетона - 1:3,25:5.

Параметр дробилки:

С сложным качанием подвижной щеки;

Размер исходного материала, мм - 400;

Степень измельчения-6:1;

Предел прочности материала, Мпа - 170,0

1. Дробильная машина

1.1 Конструкция машины

Процесс уменьшения размеров упруго-хрупкого тела от первоначальной (исходной) крупности до требуемой путем воздействия внешних сил называется дроблением или помолом, а машины, применяемые для этих целей, дробилками или мельницами.

Для обеспечения эффективности дробления материала от исходной до конечной крупности этот процесс осуществляется в большинстве случаев в несколько приемов, то есть последовательно на нескольких дробилках.

Каждая отдельная дробилка выполняет часть общего процесса, называемую стадией дробления. Одним из основных типов дробильных машин являются щековые дробилки. Они применяются для крупного и среднего дробления горныхпород средней и большой прочности.

При дроблении в несколько стадий щековые дробилки обычно осуществляют первую стадию дробления, хотя нередко применяются и на последующих стадиях.Принцип работы щековой дробилки заключается в следующем. В камеру дробления, имеющую форму клина и образованную двумя щеками,из которых одна в большинстве случаев является неподвижной, а другая подвижной, подается дробимый материал. Благодаря клинообразной форме камеры дробления куски материала располагаются по высоте камеры в зависимости от их крупности: более крупные - вверху, менее крупные -внизу.

Подвижная щека периодически приближается к неподвижной, причем при сближении щек (ход сжатия) куски материала дробятся, при отходе подвижной щеки (холостой ход) куски материала продвигаются вниз под действием силы тяжести, выходя из камеры дробления, если их размеры стали меньше наиболее узкой части камеры, называемой выходной щелью, или занимают новое положение, соответствующее своему новому размеру.

Затем цикл повторяется.

Характер движения подвижной щеки зависит от кинематических особенностей механизма щековых дробилок. За время применения этих дробилок для переработки различных материалов было предложено большое количество самых разнообразных кинематических схем механизма дробилок.

Все они могут быть разделены на две большие группы: дробилки с простым движением подвижной щеки (ЩДП), у которых траектории движения точек подвижной щеки представляют собой прямые линии или части дуги окружности, и дробилки со сложным движением подвижной щеки (ЩДС), траектории точек подвижной щеки которых представляют собой замкнутые кривые, чаще всего эллипсы.

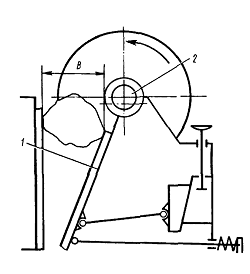
Рисунок 1 - Щековая дробилка с сложным качанием щеки: 1 - станина; 2 - кожух; 3 - приводной вал; 4 - клиновый механизм; 5 - регулировочное устройство; 6- пружина; 7 - тяга; 8 - распорная плита; 9 - подвижная щека; 10 - дробящая плита; 11 - неподвижная дробящая плита;

Дробилка со сложным движением щеки (рисунок 1) состоит из подвижной щеки 9, которая представляет собой стальную отливку, расположенную на эксцентричной части приводного вала 3. В ее нижней части имеется паз, куда вставлен сухарь для упора распорной плиты 8.

Другим концом распорная плита упирается в сухарь регулировочного устройства 5с клиновым механизмом. Замыкающее устройство состоит из тяги 7 и пружины 6. Натяжение пружины регулируется гайкой. В нижней части подвижной щеки имеется выступ, на который установлена дробящая плита 10. Неподвижная дробящая плита 11 снизу опирается на выступ станины 1, а с боковых сторон зажата боковыми футеровками, выполненными ввиде клиньев. Регулировка выходной щели осуществляется с помощью электродвигателя. Для предотвращения вылета дробимого материала предусмотрен кожух 2. Предохранительным устройством обычно является распорная плита 8. Ее делают либо с искусственно ослабленным сечением,либо составной из двух частей, скрепленных болтами (заклепками). При превышении допустимой нагрузки распорная плита ломается, предотвращая тем самым выход из строя более ответственных и дорогих узлов дробилки.

Направление вращения эксцентрикового вала 3 в дробилках со сложным движением щеки должно обеспечивать затягивание дробимого материала между дробящими плитами 10 и 11.

Дробилки со сложным качанием щеки более производительны по сравнению с аналогичными дробилками с простым качанием щеки, но из-за трения дробимого материала о дробящие плиты они подвергаются быстрому изнашиванию.

Рисунок 2 - Принципиальная схема щековой дробилки со сложным качением щеки:1 - неподвижная щека;2 - подвижная щека; 3 - дробильные плиты; 4 - главный вал; 5 - маховик; 6 - распорная плита; 7 - кусок дробимого материала.

Рисунок 3 - Кинематическая схема щековой дробилки со сложным качанием щеки

.2 Определение основных геометрических размеров дробилки

Определение угла захвата и размеров загрузочного зева дробилки

Углом захвата называют угол α (рисунок 3), образованный щеками дробилки при подходе подвижной щеки к неподвижной. Угол захвата должен быть равен двойному углу трения или быть меньше его. При f=0,3, tgα=16º40’, тогда α=33º20. На практике угол α принимают равным не более 22…24º для дробилок с простым качанием щеки. Принимаем 24º.

Рисунок 3 - Схема для определения угла захвата, щековой дробилки

Максимальный диаметр щебенки продукта дробления:


Определение размеров загрузочного отверстия

Определение размеров загрузочного отверстия

Ширина загрузочного отверстия (щели) b, м, составляет Dн/ 0,85, (Dн - наибольший размер куска породы, который может быть принят зевом дробилки, м).

Длина загрузочного окна l, м, составляет:

для дробилок со сложным качанием щеки

l=(1,4... 1,6) b. (1)


Ширина разгрузочной щели b', м:

b' = b/i.       (2)' = 470/6 = 78 мм = 0,08 м

Глубина зева дробилки Н, м, определяется по формуле

H=(b-(b'+S))/tgα  (3)

где S - ход щеки, м.

По рекомендациям ВНИ Истройдормаша ход щеки в мм для дробилок со сложным качанием щеки S = 7+0,1d.


.3 Определение производительности дробилки

Производительность (техническая) щековой дробилки, м3/ч, определяется по формуле

ПТ = 60пVµ,       (4)

где µ, - коэффициент разрыхления (наличия пустот);

µ = 0,3...0,6; - длина выходной щели, м;

п - частота вращения эксцентрикового вала, 1/мин; объем призмы дробленого материала, выпадающего при каждом отклонении щеки, м3;

V=Fl(рис. 5);

Рисунок 5 - Схема к определению технической производительности щековых дробилок

площадь поперечного сечения призмы дробимого материала, м2;

 ; h=S/tgα (5)

h=0,007/0,445 = 0,02 м


Таким образом,


Если принять размеры наибольшего куска, выходящего из дробилки, dmax=d+Sи наименьшего dmin=d, то средний размер куска после дробления будет:

ср=(dmax+dmin)/2=(2d+S)/2≈d,

т.е.=dSl/tgα.=0,067*0,007*0,75/0,445 =0,0008м3

Подставляя значения в формулу производительности, получим:

. (6)


1.4 Определение мощности привода дробилки

Мощность привода дробилки определяется по формуле

, кВт (7)

где σ - предел прочности дробимого материала (табл. 4), МПа;

п - частота вращения эксцентрикового вала, 1/мин; длина загрузочного отверстия, см; размер загружаемых в дробилку камней, см; размер раздробленного материала, см;

Е - модуль упругости (табл. 4) дробильного материала, МПа.


.5 Определение оптимальной частоты вращения эксцентрикового вала

При полном отходе подвижной щеки из камеры дробления за время одной половины оборота эксцентрикового вала выпадает продукт, по объему равный объему призмы.

Найдем время холостого хода щеки t,с, при частоте вращения вала п в минуту,

. (8)

За это же время из камеры дробления должна успеть выпасть часть материала, которая пройдет путь, равный высоте призмы h, м,


где g- ускорение свободного падения материала; g= 9,81 см/с2.

Приравняем правые части уравнений:

.

Отсюда частота вращения в минуту

, (9)

где S - ход щеки, м.

Для расчета полученную величину п снижают приблизительно на 10%.

530 об/мин.= 477об/мин.

2. Бетономешалка

2.1 Конструкция бетономешалки

Их применяют для приготовления бетонной смеси. Любая смесительная машина состоит из смесительной емкости, рабочих органов с их приводом, загрузочных и выгрузочных устройств.

По способу смешивания различают бетоносмесители гравитационные и принудительного смешивания, а растворосмесители - только принудительного смешивания.В гравитационных бетоносмесителях рабочими органами являются вращающиеся барабаны, на внутренних поверхностях которых закреплены лопасти. При вращении барабана компоненты бетонной смеси подхватываются лопастями и поднимаются вверх, откуда они свободно падают, перемешиваясь с нижними слоями, а последние увлекаются вверх.Такие бетоносмесители хорошо смешивают умеренно подвижные и подвижные бетонные смеси, но не обеспечивают достаточной однородности жестких и малоподвижных смесей.

Передвижные гравитационные бетоносмесители используют для приготовления бетонной смеси с крупностью заполнителя до 70 мм при выполнении небольших объемов работ.

Рисунок 5 - Кинематическая схема

На рис. дана, кинематическая схема передвижного бетоносмесителя с опрокидывающимся барабаном и дозатором воды. От электродвигателя I через многорядную клиноременную передачу 2, вал 3 и зубчатую передачу 4 приводится в движение вал 5, который конической шестерней соединен с зубчатым венцом 6 и вращает барабан 7 относительно вертикальной оси 10.

Цепной передачей 12 передается движение на барабаны 15 механизма подъема ковша 19. При включении конусного фрикциона 16 посредством рычага 14 канат /7, навиваясь на барабаны, поднимает ковш. В верхнем положении ковш 19 опрокидывается и его содержимое выгружается в барабан. Одновременно ковш своим упором ударяет по выключателю 13, который при повороте отключает фрикцион и включает ленточный тормоз /#, удерживающий барабан в положении разгрузки. Ковш опускается на тормозе 18, управляемым рычагом 14. Наклон барабана в момент разгрузки и опрокидывания при разгрузке осуществляется поворотом штурвала 9, шестерня которого имеет внутреннее зацепление с зубчатым сектором 8. При повороте сектор наклоняет траверсу 11 и барабан опрокидывается. В наклонном положении барабан удерживается тормозом или храповиком.

В бетоносмесителях с наклоняемыми барабанами происходит более эффективное перемешивание компонентов, чем в цилиндрических барабанах с горизонтальной осью вращения. Выгрузка готовой смеси из смесительных барабанов такого типа производится в короткий срок струей большого сечения (укрупненным объемом), что способствует сохранению достигнутой однородности смеси. Такие смесители, получившие преимущественное распространение, сложнее по конструкции, но отличаются большей степенью наполнения барабана, а также более быстрой и полной выгрузкой готовой смеси, чем гравитационные смесители с ненаклоняемыми барабанами.

На рис. 6 показан гравитационный бетоносмеситель, который предназначен для приготовления бетонной смеси с заполнителями крупностью до 120 мм. Этот бетоносмеситель является комплектующим

Рисунок 6 - Бетоносмеситель: а -общий вид; б - кинематическая схема

изделием для бетонных заводов и установок товарных бетонных смесей и технологических линий заводов железобетонных изделий.

Основными сборочными единицами бетоносмесителя (рис.6,а) являются опорные стойки 5, смесительный барабан 2 с располагаемыми на его внутренней поверхности лопастями, электродвигатель 3, пневмоцилиндр опрокидывания барабана 4 и цилиндрическая обечайка 1, внутренняя поверхность которой облицовывается набором сменных листов из износостойкой стали.

От электродвигателя через втулочно-пальцевую муфту 14 (рис.6, б), тихоходный вал-шестерню 15, зубчатые колеса 16, 17, 18 крутящий момент передается тихоходному валу редуктора и через шестерню 13, насаженную на вал,- зубчатому венцу 11 смесительного барабана. Для опрокидывания смесительного барабана в положение выгрузки и возвращения его в исходное положение применен пневматический привод, включающий в себя пневмоцилиндр 9, воздухораспределитель 8, маслораспылитель 7, вентиль 6 и запорное устройство 19 Барабан при вращении опирается на опорные и поддерживающие ролики. вращающиеся на подшипниках 10 и 12.

2.2 Определение геометрических размеров смесительного барабана

Полная емкость барабана определяется так же, как и для бетономешалки с неопрокидным барабаном. Определение основных размеров наклоняемого смесительного барабана (рис.7) производят на основании соотношений

Рис. 7. Схема к определению мощности привода и основных размеров смесительного барабана

Полная емкость барабанагеом= (2,5...3,0) VП, где VП- производственная емкость смесительного барабана, или емкость по загрузке, м3.

Отношение внешнего диаметра барабана D к его длине L D/L≈1,5, тогда

,

 м3

Откуда , м.

м

Определение основных размеров наклоняемого смесительного барабана (рис. 7) производят на основании соотношений:

Рисунок 7 - Схема к определению мощности привода и основных размеров смесительного барабана

/VП=2R/VП=1 (Dв мм и VП в л);

R1=R-40; 2R/D1=2,4; 2R/D2=3,5; 2R/l1=2,2; D=2R;

2R/l2=1,8; 2R/l3=6,8; R/r=6,0; r/r1=4,0,

где R и R1- внешний и внутренний радиусы смесительного

барабана, м;и D2 - диаметры загрузочного отверстия и дна смесительного барабана, м;- расстояние от загрузочного отверстия до бандажа, м;- расстояние от бандажа до его дна, м;- ширина бандажа, м.

R1=0,9-0,4=0,5 м= 1,79/2,4=0,75 м=1,79/3,5=0,51 м=1,79/2,2=0,81 м=1,79/1,8=0,99 м= 1,79/6,8=0,26 м=0,9/6,0 =0,15 м=0,15/4,0 =0,04 м

.3 Определение технической производительности бетономешалки

Техническая производительность бетономешалки, м3/ч,

, (11)

где VП - производственная емкость барабана, л;- коэффициент выхода бетона; k = 0,65…0,70;- число замесов в 1 ч;=3600/t;- время одного замеса, с;=t1+t2+t3;- время загрузки компонентов; t1=10…15 с;- время перемешивания смеси, с (табл.5);- время разгрузки, при неопрокидном 20…30 с.

t =10+120+20 =150 c=3600/150 = 24 зам.

 м3/ч

.4 Определение массы материалов на один замес

По заданному составу бетона 1:m:n найдем массу его составляющих (VП в литрах):

цемент

, γц = 1300 кг/м3;

 кг

Песок

, γп = 1600 кг/м3;

 кг

Щебень

, γщ = 1800 кг/м3;

кг

Вода

,

(В/Ц - водонепронецаемый фактор).

л

Общая масса материала, кг,

Gм=Ц+П+Щ+В. (12)м=253+1011+1751+144 = 3159 кг

2.5 Определение массы смесительного барабана

Соотношение между массой бетономешалки Gб, кг, и производственной емкостью смесительного барабана VП, л,

Gб/П = 4…6. (13)

кг

Масса смесительного барабана неопрокидного типа Gбар=70 % Gб.

Gбар=0,7*7200 = 5040 кг

2.6 Определение частоты вращения смесительного барабана

 . (14)

Где R1 в метрах.

об/мин.

.7 Определение мощности привода

Мощность привода бетономешалки, кВт, определяется по формуле

, (15)

где N1 - мощность, необходимая для преодоления сопротивления трения материала о внутреннюю поверхность барабана и его лопасти;- мощность, необходимая для преодоления сопротивления перемешиваемого материала подъему на высоту к; - мощность, необходимая для преодоления сопротивления трения между бандажами барабана и опорными роликами; - мощность, необходимая для преодоления сопротивления в цапфах опорных подшипников роликов;

η - КПД бетоносмесителя с учетом потерь в роликах; η = 0,7... 0,8.

Мощность, расходуемая на преодоление сопротивления трения материала о внутреннюю поверхность барабана,

 , (16)

здесь f - коэффициент трения скольжения материала о внутреннюю поверхность барабана; f = 0,4... 0,6.

кВт

Мощность, расходуемая на подъем материала на высоту h (h≈0,3R1),

 . (17)

 кВт

Мощность, необходимая для преодоления сопротивления трения качения между бандажами барабана и опорными роликами,

 , (18)

где fk - коэффициент трения качения, м; для стали fk = (2…5) 10-4;- расстояние от оси барабана до окружности ролика, м; R=R1;

α - угол установки опорных роликов; α=35…40º.

 кВт

Мощность, необходимая для преодоления сопротивления в цапфах опорных подшипников роликов,

 , (19)

здесь f - коэффициент трения скольжения цапф роликов в подшипниках, приблизительно равный 0,02…0,03.

 кВт= 11+8,2+0,5+0,9 = 21 кВт


Литература

1.Доценко А.И., Дронов В.Г. Строительные машины: Учебник для строительных вузов. - М.: ИНФРА - М, 2014. - 533 с.

.К.А. Артемьев, Т.В. Алексеев, Т.В. Алексеева, В.Г. Белокрылов Дорожные машины. Машины для устройства дорожных покрытий. Учебник для вузов. - М.: Машиностроение, 1982. - 396 с.

Похожие работы на - Дорожно-строительные машины

 

Не нашли материал для своей работы?
Поможем написать уникальную работу
Без плагиата!
Без нейросетей!