Cамолет Ан-12

  • Вид работы:
    Дипломная (ВКР)
  • Предмет:
    Транспорт, грузоперевозки
  • Язык:
    Русский
    ,
    Формат файла:
    MS Word
    2,61 Мб
  • Опубликовано:
    2015-10-26
Вы можете узнать стоимость помощи в написании студенческой работы.
Помощь в написании работы, которую точно примут!

Cамолет Ан-12

Реферат

САМОЛЁТ АН-12, СИСТЕМА ТОПЛИВНАЯ, НАДЁЖНОСТЬ, ТЕХНОЛОГИЧНОСТЬ РЕМОНТНАЯ, СТЕНД ДЛЯ ИСЫТАНИЯ ТОПЛИВНОГО НАСОСА ЭЦН-14, ГРАФИК СЕТЕВОЙ, РАЗРУШЕНИЕ.

В дипломном проекте дана характеристика конструктивных особенностей топливной системы самолета Ан-12. Проведен анализ надежности, выполнен анализ ремонтной технологичности топливной системы.

Проведен анализ технологического процесса ремонта самолета Ан-12, построена логическая модель (сетевой график). Разработан стенд для испытания топливного насоса после ремонта, разработана технология испытания насоса ЭЦН-14.

Введение

В настоящее время в нашей стране из-за того, что используется парк гражданской авиации устаревшей как морально, так и технически, совершенствование существующих и создание новых технологий ремонта является актуальной темой.

В данном дипломном проекте рассматривается самолет Ан-12, который в основном используется в военной транспортной авиации, для перевозки грузов, военной техники, а также парашютного десантирования. Он отличается простотой конструкцией и достаточно удобен в управлении, однако, существуют и недоставки: катастрофическая нехватка запасных частей, в связи с тем, что самолёт давно уже не выпускается, а также средняя ремонтопригодность.

Предприятие ОАО «325 АРЗ» имеет достаточно большой опыт по ремонту самолета Ан-12. Но технологический процесс ремонта до конца не отработан - ряд дорогостоящих агрегатов предприятие вынуждено заменять на новые, а также из-за отсутствия специального оборудования применять обходные технологии.

Особенно большие трудности проявляются при ремонте воздушных винтов, шасси и топливной системы. Поэтому тема «Совершенствование технологического процесса ремонта топливной системы самолета Ан-12» является достаточно актуальной.

В данном дипломном проекте, рассмотрены конструктивные особенности топливной системы самолета Ан-12. Описаны особенности эксплуатации самолета в различных климатических условиях. Представлена статистика отказов и неисправностей топливной системы.

Выполнен анализ эксплуатационной надежности топливной системы самолёта Ан-12. Произведен анализ причин появления негерметичности манжеты сальникового уплотнения электроприводного центробежного топливного насоса ЭЦН-14. Предложены мероприятия по повышению ее надежности.

Выполнен анализ ремонтной технологичности путем сопоставления требований топливной системы с реальными свойствами и требованиями, предъявляемыми к топливной системе самолёта Ан-12. Для количественного анализа ремонтной технологичности рассмотрена операция демонтажа-монтажа топливного насоса ЭЦН-14.

Проведен анализ организационной структуры процесса ремонта самолёта Ан-12. Спроектирована установка для испытания топливного подкачивающего насоса ЭЦН-14 после ремонта, разработаны технологические карты по испытанию насоса. Рассмотрены методы диагностирования насосов по параметрам функционирования.

1. Анализ и совершенствование конструкции топливной системы самолёта Ан-12

.1 Особенности конструкции и условия эксплуатации топливной системы самолета Ан-12

Общие сведения о самолете Ан-12

Первый Ан-12 (рисунок 1.1) взлетел в Иркутске 16 декабря 1957 года. С 1959 года самолет начал поставляться в ВВС. В процессе эксплуатации его разрешенная взлетная масса была увеличена до 61, а впоследствии и до 64 тонн. Самолет зарекомендовал себя как очень надежный аппарат, способный работать в сложных климатических условиях, и неприхотливый в обслуживании.

Самолет активно применяется в военных целях, в чрезвычайных ситуациях, для переброски военной техники и личного состава, для десантирования, а также для пассажирских перевозок. Именно он стал локомотивом развития влияния ВВС СССР.

Фюзеляж <#"868425.files/image001.gif">

Рисунок 1.1 - Самолёт Ан-12

Летно-технические характеристики самолёта Ан-12 (базовая версия):

Двигатели ТВД АИ-20М (4*4250 л.с.)

Размеры:

размах крыла, м 38,015

длина самолёта, м 33,109

высота, м 10,524

Масса и нагрузки:

взлётная, т 64

пустого снаряженного, т 35,34

самолёта без топлива, т 34,58

макс. ком. нагрузка, т 20

посадочная, т 58

запас топлива, т 22,066

Летные данные:

максимальная скорость, км/ч 686

крейсерская скорость, км/ч 570

эксплуатационный потолок, м 10500

потребная длина ВПП, м 900-2200

Накопленный опыт по увеличению ресурсов и сроков службы самолётам Ан-12 показал, что индивидуальное поэтапное продление ресурсов и сроков службы является наиболее эффективной системой поддержания их летной годности. Установленные при индивидуальном продлении ресурсы и сроки службы:

назначенный ресурс - 50000 летных часов, 17000 полётов;

назначенный срок службы - 45 лет;

межремонтный ресурс - 8000 летных часов, 2500 полётов;

межремонтный срок службы - 15 лет.

На самолете имеются следующие системы:

гидравлическая система;

система управления самолетом (управление всеми поверхностями управления осуществляется вручную пилотами);

система силовой установки (ВСУ, система управления двигателями);

топливная система (система подачи топлива, система дренажа, система централизованной заправки, система нейтрального газа);

система кондиционирования воздуха (СКВ);

противообледенительная система (ПОС)

противопожарная система;

вспомогательные системы и оборудование.

Общие сведения о топливной системе

К топливной системе самолёта Ан-12 предъявляется ряд требований, важнейшим из которых является обеспечение бесперебойной подачи топлива к двигателям на всех режимах, на разных высотах и при различных температурах наружного воздуха.

Топливная система самолёта Ан-12 (рисунок 1.2) состоит из следующих отдельных подсистем:

подачи топлива;

дренажной;

централизованной заправки топливом;

нейтрального газа.

Рисунок 1.2 - Топливная система самолёта Ан-12

Баки системы (34шт.), объединены в 12 групп по 6 в правой и левой половинах крыла, по одному бак-кессону в каждой консоли крыла и 3 подпольных дополнительных топливных бака.

Первые группы непротектированных баков расположены в отсеках центроплана между нервюрами № 0-2, последующие 5 групп в отсеках между нервюрами ОЧК (доступ к бакам через верх в центроплане и низ СЧК после демонтажа съёмных панелей).

Баки группы в нижней части соеденены между собой металлическими фланцами, а в верхней - дренажным соединением.

В каждой группе баков имеется расходный бак, на котором установлена следующая арматура:

фланец для крепления подкачивающего насоса;

заливная горловина;

сливные краны для слива отстоя из группы;

фланец крепления датчика топливомера СЭТС-260В;

Система подачи топлива состоит из трубопроводов, идущих от подкачивающих насосов (агр.463, ЭЦН-14), по хвостовой части крыла за задним лонжероном в гондолы двигателей - к подкачивающим насосам (агр. 707И). К трубопроводу каждой группы баков подсоединён сигнализатор давления СДУ-2А-0,18, а после каждого подкачивающего насоса установлены обратные клапаны. К правым двигателям подача топлива из левых групп баков может осуществляться через трубопровод кольцевания, проложенный по переднему лонжерону крыла. На трубопроводе в центроплане имеется перекрывной кран (кран кольцевания) тарельчатого типа с приводом от электромеханизма МЗК-2. В нормальном режиме работы кран кольцевания закрыт. В районе гондол двигателей на переднем лонжероне установлены перекрывные (пожарные) краны, по конструкции аналогичные крану кольцевания.

Питающий трубопровод после пожарного крана идёт в гондолу каждого двигателя до фильтра грубой очистки 52ТФ26-1, смонтированного со сливным краном, далее к насосу на двигателе (агр. 707И), топливному фильтру тонкой очистки 12ТФ-29, к расходомеру РТМС1,2-Б-1 и топливному насосу 661А двигателя.

Для контроля за давлением топлива перед насосом (агр. 707И) установлен датчик ИД-3(П-3), а перед форсунками - датчики ИД-100(П-100) с указателями на приборной доске лётчиков.

Дренажная система состоит из трубопроводов, проложенных над баками, которые соединяют группы баков между собой. Трубопровод баков №1 и №2 соединён с дренажным заборником у нервюры №2 правого крыла.

Коллекторы дренажной системы правой и левой половин крыла объединяются через первые группы баков и сообщаются с заборником дренажа.

В целях повышения надёжности работы системы в дренажном трубопроводе каждой половины крыла установлены вакуумные клапаны.

Система централизованной заправки всех баков топливом из одной точки предназначена для ускорения заправки. При централизованной заправке пистолеты подсоединяются через специальный переходник к заправочной горловине самолёта, установленной в передней части правого обтекателя шасси. Трубопровод, соединяющий заправочную горловину с заправочными кранами, проложен по правому борту фюзеляжа и переднему лонжерону центроплана и крыла.

Контроль за давлением в системе централизованной заправки осуществляется двумя сигнализаторами давления: СД-29А-0,15 и СД-24А-3,5.

Система нейтрального газа предназначена для подачи во время полёта газообразной углекислоты в топливные баки и создания в них взрывобезопасной среды. Состоит она из 4 баллонов ОСУ-5, установленных в низу шпангоута №27; трубопровода, соединяющего систему НГ с дренажом, обратных клапанов; сигнально-предохранительного устройства на правом борту фюзеляжа и редуктора для понижения давления в баллонах ОСУ-5 со  до .

Для предотвращения обмерзания дросселя в системе имеются электрообогреватели. Трубопроводы системы нейтрального газа соединены ниппельными соединениями.

Электроприводной центробежный насос ЭЦН-14

Электроприводных подкачивающих насосов на самолёте два, установлены в бак-кессонах, внутрибакового исполнения. Предназначен для подкачки топлива в основной топливный насос двигателя и для повышения высотности топливной системы самолёта, а также для перекачки топлива из одного бака в другой.

Основные технические данные насоса ЭЦН-14

Направление вращения левое (если смотреть со стороны противоположной приводу)

Рабочее положение насоса вертикальное электродвигателем вверх

Рабочая жидкость Т-1, ТС-1

Температура рабочей жидкости, при которой насос работоспособен, от минус 40 до плюс 40

Температура среды окружающей топливные баки, при которой насос работоспособен, от минус 55 до плюс 55

Время непрерывной работы насоса не более 12 ч за полёт

Масса сухого насоса, кг, не более 5

Высота над уровнем моря, м от 0 до 10000

Напряжение на клеммах электродвигателя, В 27

Сила тока, потребляемая электродвигателем, А, не более 12,0

Производительность насоса, л/ч 5000

Во время работы насоса допускается просачивание рабочей жидкости не более 0,5  по уплотнению вала в дренаж, соединённый с атмосферой, при температуре рабочей жидкости до минус . Неработающий насос должен быть герметичен.

Особенности технической эксплуатации топливной системы самолёта Ан-12

Самолёт Ан-12 эксплуатируется в различных климатических условиях от крайнего севера до жаркого юга, в условиях сильной запылённости, а также на грунтовых аэродромах.

Работоспособность и надёжность топливных систем в значительной степени зависит от эксплуатационных свойств заправляемого сорта и качества топлива.

Применяемые в топливной системе самолёта Ан-12 топлива ТС-1 и ТС-2 должны соответствовать требованиям ГОСТ, которые нормируют степень очистки заправляемого топлива. В нём не должны быть механические частицы размером более 5 мкм и масса механических примесей не должна превышать 0.0002%, а свободной воды - 0.003% массы топлива. Также определённые требования накладываются на такие свойства топлива как испаряемость, прокачиваемость, противоизносные свойства, стабильность, безопасность.

Топливная система наиболее подвержена влиянию аэроклиматических факторов вследствие того, что авиационные топлива обладают свойством обратимой гигроскопичности, заключающимся в том, что при высоких температурах и влажности топливо насыщается водой из воздуха, а при низких - влага выделяется из топлива в виде микрокапель, замерзающих в топливе, и в виде инея, оседающего на стенках не залитых топливом баков, агрегатах топливной системы, топливомерах и др.

В полёте температура топлива в баках устанавливается на  выше температуры окружающего воздуха. Минимальная температура топлива в баках не бывает ниже , а в подавляющем большинстве случаев она не ниже . Вследствии понижения в полёте температуры топлива и давления в надтопливном пространстве растворимость воды резко уменьшается. При охлаждении топлива от 20 до  из каждой тоны топлива может выделиться в виде эмульсии около 90 г воды.

Отстойная вода, попадая в зазоры герметизирующего слоя баков-кессонов, при изменении температуры от положительной у земли до отрицательной на высоте, расклинивает швы и трещины и отрывает покрытие от стенки бака, что в конечном итоге приводит к течи топлива. Образующийся на стенках топливных баков иней может привести к забивке дренажа и смятию топливных баков при снижении самолёта.

Наиболее распространенный метод борьбы с кристаллообразованием - применение специальных противодокристаллизирующих присадок (ПВК), понижающих температуру кристаллизации воды в топливе ниже эксплуатационных пределов. Наиболее распространенными ПВК присадками являются тетрагидрофурфуриловый спирт (ТГФ) и его смесь с метанолом (ТГФ-М). Для борьбы с отридцательными проявлениями отстойной воды используют систематический слив отстоя из нижних точек топливных баков до и после заправки.

Основные правила технической эксплуатации топливной системы при отрицательных температурах сводятся к следующему. Во избежание обмерзания инея не рекомендуется оставлять самолёт с незаполненными топливными баками. Отстой необходимо сливать непосредственно после прилёта и после заправки. В случае срабатывания светосигнальных табло, свидетельствующих о забивке фильтров любого двигателя, необходимо снять и осмотреть фильтры всех двигателей. Перед вылетом самолёта рекомендуется осмотреть заборники воздуха дренажных систем и убедиться в отсутствии их обмерзания.

1.2 Анализ эксплуатационной надежности

Надёжность - это свойство объекта выполнять заданные функции, сохраняя во времени значения установленных показателей в заданных пределах, соответствующих заданным режимам и условиям использования, технического обслуживания, ремонта, хранения и транспортирования.

Анализ эксплуатационной надежности служит основой для обоснования мероприятий по совершенствованию технологических процессов ТО и Р и конструкции объекта. Комплексное понятие “надежность” характеризует ряд специфических свойств объекта: безотказность, долговечность, ремонтопригодность и сохраняемость. Наиболее важным из них является безотказность, т.е. способность объекта выполнять заданные функции в течении установленного периода времени (наработки), сохраняя значения основных выходных параметров в пределах, установленных нормативно - технической документацией.

.2.1 Качественный анализ надежности

Качественный анализ проведён на основе статистических данных собранных во время прохождения преддипломной практики в ФГУП “325 Авиационный Ремонтный Завод” города Таганрог.

Статистические данные об отказах и неисправностях топливной системы сгруппированы и представлены в таблице 1.1.

Таблица 1.1 - Статистические данные об отказах и неисправностях топливной системы самолёта Ан-12.

№ п/п

Наименование узла, агрегата, детали

Характер отказа

Повторяемость, ч

Обстоятельства и способ обнаружения

Причина

Класс-сификация

1

2

3

4

5

6

7

1

Поплавковый клапан гидравлического типа системы централизованной заправки топливом У6110-220

Заклинивание поршня во втулке клапана

6785, 6931, 7134

При проведении испытаний ЛА на ЛИС после КВР

Попадание посторонних частиц между поршнем и втулкой клапана.

Р



Засорение калиброванного отверстия жиклёра в головке поршня

6971

При проведении дефектации и определении ТС

Попадание посторонних частиц в калиброванное отверстие жиклёра в головке

Э






поршня, в следствии использования некондиционого топлива


2

Подкачивающий топливный насос агр. 463

Разрушение шарикоподшипников с последующим заклиниванием ротора

5432, 5736, 5890, 6120, 6871, 7324

При проведении дефектации И определении ТС

Вымывание смазки в следствии усадки манжет сальникового уплотнения

КПН



Негерметичность

5874, 6941, 6989

Течь топлива через сальниковые уплотнения привода при проведении дефектации и определении ТС

Усадка манжеты сальникового уплотнения привода

КПН

3

Электроприводной центробежный топливный насос ЭЦН-14

Негерметичность

6420, 7205

Подтекание топлива в дренаж при проведении дефектации и определении ТС

Усадка манжеты сальникового уплотнения привода

КПН



Износ шлицов на приводном валу

4819

При проведении дефектации и определении ТС

Недостаточная износостойкость материала

КПН



Разрушение канавки под шпонку на валу насосного колеса

5280, 7401

При проведении дефектации и определении ТС

Недостаточная усталостная прочность вала насосного колеса

КПН



Износ золотника

5538

Внутренняя негерметичность регулировочного клапана при проведении дефектации

Недостаточная износостойкость материала

КПН





и определении ТС





Разрушение шарикоподшипника

1592, 2256, 3370, 3713, 4367, 4748, 5108, 5328, 5887, 6017, 6462, 6987, 7123, 7493, 7985

Повышен-ный шум при работе насоса при визуальном осмотре при приемке самолета

Вымывание смазки из шарикоподшипника в следствии износа манжет сальникового уплотнения

КПН

4

Мягкие топливные баки

Негерметичность

3984, 4253, 4573, 5739, 6371, 7456

Многочисленные сетки трещин вокруг технологических фланцев при проведении дефектации и определении ТС

Старение резинотехнических изделий

КПН

5

Бак-кессоны

Негерметичность

1293, 2903, 3018, 4847, 6702

Течь и отпотевание топлива по заделке и винтам крепления панелей при визуальном осмотре при приемке самолёта

Старение, местное разрушение и отслоение герметика на внутренней поверхности бака

КПН

6

Топливный фильтр грубой очистки 8Д2.966.005

Коррозия фильтра

6490

При проведении дефектации и определении ТС

Некондиционное топливо

Э

7

Топливный фильтр тонкой очистки 12ТФ15СН

Загрязнение фильтроэлемента

4893, 7301

При работе двигателя горит табло "Давление топлива"

Некондиционное топливо

Э

8

Пожарный кран линии выработки топлива У6100-40М

Ослабление крепления

4390, 7783

При проведении дефектации и определении ТС

Усадка войлочной прокладки

КПН

9

Сливной клапан У6110-380

Износ уплотнительных колец

4893, 6027, 6567

Подтекание топлива при визуальном осмотре при приемке самолета

Недостаточная износостойкость резинотехнических изделий

КПН

10

Обратный клапан линии выработки топлива П6100-130

Износ уплотнительного кольца

3987

Течь по стыку между седлом и клапаном при визуальном контроле и испытании на герметичность

Недостаточная износостойкость резинотехнических изделий

КПН

11

Пробка заливной горловины У6110-30

Обрыв звеньев цепочки

3987, 5098, 6203

При проведении дефектации и определении ТС

Неправильные действия ИТС

Э

12

Трубопроводы

Негерметичность

6704, 6810

Течь топлива в местах соединения трубы с дюритовой муфтой при визуальном контроле и испытании на герметичность

Недостаточная затяжка хомутов

Р


Произведено группирование отказов по принадлежности к узлам и агрегатам топливной системы, по виду и происхождению. Результаты группирования отказов топливной системы показаны в виде круговых диаграмм, отражающих процентное соотношение различных групп отказов. (рисунки 1.3, 1.4, 1.5).

Рисунок 1.3 - Группирование отказов по причинам возникновения

Рисунок 1.4 - Группирование отказов по принадлежности к узлам и агрегатам

Рисунок 1.5 - Группирование отказов по характеру дефекта

Выводы:

. По происхождению отказов на долю конструктивно-производственных отказов приходится 67%, на нарушение правил ремонта 11%, и 22% на долю нарушения правил эксплуатации. Так как подавляющее число отказов являются конструктивно-производственными, то следует обратить наибольшее внимание на технологию сборки и культуру производства узлов и агрегатов топливной системы. Также большое количество отказов, связанно с нарушением правил эксплуатации и ремонта. Это связанно с тем, что работы по техническому обслуживанию и ремонту производятся специалистами низкой квалификации. Поэтому необходимо повысить контроль работ по обслуживанию при эксплуатации и ремонте.

При проведении анализа выяснилось, что больше всего отказов приходится на электроприводной центробежный топливный насос ЭЦН-14 (40% всех отказов). На подкачивающий топливный насос агр.463 приходится 18% отказов, на мягкие топливные баки 12%. Из этого следует, что одним из наиболее слабых узлов топливной системы является электроприводной центробежный топливный насос ЭЦН-14. Необходимо произвести некоторые конструктивные доработки насоса ЭЦН-14 для исключения его отказов. Так же следует обратить внимание на подкачивающий топливный насос агр.463.

Из распределения отказов следует, что на отказы связанные с разрушением подшипников и валов топливных насосов приходится 40% всех отказов, на различного вида негерметичности (трубопроводов, баков, насосов) 32%, на износ (уплотнительных колец, золотников, шлицов) приходится 11%. Необходимо применять более современные материалы для ремонта агрегатов и их элементов конструкции. Также необходимо повысить контроль со стороны инженерно-технического персонала за качеством проводимых работ по обнаружению неисправностей в наиболее вероятных местах исходя из статистических данных.

. Для дальнейшего исследования выбирается разрушение шарикоподшипника электроприводного центробежного топливного насоса ЭЦН-14, так как именно в этом агрегате наблюдается большое число отказов.

Количественный анализ надежности

Количественный анализ надежности заключается в определении теоретического закона распределения наработки объекта до отказа. На их основе определяется фактическая надежность объекта в пределах назначенного ресурса, а также необходимость проведения мероприятий, направленных на повышение уровня надежности.

В качестве объекта выбран электроприводной центробежный топливный насос ЭЦН-14. Неисправность заключается в вымывании смазки из шарикоподшипника в следствии не герметичности резиновой манжеты.

Исходные данные для расчета надежности:

Общее число неисправных деталей n, шт. 15

Число наблюдаемых деталей, N, шт. 270

Время наблюдения, T, ч 8000

Вариационный ряд наработок до возникновения неисправности:

, 2256, 3370, 3713, 4367, 4748, 5108, 5328,

, 6017, 6462, 6987, 7123, 7493, 7985

Статистическая информация по данному отказу предоставлена ФГУП “325 Авиационный Ремонтный Завод” за период 2006-2010 года.

Интервал наработки 0…8000 часов разбиваем на разряды по правилу Старджена для плана наблюдения [NUT]:

 (1.1)

Число разрядов k принимаем равное 5. Найдём интервал времени .

 часов (1.2)

Расчёт эмпирических характеристик надёжности

В каждом интервале  производим расчёт эмпирических значений плотности , интенсивности  отказов и вероятности безотказной работы  по формулам:

 (1.3)

 (1.4)

, (1.5)

где  - число объектов, отказавших в интервале наработки ;

 - число объектов, исправно работающих на начало рассматриваемого периода.

Результат расчётов эмпирических характеристик надёжности представлен в таблице 1.2.

Таблица 1.2 - Расчёт эмпирических характеристик надёжности

№инт       ч, ч105

/час105

1/час







 

1

2

3

4

5

6

7

8

1

0

1600

1600

1

0,231

0,231

1

2

1600

3200

1600

1

0,231

0,232

0,996

3

3200

4800

1600

4

0,926

0,932

0,994

4

4800

6400

1600

4

0,926

0,946

0,979

5

6400

8000

1600

5

1,157

1,201

0,963


По данным таблицы 1.2 строятся гистограммы эмпирического распределения, приведенные на рисунках 1.6, 1.7, 1.8.

Рисунок 1.6 - Гистограмма эмпирического распределения плотности отказов

Рисунок 1.7 - Гистограмма эмпирического распределения интенсивности отказов

Рисунок 1.8 - Гистограмма эмпирического распределения вероятности безотказной работы

Вымывание смазки из шарикоподшипника, в следствии не герметичности резиновой манжеты связано с накоплением повреждений в материале. Накопление повреждений происходят с постоянной или примерно постоянной скоростью развития. Следовательно, можно сделать вывод, что вариационный ряд наработки подчиняется нормальному закону распределения. Этому предположению не противоречит и внешний вид гистограмм.

Определение параметров закона распределения

Нормальное распределение является двухпараметрическим, т. е. для его полного определения необходимо найти два параметра - mt и σt.

Для плана наблюдения [NUТ] параметры можно вычислить методом разделяющих разбиений.

Выберем значения наработки  и

Значения  соответственно:

По таблице стандартной нормальной функции распределения находим значения квантилей Z

 

 (1.6)

 (1.7)

 (1.8)

 (1.9)

Проверка правильности принятой гипотезы

Проверка правильности принятой гипотезы осуществляется с помощью критерия  Пирсона. Для его использования необходимо определить некоторую величину , характеризующую степень расхождения теоретического и эмпирического распределений, и оценить значимо ли это расхождение или незначимо. Принимаем, что =, где  рассчитывается по формуле:


где  - теоретическая вероятность отказа в интервале ;- количество наблюдаемых объектов;

 - число объектов, отказавших в интервале наработки .

При распределении значение  определяется выражением:

 (1.11)

где , - наработки, соответствующие началу и концу интервала .

Расчёт критерия Пирсона  представлен в таблице 1.3.

Таблица 1.3 - Расчёт критерия Пирсона









1

2

3

4

5

6

7

8

9

1

0

1600

1600

1

0,0015

0,405

0,595

1,4691

2

1600

3200

1600

1

0,0040

1,080

-0,080

0,0059

3

3200

4800

1600

4

0,0101

2,727

1,273

0,5943

4

4800

6400

1600

4

0,0212

5,724

-1,724

0,5193

5

6400

8000

1600

5

0,0403

10,881

-5,881

3,1786

6

8000

-2550,9222248,9946,0060,1449











270




5,9121


Найдём меру расхождения  по формуле:

 (1.12)

Следовательно, .

Число степеней свободы r в случае 6 разрядов таблицы и двух параметров закона распределения равно 3 (r=6-2-1). Задавшись уровнем значимости α=10% находим . По таблице распределения  для  и r=3 находим  Подсчитанное значение  не попадает в критическую область (6,25; +∞), следовательно, принятая гипотеза о нормальном законе распределения не противоречит статистическим данным.

Определение точности оценок параметров распределения

Верхняя и нижняя границы доверительного интервала для параметров mt и σt вычисляются по формулам:

 (1.13)

 (1.14)

 (1.15)

 (1.16)

 - квантиль нормального распределения, для  

Таким образом, интервал (3047;5841,8) с доверительной вероятностью 90% покрывает истинное значение параметра -, а интервал (12017,2;16605) - значение параметра .

Построение графиков теоретического распределения

Построение графиков распределения производим для диапазона 0<t<8000ч.

 (1.17)

 (1.18)

 (1.19)

 (1.20)

 (1.21)

Расчётные данные сведены в таблицу 1.4.

Таблица 1.4 - Расчёт теоретических характеристик

t, час

0

1000

2000

3000

4000

5000

6000

7000

8000

1

2

3

4

5

6

7

8

9

10

λ(t),1/час0,05030,10130,19410,35420,61531,01861,61222,44183,5542










f(t),1/час0,05030,10120,19360,35210,60881,00041,56282,32093,2777










PВ(t)

1

0,9999

0,9995

0,9992

0,9988

0,9984

0,9971

0,9962

0,9954

P(t)

1

0,9986

0,9974

0,9938

0,9893

0,9821

0,9693

0,9505

0,9222

PН(t)

1

0,9706

0,9564

0,9318

0,9147

0,8849

0,8485

0,8051

0,7449


По данным таблицы 1.4 строится график теоретического распределения вероятности безотказной работы, приведенный на рисунке 1.9.

Рисунок 1.9 - График теоретического распределения вероятности безотказной работы

Произведём сравнение фактических значений характеристик надёжности с нормативными величинами. В качестве нормативной величины используем гамма-процентную наработку до первого отказа. Гамма-процентная наработка  - это наработка, в течение которой изделие проработает до первого отказа с вероятностью , выраженной в процентах.

Определим - процентный ресурс для и нижней оценки :

 (1.22)

Отсюда  (1.23)

Определим - процентный ресурс для и верхней оценки :

 (1.24)

Отсюда

Вывод: Величина =1034,62 часов удовлетворяет требованиям надёжности, т.к. по форме Ф-1 (300 ± 30 часов полета) периодического обслуживания контролируется состояние топливного насоса ЭЦН-14. Но так разрушения шарикоподшипника в топливном насосе ЭЦН-14 повторяется достаточно часто, необходимо исследовать данную неисправность.

Исследование причин появления негерметичности манжеты сальникового уплотнения электроприводного центробежного насоса ЭЦН-14.

Предварительное ознакомление с объектом исследования

Во время проведения осмотра и определения технического состояния самолета Ан-12 при приемке на заводе был обнаружен повышенный шум при работе топливного насоса.

Был произведен демонтаж топливного насоса с самолета с целью определения данной неисправности.

Насос в разрезе представлен на рисунке 1.10.

Рисунок 1.10 - Насос ЭЦН-14: 1 - электродвигатель МГП - 180, 2 - опорный конус, 3 - резиновая манжета, 4 - вал, 5 - шпонка, 6 - крыльчатка, 7 - кольцо, 8 - сливная пробка, 9 - кольцо крепёжное, 10 - кольцо стопорное, 11 - обтекатель, 12 - корпус, 13 - дренажный канал, 14 - фильтр, 15 - уплотнительное кольцо, 16 - крышка, 17 - замок

При разборке и детальнейшем осмотре выяснилось, что причиной повышенного шума насоса, является вымывание смазки из шарикоподшипника вследствие негерметичности резиновой манжеты электроприводного центробежного насоса ЭЦН-14.

На основании проведённого анализа можно сделать вывод о том, что наиболее вероятными причинами потери герметичности манжеты могут быть:

) изменение физико-химических свойств резины в результате перегрева манжеты;

) потеря герметичности вследствие неблагоприятного сочетания допусков и увеличения биения вала;

) попадание загрязненной рабочей жидкости в область контакта манжеты с валом, износ вала и снижение необходимого для герметизации контактного давления.

Анализ внешнего состояния

В результате внешнего осмотра, после разборки отказавшего агрегата, было выявлено следующее:

в насосе ЭЦН-14 геометрические размеры установленной резиновой манжеты соответствовали ТУ, однако присутствовали перегрев и изменение физического состояния материала манжеты (растрескивание резины), также присутствовали механические повреждения манжеты;

на валу насоса были обнаружены продольные риски и износ вала в места контакта манжеты с валом 0,5мм;

на контактной поверхности манжеты было обнаружено внедрение твердых механических частиц размером до 3 мкм, что говорит о том, что в зону контакта манжеты с валом попали посторонние механические частицы;

Анализ условий работы

На электроприводной центробежный насос ЭЦН-14 действуют различные факторы, такие как колебания температуры наружного воздуха и рабочей жидкости, повышенная вибрация, давление рабочей жидкости.

К конструктивным недостаткам, вследствие которых может возникнуть негерметичность манжетного уплотнения, можно отнести: плохие условия смазки и чрезмерный натяг, из-за которых происходит нагрев и износ деталей уплотнения; недостаточный натяг по контактным поверхностям; ошибки в назначении посадок вала и манжеты, при которых минимальный натяг манжетного уплотнения не обеспечивает необходимой герметичности.

К производственным факторам, влияющим на работу насоса, относятся шероховатость поверхности вала в месте контакта манжетного уплотнения, влияние допусков на вал и манжету, термообработка вала.

К эксплуатационным факторам, влияющим на герметичность уплотнения можно отнести загрязненность рабочей жидкости, которая в процессе эксплуатации не проверяется.

При изучении конструкции было установлено ее соответствие рабочему чертежу, отсутствие производственных дефектов, соответствие прочностных свойств материала.

На основании проведённого анализа можно сделать вывод о том, что наиболее вероятными причинами потери герметичности манжеты могут быть: перегрев манжеты, попадание загрязненной рабочей жидкости в область контакта манжеты с валом, износ вала и снижение необходимого для герметизации контактного давления; потеря герметичности вследствие неблагоприятного сочетания допусков.

Для доказательства выдвинутых гипотез произведём следующие поверочные расчёты:

)тепловой расчет манжеты.

)определение герметичности манжетного уплотнения при неблагоприятном сочетании допусков;

)определение герметичности манжетного уплотнения при неблагоприятном сочетании допусков и допустимом биении вала;

)определение герметичности манжетного уплотнения при неблагоприятном сочетании допусков, допустимом биении и износе вала;

Поверочные расчеты:

Тепловой расчет манжетного уплотнения

Мощность трения Nf,Вт вследствие малой утечки через уплотнение практически равна тепловыделению Qf в зоне контакта:

Nf = Qf =Mf ·ω =0.5·π·f·P·D2·ω, (1.25)

где Мf - момент трения, Нм;

ω - угловая скорость вала, рад/с.= 0,5·3,14·0,2·4158,6·0,0072·628 = 40,183 Вт;

Температура Ту в зоне контакта:

Ту = T + ΔТу, (1.26)

, (1.27)

где Pf - удельная сила трения, Н/м;- скорость скольжения, м/с;- критерий Био (является функцией критериев Рейнольдса Re и Прандля Pr) определяется по графически;

Для валов из конструкционной стали:

 (1.28)

= f ·P = 0.2·4158.6 = 631.8 H/м;

,  (1.29)

,  (1.30)

,

Ту = 32,5 + 43.8 = 76.3 ˚С;

Рабочий диапазон температур данной манжеты (на основе СКН-18):

Т = (-45….+100)˚С

Время нагрева вала до установившейся температуры:

, (1.31)

.

Температура в зоне контакта Ту = 76,3ºС, а рабочий диапазон температур манжетного уплотнения Т=(-45….+100)˚С, из этого следует что перегрева манжеты резинового уплотнения не было, а следовательно и предпосылок для нарушения герметичности.

Определение герметичности манжетного уплотнения при неблагоприятном сочетании допусков

На элемент манжеты (рисунок 1.11) действуют следующие составляющие удельной силы контакта: - от растяжения манжеты; - от изгиба манжеты вследствие динамического и статического эксцентриситетов;  - от растяжения пружины;  - от давления жидкости и среды на профиль манжеты. Результирующее удельное контактное усилие:

 (1.32)

Среднее контактное давление на кромке:

, (1.33)

где а - ширина контактной поверхности;

рм, ри, рп, рр - составляющие контактного давления соответственно от сил .

Рисунок 1.11 - Схема сил, действующих на элемент радиальной манжеты

Профиль кривой распределения контактного давления рк определяется формой кромки, положением плоскости пружины (размером Δl), внутренним р или внешним рс давлениями среды (рисунок 1.11) обычно применяют коническую кромку с углом конуса β = 15…25º, при этом смещение Δl = 0,5…1,0мм. В этом случае эпюра давления имеет форму треугольника со скругленной вершиной (рmax ≈ 1.8 рк). Экспериментальное определение начальной ширины а контактной поверхности затруднительно, а в процессе работы невозможно, поэтому в качестве основного параметра манжеты удобнее принимать удельное усилие  на кромке. Ширина а зависит от твердости резины и радиуса скругления кромки. При р = рс = 0 для резин с IRHD 80-85 а0 = 0,15…0,3мм. В течении первых десятков работы манжеты ширина а увеличивается ориентировочно в соответствии с формулой:

а = а0 + b·p, (1.34)

где а0 - начальная ширина, мм;- коэффициент,  (b ≈ 2·10-9 при р<0,2МПа),

а = 0,2·10-3 + 2·10-9·141855 = 0,48·10-3 м.

В насосе ЭЦН-14 установлена манжета на основе резины СКН-18 с IRHD 80-85 со следующими размерами (рисунок 1.12): l = 3,2мм; h1 = 2,5мм; h2 = 1,3мм; s = 2,5мм; s1 =1,8 мм; s2 = 2,8мм; s3=3,2мм; S0,7 = 1,7 см2; ρ = 1,2…1,43 ; D0=мм; D = 8; Dк= 22 мм; В=9мм.

Рисунок 1.12 - Геометрические размеры манжеты

В общем случае на манжету действуют внутреннее давление рабочей среды р и внешнее давление рс, которые создают на уплотняющей кромке удельное усилие:

, (1.35)

где l - ширина губки манжеты.

рс = рн = 760 мм рт.ст.= 0,1 Мпа.

р = 0,14 МПа.

.

При концентричной установке манжеты относительно вала губка деформируется подобно тонкостенной трубке, на которую по уплотняющей кромке действует равномерное распределение усилия :

, (1.36)

где Е - равновесный модуль растяжения резины, Па (для СКН-18, Е=4,5МПа);,7 - площадь сечения кромки по кольцу длиной 0,7 l, м2;

ΔD = D - D0 - удлинение кромки в диаметральном направлении, м.

Учтем влияние допусков: примем диаметр вала минимальным, а диаметр манжеты - максимальным.

ΔD = 7,988 - 7,4 = 0,588мм.

Важной причиной утечек через манжетные уплотнения является наличие статического ξс и динамического ξд эксцентриситетов вала. Первый обусловливает неравномерность распределения давления рк по окружности кромки, второй - радиальные перемещения точек уплотняющей кромки при вращении вала. Удельное усилие от изгиба губки оценивают по формуле:

, (1.37)

где s- толщина манжеты;

ΔRξ - смещение кромки манжеты от наличия эксцентриситетов.

,

где - смещение кромки манжеты от наличия статического эксцентриситета, = 0,1м - для валов с диаметром до 80мм;

- смещение кромки манжеты от наличия динамического эксцентриситета, =2·ξд= 2·0,001 = 0,002мм - для валов с диаметром до 80мм.

.

Пружина при монтаже растягивается на ΔDn =D1 - Dn. Давление витков пружины на губку манжеты передается на контактную поверхность. Для стабильности  плоскость пружины смещена относительно плоскости кромки на Δl = 0,5…1 мм. Усилие связано с силой растяжения пружины Рс соотношением:

, (1.38)

где А - коэффициент, учитывающий расположение пружины относительно

кромки (при Δl/l≤0,1 А=0,9…1,0).

Результирующее удельное контактное усилие:

 = 0,9564 + 0,01813 + 0,05407 + 0,0596 = 1,0882 ,

Среднее контактное давление на кромке:

, (1.39)

Необходимое контактное давление для герметизации [рк ] = 1,5 МПа.

При неблагоприятном сочетании допусков среднее контактное давление на кромке рк=2,27МПа, что является больше необходимого для обеспечения герметизации контактного давления [рк ] = 1,5МПа, следовательно условие герметичности выполняется.

Неблагоприятное сочетание допусков не является причиной потери герметичности манжетного уплотнения.

Определение герметичности манжетного уплотнения при неблагоприятном сочетании допусков и допустимом биении вала

С увеличением наработки радиальные перемещения вала, составляющие усилий  и  возрастут. Остальные составляющие удельного контактного усилия  и  остаются постоянными. Поэтому основное влияние на рк оказывает изменение усилияи усилия .

Радиальные перемещения вала обусловлены наличием радиального зазора в подшипнике. Следовательно, долговечность манжетного уплотнения будет зависеть от долговечности подшипникого узла. Радиальный зазор в подшипнике превышает допустимую величину значительно раньше появления первых признаков усталостного разрушения. В этих случаях расчет проводится с учетом коэффициента износа:

, (1.40)

где [ξд] - допустимый радиальный зазор подшипника;

 - удельный износ, определяемый в зависимости от внутреннего диаметра подшипника. Для dп = 10 мм, = 3,1 мкм.

Для электродвигателя МГП - 180 значение f = 5 , тогда:

, (1.41)

.

Долговечность подшипника, для f = 5 и = 3,1 мкм, лежит в интервале (8,0…16) тыс. часов.

Подсчитаем результирующее удельное контактное усилие и среднее контактное давление на кромке манжеты при допустимом радиальном зазоре подшипника и неблагоприятном сочетании допусков. Радиальный зазор подшипника влияет на радиальный эксцентриситет вала.

=2·[ξд], (1.42)

= 2· 0,0155 = 0,031мм,

При увеличении динамического эксцентриситета усилие  в разных точках окружности вала будет изменяться, и в точке с минимальным значением  возможно невыполнение условия герметичности. Вращаясь, вал будет совершать колебательные движения. При движении вала вниз (рисунок 1.13) в точке А усилие  максимальное, а в точке Б - минимальное.

Рисунок 1.13 - Влияние биения вала на усилие

Определим значение усилия  и давление рк в т. А и в т. Б. т.А:

, (1.43)

 7,988 - 7,4 + 0,0155 = 0,6035мм,

Подставим значение  в формулу

 (1.44)

и определим:

.

Тогда результирующее удельное усилие:

 = 1,24418 + 0,03755 + 0,05417 + 0,0597 = 1,3956,

и среднее контактное давление:

, (1.45)

.

т.Б: , (1.46)

= 7,988 - 7,4 - 0,0155 = 0,5725мм.

Подставим значение  в формулу


и определим :

.

Тогда результирующее удельное усилие:

 = 0,61597 + 0,03755 + 0,05417 + 0,0597 = 0,76739,

и среднее контактное давление:

,

.

Значение контактного давления при допустимых биениях подшипника и неблагоприятном сочетании допусков на вал и манжету является минимальным в точке Б.

Условие герметичности выполняется, так как рк =1,61МПа больше необходимого для герметизации [рк ] = 1,5 МПа.

Неблагоприятное сочетание допусков и допустимое биение вала не является причиной потери герметичности манжетного уплотнения топливного насоса.

Определение герметичности манжетного уплотнения при неблагоприятном сочетании допусков, допустимом биении и износе вала

Вал имел износ в месте контакта с манжетой резинового уплотнения, равный 0,5 мм (D = 7,5мм). Определим, являлось ли это причиной утечек. Учтем влияния: биения вала и неблагоприятного сочетания допусков. В этом случае удельные усилия от давления жидкости и среды на профиль манжеты, и от браслетной пружины остаются неизменными.

 = 5,97 ;  = 5,408 .

Удельное усилие от изгиба манжеты вследствие эксцентриситета, по формуле:

 (1.47)

Усилие  и давление рк в т. А и в т. Б. т. А:

,

= 7,488 - 7,4 + 0,0155 = 0,1035мм.

Подставим значение  в формулу


и определим:

,

Тогда результирующее удельное усилие:

 =0,21675 + 0,03755 + 0,05408 + 0,0597 = 0,36808,

Среднее контактное давление:

,

. т.Б:

,

= 7,488 - 7,4 - 0,0155 = 0,0725мм.

Подставим значение  в формулу


и определим:

,

Тогда результирующее удельное усилие:

 = 0,07797 + 0,03755 + 0,05408 + 0,0597 = 0,2293,

среднее контактное давление:

, .

При суммарном влиянии следующих неблагоприятных факторов: неблагоприятное сочетание допусков, биение и износ вала, среднее контактное давление (рк =0,48МПа.) становится меньше необходимого для обеспечения герметизации ([рк] = 1,5МПа), условие герметичности перестает выполняться.

Манжетное уплотнение топливного насоса становится негерметичным.

Определение допустимого износа вала

Определим максимальное усилие , при котором уплотнение негерметично, учтя биения вала:

, . (1.48)

Так как , и  остаются постоянными, то  находится по формуле:

 = -  -  - , (1.49)

 = 0,72 - 0,0597 - 0,05408 - 0,03755 = 0,56867.

Так как негерметичность в т. Б возникает раньше (рисунок 1.13), то допустимый натяг манжетного уплотнения определится по формуле:

, (1.50)

Тогда диаметр вала, при котором возникает негерметичность:

D = ΔD + D0 + ξБ = 0,25 + 7,4 + 0,0155 = 7,665 мм.

Отсюда износ вала v при минимальном допуске на вал будет:= 7,988 - 7,665 = 0,323 мм. (1.51)

При этом износе вала будет проявляться негерметичность.

Как видно из результатов расчётов негерметичность манжетного уплотнения возникает при неблагоприятном сочетании допусков, допустимом биении и износе вала. Износ вала сопровождается снижением предварительного натяга манжеты и уменьшением контактного давления. Износ вала происходит вследствие попадания твердых механических частиц и внедрения их в контактную кромку манжеты. В месте внедрения частицы в манжету она начинает контактировать с валом, в результате чего возникает абразивный износ. С увеличением времени эксплуатации количество твердых частиц возрастает, и интенсивность износа увеличивается. Это приводит к тому, что вал контактирует не с манжетой, а с твердыми частицами, внедренными в манжету по ширине контактной кромки. Когда износ достигает предельного значения [v] = 0,323мм, манжетное уплотнение становится негерметичным.

Мероприятия, направленные на повышение надежности

Для повышения надежности герметичности манжетного уплотнения, необходимо:

ввести нанесение никель-фосфорного или железо-фосфорного покрытия вала ротора, с целью повышения твердости в зоне контакта манжеты с валом;

ввести контроль насосов на вибрацию для раннего обнаружения повышенного износа подшипника;

установка насосного фильтра с большей степенью очистки.

1.3 Анализ технологичности топливной системы самолета Ан -12

К числу важнейших показателей, характеризующих ремонтные качества ЛА, относится ремонтная технологичность (РТ). Под РТ понимается совокупность заданных и конструктивно реализованных свойств, определяющих его приспособленность к выполнению работ по ремонту с минимальными затратами труда, времени и средств.

Проблема обеспечения технологичности является составной частью общей проблемы надежности авиационной техники. Уровень технологичности объекта определяется совершенством его конструкции, а также рядом других факторов.

Заданные свойства технологичности объектов обеспечиваются в процессе создания и изготовления ЛА. В условиях ремонта эти свойства реализуются и совершенствуются с учетом реальных требований и возможностей типовых технологических процессов.

Анализ технологичности может носить качественный и количественный характер.

В первом случае реальные свойства конструкции сопоставляются с рядом специфических требований, предъявляемых к конструкции, при выполнении типовых работ (смазочных, регулировочных, заправочных и т.д.).

При проведении количественного анализа используется ряд обобщенных (основных) и единичных (дополнительных) показателей. Обобщенные пока-затели характеризуют конструкцию со стороны затрат труда, материалов, запасных частей, времени и других показателей, определяющих эффективность использования ЛА. Единичные показатели характеризуют отдельные специфические свойства конструкций. К ним относятся: показатель легкосъемности (), показатель удобства работ () и другие. Единичные показатели используются при решении задач совершенствования технологических процессов, а также при обосновании технических требований к разрабатываемому технологическому оборудованию.

По результатам качественного и количественного анализов предлагаются мероприятия, направленные на повышения технологичности.

Качественный анализ технологичности топливной системы

В настоящее время отработаны общие технические требования по обеспечению технологичности авиационной техники при выполнении типовых работ по ТО и Р. Они позволяют провести качественный анализ технологичности конструкции и наметить пути ее совершенствования. Анализ проводят путем сопоставления требований к технологичности изделий АТ с реальными свойствами объекта. Результаты анализа и оценки технологичности представлены в виде таблицы 1.5.

Таблица 1.5 - Результаты качественного анализа ремонтной технологичности топливной системы самолета Ан-12

Содержание требований

Соответствие требованиям

Примечания

1

2

3

4

1

В системе должны применяться стандартные и унифицированные агрегаты и узлы.

Соответствует


2

Замена топливных насосов должна производиться без предварительного слива топлива.

Соответствует


3

Расположение кранов слива топлива должно исключить возможность попадания его на элементы конструкции.

Соответствует


4

Заливные горловины и сливные устройства должны обеспечивать применение заправочных и сливных приспособлений международных стандартов.

Соответствует


5

Система должна иметь простой и удобный контроль уровня топлива в баках

Соответствует


6

Должен быть обеспечен удобный подход к топливным фильтрам. Демонтаж фильтра должен производиться без слива топлива из системы.

Соответствует


7

Система должна обеспечить полный слив топлива без применения стремянок и открытия капотов. Сливные краны должны иметь надёжную фиксацию в закрытом положении.

Не соответствует

Для обеспечения полного слива топлива необходимо применение стремянок.

8

ЛА с ёмкостью топливной системы более 5000 л должен иметь централизованные (закрытые) системы заправки с возможностью открытой.

Соответствует


9

Заправка и слив топлива на ЛА должны осуществляться при включении бортовой сети и работающих потребителях.

Соответствует


10

Централизованная заправка должна обеспечить простое и удобное управление заправкой одним человеком с надёжным контролем заправляемого количества топлива с сохранением центровки в допустимых пределах и полным освобождением от топлива трубопроводов после заправки за минимальное время

Соответствует


11

Централизованная заправка должна обеспечить непрерывное одновременное или раздельное заполнение топливом всех групп баков с автоматическим ограничением максимального уровня и предохранения баков и трубопроводов от повышения сверх допустимого давления в них

Соответствует


12

Отсутствие большого количества специальных приспособлений.

Соответствует


13

Высокая степень взаимозаменяемости агрегатов и узлов

Соответствует

Технология не предусматривает селективную сборку (индивидуального подбора деталей)

14

Приспособленность деталей и узлов к дефектации неразрушающим методом контроля.

Соответствует



Качественная характеристика качественной оценки определяется фактическим уровнем ремонтной технологичности системы по качественным требованиям из выражения:

 (1.52)

где N - общее число требований к топливной системе;

 - число соответствий требованиям к топливной системе.

>90%

Вывод: конструкция топливной системы самолета Ан-12 полностью соответствует требованиям ремонтной технологичности. Повышение технологичности топливной системы не представляется возможным.

Количественный анализ ремонтной технологичности

Обнаружение, устранение и предупреждение отказов и неисправностей авиационной техники, а также трудоемкость и время выполнения типовых операций ремонта зависят от легкосъемности агрегатов, узлов и деталей, а также от удобства работы технического состава при выполнении технологических операций. Эти свойства конструкции характеризируются рядом показателей (безразмерных коэффициентов).

Исходя из статистических данных по топливной системе наиболее часто отказывающим элементом является насос ЭЦН-14, поэтому для количественного анализа РТ рассматривается операция демонтажа/монтажа топливного насоса ЭЦН-14. Количественный анализ технологичности проводится на основе данных хронометража работ по демонтажу/монтажу насоса ЭЦН-14.

Данные хронометража приведены в таблице 1.6.

Таблица 1.6 - Данные хронометража работ по демонтажу-монтажу топливного насоса ЭЦН-14

№ работ

Содержание работ

Количество исполеителей

Время выполнения, ч

Трудоемкость, чел/ч

Поза исполнителя

1

2

3

4

5

6

1

Снятие насоса

1.1

Убедитесь в том что на насос ЭЦН-14 имеется паспорт. Обеспечьте доступ к насосу. Сравните номер в паспорте с номером насоса.

1

0,02

0,02

Стоя руки горизонтально

1.2

Перекачайте топливо из бака.

1

0,02

0,02

Стоя руки горизонтально

1.3

Снимите контровку с болтов крепления насоса.

1

0,08

0,08

Стоя руки вверх

1.4

Отверните болты крепления и снимите насос.

1

0,6

0,6

Стоя руки вверх

2

Установка насоса

2.1

Убедитесь в том, что на насос ЭЦН-14 имеется паспорт. Сравните номер в паспорте с номером на насоса.

1

0,03

0,03

Стоя руки горизонтально

2.2

Перед установкой проверьте новые уплотнительные кольца.

1

0,01

0,01

Стоя руки горизонтально

2.3

Установите насос на фланец и закрепите его болтами

1

0,17

0,17

Стоя руки вверх

2.4

Законтрите гайки крепления насоса к фланцу.

1

0.08

0,08

Стоя руки вверх

2.5

Проверьте герметичность соединения. Предъявите мастеру ОТК

1

0,125

0,125

Стоя руки вверх


Легкосъемность. Под легкосъемностью понимается приспособленность объекта к замене комплектующих изделий при минимальном объеме дополнительных операций. Легкосъемность характеризуется показателем легкосъемности , который определяет долю дополнительных работ  (подход, подготовка рабочего места) в общем объеме работ по замене  комплектующих изделий:

, (1.53)

где  - трудоемкость демонтажно-монтажных работ.

Дополнительные операции: 1.2; 1.3.

Операции по демонтажу-монтажу: 1.1; 1.4; 2.1; 2.2; 2.3; 2.4; 2.5.

(1.54)

Удобство работ. В зависимости от вынужденной позы, принимаемой исполнителем, требуется различное время для выполнения одной и той же работы, т.е. производительность труда в этих случаях будет различной. Эта особенность выполняемых работ оценивается коэффициентом удобства работ:

, (1.55)

где  - среднее время выполнения i-ой операции;

 - коэффициент снижения производительности труда при выполнении i-ой операции;- количество работ целевой операции;

Тi - средняя трудоемкость i -ой операции в рассматриваемом виде ТО, в чел/ч;

Коэффициент удобства работ имеет нормативное значение - один, следовательно, данный вид обслуживания удовлетворяет показателю удобства работ.

Оценку эксплуатационной технологичности объекта проводим путем сопоставления расчетных  и нормативных  значений единичных показателей:

, .

Объект считается достаточно технологичным, если значения оценочных показателей:

Оценочный показатель легкосъемности:


Оценочный показатель удобства работ:

Таким образом, замена насоса ЭЦН-14 удовлетворяет требованиям ремонтной технологичности. Самолет находится длительное время в эксплуатации, операции по увеличению технологичности отработанны за долгое время эксплуатации.

2. Анализ и совершенствование технологического процесса ремонта топливной системы самолёта Ан-12

.1 Анализ организационной структуры процесса ремонта

Анализ методов организации процесса ремонта

Ремонт самолета Ан-12 производится в соответствии с перечнем обязательных работ, выполняемых при ремонте самолетов Ан-12 на АРЗ. Ремонт самолета на ОАО "325 АРЗ" осуществляется бригадным методом.

Метод заключается в том, что выполнение работ осуществляется бригадами, которые могут быть специализированы по типам ЛА, системам, группам систем, зонам.

Этот метод позволяет обеспечить высокое качество ремонта, минимальные затраты времени, труда и материальных средств.

Ремонт самолета Ан-12 на 325 авиационном ремонтном заводе ведется:

после выработки установленного межремонтного ресурса (по лётным часам, посадкам или календарному сроку службы);

если самолёт досрочно снят с эксплуатации из-за неисправностей или поломок, но пригоден к ремонту.

Весь производственный процесс ремонта, согласно технологического графика, разбит на три этапа.

Этап №1:

прием самолета в ремонт, сдача самолета в цех ремонта;

предварительная дефектация, нивелировка;

разборка самолета, сдача агрегатов в смежные чеха;

очистка, промывка самолета и его составных частей;

определение технического состояния, дефектация планера, его составных частей, несъемного оборудования, систем самолета, авиационного и радиоэлектронного оборудования, съемного оборудования в смежных цехах, неразрушающий контроль и микрометрические измерения.

Этап №2:

ремонт всего съемного и несъемного оборудования, выполнение доработок по бюллетеням;

слесарно-монтажные работы;

техническое обслуживание двигателей с остатком ресурса;

покраска съемного и несъемного оборудования.

Этап №3:

сборочно-монтажные работы;

доводочно-регулировочные работы;

нивелировка и взвешивание;

наземные испытания;

летные испытания;

сдача самолета заказчику.

Предварительная дефектация, разборка, комплектация, сборочно-монтажные работы, доводка, нивелировка и взвешивание осуществляется в основном (сборочном) цехе побригадно. Бригады по самолету и двигателю формируются из специалистов, специализирующихся на отдельных системах летательного аппарата.

После разборки съемные агрегаты поступают в специализированные цеха где осуществляются работы по ремонту, комплектации, сборке и испытаниям агрегатов перед поступлением в окончательную сборку.

На заводе существуют следующие структурные подразделения:

ЦЗЛ (центральная заводская лаборатория);

цех ремонта электронного оборудования;

цех ремонта радиосвязного оборудования;

цех ремонта агрегатов систем самолета;

цех ремонта шасси;

ЛИС (станция летных испытаний).

Анализ структуры процесса ремонта

Эффективность ремонта АТ во многом зависит от совершенства организационной структуры и технической оснащённости процессов ремонта.

Капитально-восстановительный ремонт выполняется после 8000 часов или через 15 лет. Объем ремонтных работ определяется согласно «Перечня обязательных работ, выполняемых при капитально-восстановительном ремонте самолета Ан-12».

Для построения логической модели сетевого планирования выбирается капитально-восстановительный ремонт и проводится анализ его выполнения, так как он характеризуется большими объемами работ.

Исходными данными для построения сетевой модели являются:

руководство по капитальному ремонту самолета Ан-12;

технологический график ремонта самолетов Ан-12 на ОАО «325 АРЗ»;

диспетчерский график ремонта самолетов Ан-12 в сборочном цехе;

перечень обязательных работ, выполняемых при капитально-восстановительном ремонте самолета Ан-12.

Построение логической модели процесса производиться на основании данных хронометража выполнения технологических операций, собранных в период прохождения преддипломной практики. Данные хронометража представлены в таблице 2.1.

Указываются: время выполнения работы при наиболее благоприятных условиях, без учета дополнительных затрат времени на устранение дефектов tmin; максимальная продолжительность работ при наиболее неблагоприятных условиях, с учетом дополнительных затрат времени на устранение наиболее трудоемких дефектов t max; средняя продолжительность каждой работы.

 (2.1)

Дисперсия времени продолжительности работ, отражающая меру неопределённости предварительной оценки или степень риска данной продолжительности работы определяется по формуле:

 (2.2)

Таблица 2.1 - Хронометраж работ по капитальному ремонту самолета Ан-12

№ опер

Наименование операции

Число исполнителей

Продолжительность, ч

tож, ч




tmin

tmax



1

2

3

4

5

6

7

Подготовительные работы

1

Принять самолет в ремонт

8

32

36

34

0,64

2

Произвести испытания, снять показания СОК

8

20

22

20,8

0,16

3

Произвести предварительный контроль технического состояния систем самолета и двигателя

8

16

18

16,8

0,16

4

Произвести предварительный контроль технического состояния систем АиРЭО

8

14

16

14,8

0,16

5

Произвести нивелировку и демонтаж агрегатов систем

8

90

96

92,4

1,44

Топливная система и СКВ

6

Произвести очистку-промывку агрегатов

3

8

10

8,8

0,16

7

Произвести разборку агрегатов, окончательную очистку-промывку деталей и дефектацию

3

15

17

15,8

0,16

8

Произвести ремонт агрегатов

3

11

12

11,4

0,04

9

Произвести сборку и покраску

3

20

25

22

1

10

Произвести испытания агрегатов

3

15

17

15,8

0,16

Гидравлическая система

11

Произвести очистку-промывку агрегатов

3

24

30

26,4

1,44

12

Произвести разборку агрегатов

3

33

36

34,2

0,36

13

Произвести окончательную очистку-промывку деталей агрегатов и дефектацию агрегатов

3

45

50

47

1

14

Произвести ремонт агрегатов

3

33

36

34,2

0,36

15

Произвести сборку и покраску

3

60

65

62

1

16

Произвести настройку и регулировку

3

33

31,2

0,36

17

Произвести обкатку и испытания агрегатов

3

80

83

81,2

0,36

Шасси

18

Произвести очистку-промывку агрегатов

3

16

18

16,8

0,16

Силовая установка, система управления и механизация

19

Произвести разборку, Окончательную очистку-промывку и дефектацию деталей агрегатов

3

39

42

40,2

0,36

20

Произвести ремонт агрегатов

3

105

106

105,4

0,04

21

Произвести сборку и покраску

3

38

40

38,8

0,16

22

Произвести испытания агрегатов

3

24

26

24,8

0,16

23

Произвести очистку-промывку агрегатов

2

8

10

8,8

0,16

24

Произвести разборку агрегатов, Окончательную очистку-промывку и дефектацию деталей агрегатов

2

15

17

15,8

0,16

25

Произвести ремонт агрегатов

2

11

12

11,4

0,04

26

Произвести сборку и покраску

2

20

24

21,6

0,64

27

Произвести испытания агрегатов

2

8

10

8,8

0,16

Планер

28

Произвести очистку-промывку частей и агрегатов

5

20

22

20,8

0,16

29

Произвести мойку и расстыковку планера

5

16

18

16,8

0,16

30

Произвести дефектацию планера

5

80

85

82

1

31

Произвести ремонт планера

5

200

215

206

9

32

Произвести предварительную сборку планера

5

80

90

84

4

Заключительные работы

33

Произвести нивелировку

8

4

5

4,4

0,04

34

Произвести окончательную сборку, взвешивание и покраску

8

160

162

160,8

0,16

35

Произвести заправку систем

8

20

25

22

1

36

Наземные, летные испытания, устранение выявленных дефектов

8

80

82

80,8

0,16

37

Сдача самолета заказчику

8

24

28

25,6

0,64


На основе таблицы 2.1 составляют перечень событий процесса (таблица 2.2). Событие в данном случае означает конец выполнения одной работы и начало другой. Продолжительность события равна нулю, то есть переход от предшествующей работы к последующей происходит мгновенно. Для перехода от одного событий к другому необходимо выполнить определенную работу.

Таблица 2.2 - Последовательность событий процесса ремонта самолета Ан-12

№ события

№ Предшествующего события

Наименование события

Примечание

 

1

2

3

4

 

Подготовительные работы

 

1

0

Самолет принят в ремонт

Заведены документы, оформлен акт передачи

 

2

1

Испытания, снятие показаний СОК произведены

Самолет передан в цех сборки-разборки

 

3

2

Предварительный контроль технического состояния систем самолета и двигателя произведен

Составлен первоначаль-ный план ремонта

 

4

2

Предварительный контроль технического состояния систем АиРЭО произведен


 

5

3

Нивелировка, демонтаж агрегатов систем произведен


 

Топливная система и СКВ

 

6

5

Очистка-промывка агрегатов произведена


 

7

6

Разборка агрегатов, окончательная очистка-промывка и дефектация произведены


 

8

7

Ремонт произведен

Ряд агрегатов ремонтируется в смежных цехах

 

9

8

Сборка и покраска произведены


 

10

9

Испытания произведены


 

Гидравлическая система

 

11

5

Очистка-промывка агрегатов произведена


 

12

11

Разборка агрегатов произведена


 

13

12

Окончательная очистка-промывка деталей агрегатов и дефектация произведена


 5

 Очистка-промывка агрегатов произведена


14

13

Ремонт агрегатов произведён





15

14

Сборка и покраска произведены





16

15

Настройка и регулировка произведены





17

16

Произвести обкатку и испытания


 

Шасси

 

18

5

Очистка промывка агрегатов произведены


 

19

18

Разборка, окончательная очистка-промывка и дефектация деталей агрегатов произведены


 

20

19

Ремонт агрегатов произведён

Ряд агрегатов ремонтируется в смежных цехах

 

21

20

Сборка и покраска произведены


 

22

21

Испытания агрегатов произведены


 

Силовая установка, система управления и механизация

 

23

5

Очистка промывка агрегатов произведены


 

24

23

Разборка агрегатов, окончательная очистка-промывка и дефектация деталей агрегатов произведены


 

25

24

Ремонт агрегатов произведён


 

26

25

Сборка и покраска произведены


 

27

26

Испытания агрегатов произведены


 

Планер

 

28

5

Очистка-промывка частей и агрегатов произведена


 

29

28

Мойка и расстыковка планера произведена


 

30

29

Дефектация планера произведена


 

31

30

Ремонт планера произведён


 

32

31

Предварительная сборка планера произведена

Планер готов для монтажа съёмных агрегатов и систем

 

Заключительные работы

 

33

32

Нивелировка произведена


 

34

33

Окончательная сборка, взвешивание и покраска произведены

Самолёт находится в сборочном цехе, подготавливается документация для передачи на ЛИС

 

35

34

Заправка систем произведена


 

36

35

Наземные, лётные испытания, устранение выявленных дефектов произведены

 

 

37

36

Сдача самолёта заказчику произведена

На заводе хранится «Дело ремонта» на данный самолёт на весь период дальнейшей эксплуатации

 


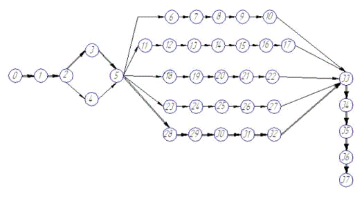
На основании таблицы 2.2 произведем построение логической модели процесса (сетевого графика). При его построении, событие изображается кружком, внутри которого указывается его порядковый номер (I, j, k). Кружки соединяются стрелками (работой) с соблюдением принятой технологической последовательностью.

Сетевой график капитального ремонта самолета Ан-12 приведен на рисунке 2.1.

Рисунок 2.1 - Сетевая модель процесса капитального ремонта самолета Ан-12

Рассчитываются следующие параметры сетевого графика:

 - ранний срок начала работы;

 - поздний срок начала работы;

 - ранний срок окончания работы;

 - поздний срок окончания работы;

 - полный резерв времени работы;

 - свободный резерв времени работы,

где  - шифр работы,

 - номер начального события, за которым непосредственно следует данная работа;

 - номер конечного события, которому непосредственно предшествует данная работа.

Эти параметры определяются по формулам:

=+; (2.3)

=, (2.4)

где - последующая работа;

=, (2.5)

если работе  предшествует несколько работ;

; (2.6)

 или  (2.7)

если за данной работой следует несколько работ.

 (2.8)

 (2.9)

Коэффициент напряжённости работы  характеризующий степень напряжённости сроков выполнения работ, определяется по формуле:

; (2.10)

, (2.11)

где - длина максимального пути, проходящего через данную

работу ;

- критический путь, наибольшей продолжительности, т.е. срок выполнения всего комплекса работ или срок свершения завершающего события;

- часть критического пути, которая лежит на максимальном пути, проходящем через работу

Расчёты параметров сетевого графика ведут табличным способом, они представлены в таблице 2.3.

Таблица 2.3 - Расчет параметров сетевого графика

Кол-во предш. работ

Шифр работ

tож, ч.

tрн, ч.

tро, ч.

tпн, ч.

tпо, ч.

Pп

s2

1

2

3

4

5

6

7

8

9

10

11

0

34

0

34

0

34

0

0

1

0,64

1

2-3

20,8

34

54,8

34

54,8

0

0

1

0,16

1

2-4

16,8

54,8

71,6

54,8

71,6

0

0

1

0,16

2

3-5

14,8

54,8

69,8

56,8

71,6

1,8

1,8

0,43

0,16

3

5-6

92,4

71,8

164

71,8

164

0

0

1

1,44

4

6-7

8,8

164

172,8

492,8

501,6

328,8

0

0,21

0,16

5

7-8

11.4

172,8

184,2

501,6

513

328,8

0

0,21

0,16

6

8-9

15,8

184,2

200

513

528,8

328,8

0

0,21

0,04

7

9-10

11,4

200

211,4

528,8

540,2

328,8

0

0,21

1

8

10-33

22

211,4

233,4

540,2

562,2

328,8

328,8

0,21

0,16

3

5-11

15,8

233,4

249,2

562,2

578

328,8

0

0,21

1,44

4

11-12

26,4

164

190,4

327,4

353,8

163,4

0

0,61

0,36

5

12-13

47

224,6

271,6

388

435

163,4

0

0,61

1

6

13-14

34,2

271,6

305,8

435

469,2

163,4

0

0,61

0,36

7

14-15

62

305,8

367,8

469,2

531,2

163,4

0

0,61

0,36

8

15-16

31,2

367,8

399

531,2

562,4

163,4

0

0,61

0,36

9

16-17

81,2

399

480,2

562,4

643,6

163,4

0

0,61

0,16

10

17-33

46,8

480,2

527

643,6

690,4

163,4

163,4

0,61

0,36

3

5-18

16,8

164

180,8

285

301,8

121

0

0,71

0,04

4

18-19

8,4

180,8

189,2

301,8

310,2

121

0

0,71

0,16

5

19-20

40,2

189,2

229,4

310,2

350,4

121

0

0,71

0,16

6

20-21

105,4

229,4

334,8

350,4

455,8

121

0

0,71

0,16

7

21-22

38,8

334,8

373,6

455,8

494,6

121

0

0,71

0,16

8

22-33

24,8

373,6

398,4

494,6

519,4

121

121

0,71

0,04

3

5-23

8,8

164

172,8

497

505,8

333

0

0,2

0,04

4

23-24

14,6

172,8

187,4

505,8

520,4

333

0

0,2

0,64

5

24-25

15,8

187,4

203,2

520,4

536,2

333

0

0,2

0,04

6

25-26

11,4

203,2

214,6

536,2

547,6

333

0

0,2

0,04

7

26-27

21,6

214,6

236,2

547,6

569,2

333

0

0,2

0,04

8

27-33

8,8

236,2

245

569,2

578

333

333

0,2

0,16

3

5-28

20,8

164

184,8

164

184,8

0

0

1

0,16

4

28-29

16,8

184,8

201,6

184,8

201,6

0

0

1

0,16

29-30

82

201,6

283,6

201,6

283,6

0

0

1

1

6

30-31

206

283,6

489,6

283,6

489,6

0

0

1

9

7

31-32

84

489,6

573,6

489,6

573,6

0

0

1

4

8

32-33

4,4

573,6

578

573,6

578

0

0

1

0,04

9

33-34

160,8

578

738,8

678

738,8

0

0

1

0,16

10

34-35

22

738,8

760,8

738,8

760,8

0

0

1

1

11

35-36

80,8

760,8

841,6

760,8

841,6

0

0

1

0,16

12

36-37

25,6

841,6

867,2

841,6

867,2

0

0

1

0,64


Таким образом, критическим будет являться путь, проходящий через работы по ремонту планера.

Оценка совершенства организационной структуры процесса капитального ремонта производится по вероятности выполнения комплекса работ в установленный срок.

 (2.12)

где P (tдир ³ t кр) - вероятность выполнения работы в установленный срок;кр - длина критического пути;дир - директивное время.

Структура процесса считается совершенной, если вероятность завершения работ в установленный срок не ниже заданного значения (Рзад =0,95).

В данном случае директивный срок превышает срок выполнения работ критического пути и производить корректировку структуры процесса капитального ремонта самолета Ан-12 по критерию времени нецелесообразно.

По результатам оценки совершенства организационной структуры процесса делаем вывод, что выполнение комплекса работ по капитальному ремонту самолета Ан-12 гарантировано в установленный срок с вероятностью 0,99.

Так как ремонт топливной системы не лежит на критическом пути, то целью совершенствования технологического процесса ремонта топливной системы выбираем повышение качества ремонта.

2.2 Анализ технологической оснащенности процесса ремонта топливной системы самолета Ан-12

Рассмотрим применяемое оборудование при выполнении работ по ремонту топливной системы самолета Ан-12 на АРЗ №325.

При проведении ремонта проводятся следующие виды работ:

проверка заправки топливной системы;

осмотр трубопроводов, соединений, агрегатов на наличие внешних повреждений, потёртостей, коррозии и других дефектов;

проверка герметичности топливной системы;

контроль чистоты топлива и промывка фильтров;

ремонт агрегатов топливной системы и проверка их функционирования после ремонта;

испытание шлангов топливной системы;

капитально-восстановительный ремонт топливного насоса ЭЦН-14 и его испытание после ремонта.

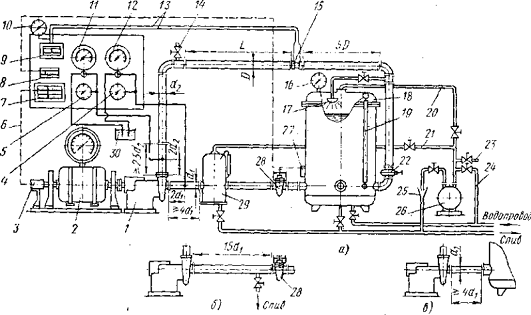
Осмотр элементов топливной системы производится визуально. Для доступа к высоко расположенным участкам применяют стремянки Б 097 300 Н, Б 097 365 Н, Б 097 343 Н.

Внешнюю негерметичность системы обнаруживают по падению уровня рабочей жидкости в баках и при внешнем осмотре агрегатов топливной системы.

Контроль чистоты топлива осуществляют путём взятия проб из всех точек системы и их анализа в лаборатории ГСМ, оборудованной приборами экспресс-контроля чистоты топлива. Промывку фильтров осуществляют на ультразвуковых установках УЗУ4-1,6-0.

Испытания шлангов на герметичность осуществляется на стенде С-530. При дефектации агрегатов и их составных частей применяются метод красок, магнитопорошковый метод прибором У-2764-91, токовихревой метод прибором ВДУ-3 и визуально с помощью луп. В зависимости от результатов дефектации детали либо подвергаются ремонту, либо заменяются новыми. Комплект запасных частей поступает от поставщиков.

Для проверки соответствия размеров проводятся геометрические измерения агрегатов и их составных частей. Так, например, для измерения наружных диаметров используется рычажная скоба, для измерения внутренних диаметров - нутромеры и калибры-пробки. Для измерения шага резьбы применяются резьбомеры. Для проверки конусности штуцеров применяется набор специальных шаблонов.

Всё перечисленное оборудование позволяет выполнять регламентные операции в полном объёме. Но следует учесть, что предприятие не оснащено индивидуальным оборудованием по проверке характеристик устанавливаемых на самолет насосов ЭЦН-14, а на них, по статистике приходится большой процент неисправностей топливной системы.

Основной причиной неисправности топливного насоса, как было отмечено выше, является негерметичность уплотнительной манжеты вала.

Замена манжеты будет производиться в условиях АРЗ. После этого насос будет испытываться на стенде с целью определения качества монтажа манжеты и его годности к дальнейшей эксплуатации по снятым характеристикам (расходу, давлению, вибрации, напряжению на клеймах и величине потребляемого тока). Также в качестве входного контроля предполагается испытывать насос после его длительного хранения на складе, так как есть вероятность снижения свойств манжетного уплотнения вследствие старения резины и профилактических осмотров манжеты при демонтаже насоса. Это позволит исключить возможность установки неисправного насоса на самолёт, и проведение лишних демонтажных работ.

2.3 Разработка установки для испытания подкачивающего электроцентробежного насоса ЭЦН-14 топливной системы самолета Ан-12

Разработка технического задания

Стенд должен отвечать следующим требованиям:

. Условия испытаний должны быть максимально приближены к эксплуатационным условиям (среда, высота топлива в баке, температура, крепления и т.д.).

. Рабочая жидкость - топливо ТС-1 (t=18…20 ⁰С).

. Должно быть обеспечено измерение и запись в ЭВМ следующих параметров:

расход топлива, л/ч;

рабочее давление, Па;

напряжение сети, В;

сила тока, А;

уровень топлива в баке, мм;

вибрация насоса, мм/с;

температура топлива, ⁰С;

. Номенклатура комплектующих изделий должна состоять из серийно выпускаемых и высоконадёжных элементов.

. Простота монтажа и демонтажа насоса и агрегатов на стенде.

. Обеспечение удобства и простоты проведения испытаний.

. При работе на установке должны выполняться условия пожарной безопасности, охраны труда рабочих и охраны окружающей среды.

. Высота столба топлива перед входом в насос должна составлять не менее 30 мм от фланца насоса.

. Монтаж и демонтаж насоса со стенда должен происходить без слива топлива из бака.

. Должно быть обеспечено соответствие перечня и содержания выполняемых работ требованиям регламента и технологических указаний.

. Установка должна быть легко транспортабельна.

. Должны быть обеспечены низкие затраты на техническое обслуживание и изготовление установки.

. Установка должна обладать минимальными габаритами и весом.

Разработка принципиальной схемы установки

Принципиальная схема установки представлена на рисунке 2.2.

Рисунок 2.2 - Схема гидравлическая принципиальная: 1 - бак; 2 - подкачивающий насос ЭЦН-14; 3 - кран электромагнитный КЭ22-2; 4 - теплообменник; 5 - датчик вибрации BS-031; 6 - датчик расхода PROline Promag; 7 - датчик давления Метран 22-АС-1; 8 -датчик температуры ТС-404Cv; 9 - датчик уровня жидкости Nivocap CEK-310; 10 - кран сливной; 11 - горловина заливная.

Принцип работы установки

Установка имеет замкнутую схему циркуляции жидкости, обеспечивает её хранение для многократного проведения испытаний.

После установки испытуемого насоса на бак, переворота в рабочее положение и подачи на него питания, жидкость перекачивается через электромагнитный кран позволяющий изменять режимы испытания, датчики измерения давления, расхода и затем обратно сливается в бак, что позволяет снять параметры давления и расхода при различных режимах испытания насоса. Для исключения заброса температуры жидкости в баке установлен теплообменник. Также в процессе испытаний при помощи датчиков установленных на стенках бака снимаются параметр вибрации, уровень и температура жидкости в баке, параллельно снимаются параметры напряжения и силы тока в сети. Все параметры регистрируются и записываются на ЭВМ.

Для заправки бака в его верхней части имеется заливная горловина, а при необходимости слива жидкости на дне бака установлен запорный вентиль.

Расчет функциональных параметров

Подбор трубопроводов гидросистемы

Испытания насоса производятся в условиях максимально приближенных к эксплуатационным. В связи с этим необходимо использовать трубопроводы конструктивно аналогичные применяемым в топливной системе самолёта Ан-12, использующих данные насос.

Выбираем в качестве материала трубы АМг-2М D=30 мм

ГОСТ 23697-79.

Выбор объёма бака

Выбранный объёма бака обусловлен литровой производительностью насоса в минуту.

Расход рабочей жидкости насоса ЭЦН-14 вычисляем по формуле:

, (2.13)

где  - производительность рабочей жидкости насоса ЭЦН-14;

;

Подставляя значения в (2.13) получим:

.

Объём бака определим по количеству рабочей жидкости, прокачиваемой за 2 минуты:

 (2.14)

где

Подставляя значения в (2.14) получим:

.

Конструктивно принимаем бак .

Расчет шпилек на срез

Для расчета шпилек на срез необходимо, чтобы действующая нагрузка на шпильку была меньше разрушающей нагрузки:

 (2.15)

где  - действующая нагрузка на шпильки;

 - расчетная разрушающая нагрузка на срез шпилек.

По ОСТ1 31100-80

Действующая нагрузка на шпильки вычисляется по формуле:

 (2.16)

где  - масса бака с насосами, топливом и обвязкой;

Масса бака с насосами и обвязкой определяется по формуле:

 (2.17)

Подставляя значения в (2.17), получим:

кг;

Подставляя значения в (2.16), получим:

 Н;

Подставляя значения (2.16), (2.17) в (2.15), получим:

Условие прочности выполняется.

Расчёт момента на оси вращения бака

Принимаем, что топливо перемещается без перетекания по объёму бака. Массой насоса, элементов гидросистемы, датчиков и бака пренебрегаем, ввиду малых значений по сравнению с массой топлива и сложностью определения их центров масс. В расчетном случае момент на оси вращения бака будет максимальным, когда бак повернется на 450, что соответствует максимальному плечу силы тяжести от массы топлива (Рисунок 2.3).

Рисунок 2.3 - Расчетная схема определения момента

Искомый момент определим по формуле:

, (2.18)

где F - сила тяжести топлива;- плечо, равное расстоянию между осью вращения бака (т. А) и

центром массы топлива (т. В) по нормали к силе F.

В расчетном случае l=0,053 м;

Сила тяжести топлива вычисляется по формуле:

, (2.19)

где mтоп - масса топлива;- ускорение свободного падения;

Массу топлива определим по формуле:

, (2.20)

где  - объём топлива, залитого в бак.

Принимаем (0,15 м3), что соответствует ¾ заполнения бака;

 - плотность топлива. Для ТС-1 ;

Подставляя значения в (2.20), получим:

.

Подставляя значения в (2.19), получим:

.

Подставляя значения в (2.18), получим:

(6,83 Кгсм).

Физически развитый человек может приложить усилие от 20 до 70 Кгс, следовательно исполнитель сможет повернуть бак при помощи ручки.

Расчет рамы на прочность

Для расчёта рамы на прочность необходимо, чтобы выполнялись условия прочности. В качестве материала для рамы выбираем трубу D=40 мм, выполненную из стали 3СП (ГОСТ 10704-91).

Рама испытывает два вида деформации - сжатие и изгиб. Определим напряжения, возникающие в обоих случаях.

Сжатие

Расчетная схема рамы представлена на рисунке 2.4.

Рисунок 2.4 - Расчетная схема рамы на сжатие

Условием прочности является неравенство:

, (2.21)

где  - допустимое напряжение. Для стали 3СП ;

 - действующее напряжение в точке сечения.

Действующее напряжение в точке сечения определяется по формуле:

, (2.22)

где N - нормальная составляющая силы, действующей на участок рамы;

А - площадь сечения трубы.

Нормальная составляющая силы определяется по формуле:

, (2.23)

где  - сила действующая на участок рамы;

 - угол между силой и осью расчетного участка рамы. В расчетном случае ;

Сила, действующая на участок рамы определяется по формуле:

, (2.24)

где  - масса установки, подвешенной на раме;

За массу установки, подвешенной на раме - примем массу установки без учета поперечных и продольных труб и опорных пластин, которая определяется по формуле:

, (2.25)

где  - масса насоса =5 кг;

- масса бака =20 кг;

 - масса подвесных пластин =48 кг;

- масса опор вращения бака =4 кг;

- масса труб верхней части рамы =6 кг;

- масса обвязки (датчиков, трубопроводов и т.д.) =2 кг.

Подставляя значения в (2.25), получим:

Подставляя значения в (2.24), получим:

Подставляя значения в (2.23), получим:

Площадь сечения трубы определяется по формуле:

, (2.26)

где  - наружный диаметр трубы. ;

 - внутренний диаметр трубы. ;

Подставляя значения в (2.10), получим:

.

Подставляя значения в (2.22), получим:

Подставляя значения в (2.21), получим:

Условие прочности выполняется.

Изгиб

В качестве расчетного сечения для изгиба примем сечение рядом с поперечной балкой, т.к. изгибающий момент в нем максимален. Расчетная схема изображена на рисунке 2.5.

Изгибающее напряжение в точке сечения определяется по формуле:

, (2.27)

где М - изгибающий момент;- момент сопротивления при изгибе.

Рисунок 2.5 - Расчетная схема рамы на изгиб

, (2.28)

где  - поперечная составляющая силы, действующей на участок рамы;

- плечо, равное расстоянию от поперечной силы до расчетного сечения. =0,77 м.

Поперечная составляющая силы определяется по формуле:

, (2.29)

где  - угол между силой  и нормалью к оси расчетного участка рамы. В расчетном случае ;

Подставляя значения (2.8) в (2.13), получим:

Момент сопротивления при изгибе определяется по формуле:

, (2.30)

где  - наружный диаметр трубы. ;

 - внутренний диаметр трубы. ;

Подставляя значения в (2.30), получим:

Подставляя значения (2.29) в (2.28), получим:

Подставляя значения (2.28), (2.30) в (2.27), получим:

Подставляя значения (2.27) в (2.21), получим:

Условие прочности выполняется.

Подбор стандартных комплектующих изделий установки

Подбор комплектующих изделий производится на основании технического задания и принятой принципиальной схемы установки.

Состав комплектующих изделий для установки:

насос подкачивающий ЭЦН-14;

кран: электромагнитный КЭ22-2;

бак: листы из АМГ-6 толщиной δ=3 мм (ГОСТ 21631-76);

трубопроводы: трубопроводы АМг-2М D=30 мм (ГОСТ 23697-79);

рама: труба стальная D=40 мм (ГОСТ 10704-91), лист стальной=20 мм (ГОСТ 19904-90), лист стальной h=15 мм (ГОСТ 19904-90);

стол: лист текстолитовый ПТГ-1 (ГОСТ 5-78), лист стальной h=2 мм (ГОСТ 19904-90);

блок управления: лист стальной h=1 мм (ГОСТ 19904-90),

уголок равнополочный l=10 мм (ГОСТ 8509-93);

датчик давления Метран-22-АС-1 с выходным сигналом 4-20 мА, взрывозащищённый, соответствует требованиям электромагнитной совместимости группе 2 (А) ГОСТ Р 51746-2000;

датчик температуры ТС 404Сv с выходным сигналом 4-20 мА во взрывобезопасном исполнении, соответствуют ГОСТ 30232-94;

датчик вибрации BS-031 с выходным сигналом 4-20 мА во взрывобезопасном исполнении, соответствует требованиям электромагнитной совместимости группе 2 (А) ГОСТ Р 51746-2000;

датчик расхода электромагнитный PROline Promag с выходным сигналом 4-20 мА во взрывобезопасном исполнении, соответствует требованиям ГОСТ Р51649 и ГОСТ Р51522 по электромагнитной совместимости;

датчик уровня топлива в баке Nivocap CЕК-310 с выходным сигналом 4-20мА во взрывобезопасном исполнении, соответствует требованиям электромагнитной совместимости группе 2 (А) ГОСТ Р 51746-2000;

- корпус для РЭА алюминиевый Gainta Industries B011 MF;

датчик уровня топлива в баке Nivocap CTR-310;

аналогово-цифровой преобразователь восьмиканальный АКИП-9101

с возможностью непосредственного измерения напряжения и силы тока по любому из каналов, с питанием от ЭВМ;

ноутбук Lenovo.

Техническое описание конструкции установки

Установка представляет собой бак, на боковых стенках которого находятся цапфы. Цапфы входят в бронзовые втулки, размещённые в двух стойках рамы установки. Вращение бака производится при помощи ручки.

Бак сварной конструкции. На днище бака выполнены вырезы, к которым приварены фланец крепления насоса и трубопровод для установки вентиля слива. На левой стенке бака выполнен технологический люк для доступа к элементам гидросистемы. Технологический люк закрывается при помощи крышки с резиновой прокладкой крепящейся гайками. Трубопроводы гидросистемы закрепляются при помощи хомутов, которые крепятся к приваренным к стенкам бака кронштейнам. На верхней стенке бака выполнен вырез, к которому приварена заливная горловина.

Датчики измерения температуры, уровня жидкости, давления, расхода монтируются во фланцы приваренные к соответствующим вырезам в стенках бака. Датчик вибрации устанавливается на шпильку фланца насоса.

На левой стойке рамы располагается стол, на который крепится блок управления и устанавливается ЭВМ (ноутбук).

На панели блока управления смонтированы кнопки:

«Сеть» для включения подачи напряжения на стенд;

«Насос» для включения подачи напряжения на испытуемый насос.

А также на панели управления смонтирован электрический разъём для подключения к нему кабеля ЭВМ и снятия диагностируемых параметров насоса.

К раме на ножки стоек приварены металлические пластины прямоугольной формы, в них выполнены отверстия для крепления установки к полу при помощи анкерных болтов.

Основные технические данные установки

Прокачка рабочей жидкости через установку, л/мин 84

Ёмкость бака, л 200

Габариты установки, мм 1600х1100х1150

Вес установки, кг 150

Рабочая жидкость Т-1, ТС-1

Электрическое питание насоса напряжением, В 27

Инструкция по эксплуатации установки

Подготовка установки к испытаниям

. Произвести внешний осмотр установки, при этом обратить внимание на герметичность крепления датчиков, теплообменника и др. деталей. При этом не допускаются: коррозия элементов стенда, не герметичность соединений, трещины и повреждения измеряющих средств. Работать на установке с не устранёнными неисправностями запрещается.

. Проверить наличие и целостность заземления.

. Снять технологическую заглушку с фланца на который устанавливается испытуемый насос.

. Произвести монтаж насоса, для чего установить его в технологическое отверстие на фланец крепления, совместив отверстия на насосе с 6 шпильками на фланце, установить на шпильки гроверные шайбы и закрепить насос 5 гайками, а на одну из шпилек вместо гайки навернуть датчик вибрации.

.Подключить питание к проводу с электрическим разъёмом насоса и к соответствующим входам восьми канального преобразователя.

.При помощи ручки перевести бак в рабочее положение, затем вставить фиксатор в соответствующее отверстие.

. Выдержать бак в рабочем положении не включая насоса в течении 2-3 минут, после чего осмотреть бак и поверхность пола на наличие подтеков и каплеобразования топлива. Особое внимание уделить сварным швам, уплотнению технологического лючка, фланцам крепления датчиков и насоса. ВНИМАНИЕ: При обнаружении следов подтекания, прекратить дальнейшую подготовку к испытанию, пятна керосина на полу засыпать древесными опилками или песком, а бак перевести в нерабочее положение.

. Подать питание на установку, нажав кнопку «ВКЛ» на блоке управления, панели «СЕТЬ». При этом должна загореться красная индикаторная лампа свидетельствующая о том, что стенд находится под напряжением. Произвести загрузку ЭВМ и запустить необходимое программное обеспечение.

Испытание насоса

. По информации выводимой на ЭВМ от датчика уровня проконтролировать количество топлива, оно должно соответствовать от 160 до 170 л. При не достаточном уровне, долить топливо через заливную горловину.

. Подать питание к испытуемому насосу для чего нажать кнопку «ВКЛ» на блоке управления панели «НАСОС», после чего программное обеспечение автоматически перейдёт в режим регистрации и записи параметров.

. Произвести обкатку насоса в течение 15 минут.

. Произвести испытание насоса, изменяя параметр расхода при помощи электромагнитного крана снимая параметры давления и расхода. Произвести замеры по пяти контрольным точкам. Во время испытаний следить за:

температурой керосина, ⁰С;

уровнем топлива в баке, мм;

напряжением на клеммах электродвигателя насоса, В;

силой тока, потребляемой электродвигателем, А.

Параметры должны соответствовать нормативным значениям. Затем после проведения испытания снять спектр виброаккустических характер. В случае существенного отклонения диагностируемых параметров от нормативных значений, на экран ЭВМ выводится предупреждение, после чего необходимо отключить насос нажатием на кнопку «ВЫКЛ» на блоке управления панели «НАСОС». Повторные испытания такого насоса не проводить.

. Отключить питание испытуемого насоса для чего нажать кнопку «ВЫКЛ» на блоке управления панели «НАСОС».

.Оценить техническое состояние испытуемого насоса, пользуясь полученными данными в процессе испытания, путём их сравнения с нормативными значениями. В результате дать заключение о техническом состоянии испытуемого насоса:

при соответствии параметров насоса нормативным значениям, передать насос в сборочный цех, для дальнейшей установки на самолёт;

при несоответствии параметров насоса нормативным значениям, передать насос для выявления причин неисправности и последующего ремонта в цех ремонта агрегатов топливной системы.

Примечание - При росте температуры керосина в баке во время проведения испытаний, подать воду в теплообменник установки, для чего открыть соответствующие краны. Убедиться в герметичности соединений.

Заключительные работы

.Отключить программное обеспечение ЭВМ и затем питание на установку, нажав кнопку «ВЫКЛ» на блоке управления, панели «СЕТЬ».

. Перекрыть подачу воды в теплообменник установки, для чего закрыть соответствующие краны.

. При помощи ручки перевести бак в не рабочее положение, затем вставить фиксатор в соответствующее отверстие.

. Отсоединить штепсельный разъём. Демонтировать насос, отвернув пять гаек крепления и вибродатчик. После демонтажа протереть насос ветошью.

. Установить технологическую заглушку на фланец установки насоса.

. Произвести внешний осмотр установки, при этом обратить внимание на герметичность крепления датчиков, теплообменника и др. деталей.

При эксплуатации установки должна поддерживаться её работоспособность. При этом необходимо руководствоваться действующими местными инструкциями и др. нормативными документами, действующими на предприятии.

В эксплуатации установка должна подвергаться систематическому ежесуточному в течение первого месяца эксплуатации, а затем ежемесячно внешнему осмотру, ревизии и ремонту в соответствии с календарным планом обслуживания. Особое внимание обращать на состояние крепления датчиков, изоляции электропроводки и герметизации бака и всех его элементов.

Для контроля внутренних компонентов установки, исправности датчика расхода и электроприводного крана, целостности хомутов крепления трубопроводов, состояния трубопроводов, проверки внутренней герметичности необходимо демонтировать технологический люк на боковой стенке бака. Перед монтажом люка необходимо проверить состояние и плотность прилегания резиновой уплотнительной прокладки. После каждых 10 циклов снятий-установок заменить прокладку на новую.

Для проверки герметичности, необходимо обмазать меловым раствором все места крепления датчиков, теплообменника, сварные швы, контур технологического лючка, крышку заливной горловины, фланцы сливного крана и насоса. Выдержать в течение двух часов. Выявленные утечки устранить.

При внешнем осмотре необходимо проверить:

целостность всех узлов, отсутствие вмятин, коррозии и других нарушений;

наличие всех крепежных деталей и их элементов;

состояние электроразъёмов датчиков;

наличие и целостность заземления установки;

Не реже одного раза в полгода необходимо производить смазку подшипников скольжения опор.

Эксплуатация установки с поврежденными деталями и другими неисправностями запрещается.

Инструкция по технике безопасности

К опасным факторам при работе на данной установке можно отнести:

поражение электрическим током;

применение пожароопасной жидкости (керосина) и её токсичность.

При работе на установке рекомендуется соблюдать ряд следующих требований.

. К работе на установке допускаются лица не моложе 18 лет, изучившие техническое описание и инструкцию по эксплуатации установки.

. Проверка знаний обслуживающего персонала проводится не реже одного раза в год.

. Установка должна находиться в исправном состоянии, иметь паспорт, техническое описание и инструкцию по эксплуатации.

. Не допускается подтекание керосина из под резиновых прокладок насоса, эксплуатационного люка, крепления датчиков, теплообменника и др. деталей.

. Проливы топлива на пол присыпать песком или древесными опилками, после чего удалить.

. При обнаружении неисправности в процессе работы, испытания прекратить. Запрещается устранять неисправности на работающей установке.

. Не допускается повреждения электрожгутов и искрения в блоке питания во время работы установки.

. Производить все работы на установке только в спецодежде.

. Помещение, в котором находится установка должно быть хорошо проветриваемым.

. Проводить работы при отсутствии заземлёния категорически запрещается.

. Около стенда должны располагаться средства пожаротушения.

2.4 Разработка технологии испытания подкачивающего электроцентробежного насоса ЭЦН-14 топливной системы самолёта Ан-12

В дипломном проекте разработано технологическое оборудование для испытания электроцентробежного насоса ЭЦН-14 топливной системы самолёта Ан-12. Все остальное технологическое оборудование ремонта и их технологии остаются прежними и выполняются в полном объеме, предусмотренном действующим регламентом ремонта.

Поэтому совершенствование технологии процесса ремонта будет определяться разработкой технологических указаний к технологическому процессу испытания насоса.

Технологические указания представлены в виде технологических карт.

Технологические карты представлены в таблицах 2.4 - 2.7.

Таблица 2.4 - Технологическая карта по подготовительным работам к испытанию насоса ЭЦН-14


Технологическая карта №1

На страницах


Подготовительные работы для испытания насоса ЭЦН-14

Трудоемкость

Содержание операций и технические требования (ТТ)

Работы выполняемые при отклонении от ТТ

Конт-роль

 1. Подготовка оборудования для испытания. 1.1 Снять технологическую заглушку с колодца, в который устанавливается насос. 1.2 Произвести монтаж испытуемого насоса, для чего установить его на фланец крепления, совместив отверстия на насосе с 6 шпильками на фланце, установить на шпильки гроверные шайбы, и закрепить насос 5 гайками, на оставшуюся шпильку вместо гайки навернуть датчик вибрации. 1.3 Подключить питание к проводу с электрическим разъёмом к соответствующим входам восьми канального преобразователя. 1.4 Перевести бак в рабочее положение, при помощи ручки, затем вставить фиксатор в соответствующее отверстие. 1.5 Выдержать бак в рабочем положении не включая насоса в течении 2-3 минут, после чего осмотреть бак и поверхность пола на наличие подтёков и каплеобразования топлива. Особое внимание уделить сварным швам, уплотнению технологического лючка, фланцам крепления датчиков и насоса.     

           Прекратить дальнейшую подготовку к испытанию, слить топливо, определить место подтекания и устранить его.



Продолжение таблицы 2.4


Технологическая карта №1

На страницах


Подготовительные работы для испытания насосаЭЦН-14

Трудоемкость

Содержание операций и технические требования (ТТ)

Работы выполняемые при отклонении от ТТ

Конт-роль

1.6 Включить питание установки, для чего нажать кнопку «ВКЛ» блока управления панели «СЕТЬ», при этом должна загореться красная лампочка. 1.7 Произвести загрузку ЭВМ, запустить программное обеспечение.



Контрольно-проверочная аппаратура (КПА)

Инструмент и приспособления

Расходные материалы


Установка для испытания насоса; Испытуемый насос ЭЦН-14; Рожковый ключ 10 мм.



Таблица 2.5 - Технологическая карта по испытанию насоса ЭЦН-14


Технологическая карта №2

На страницах


Испытание насоса ЭЦН-14

Трудоемкость

Содержание операций и технические требования (ТТ)

Работы выполняемые при отклонении от ТТ

Конт-роль

2. Испытание насоса. 2.1.Проконтролировать количество топлива в баке по информации датчика уровня, выводимой на ЭВМ. Оно должно соответствовать от 160 до 170 л. 2.2.Подать питание к испытуемому насосу для чего нажать кнопку «ВКЛ» на блоке управления панели «НАСОС», после чего программное обеспечение автоматически перейдёт в режим регистрации и записи параметров. 2.3 Произвести обкатку насоса в течение 15 минут. Обкатку и замер параметров производить согласно данным таблицы 2.6.

При недостаточном уровне, долить топливо через заливную горловину. Отключить питание насоса



Технологическая карта №2

На страницах


Испытание насоса ЭЦН-14

Трудоемкость

Содержание операций и технические требования (ТТ)

Работы выполняемые при отклонении от ТТ

Конт-роль

замеры по пяти контрольным точкам. Параметры должны соответствовать нормативным значениям. В случае выявления существенного отклонения диагностируемых параметров от нормативных значений, на экран ЭВМ выводится предупреждение. 2.4 Снять спектр виброаккустических характеристик. 2.5. Отключить питание насоса нажав на кнопку «ВЫКЛ» блока управления панели «НАСОС». Результаты испытания автоматически сохраняются в файл. 2.6 Оценить техническое состояние испытуемого насоса, пользуясь полученными данными в процессе испытания, путём сравнения с нормативными значениями. В результате дать заключение о техническом состоянии испытуемого насоса. Примечание - При росте температуры керосина в баке во время проведения испытаний, подать воду в теплообменник установки, для чего открыть соответствующие краны. Убедиться в герметичности соединений.

нажав на кнопку «ВЫКЛ» блока управления панели «НАСОС». Повторные испытания такого насоса не производить


Контрольно-проверочная аппаратура (КПА).

Инструмент и приспособления.

Расходные материалы.


Установка для испытания насоса. Испытуемые насос ЭЦН-14.



Таблица 2.6 - Заключительные работы по испытанию насоса ЭЦН-14


Технологическая карта №3

На страницах


Заключительные работы по испытанию насоса ЭЦН-14

Трудоемкость

Содержание операций и технические требования (ТТ)

Работы выполняемые при отклонении от ТТ

Конт-роль

3 Заключительные работы 3.1 Отключить программное обеспечение ЭВМ и затем питание на установку, нажав кнопку «ВЫКЛ» на блоке управления, панели «СЕТЬ», при этом красная лампочка на панели сеть должна погаснуть. 3.2 Перевести бак в нерабочее положение при помощи ручки, и вставить фиксатор в соответствующее отверстие. 3.3 Отсоединить штепсельный разъём насоса. 3.4 Демонтировать насос, отвернув пять гаек крепления и вибродатчик. После демонтажа протереть насос ветошью. 3.4 Установить технологическую заглушку на фланец установки насоса.



Контрольно-проверочная аппаратура (КПА).

Инструмент и приспособления.

Расходные материалы.


Установка для испытания насоса. Испытуемый насос ЭЦН-14 Рожковый ключ 10 мм.


3. Экология и безопасность жизнедеятельности при проведении технологического процесса ремонта топливной системы самолета Ан-12

Под охраной труда понимается вся система правовых, экономических и технических мероприятий, проводимых для обеспечения здоровых и безопасных условий труда.

Законодательство об охране труда основано на положениях Конституции РФ и отдельных указах президента РФ, в основах законодательства об охране труда, а также на государственных стандартах, нормах и правилах.

Основные положения по труду, в том числе по охране труда, приведены в Трудовом кодексе РФ от 2010 года.

Основные положения трудового кодекса направлены на обеспечение безопасных и безвредных условий труда. Основные статьи регламентируют продолжительность рабочего времени, порядок приема на работу и увольнения с работы, вопросы трудовой дисциплины, порядок разрешения трудовых споров и так далее.

Вопросы охраны труда предусматриваются в правилах внутреннего распорядка, коллективных договорах, а также в инструкциях, которые создаются для отдельных профессий, работ и технологических процессов непосредственно на предприятиях.

Охраной окружающей среды называют систему мероприятий, направленную на сведение к минимуму негативного воздействия деятельности человека на окружающую среду.

Законодательством РФ предусмотрены меры административной и уголовной ответственности за причинение ущерба окружающей среде.

Анализ опасных и вредных производственных факторов. Мероприятия по их устранению

Анализ опасных и вредных факторов на производстве производится в соответствии с ГОСТ 12.1.003-85.

Опасный производственный фактор - воздействие, которого, на работающего может привести к травме.

Вредный производственный фактор - воздействие, которого на работающего может привести к профессиональному заболеванию.

К опасным факторам при работе на этой установке можно отнести:

поражение электрическим током,

применение пожароопасной жидкости - керосина и её токсичность (вредный фактор).

Основным источником вибрации в проектируемом стенде является топливный насос ЭЦН-14.

Основным факторам производственной среды, усугубляющим вредное воздействие вибрации, является пониженная температура и шум.

При предполагаемой температуре воздуха 200С (температура в помещении при проведении испытаний) уровень его шум не превышает 80 дБА, то есть риск возникновения виброболезни минимален, но при снижении температуры в помещении до +50…+100С, он повышается в 1,5…1,7 раз.

При испытаниях насос своими фланцами устанавливается на бак стенда через резиновую прокладку, которая кроме выполнения функции уплотнения является также эффективным гасителем вибрации.

Электрический предохранитель

Защитное отключение электросистемы стенда обеспечивается путём применения предохранителя - устройства, автоматически отключающего потребитель тока при превышении силы тока выше определённого значения.

Сопротивление предохранителя определяется исходя из потребляемого электродвигателем тока (не более 12А при U=27 В).

Величина тока, на которую срабатывает предохранитель, описывается по формуле:пр=(1,5…2)* Iном = 1,7*12=20,4 А.

По ГОСТ 12.2.003-91 подбираем электрический предохранитель с оловянной нитью на 22А.

Работы на стенде предполагается производить в условиях производственного помещения.

В процессе эксплуатации установки возможны повреждения изоляции, и её металлические части могут оказаться под напряжением это приведёт к поражению электрическим током техника выполняющего испытание насоса.

Поэтому в конструкции необходимо предусмотреть защитное заземление - соединение стенда с землёй или её эквивалентом (например, водонапорными трубами и т.д.).

При наличии заземления вследствие стекания тока на землю напряжение прикосновения уменьшается и, следовательно, ток, проходящий через человека, оказывается меньше, чем в незаземлённой установке.

Защитное заземление

Представляет собой преднамеренное соединение с землёй или её эквивалентом металлических нетоковедущих частей стенда, которые могут оказаться под током.

Цель защитного заземления - снизить напряжение относительно земли до безопасного значения на нетоковедущих металлических частях стенда, не находящихся при эксплуатации под напряжением, но оказавшимся под ним в результате повреждения или пробоя изоляции токоведущих проводов.

Заземлить стенд можно двумя способами:

) Соединить его проволокой со специальным заземляющим болтом вмонтированным в пол.

) Если помещение оборудовано защитной шиной (по контуру помещения расположена полосовая сталь), то к ней можно подключить стенд.

Проволока от заземлителя крепится к стенду винтом.

Санитарная характеристика помещения

Помещение, в котором установлен стенд должно удовлетворять некоторым требованиям. Санитарные нормы на помещение даны в таблице 3.1.

Таблица 3.1 - Санитарная характеристика помещения

Наименование показателей

Единица измерения

Величина показателей

Оптимальная температура

- зимой - летом

°С °С

17.  20 20 . 22

Относительная влажность:

- оптимальная - допустимая

% %

30 . 60 75

Нормируемая освещенность: - накаливания - люминесцентных

Лк Лк

150 200

Скорость движения воздуха: оптимальная

- зимой - летом

м/с м/с м/с м/с

0,3 0,4 0,4 0,7

допустимая

- зимой - летом



Допустимый уровень шума

дБА

<80

Площадь производственного помещения на одного рабочего

м2

≥4.58

Кубатура помещения на одного рабочего

м3

≥15


Рекомендации по помещению в котором работает стенд

Поскольку в качестве рабочей жидкости используется керосин, рабочее помещение должно быть хорошо проветриваемым. В связи с этим желательно использовать механическую вентиляцию (подача воздуха с помощью механических побудителей - вентиляторов). Она, по сравнению с естественной вентиляцией имеет ряд преимуществ:

большой радиус действия;

возможность изменять или сохранять необходимый воздухообмен независимо от температуры наружного воздуха;

организовывать оптимальное воздухораспределение с подачей воздуха непосредственно к рабочему месту.

Освещение должно удовлетворять ряду требований:

должно быть достаточным, чтобы глаза без напряжения могли различить рассматриваемые детали;

постоянным во времени, для этого напряжение в сети не должно колебаться больше чем на 4%;

равномерно распределённым по рабочим поверхностям, чтобы не было резкого светового контраста.

Поскольку проведение испытаний не требует точных зрительных работ (контрольных), то в помещении можно использовать только общее освещение, но оно должно быть локализованное (с учётом расположения рабочего места).

Опасные и вредные производственные факторы показаны в таблице 3.2.

Таблица 3.2 - Опасные и вредные производственные факторы

Опасный или вредный фактор

Воздействие фактора на организм

Мероприятия по устранению



Существующие

Реализуемые в дипломном проекте

1

2

3

4

Применение промышленного тока напряжением 220В, частотой 50 Гц

Термическое, электролитическое воздействие, выражающееся в ожогах, разложении крови, непроизвольном сокращении мышц, в том числе сердца и легких.

Применение заземления, релейная защита или комбинация этих способов.

Заземление стенда.

Разряды статического электричества

Непроизвольное сокращение мышц, в том числе сердца и легких.

Заземление, установка нейтрализаторов

Заземление стенда.

Токсичная жидкость - керосин

Раздражение слизистой оболочки органов дыхания, кожи рук маслом.

Специальные приспособления и индивидуальные средства защиты

Вентиляция

Пожароопасность (температура вспышки паров горючей жидкости tвсп.= 650 С)

Ожоги, удушение продуктами сгорания.

Выполнение мер пожарной безопасности, инструктаж рабочих, установка средств сигнализации.

Выполнение мер пожарной безопасности, инструктаж рабочих, установка средств сигнализации.


Рекомендации по сборке стенда

Некоторые детали для каркаса стенда изготавливаются резанием из металлических профилей и листов. После изготовления в месте разреза получаются острые углы, которые могут явиться причиной травм у рабочих обслуживающих стенд. Поэтому на острых углах необходимо делать фаску напильником под углом 450.

Охрана окружающей среды

Охрана окружающей среды и уменьшение воздействия на окружающую среду заключается в выполнении следующих мер:

) Утилизация отработанной жидкости. Жидкость, использовавшуюся при испытании насоса отправляют на хранение для последующих испытаний.

) Ветошь, используемая при обслуживании и работе на стенде, собирается и складируется в специальные контейнеры, а затем специальными службами отвозится и перерабатывается.

) Люминесцентные лампы дневного света, отработавшие свой ресурс, складируются и отвозятся на утилизацию.

Пожарная безопасность

Пожарная опасность - возможность возникновения или развития пожара, заключённая в каком-либо веществе, состоянии или процессе.

Вспышка - это быстрое сгорание горючей системы, не сопровождающееся образованием сжатых газов.

Воспламенение - это возгорание, сопровождающееся появлением пламени.

Температура вспышки - самая низкая температура горючего вещества, при которой в условиях специальных испытаний над его поверхностью образуются пары или газы, способные вспыхивать от источника зажигания, но скорость их образования еще не достаточна для устойчивого горения. При этом сгорает только паровая фаза, после чего пламя гаснет.

Температура воспламенения - наименьшая температура вещества, при которой в условиях спец. испытаний вещество выделяет горючие пары и газы с такой скоростью, что после их зажигания возникает устойчивое пламенное горение. При нагревании горючих жидкостей до определённой критической температуры возможно их самовоспламенение.

Температура самовоспламенения - самая низкая температура вещества, при которой при которой в условиях спец. испытаний происходит резкое увеличение скорости экзотермических реакций, заканчивающихся пламенным горением.

Перед установкой насоса ЭЦН-14 фланцем на бак стенда, необходимо проверить наличие и целостность резиновой прокладки. После установки насоса при помощи ручки перевести бак в рабочее положение и проверить, нет ли подтекания или каплеобразования керосина на фланце крепления насоса. В случае если наблюдается подтекания или каплеобразования, необходимо перевернуть бак в исходное положение, а пятна керосина, образовавшиеся на полу, присыпать древесными опилками или песком, после чего определить причину утечки.

В помещении, в котором установлен стенд, имеется порошковый огнетушитель ОП-2, а также специальная ёмкость с древесными опилками и песком.

Вывод: Разработанные мероприятия обеспечивают безопасность жизнедеятельности, а также обеспечивают экологическую безопасность работы установки при проведении испытаний топливного насоса ЭЦН-14.

4. Технико-экономическое обоснование спроектированной установки для испытания электроцентробежного насоса ЭЦН-14 топливной системы самолёта Ан-12

Необходимо рассчитать экономический эффект использования стенда по испытанию насоса ЭЦН-14 и срок его окупаемости. Для этого необходимо рассчитать:

. Затраты на изготовление установки. Они включают в себя затраты на:

сборочные агрегаты и комплектующие изделия;

материалы, используемые при изготовлении;

работы по сборке и монтажу установки;

затрачиваемую электроэнергию при изготовлении;

заработную плату рабочих;

цеховые расходы;

затраты на проектирование установки.

. Затраты на эксплуатацию изготовленной установки. Они включают в себя затраты на:

заработную плату рабочих и ИТР, эксплуатирующих установку;

начисления на заработную плату;

цеховые расходы;

амортизацию установки;

затраты на расходные материалы необходимые для работы установки.

. Эксплуатационные затраты до внедрения установки.

. Ожидаемый экономический эффект и срок окупаемости спроектированной установки.

Затраты на изготовление установки

Себестоимость изготовления установки:

Сизг уст= М0 + Мки + Рэ + ЦР + ЗП + См + Мзр + Спр + ПР, (4.1)

где М0 - затраты на материалы;

Мки - затраты на комплектующие изделия;

Рэ - затраты электроэнергии на изготовление;

ЦР - цеховые расходы;

ЗП - заработная плата;

См - затраты на изготовление и монтаж агрегатов;

Мзр - начисления на заработную плату;пр - затраты на проектирование установки;

ПР - прочие расходы.

Стоимость необходимых материалов и комплектующих изделий для изготовления установки представлены в таблице 5.1

Таблица 4.1 - Стоимость материалов и комплектующих для изготовления установки

№ п/п

Наименование

Стоимость единицы, руб

Кол-во

Общая стоимость, руб

1

2

3

4

5

1

Датчик вибрации BS-031

550

1

550

2

Датчик давления Метран-22-АС-1

1100

1

1100

3

Датчик расхода PROline Promag

1650

1

1650

4

Датчик температуры ТС 404Cv

480

1

480

5

Датчик уровня Nivocap CЕК-310

1220

1

1220

6

Кран электромагнитный КЭ22-2

695

1

695

7

Корпус РЭА Gainta Industries B011

150

1

150

8

Блок управления

550

1

550

9

Опора левая

1400

1

1400

10

Опора правая

1100

1

1100

11

Элементы гидросистемы



250

12

Ноутбук Lenovo

9000

1

9000

13

Труба стальная D=40 мм

105

8,6 м

903

14

Лакокрасочное покрытие

110

1,5 кг

165

15

Лист из АМГ-6 δ=3 мм

790

2,8 м²

2212

16

Крепёжные элементы



600

17

Преобразователь АКИП-9101

5100

1

5100

Σ

27125


Суммарные затраты на материалы и комплектующие изделия:

М = М0 + Мки = 27125руб.

Затраты электроэнергии на изготовление

При изготовлении установки выполняется некоторый объём сварочных работ.

, (4.2)

где lш - суммарная длина сварных швов.

Конструкция имеет каркас, фланцы крепления топливного насоса, датчиков к баку. lш = 8 м;- средняя производительность работ, принимаем Q =80 м/ч;св - мощность сварочного аппарата , Nсв =6800 кВт;

Ц эл - стоимость электроэнергии, Ц эл =2,11 руб/кВт.

Для создания установки необходим сварщик, слесарь и токарь.

Затраты на заработную плату рабочим представлены в таблице 5.2.

Таблица 4.2 - Затраты на заработную плату рабочим

Специиальность

Разряд

Тарифный коэффициент

Количество норма часов на изготовление

Коэффициент отчислений на социальное страхование

Процент премий

Сумма заработной платы

Сварщик

V

65

1,54

11

1,34

1,4

2087

Слесарь

III

58

1,35

32

1,34

1,4

6071

Токарь

III

58

1,35

3

1,34

1,4

1105


ЗП = ЗПсварщик + ЗП слесарь + ЗП токарь = 2087 + 6071 + 1105 = 9263 руб.

Затраты на изготовление узлов установки

Фланец крепления топливного насоса:

 (4.3)

где Сч - часовая ставка рабочего;

Ктар - тарифный коэффициент;- количество нормо-часов;

Квр - коэффициент вредности- мощность станка (фрезерный станок 6М13ГН1) 7,5 кВт;

Цэл - стоимость единицы электроэнергии 2,11 руб/кВт;

 (4.4)

Затраты на монтаж узлов:

 (4.5)

где n - количество рабочих занятых в монтажных работах.

Начисления на заработную плату:

 (4.6)

Цеховые расходы составляют 250 % от заработной платы производственных рабочих:

 (4.7)

Рассчитаем затраты на проектирование установки:

Спр = С + Зцех + Нр + Ам + Мо, (4.8)

где С - затраты на заработную плату, руб.;

Зцех - цеховые расходы, руб.;

Нр - накладные расходы для КБ, руб.;

Ам - амортизация оборудования, использованного в процессе проектирования;

Мо - затраты на вспомогательные материалы.

Затраты на заработную плату определяются по формуле:

С = 1,4·(Qкр·ЗП)/(До·Рч), (4.9)

где 1,45 - коэффициент премий;кр - трудоемкость конструкторских работ, ч;

ЗП - заработная плата, руб.;

До - количество работающих;

Рч - количество рабочих часов в день.

С = 1,4·(160·50)/(1·8)=1450 руб.

Цеховые расходы определяются по формуле:

Зцех = Kцех·С = 2,8·1450 = 4060 руб. (4.10)

Подсчитаем накладные расходы для КБ:

Нр = Кнр·С, (4.11)

где Кнр - коэффициент накладных расходов КБ.

Нр = 0,6·1450 = 870 руб.

Вспомогательные материалы включают в себя бумагу для чертежей, чертежные принадлежности.

Мо = 1250 руб.

Амортизация оборудования используемого в процессе проектирования:

Ам= (0,22·Соб)·t/(Ф·n), (4.12)

где 0,22 - коэффициент амортизации;об - первоначальная стоимость оборудования, руб.;

Ф - полезный фонд времени, ч.;- коэффициент загрузки оборудования;штучная норма выполнения операции.

Ам = (0,22·5000)·2/(45·0,7) = 70 руб.

Таким образом, затраты на проектирование установки составят:

Спр = 1450 + 4060 + 870 + 70 + 1250 = 7700 руб.

Прочие расходы:

 (4.13)

Себестоимость с учётом капитальных вложений равна:

 (4.14)

Срок службы установки составляет 10 лет. Следовательно, затраты на амортизацию будут составлять 20 % от себестоимости установки в год.

Затраты на эксплуатацию установки

Сэ = ЗП + Рэ + Ам + ЦР, (4.15)

где ЗП - зарплата работников;

Рэ - затраты на электроэнергию при эксплуатацию установки;

Ам - затраты на амортизацию;

ЦР - цеховые расходы;

Заработная плата работников:

 (4.16)

где 1,4 - коэффициент, учитывающий размеры премии;

Сч - часовая тарифная ставка;- количество нормо-часов;- количество рабочих задействованных при эксплуатации установки;

Затраты на электроэнергию:

 (4.17)

где Q - количество нормо-часов;- мощность электродвигателя испытуемого насоса 415 Вт;

Цэл - стоимость единицы энергии 2,11 руб/кВт.

Цеховые расходы составляют 250 % от заработной платы производственных рабочих.

,

Эксплуатационные затраты до внедрения установки

 (4.18)

где Зпр - зарплата техникам осуществляющим замену отказавшего насоса;

ЦР - цеховые расходы;

Спрост - затраты связанные с простоем самолета за один час,

Спрос=1000 руб;- количество часов простоя связанного с заменой одного насоса, n=5;

Сотпр - стоимость ремонта в сторонней организации, 3000 руб;нас - количество ремонтируемых насосов, nнас =15;

 (4.19)

где Т - время выполнения операции, 5 ч;

С1 - часовая тарифная ставка рабочего , 70 руб/ч (данные предприятия);- коэффициент, учитывающий размер премий и дополнительной заработной платы. Принимаем q =1,4.

К - количество рабочих, К=4

Затраты на отчисления:

Единый социальный налог составляет 34 %

Цеховые расходы:

Экономический эффект от внедрения установки

Э = С1 - Сэкспл. уст. =218196-26436,6 = 191759,4 руб, (4.20)

Срок окупаемости:  (4.21)

В результате проведенных расчетов можно сделать выводы:

Применение разработанной установки выразится в экономическом эффекте 191759,4 руб.

Срок окупаемости разработанной установки около 1 года, что подтверждает её высокую технологическую и экономическую эффективность.

5. Патентные исследования

Патентная информация является наиболее оперативным видом научно-технической информации. Она позволяет судить о существующем уровне и тенденциях развития науки и техники заданной области. Был проведён поиск патентной информации в подклассе «испытания центробежных насосов». Для дипломного проекта представляют интерес изобретения, представленные в таблице 5.1.

Таблица 5.1 - Запатентованные установки для испытания центробежных насосов

Название изобретения

Страна, классификация индекс

Заявитель, № заявки, дата заявки и публикации

Цель и формула технического решения

1

2

3

4

1. Стенд для снятия характеристик центробежного насоса

SU 1007732 МПК F04 B51

Научно-производственное объединение прикладной механики г. Железногорск Красноярского края 3.12.96 27.10.99

Стенд для испытания центробежных насосов содержит замкнутый гидравлический контур образованный питающим и напорным трубопроводами испытуемого насоса, между которыми установлен регулирующий дроссельный кран, и шунтирующий контур. Шунтирующий контур предназначен для повышения точности испытаний и состоит из струйного и приводного насосов. Вход приводного насоса подсоединён к напорному трубопроводу испытуемого насоса а выход - к активному соплу струйного. В




шунтирующем контуре также установлен дроссельный кран.

2. Стенд для испытания центробежных топливных насосов

SU 899134 МПК F04C2

Салихов И. А. Зубаиров С.Г. Смирнов В.В. 24.03.92 2.11.94

Стенд для испытания топливных насосов, включающий взаимосвязанные между собой и смонтированные на основании станину с функциональными узлами - узел размещения насоса, узел подачи топлива, мерный блок со стаканами, расходную ёмкость. Мерный блок стенда снабжён приспособлением предварительного формирования измеряемого расхода топлива, которое выполнено в виде размещённых на каждом стакане трубопроводов и расположенного соосно стакана опорного поплавка, при этом верхний трубопровод - подающий, нижний - сливной.

3. Стенд для испытания насосов

RU 1007732 МПК F04D29

Цветков Н.И. 10.12.95 10.7.97

Стенд для испытания насосов, содержащий основной и мерный бак, состоящий из мерной камеры и измерительных каналов с установленными фотодатчиками, трубопроводы и гидравлическую аппаратуру управления, отличающийся тем, что фотодатчики




установлены в измерительных каналах мерного бака и снабжены светопроводниками, в которых торцевые поверхности выполнены под углом к оси выходного патрубка, что позволяет проводить измерения с большей точностью.

4.Стенд для испытания центробежных насосов.

RU 1366456 МПК F02M65

Cавосин Г.П. Михайлов А.Д. 6.03.02 10.9.03

Установка для испытания центробежных насосов содержит расходомер, датчики давления установленные соответственно в линиях всасывания и в линиях нагнетания. Установка снабжена системой управления выполненной в виде запорных элементов, переключающим устройством для подключения испытываемого насоса к напорному участку напорно-сливой линии, а также средства для установки на стенде испытываемых насосов и контрольно-измерительную аппаратуру с аналоговыми датчиками.

5. Установка для испытания центробежных насосов

RU 1756511 МПК F01M09

Конаваленко С.А. 23.05.96 25.10.96

Установка для испытания центробежных насосов содержит манометры, расходомер с электронными датчиками, бака с наддувом.




Всё управление - осуществляется с помощью электрических клапанов. Испытуемый насос подсоединяется к коллектору. Во время испытаний производится регулировка давления наддува в баке. Жидкость перекачивается в бак с помощью дополнительного насоса подкачки. Сливная линия сообщена с баком через дроссель.


Отличительной особенностью вышеперечисленных стендов является то, что в них используют точные электронные приборы, мерные блоки, расходные ёмкости и тем самым можно с большей точностью снять характеристики испытуемого насоса. К тому же имеется возможность снимать их при изменении внешних условий (например, в установке предложенной Конаваленко используется наддув бака, величина наддува регулируется в процессе испытаний).

Применённое оборудование и измерительные приборы в стендах значительно усложняет их конструкцию, но повышает точность измерений и дают возможность построить рабочие характеристики.

Отличительной особенностью спроектированного стенда является то, что он имеет простую конструкцию, состоит из стандартных элементов, также в отличие от вышеперечисленных установок насос непосредственно крепится к баку, а не к специальному коллектору.

Наиболее близкой разработкой является патент № RU 1366456.

6. Методы и средства испытания насосов

.1 Классификация видов испытания

Классификация методов испытаний проводится в зависимости от показателей, факторов и явлений, которые определяют, контролируют или исследуют при испытаниях. В качестве примеров назовём несколько видов:

энергетический - получение или контроль характеристик напорной, мощностной и КПД;

кавитационный - получение или контроль характеристик или показателей кавитации, или исследование кавитацинных явлений;

балансный - получение количественных значений мощности различного вида потерь энергии;

получение полной напорной (и моментной) круговой характеристики;

сравнительно ресурсный - выяснение, какой из испытуемых образцов более долговечен;

тепловой - определение установившейся температуры элементов насоса;

на температурную стойкость - определение предельно допустимой для насоса температуры перекачиваемой среды;

на «угонную» угловую - определение максимальной угловой скорости обратного вращения при работе насоса в турбинном режиме, который имеет место в некоторых установках при выключении двигателя;

на сохраняемость - определение защитных свойств консервирующих средств и назначенного срока хранения в заданных условиях.

6.2 Гидравлический метод испытания

Получение напорной и энергетической характеристик

Гидрвлические испытания включают получение и контроль напорной, энергетиской и кавитационной характеристик.

При стендовых испытаниях на каждом режиме должны измеряться и записываться:

частота вращения (для электронасосов - частота и напряжение);

расход;

давление (разряжение) на входе (у насосов имеющих подводящий трубопровод);

давление на выходе;

крутящий момент или мощность на валу (для электронасосов - потребляемая электрическая мощность).

Кроме того должна измеряться температура жидкости.

Каждая характеристика должна быть получена в интервале расхода от нуля до расхода не менее чем на 10% большей максимальной рабочего интервала расхода, определённого технической документацией при давлении на входе, исключающем влияние кавитации на характеристику.

Для регулируемых характеристик должны быть получены не менее чем при пяти положениях регулировочных органов, в том числе при номинальном или оптимальном.

При снятии характеристик расхода, на которых производятся замеры, должно быть не менее 16, включая точку при нулевом расходе, причем расход в соседних точках должен отличаться друг от друга не более 8% номинального расхода. Режим должен устанавливаться затвором на отводящем трубопроводе.

Для обеспечения равномерного распределения точек по расходу режим следует устанавливать по показаниям расходомера. При ручном управлении стендом экспериментатор должен иметь перед собой «таблицу режимов» - значений показаний расходомера, которые нужно устанавливать для проведения очередного замера.

Снятие характеристик для центробежного насоса нужно начинать с нулевой подачи.

При контроле давления должно быть установлено, что при номинальной частоте вращения расход насоса в рабочем интервале подач не выходит за допустимые приёмосдаточные отклонения.

График контроля качества насоса по давлению представлен на рисунке 6.1.

Рисунок 6.1 - График контроля качества насосов по давлению создаваемому насосом (все шкалы логарифмические)

При испытаниях должны измеряться и записываться те же величины, что и при снятии напорной характеристики.

Допускается ограничиваться измерением только частоты вращения (или напряжения электросети) и давления на выходе из насоа при выполнении следующих условий:

испытания проводятся на стенде, в котором коэффициент гидравлического сопротивления подводящего трубопровода остаётся неизменным;

режимы устанавливаются по показанию расходомера с точностью, определяемой точностью наблюдений;

на стенде имеется график (рисунок 6.1), деления на осях которого соответствуют делениям приборов, предельно допустимое относительное отклонение показаний манометра на выходе соответствует относительному приёмосдаточному допуску на давление.

График легко построить в логарифмических координатах, решив уравнение совместной работы насоса и стенда относительно

 (6.1)

 (6.2)

Во время испытаний указатель расходомера с помощью затвора на отводящем трубопроводе ставят на заранее вычисленное значение, соответствующие минимальному, номинальному и максимальному расходам рабочего интервала подач с отклонением не более 5% и записывают показания всех приборов или значение давления при номинальном расходе, если обработка ведётся при помощи графика (рисунок 6.1).

Если давление выходит за пределы приёмо-сдаточного допуска, насос бракуется.

Опытное давление  в зависимости от схемы испытательной установки должно рассчитываться по одной из формул:

для фланцевого насоса (рисунок 6.2)

 (6.3)

для погружного насоса или насоса (рисунок 6.3)

 (6.4)

где  и  - показания приборов давления, соединённых соответственно со входом и выходом, Па; знак «минус» в формуле (6.2) соответствует положительному избыточному давлению, знак «плюс» - разряжению;

 - плотность перекачиваемой жидкости, кг/; если в следствии сжимаемости или нагрева жидкости в насосе плотность на входе  отличается от плотности на выходе  более чем на 0,5%, берётся средняя плотность;

 и  - внутренние диаметры трубопроводов в местах отбора давлений для измерения, м;

 и  - вертикальные отметки положения приборов, соединённых с входом и выходом, м; знак «плюс» в формуле (6.3) соответствует расположению манометра над свободной поверхностью (рисунок 6.3).

Рисунок 6.2 - Схема к определению давления фланцевого насоса

Рисунок 6.3 - Схема к определению давления погружного насоса

Давление создаваемое насосом должно быть приведено к номинальной частоте вращения (или энергопитания), а также к натуральной жидкости по формулам:

 (6.5)

Коэффициент  зависит от свойств натурной жидкости и определяется из справочника.

Расход жидкости насоса должен быть приведён к номинальной частоте вращения или номинальным параметрам энергопитания по одной из формул:

 (6.6)

 (6.7)

где  - коэффициент, устанавливающий зависимость между частотой вращения (или циклов) гидравлической части насоса и параметрами энергопитания; для асинхронных двигателей.

 (6.8)

где  - номинальная частота сети;

 - синхронная частота вращения электродвигателя, об/мин;

 - номинальная (по паспорту) частота вращения электродвигателя, об/мин.

КПД для электронасоса должен определяться по формуле:

 (6.9)

КПД должен быть приведён к номинальной частоте вращения (или энергопитания) и свойствам натурной жидкости по формулам:

 (6.10)

 (6.11)

где  - коэффициент зависящий от свойств натурной жидкости и потерь мощности, не пропорциональных кубу частоты вращения.

Можно принять =1.2.

Получение кавитационной характеристики

Наиболее распространенный способ определения необходимого надкавитиционного давления и его зависимости от расхода основан на измерении гидравлических параметров насоса при различных значениях надкавитационного давления.

Получение кавитационной характеристики возможно тремя путями:

конструктивными мерами обеспечить возможность регулирования давления на входе и испытать насос в целом;

нагреть жидкость меняя давление её паров;

Частные кавитационные характеристики должны быть получены не менее чем при пяти положениях регулировочных органов, в том числе при номинальном. При каждом режиме должны измеряться те же величины, что и при получении напорной и энергетической характеристик, одноко крутящий момент (или мощность) на валу и электрическую мощность измерять не обязательно. Измерение последних целесообразно производить при испытаниях:

насосов с пространственными лопатками, так как в них начало кавитации легче заменить по измерению мощности;

имеющих целью установить где раньше начинается кавитация: на рабочем колесе или на языке спирали (выправляющем аппарате).

Снятие каждой кавитационной характеристики должно начинаться при давлении на входе, исключающем кавитацию, и заканчиваться при таком давлении, когда еще можно сохранить кинематическое подобие потока на входе в насос.

Число значений кавитационного запаса должно быть не менее 16, причём в области от начала кавитации до полного срыва не менее 8.

При испытаниях на герметичном стенде порядок действий при снятии частной кавитационной характеристики должен быть следующим:

с помощью затвора на отводящем трубопроводе указатель расходомера выводят на заранее вычисленной значение, соответствующее выбранному расходу;

давление в баке стенда с помощью вакуум-насоса понижают до тех пор, пока не будет замечено изменение показания расходомера;

с помощью затвора на отводящем трубопроводе расход (при неизменной частоте вращения) или отношение  поддерживается постоянными и на каждом режиме записываются показания приборов.

При испытаниях на негерметичном стенде разряжение на входе регулируется затвором на входе, а затвором на выходе поддерживается постоянство расхода. Во время испытаний необходимо контролировать уровень жидкости.

При контроле надкавитационного давления должно быть установлено, что при работе насоса на номинальном или заданном режиме при понижении давления на входе до величины, соответсвующей необходимому надкавитационному давлению, не происходит изменения давления или мощности насоса, а также не наблюдается каких-либо других отклонений от нормальной работы.

В случае насосов, позволяющих регулировать давление на входе, по показанию расходомера устанавливается и поддерживается заданный режим, а давление на входе понижается до величины, соответствующей необходимому надкавитационному давлению. При этом не должно наблюдаться не изменения параметров, ни отрицательных явлений, сопровождающих работу (треск, вибрация). Для регулируемых насосов необходимое надкавитационное давление проверяется при номинальном положении регулировочных органов.

Опытное надкавитационное давление должно определяться по формулам:

для фланцевого насоса

 (6.12)

- для погружного насоса

 (6.13)

где  - показание прибора для измерения давления, соединённого с входом в насос, Па; знак «плюс» в формуле соответствует избыточному давлению, знак «минус» - разряжению;

 - атмосферное (барометричекое) давление во время испытаний, Па;

 - давление упругости паров перекачиваемой жидкости, Па; в случае многокомпонентной жидкости, если нет дополнительных оговорок, за  рекомендуется принимать давление 20%-ной упругости паров;

 - вертикальная отметка положения прибора измерения давления над верхней точкой области кавитационных явлений, м;

 - расстояние от свободной поверхности до верхней точки области кавитационных явлений, м.

Особенно сложен вопрос пересчёта кавитацинных показателей для случая многокомпонентых жидкостей, так как не всегда ясно, что принимать за давление упругости паров жидкости. Причина здесь заключается не только в свойствах самой жидкости, но и в конструктивном типе насоса.

В любом случае средняя упругость насыщенных паров не может быть принята для расчёта, а при принятии гамма-процентной упругости паров величина «гамма» для короткоканальных динамических насосов должна быть больше, чем для длинноканальных. Объясняется тем, что выделение при кавитации даже небольшого количества пара в длинноканальном насосе приводит к «запиранию» сечения проточной части. По этой причине приводимая в справочниках 80%-ная упругость паров многокомпонентных жидкостей для большинства насосов не может быть использована при определении и пересчёте надкавитационного давления.

Приведение надкавитационного напора производится по формуле:

 (6.14)

 (6.15)

Построение характеристик

Опытные характеристики (не только гидравлические) строятся по следующим правилам:

а) характеристики строятся по приведённым значениям параметров;

б) на опытных характеристиках должны быть отмеченные точки, причём рекомендуется опытную точку отмечать симметричной фигурой (овалом, крестиком, косым крестиком, прямоугольником, ромбом и т. д.), размер которой вдоль каждой из осей равен соответствующей предельной погрешности измерения;

в) непосредственно на характеристике нужно указывать марку и заводской номер испытанного насоса, кем, когда и где проведены испытания, жидкость, её температуру, частоту вращения или параметры энергопитания, параметры которые при испытаниях поддерживались или оставались постоянными (например, расход и атмосферное давление при снятии частной кавитационной характеристики), и параметры, к которым приведены результаты испытаний.

Правила построения характеристик, включаемых в техническую документацию, следующие:

а) на один график наносят опытные точки приведённых результатов испытаний всех опытных образцов, причём характеристик отдельных образцов не наносят;

б) по опытным точкам которые рассматриваются как «представители» одной генеральной совокупности, строят осредняющую характеристику;

в) опытные точки убирают с поля графика (счищают или при копировке не воспроизводят);

г) в пределах рабочего интервала подач наносят границы допустимых приёмо-сдаточных или браковочных отклонений.

Оформление характеристик полученных при испытаниях и включаемых в техническую документацию, показаны на рисунке 6.4

Представить результаты испытаний насоса в виде безразмерных характеристик можно, например, когда:

один и тот же насос комплектуется двигателями различной частотой вращения или «мягкой» характеристикой;

результаты испытаний должны быть сопоставлены с имеющимися в литературе;

Рисунок 6.4 - Оформление характеристик: а - полученные при испытаниях; б - включаемых в техническую документацию

по параметрам насоса должна быть произведена оценка его качества.

6.3 Вибрационный метод испытаний

Вибрационные испытания могут проводиться с целью:

установить, что вибрация не превышает санитарной или другой нормы, определяемой состоянием насоса;

выявить и устранить конструктивные недостатки насосов, приводящие к повышенной виброактивности;

проконтролировать качество изготовления и сборки насоса (уравновешенность, зазоры в опорах);

определить границы применимости насоса по параметрам (расхода, надкавитационному давлению);

выявить процессы, происходящие в насосе.

Виброчастотная характеристика и общий уровень вибрации снимаются на заданном режиме, чаще всего на номинальной или при максимальной виброактивности.

При снятии частной вибрационной характеристики измеряется общий уровень вибрации или уровень вибрации в интересующей октаве. Вибрационные характеристики строятся аналогично показанным на рисунках 6.5 и 6.6.

Рисунок 6.5 - Частные шумовые и вибрационные характеристики

Рисунок 6.6 - Частные шумовые и вибрационные характеристики

Анализируя спектрограмму вибрации (рисунки 6.5 и 6.6), можно составить достаточно полное представление о процессах, происходящих в насосе, поэтому вибрацию при испытаниях целесообразно измерять и анализировать всегда.

Контроль вибрации. При контрольных вибрационных испытаниях на заданном режиме измеряется уровень общий или в заданной октаве.

Установление нормы вибрации насоса. Норма вибрации насоса представляет собой предельно допустимое значение вибрации насоса на заданном режиме его работы. Нормироваться может как общий уровень вибрации, так и уровень вибрации в заданной: октавной полосе в точке с наибольшей вибрацией.; Нормы вибрации по результатам испытаний устанавливаются, исходя из результатов параметрических испытаний опытных или серийных насосов данной марки в количестве не менее трех.

6.4 Тепловой метод испытаний

При тепловых испытаниях должна определяться максимальная установившаяся температура элементов обкатанного насоса, перегрев которых может привести к отказу. Эти испытания обязательно должны проводиться с насосами, имеющими систему охлаждения.

Испытания должны проводиться на режиме, вызывающем наибольший нагрев в рабочем интервале подач. При этом через равные промежутки времени (от 0,5 до 5 мин) должна измеряться и записываться температура элемента.

Испытания должны продолжаться до тех пор, пока разность температур между замерами, сделанными через 5 мин, станет меньше 1 К. Допускается прекращение испытаний ранее, если результаты замеров тут же наносятся на графике (рисунок 6.7) и все опытные точки, в количестве не менее пяти, ложатся на одну прямую.

Установившаяся температура элементов насоса (туст) должна определяться, как показано на рисунке 6.7.

Рисунок 6.7 - Определение температуры элементов насоса

Контроль температуры элементов при испытаниях целесообразно производить у насосов, нагрев элементов которых происходит в результате потерь энергии, например, у герметичных электронасосов или самовсасывающих с постоянно вращающейся ступенью самовсасывания. Для этого после пуска холодного насоса через определённое время, измеряется температура элементов.

6.5 Оборудование для испытаний

Стенд показанный на рисунке 6.8, используется для параметрических и контрольных испытаний.

Равномерность потока перед насосом при наличии задвижки может обеспечиваться путем установки успокоителя или достаточно длинного участка трубопровода. При отсутствии задвижки на входе насос может устанавливаться как показано на, что, однако, приемлемо при небольшом объеме бака, поскольку при перемонтаже приходится сливать жидкость из бака.

При снятии частных кавитационных характеристик разрежение должно создаваться вакуум-насосом. При этом гидравлическое сопротивление стенда остается неизменным, и по показанию дифференциального манометра расходомера легко уловить начало кавитации.

Рисунок 6.8 - Герметичный стенд с баком для испытаний горизонтальных насосов с осевым входом: а - вариант с успокоителем; б - вариант с выравнивающим трубопроводом; в - вариант с непосредственным подводом воды из бака; / - испытуемый насос; 2 - балансирный двигатель; 3 - датчик тахометра; 4 - мановакуумметр (грубый); 5 - манометр (грубый); 6 - линия связи тахометра; 7 - тахометр; 8 - дистанционный термометр; 9 - дифма- нометр; 10 -манометр контроля давления в сужающем устройстве; 11 - манометр точных измерений; 12 - вакуумметр точных измерений; 13 - линия перепада давлений в сужающем устройстве; 14 - вентиль для выпуска воздуха; 15 - сужающее устройство; 16 - мановакуумметр; 17 - разбрызгиватель-деаэратор; 18 - бак; 19 - водомерное стекло; 20 - вакуумная магистраль бака; 21 - вакуумная магистраль успокоителя- сепаратора; 22 - затвор регулирования режима; 23 - воздушный кран продувки бака; 24 - магистраль заливки вакуумного насоса; 25 - сливная воронка; 26 - вакуумный насос; 27 - датчик термометра; 28 - задвижка с гидрозатвором; 24 - сепаратор-успокоитель; 30 - сосуд для заполнения магистрали вакуумметра при продувке; L - длина прямого участка перед сужающим устройством

Герметичный стенд с теплообменником (рисунок 6.9). В этом стенде бак заменен компактным теплообменником, отводящим тепло, которое выделяется при работе системы, а успокоитель должен иметь вверху воздушную подушку, чтобы выполнять роль сепаратора. Стенд может быть выполнен достаточно компактным. Его недостаток - малая тепловая инерция. Стенд целесообразно снабдить системой автоматического терморегулирования, управляющей теплообменником.

Работа с подобным стендом, проведенная в ВИГМе инженером Гридиным В. И., показала, что в верхней части трубопровода должен быть установлен воздухосборный расширительный бачок. Без него, несмотря на наличие успокоителя с воздушной подушкой, при снятии частных кавитационных характеристик не обеспечивается стабильность режимов.

самолет насос испытание

Рисунок 6.9 - Герметичный стенд с теплообменником: 1 - насос; 2 -воздушный бачок; 3 - теплообменник

Испытания серийных погружных насосов следует производить на стендах, выполненных по открытой схеме. Правда, такие стенды не дают возможность снять частные кавитационные характеристики.

На рисунке 6.10 показан стенд, который позволяет получить напорную и мощностную характеристики, а также проверить необходимый надкавитационный напор.

Рисунок 6.10 - Стенд для испытания погружных насосов: 1 - насос; 2 - уровнемер; 3 - бак-накопитель для изменения уровня жидкости

Стенд, имеет бак-накопитель для изменения уровня в основной емкости, в которой находится испытуемый насос. Изменение уровня здесь производится для проверки необходимого надкавитационного напора, а также определения минимально допустимой глубины погружения. Стенд удобен для испытаний погружных насосов с верхним расположением двигателя.

6.6 Средства измерения параметров

Измерение расхода жидкости

Расходомеры обтекания - это группа приборов, в которых под действием динамического давления обтекающего потока перемещается рабочий орган: поплавок, поршень, диск, крыло и т.д. Наиболее широко из этого класса приборов применяются ротаметры.

Расходомеры переменного уровня основаны на измерении положения свободной поверхности жидкости при ее истечении через отверстие (щель, канал и т. п.) под действием силы тяжести. Из этого класса расходомеров при испытаниях насосов могут применяться водосливы. Использование последних может быть рекомендовано при натурных испытаниях

Расходомеры с непрерывным движением рабочих органов бывают скоростного и объёмного типов. Жидкость, проходящая через них, под действием скоростного напора или благодаря объемному перемещению непрерывно двигает (вращает) рабочие органы расходомера. Их достоинство - большой диапазон измерения расходов, недостаток- сложность.

Из существующих электрических расходомеров для измерения подачи насосов могут найти применение расходомеры индукционные, в которых электропроводящая жидкость, перемещаясь в магнитном поле, наводит э. д. е., пропорциональную подаче.

Отечественный индукционный расходомер ИР-5 Таллинского завода измерительных приборов имеет пределы измерения 0,09- 70 л/с и класс точности 1,6. Прибор может работать с самописцем.

Измерение вибрации

Вибрацию измеряют на лапах или головках болтов, крепящих насос к амортизаторам, в направлении, перпендикулярном к опорной поверхности насоса. В случае проведения испытания насоса на жестком креплении замеры вибрации следует проводить на корпусах подшипников в плоскости, перпендикулярной к оси вращения насоса, по двум взаимно перпендикулярным направлениям.

При вибрационных испытаниях, проводимых на месте эксплуатации, условия измерения вибрации должны быть указаны в технической документации.

Для измерения вибрации может быть использован один из следующих комплектов аппаратуры:

комплект ИШВ-1, изготовитель - завод «Виброприбор» (г.- Таганрог);

импульсный шумомер PSI-202 с октавным фильтром OF-lOl и OF-201, адаптером ZE-322 и вибродатчиком KD-14. Изготовитель-фирма RFT (ГДР).

шумомер 2203 с набором октавных фильтров 1613, интегратором ZR-0020 и вибродатчиками 4343. Изготовитель - фирма Брюль и Къер (Дания).

Вибродатчики должны по возможности жестче крепиться к испытуемому насосу. Для этого иногда делается резьбовое гнездо, к которому привертывается датчик. Очень удобны датчики с магнитной головкой, требующие, однако, тщательной очистки металлической поверхности от краски и ржавчины. Допускается вибрационный датчик, укреплять на мастике или прижимать его к поверхности, покрытой слоем густого масла. Неправильная установка датчика приводит к искажению картины вибрации в первую очередь на высоких частотах.

Вывод: После проведения ремонта центробежных топливных насосов на авиаремонтных заводах для их испытания используют энергетический вид испытаний, который включает в себя гидравлический метод испытаний при котором снимаются напорная и энергетическая характеристики. А также пользуются вибрационным методом испытаний.

В спроектированной мною установке используются все выше перечисленные методы, используемые при испытании центробежных насосов, которые позволяют снять параметры:

расход топлива, л/ч;

рабочее давление, Па;

напряжение сети, В;

сила тока, А;

вибрация насоса, мм/с;

температура топлива, С.

На основании снятых во время испытания параметров строятся опытные характеристики и сравниваются с эталонными, после чего даётся заключение о состоянии насоса.

В разработанной мною установке процесс снятия и обработки параметров испытаний автоматизирован, в результате использования датчиков для снятия параметров и ЭВМ.

Заключение

В дипломном проекте на тему «Совершенствование технологического процесса ремонта топливной системы самолета Ан-12» был дан анализ особенностей конструкции и работы топливной системы, проведен качественный и количественный анализ надежности, в результате которого выявилось, что наиболее частым дефектом является отказ топливного насоса ЭЦН-14. Был произведен анализ указанной неисправности и даны рекомендации по повышению надежности насоса.

При проведении анализа технологичности было установлено, что топливная система соответствует требованиям РТ на 93%, что свидетельствует о том, что повышение технологичности топливной системы не представляется возможным.

Проведен анализ организационной структуры процесса ремонта самолета Ан-12, корректировка структуры процесса не требуется.

Проведено патентное исследование. Рассчитаны технико-экономические показатели эффективности внедрения спроектированного стенда, из которых видно, что стенд окупится через 1 год. Выполнен анализ безопасности жизнедеятельности при проведении работ по испытанию насосов.

В специальной теме дипломного проекта рассмотрены методы и средства испытания насосов.

Список использованных источников

1.      Аринушкин, Л.С. Авиационные центробежные насосные агрегаты [Текст]/Л.С. Аринушкин, Р.Б. Абрамович, А.Ю. Полиновский, Л.Б. Лещинер, Е.А. Глозман. - М.: Машиностроение, 1967.-255 с.

.        Никитин, О.Ф. Надёжность, диагностика и эксплуатация гидропривода мобильных объектов [Текст]: учебное пособие/О.Ф. Никитин. - М.: МГТУ, 2007.-312 с.

.        Конев, А.Г. Правила выполнения схем авиационных гидропневмосистем [Текст]: методические указания/А.Г. Конев. - Самара: СГАУ, 1995.-24 с.

.        Макаровский, И.М. Совершенствование технологического процесса технического обслуживания, ремонта и испытаний авиационной техники [Текст]: методические указания по дипломному проектированию/И.М. Макаровский. - Самара: СГАУ, 2002.-20 с.

.        Макаровский, И.М. Техническое обслуживание и ремонт авиационной техники [Текст]: методические указания по курсовому проектированию/И.М. Макаровский. - Самара: СГАУ, 2004.-60 с.

.        Углов, Б.А. Анализ эксплуатационной технологичности самолёта [Текст]: методические указания/Б.А. Углов. - Куйбышев: КУАИ, 1974.-40 с.

.        Башта, Т.М. Объёмные насосы и гидравлические двигатели гидросистем [Текст]/Т.М. Башта. - М.: Машиностроение, 1974.-606 с.

.        Решетов, Д.Н. Детали машин [Текст]/Д.Н. Решетов. - М.: Машиностроение, 1989.-496 с.

.        Биргер, И.А. Расчет на прочность деталей машин [Текст]/ И.А Биргер, Б.Ф. Шорр, Г.Б Иоселевич. - М.: Машиностроение, 1993.-640 с.

.        Дунаев, П.Ф. Конструирование узлов и деталей машин [Текст]/П.Ф. Дунаев, О.П Леликов. - М.: Высш. школа, 1985.-416 с.

.        Игонин, Н.Н. Исследование причин появления неисправностей авиационной техники [Текст]/Н.Н Игонин, Г.А Новиков, И.Г. Старостин -Куйбышев: КуАИ, 1984.-30 с.

.        Колганов, И.М. Технологичность авиационных конструкций, пути повышения.Часть1 [Текст]: учебное пособие/И.М Колганов, П.В Дубравский, А.Н. Архипов. - Ульяновск: УлГТУ, 2003.-148с.

.        Кочуров, В.А Примеры расчета характеристик надежности авиационной техники [Текст]: метод. указания/В.А Кочуров, Г.А Новиков. - Самара: СГАУ, 2001.-40 с.

.        Феодосьев, В.И Сопротивление материалов [Текст]/В.И Феодосьев. - М.: Наука, 1972.-544 с.

.        Чинюнин, Ю.М. Технологические процессы технического обслуживания летательных аппаратов [Текст]/Ю.М. Чинюнин. - М.: Университетская книга, 2008.-466 с.

.        Марков, Г.В. Уплотнительные устройства [Текст]/Г.В. Марков. - М.: Машиностроение, 1973.-432 с.

.        Белов, С.В. Безопасность жизнедеятельности [Текст]/ С.В. Белов. - М.: Высшая школа, 2005.-289 с.

.        Мазова, Т.Н. Расчёт экономической эффективности стенда [Текст]: методические указания/Т.Н. Мазова. - Самара: СГАУ, 2001.-188 с.

.        Александров, В.П. Справочник инженера [Текст]/В.П. Александров. - М.: Транспорт, 1973.-215 с.

.        СТО СГАУ 02068410 - 004 - 2007 Общие требования к учебным текстовым документам. - Введен 2007-10-09. Самара: СГАУ, 2007.-34 с.

Похожие работы на - Cамолет Ан-12

 

Не нашли материал для своей работы?
Поможем написать уникальную работу
Без плагиата!
Без нейросетей!