Вибрационные загрузочные устройства
Федеральное агентство по образованию
Государственное образовательное
учреждение
высшего профессионального образования
«Томский политехнический университет»
Вибрационные загрузочные устройства
материалы для самостоятельной работы
по дисциплине «Мехатроника» для
студентов специальности
В.Н. Шкляр
Томск 2009
Содержание
Введение
Классификация вибрационных загрузочных устройств
Конструкции ВЗУ
.1 Бункерные ВЗУ
.2 Вибрационные бункерно - магазинные загрузочные устройства
Элементы теории виброперемещений изделий
Расчет основных параметров
.1 Расчет режима работы ВБЗУ
.2 Расчет конструктивных размеров чаши
.3 Выбор угла наклона лотка
.4 Расчет параметров движения изделия и колебательной системы
.5 Расчет параметров электромагнитного вибратора
ВЗУ модульного построения
Заключение
Список литературы
Введение
вибрационный загрузочный
устройство
Устройства автоматической загрузки (УАЗ) предназначены для накопления и
поштучной выдачи в ориентированном положении заготовок или сборочных компонентов.
Устройства оказывают существенное влияние на структуру и конструкцию
технологического оборудования, уровень его автоматизации, автоматизируя
загрузочные операции. УАЗ улучшают условия труда, повышают производительность
оборудования, создают предпосылки к многостаночному обслуживанию.
Основыные задачи, решаемые УАЗ: накопление заготовок или компонентов
сборки в неориентированном положении, их ориентация по определенному закону;
накопление в ориентированном положении; поштучное отделение; подача к месту обработки,
сборки или контроля (без нарушения ориентации); установка в приспособление
станка; съем готовой продукции. В зависимости от конкретных условий применения
УАЗ могут быть рассчитаны на выполнение лишь части указанных задач.
Различают УАЗ специального и универсального назначения. В первую группу
входят УАЗ, предназначенные для подачи:
1 непрерывной заготовки (проволока,
лента, полоса, пруток);
2 штучных заготовок (дисковые
,крючковые, секторные, трубчатые);
3
электрорадиоэлементов;
4
интегральных схем;
5
шин питания и др.
Ко второй группе относятся вибрационные бункерно - магазинные и лотковые
УАЗ, т. е. универсальные средства автоматизации.
1 Классификация вибрационных загрузочных устройств
В основном в промышленности применяют ВЗУ, в которых ПО перемещаются по
лотку и, проходя мимо различного рода путевых операторов (вырезы, выступы и т.
д.), получают определенную ориентацию. Установки такого типа применяют для
подачи ПО на рабочие позиции металлорежущих станков, прессов, сборочных
агрегатов, для подачи ПО к рабочему месту при ручной сборке, наполнения кассет,
сортировки и упаковки готовых изделий.
ВЗУ с электромагнитным приводом можно разделить на две группы: бункерные
ВЗУ со спиральным лотком и бункерные ВЗУ с прямолинейным лотком. Обе группы
имеют различное конструктивное исполнение привода и бункера. Бункерные ВЗУ со
спиральным лотком по конструктивному исполнению электромагнитного привода можно
разделить на синхронные и раздельные.
По конструктивному исполнению бункера ВЗУ со спиральным лотком различают:
с цилиндрическим; коническим (прямой или обратный конус); с комбинированным
бункером (цилиндрическим и коническим).
Как цилиндрические, так и конические бункера могут быть: однозаходные,
многозаходные, многоручьевые, одноручьевые.
Скорость движения ПО по дорожке ВЗУ регулируют изменением:
1 величины напряжения, питающего
катушки электромагнитов с помощью автотрансформаторов;
2 силы тока в катушке электромагнита
благодаря последовательно включенному реостату;
3 тягового усилия электромагнита за счет
регулирования воздушного зазора между якорем и статором;
4 магнитного потока;
5 фазового угла.
Резонансная настройка ВЗУ осуществляется изменением:
1 момента инерции поперечного сечения
рессор (при синхронном и раздельном электромагнитном приводе);
2 рабочей длины (при синхронном и
раздельном электромагнитном приводе);
3 массы или момента инерции системы
(при синхронном и раздельном электромагнитном приводе);
4 числа рабочих витков пружины (при
раздельном электромагнитном приводе).
По типу рессор ВЗУ различают: с одно- и многослойными плоскими рессорами
(при синхронном и раздельном электромагнитном приводе); с круглыми пружинными
цилиндрическими рессорами (при синхронном и раздельном электромагнитном
приводе); с цилиндрическими многовитковыми рессорами (при раздельном
электромагнитном приводе).
2 Конструкции ВЗУ
.1 Бункерные ВЗУ
В различных отраслях промышленности наибольшее распространение получили
бункерные ВЗУ со спиральным лотком, колебания захватно-ориентирующим дорожкам
(лоткам) в которых передаются от рессор 3, наклоненных под некоторым углом к
горизонту и приводимых в движение с помощью электромагнитов 8 (рис. 1). ВЗУ
включают в себя основные конструктивные элементы: основание рис. 11;
электромагнитные приводы 2, 4, 5, 8-10; бункера 6, 7 и упругие элементы 3.
рис. 1
Принцип работы ВЗУ заключается в том, что сложное колебательное движение
дорожки (лотка) передается расположенным на ней ПО в вертикальном и
горизонтальном направлениях, в результате чего ПО перемещается по дороожке с
некоторой скоростью. Кроме того, в процессе движения по дорожке ПО
ориентируются в заданное положение.
рис. 2
На рис. 2 представлена конструкция ВЗУ с раздельным приводом колебаний
бункера 1 и основания 6 с торсионной упругой подвеской 5 - горизонтального
электромагнитного привода 4 и с упругими элементами в виде пластин
прямоугольного сечения 2 - вертикального электромагнитного привода колебаний 3.
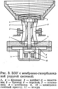
Рис.3 Рис. 4
На рис. 3 показана конструкция ВЗУ с мембранно-гиперболоидной 6, 8, а на
рис. 4 с мембранно-торсионной 3, 5 упругими системами.
Рис.
5
Отличительной
особенностью конструкции ВЗУ с раздельным электромагнитным приводом (рис. 5)
является применение в качестве упругих элементов вертикального привода четырех
стержней 1 круглого или прямоугольного сечения. Длину упругих элементов можно
менять перестановкой опор 2; в горизонтальном приводе применены витые упругие
элементы 3 с переменным числом витков. Бункер ВЗУ имеет неподвижное дно 4,
замкнутое на основание 5. Для возбуждения колебаний в вертикальном направлении
применена однотактная схема электромагнитного привода ЭМ1 и ЭМ2.
.2
Вибрационные бункерно - магазинные загрузочные устройства
Рассмотрим
вибрационные бункерно - магазинные загрузочные устройства. Вибрационные
бункерно - магазинные загрузочные устройства представляют собой универсальный
вид загрузочных устройств, предназначенных для автоматической подачи в зону
сборки или в зону обработки компонентов (ИС, ЭРЭ) заготовок из накопителя
(чаши), в котором они находятся в неориентированном (беспорядочном ) состоянии.
Принцип вибрационного перемещения используется как в бункерно-магазинных, так и
лотковых устройствах и делает их универссальными, так как позволяет перемещать
самые роазнообразные по конфигурации изделия. При этом сравнительно просто
решаются задачи ориентирования деталей по заданному закону, используя
механические средства ориентации (рис. 6) (упоры, вырезы, прорези и др.) -
электромагнитные и магнитоэлектрические. Первые осуществляют пассивную и
активную ориентацию. Пассивной будем считать такую ориентацию, при которой
неправильно ориентированная деталь сбасывается на дно накопителя для повторного
захвата, при котором она может оказаться ориентированной правильно. Активные
средства ориентации неправильно ориентированное тело поворачивают в требуемое
положение.

Рис.
6
3
Элементы теории виброперемещений изделий
(. 7),
( a ), : G; N ; F F = ma = mAw2coswt, m
- , - , w - , - .
. 7
, . . ,
,
x y
mx = - mg sin b
- mAw2coswt cos (a -
b) + F sign
x, (1)
my = - mg cos b - mAw2coswt sin (a - b) + N, (2)
a - ; b - ( ); - ; - .
= 0.
F sign
x = + fN
x <
0,
F sign x = - fN x > 0,
f - .
(2). (t = 0, = 0)
mg cos
b - mAw2 sin
(a - b) + N
= 0
F = - fN
= - fm (g cos
b + Aw2 sin
(a - b)).
, , , ; , N. .
( t
= t0; y = 0; N
= 0; F = 0)
Aw2coswt0 sin (a -
b) = g cos
b,
(coswt0), R0, .
(cos wt0)
< 1
, w
= 2pn - ; n - , .
R0 < 1
; R0
= 3,3 (
). 1< R0
< 1,16 - ; R0
= 1,16 ... 1,7 - . .
V
= V cos (a -
b) k = 2pnA cos (a -
b) kv,
V - , kv
- , .
.
R0 < 1 kv = (0,18 ... 0,2) R0(1-
tg b / f),
1< R0 < 1,16 kv = (0,18 ... 0,2) R0(1- tg
b / f) (1 + (1 - 1/R0)),
1,16< R0 < 1,7 kv = (1 - 1/R02)(1 - R02 tg b / f),
= 1- k/2; k - ; f . R0
< 1 f ;
R0 > 1, ,
f = 0,22.
V (a - b)
(a -
b) = arctg
.
b = (0,5 ... 30). a.
(a -
b)
(.8,)
V
n (50 100 ). tg y
= R tg a
/ r, R
-
; r - . ( r = (0,75 ... 0,9) R).

. 8
( ), (1), V
( R0 < 1, V = 20 ...50 /, R0
> 1, V = 250 ... 300 /).
( 1000 ... 1500 /) (. 8.10 ) ,
,
e:
= (1
- cos (wt +e)),
= (1
- cos wt),
- ( ) ( =
= e = p/2)
( e = 0), a = 450).
b :
mx = - mg sin b - mAx w2cos(wt +e ) + F sign x, (3)
my = - mg cos b - mAyw2coswt + N. (4)
Отрыв
детали происходит при t = t0; N = 0; F = 0; y = 0. Из (4) выразим фазовый угол wt0
начала отрыва и R0э - коэффициент режима работы ВБЗУ:
V
= 2pnA k,
(5)
- , . , ,
, , . ( )
. . . .
- . , , -,
.
- , , , , . , (. 6,, ). .
,
.
, . (. 6,) 5 ( ), 4, 3 . () .
. ,
() 1 2.
6.
(
100 450 ).
.
:
( n = 100
) ( n = 50 ).
200 ... 250 , (n = 50 ) 200 .
, . (. 6,) 4 6 , . .
4
Расчет основных параметров ВЗУ
.1
Расчет режима работы ВБЗУ
Методика
проектирования ВБЗУ включает расчеты режима работы, конструктивных размеров
чаши, основных параметров движения изделий, амплитуды колебаний лотка,
колебательной системы, движущей силы вибратора, параметров электромагнитного
вибратора.
Расчет
режима работы ВБЗУ подразумевает определение средней производительности Qср,
средней скорости движения изделия по лотку Vср,
коэффициента заполнения лотка кз.
Средняя
производительность ВБЗУ
Qср = Qст /
(1 - кн), (6)
где
Qст - цикловая производительность оборудования, в ритме
которого должно работать ВБЗУ; кн - коэффициент, учитывающий нестабильность
подачи изделий загрузочным устройством (из-за изменения степени заполнения
бункера, изменения напряжения сети, непостоянства коэффициента трения,
загрязнения лотков (кн = 0,2 ... 0,3). Средняя скорость движения изделия по
лотку
мм/с, (7)
где
lи - длина изделия (размер в направлении движения), мм;
кз - коэффициент запоненя лотка изделиями в требуемом ориентированном
положении, он зависит от типа ориентирующих устройств (устройства пассивной
ориентации разряжают поток, активные - не разряжают, т. е. не снижают
производительности) кз = P(l0)Cп, где P(l0) - коэффициент вероятности правильно ориентированных
изделий; Cп - коэффициент плотности потока изделий; Cп = lи /
(lи+S), где S - среднее значение зазора между изделиями на лотке
(при S = 0, Cп = 1). При пассивном ориентировании симметричных
валиков и втулок по цилиндрической поверхности (при lи > d)
(8)
для
несимметричных деталей
. (9)
Для
тонких симметричных пластин (b < lи >>) и длинных
цилиндрических деталей lи > 10d P(l0) =
1. Для изделий сложной формы значения P(l0) удобнее
определять экспериментально. Таким образом,
Vcp = Qст/
(1 - kи) P(l0)Cп (10)
или
через амплитуду колебаний
Vср = 2pnвA cos (a - b)
kv, (11)
где
nв - частота вынужденных колебаний (50 или 100 Гц); А -
амплитуда колебания лотка; (a - b) - угол
бросания изделия; kv - коэффициент, учитывающий уменьшение Vср
относительно амплитудного значения скорости лотка. Значение Vср
зависит от конструктивных параметров ВБЗУ и режима его работы R0.
При R0 <1 безотрывное движение изделий по лотку; при
1< R0 <1,16 - плавное движение без существенного отрыва
от лотка; при 1,16< R0 <1,7 - движение с подбрасыванием.
Для
R0 <1 kv = (0,18 ... 0,2) R0 (1 - tg b/f).
Для
1< R0 <1,16 kv = (0,18 ... 0,2) R0 (1
- tg b/f) (1
+ (1 - 1/ R0)2).
Для
1,16< R0 <1,7 kv = R(с) (1 - 1/ R02)(1
- R02 tg b/f),
где
b - угол наклона лотка к горизонту (обычно его принимают минимальным, b = 1,50); к (с) = 1 - кв / 2. Значение кв находят из графика, значения
коэффициента трения f (для R0 >1) даны в таблице 1.
Таблица
1
|
Материал
|
Материал лотка
|
|
сталь
|
алюминий
|
резина
|
капролон
|
|
сталь
|
0,21 ... 0,32
|
0,11 ... 0,33
|
0,25 ... 0,43
|
0,12 ... 0,3
|
|
латунь
|
0,28 ... 0,3
|
0,18 ... 0,24
|
0,3 ... 0,37
|
0,16 ... 0,24
|
|
алюминий
|
0,28 ... 0,33
|
0,14 ... 0,3
|
0,3 ... 0,38
|
0,14 ... 0,28
|
|
медь
|
0,28
|
0,22
|
0,3 ... 0,4
|
0,18 ... 0,25
|
|
керамика
|
0,22 ... 0,46
|
-
|
0,42 ... 0,52
|
0,38 ... 0,44
|
.2 Расчет конструктивных размеров чаши
Конструктивно чаша состоит из обечайки, одной или нескольких, спиральной
вибродорожки и конического дна. Обечайка и дно образуют бункер. На дне чаши
устанавливаются устройства подготовки к захвату. Вибродорожка служит основным
носителем устройств и механизмов захвата ориентирования и выдачи.
Конструктивно чаши разделяют по нескольким признакам.
1 По исходной форме обечайки бункера -
конические, цилиндрические, плоские круговые и комбинированные (рис. 9).
Конические имеют (рис. 9,а) исполнение с ломаной, прямолинейной, криволинейной
и ступенчатой образующими. Цилиндрические (рис. 9,б) используют как наиболее
технологичные в изготовлении для автозагрузки любых ПО. Плоские круговые
(рис.9,в) применяют для накопления ПО, для ориентирования простейших деталей,
например дисков, переориентирования, разделения или суммирования потоков
деталей. комбинированные (рис. 9,г) выполняют, как правило, многоцелевые действия.
В них можно производить многономенклатурную загрузку; использовать одну полость
чаши как бункер, другую - как место установки ориентирующего устройства, третью
- как накопитель или суматор и т. д.
рис.
9
2 По взаимосвязи обечайки,
вибродорожки, дна - чаши с жесткой связью элементов, с неподвижной обечайкой, с
неподвижным дном, неподвижным дном и обечайкой, с неподвижной дорожкой, с
неподвижной дорожкой и обечайкой.
3 По количеству движущихся потоков ПО -
однопоточные и многопоточные.
4 По расположению спирали вибродорожки
относительно обечайки: внутри, снаружи, в дне и их всевозможные сочетания,
причем с правой и левой резьбой.
5 По характеру поля вибрации - с
симметрией поля вдоль вибродорожки; с равномерно изменяемой асимметрией поля в
горизонтальной плоскости; с равномерно изменяемой асимметрией поля в
вертикальной плоскости; с равномерно изменяемой асимметрией поля в
горизонтальной и вертикальной плоскости; с неравномерной асимметрией в
горизонтальной плоскости; с неравномерной асимметрией в вертикальной плоскости.
6 По взаимному расположению на
виброприводе - одночашечные, многоярусные, коаксиальные, аксиальные,
комбинированные. Чаши между собой могут быть соединены общим потоком, не
соединены, соединены частично.
Расчет конструктивных размеров чаши включает определение диаметра D, высоты H, шага лотка t,
объемаVд загружаемой партии. На (рис. 10)
представлены чаши цилиндрические и конические.
рис. 10
Для цилиндрической чаши
, (12)
где
Dв > (5 ... 8) lи - внутренний
диаметр чаши, мм; sc-толщина стенки бункера, мм; Vд - обьем
загружаемого изделия, мм3; T - период времени между заполнениями чаши, с; Hр -
высота заполнения чаши изделиями, мм (Hр = 2,5 h); t -
шаг подьема спирального лотка, мм; t = pDcp tg b (угол b = 0,5 ... 30, если лоток без отрицательного угла
наклона, то его проверяют на условие однослойного движения изделий);
при lи/d = 1
... 1,5; (13)
k = 1,5 при lи/d
> 1,5;
где
Dcp - средний диаметр движения изделий по лотку, мм; d -
диаметр (высота) изделия, лежащего на лотке, мм; л -
толщина лотка, мм. Для конической чаши
, (14)
где
Dв = (5 ... 8) lи, H = Hp +
(1 ... 1,5)t - полная высота чаши. Полученное значение диаметра
чаши D округляют до ближайшего большего стандартного
значения 60, 100, 120, 160, 200, 250, 320, ... 1000 мм;
Hp = 2,5h =
2,5 (1,5d + sл); H= Hp + h;
(15)
Vд = lи d2p / 4. (16)
.3 Выбор угла наклона лотка
Выбор угла наклона лотка , определение угла бросания (a - b), угла наклона пружинных подвесок .
Угол наклона лотка b выбирают обычно минимальным (1,50). Угол бросания
(a -
b) = arctg
. (17)
Для
1< R0 <2 угол (a -
b) выбирают по номограмме (см. Рис. 8) и затем определяют угол a.
4.4
Расчет параметров движения изделия и колебательной системы
Расчет
колебательной системы включает определение частоты вынужденных колебаний лотка;
амплитуды А; приведенной массы mпр; жесткости пружинных стержней с; размеров пружинных
стержней (длины, диаметра или сечения).
Частота
собственных колебаний вибросистемы
,
с
- жесткость пружинных стержней; mпр - приведенная масса системы;
, (18)
где
кv = 1,05 ... 1,1 для легких деталей; 1,08 ... 1,15 для
тяжелых деталей; nв - частота вынужденных
колебаний (50 или 100 Гц).
Для
двухмассовой конструкции ВБЗУ
mпр = mв /
(1+mв / mн), (19)
где
mв и mн - массы соответственно верхней части (подвешенной на
пружинных стержнях) и нижней (неподвижной). На практике часто принимают mв / mн =
0,15 ... 0,3, жесткость при двух защемленных концах стержней
, (20)
где
n - число пружинных стержней (обычно n =
3); Е - модуль упругости пружинной стали; J0 - осевой
момент инерции пружинных стержней; l - длина пружинных стержней; tкр - коэффициент, учитывающий влияние скручивания
пружинного стержня на его жесткость.
Для
сталей марок 65Г и 60С2 [s-1] = 180 МПа=1800
кгс/см2; G и Gи - масса верхней части ВБЗУ и масса изделий,
засыпанных в чашу; А0 - относительная амплитуда колебаний приведенной массы; r -
радиус заделки стержней
A0 = Ar / R(1 +
mв / mн), (21)
где
А - расчетная амплитуда колебаний лотка, которая определяется из следующей
формулы
А
= vср / 2pn cos(a - b)kn. (22)
.5
Расчет параметров электромагнитного вибратора
Усиление
вибратора должно обеспечивать заданную амплитуду колебаний лотка ВБЗУ
F = 4p2n2 mkn / l, (23)
где
l - динамический коэффициент, равный
. (24)
Если
вибраторов z, то усилие, развиваемое одним вибратором
F(1)=F/z;
при
горизонтальной установке вибраторов Fг(1)=F/z cosj; при вертикальном расположении (только один вибратор) Fв=F/ sinj.
Для
ВБЗУ с диаметром части D<450 мм при известных значениях l, d, A0, j и l усилие F удобно определять по номограмме.
Расчет
электромагнитного вибратора. Рассчитываемые параметры: значение возмущающего
усилия Fр, амплитуда A0, эффективное значение
напряжения питания Uр, консттруктивный фактор Кф, максимальное значение
магнитной индукции Вm, сечение магнитопровода S, число витков
провода W, индуктивное сопротивление электромагнита wL0,
эффективное значение тока iэ, диаметр провода катушки dпр, сечение
катушки Sк, средняя длина витка обмотки, активное сопротивление
обмотки, мощность Р. Расчетное усилие электромагнита, Н,
Fр=(1,1 ...
1,15) Fв, (25)
где
Fв или (F, Fг) - усилие, создаваемое одним электромагнитом,
расположенным соответственно вертикально Fв, нормально к
пружинам F и горизонтально Fг. Эффективное
напряжение, при котором обеспечивается усилие Fр
up=kиuc,
(26)
где
kи - коэффициент, учитывающий изменение напряжения сети
uc (kи=0,75 ... 1). Конструктивный фактор элемента
(27)
где
Sз - магнитный зазор (Sз=Ав[А,Аг]+0,1
... 0,5 мм). Максимальное значение индукции Вm, Вб/см2
определяют по Кср по графику.
Сечение
S, мм2, и предварительные размеры магнитопровода S=Fp/2,01
106Вm2.
Магнитопровод
электромагнита изгтовляют из стандартных пластин типа Ш и УШ (рис. 11), для
которых высоту окна, его ширину и другие размеры выбирают из табл. 2.
Таблица
2
|
Обозначение
|
l0
|
l1
|
l2
|
h0
|
h1
|
h2
|
l3
|
d
|
L
|
B
|
S
|
|
пластины
|
мм
|
мм2
|
|
УШ-10
|
10
|
6,5
|
6,5
|
18
|
24,5
|
3,25
|
29,5
|
3
|
36
|
10
|
182
|
|
|
|
|
|
|
|
|
|
|
15
|
272
|
|
|
|
|
|
|
|
|
|
|
20
|
364
|
|
Ш-12
|
12
|
12
|
6
|
30
|
36
|
3
|
42
|
3
|
48
|
12
|
262
|
|
|
|
|
|
|
|
|
|
|
16
|
350
|
|
|
|
|
|
|
|
|
|
|
20
|
436
|
|
|
|
|
|
|
|
|
|
|
25
|
558
|
|
УШ-16
|
16
|
10
|
10
|
28
|
31
|
5
|
46
|
3,6
|
56
|
16
|
466
|
|
|
|
|
|
|
|
|
|
|
24
|
500
|
|
|
|
|
|
|
|
|
|
|
32
|
922
|
|
Ш-16
|
16
|
16
|
8
|
40
|
48
|
4
|
56
|
3,6
|
64
|
16
|
466
|
|
|
|
|
|
|
|
|
|
|
20
|
582
|
|
|
|
|
|
|
|
|
|
|
25
|
728
|
|
|
|
|
|
|
|
|
|
|
32
|
932
|
|
Ш-20
|
20
|
20
|
10
|
50
|
60
|
5
|
70
|
5
|
80
|
20
|
428
|
|
|
|
|
|
|
|
|
|
|
25
|
910
|
|
|
|
|
|
|
|
|
|
|
32
|
1164
|
|
|
|
|
|
|
|
|
|
|
40
|
1456
|
|
Ш-25
|
25
|
25
|
12,5
|
62,5
|
75
|
87,5
|
5
|
100
|
25
|
1136
|
|
|
|
|
|
|
|
|
|
|
32
|
1456
|
|
|
|
|
|
|
|
|
|
|
40
|
1820
|
|
|
|
|
|
|
|
|
|
|
50
|
2280
|
|
Ш-32
|
32
|
32
|
16
|
80
|
96
|
8
|
112
|
6
|
128
|
32
|
1864
|
|
|
|
|
|
|
|
|
|
|
40
|
2330
|
|
|
|
|
|
|
|
|
|
|
50
|
2912
|
|
|
|
|
|
|
|
|
|
|
63
|
3668
|
|
Ш-40
|
40
|
40
|
20
|
100
|
120
|
10
|
140
|
6
|
160
|
40
|
2912
|
|
|
|
|
|
|
|
|
|
|
50
|
3640
|
|
|
|
|
|
|
|
|
|
|
63
|
4586
|
|
|
|
|
|
|
|
|
|
|
80
|
5824
|
рис. 11
Приведенное значение индукции зависит от схемы питания вибратора (без
выпрямителя и с выпрямителем); без выпрямителя В= Вm; с выпрямителем В= 0,5 Вm. Значение Вm
выбирают из рис. 12

рис. 12 рис.13
Число витков провода в обмотке электромагнита
,
где
fэ - частота сети;
Эффективное
значение тока iэ, А (зависит от схемы питания):
без
выпрямителя
; (28)
с
выпрямителем
. (29)
Диаметр
dпр, мм, (без изоляции) провода катушки электромагнита
, (30)
где
- допустимое значение плотности тока (
=2 ... 6 А/мм2).
Расчетное
сечение катушки (обмотки) электромагнита
, (31)
где
кэс - коэффициент заполнения сечения катушки.
Для
катушек прямоугольного сечения, наматываемых проводом с эмалевой изоляцией,
значения коэффициента заполнения в зависимости от условий намотки и диаметра
привода приведены в табл. 3. Размеры катушки (рис. 13): длина lk=h=(Sknk)1/2,
ширина окна железа hк=l1=lk/nk. После этого уточняются размеры выбранного железа.
Средняя длина витка обмотки катушки lср, мм, равна
lср=2(а1+а2)+2(r+к+bн/2),
(32)
где
а1,а2 - наружные размеры каркаса катушки с учетом толщины стенок; dк и bн - толщина каркаса и намотки катушки. Активное
сопротивление R0, Ом, обмотки
. (33)
Мощность,
расходуемая на нагрев, Вт Р=i2эR0.
Таблица
3
|
Диаметр провода
|
Намотка с ручной заправкой
изоляционных прокладок
|
Намотка автоматическая с
про-
|
|
с изоляцией, мм
|
без прокладок
|
через один ряд
|
через два ряда
|
кладкой изоляции через один
ряд
|
|
0,05
|
0,37
|
0,27
|
0,3
|
-
|
|
0,1
|
0,42
|
0,28
|
0,35
|
0,36
|
|
0,15
|
0,48
|
0,32
|
0,39
|
0,41
|
|
0,2
|
0,51
|
0,35
|
0,43
|
0,44
|
|
0,25
|
0,53
|
0,37
|
0,46
|
0,47
|
|
0,3
|
-
|
0,38
|
0,47
|
0,5
|
|
0,4
|
-
|
0,41
|
0,48
|
0,53
|
Проверка правильности расчета.
Коэффициент охлаждения, мм2/Вт: кохл=2(l0+B+4l1) l1h / P1,
где кохл - нормативный коэффициент.
Полное сопротивление цепи электромагнита R, Ом: без выпрямителя R= R0, с выпрямителем
R= R0+ Rв,
где Rв - сопротивление выпрямителя. Усилие
вибратора F0, кгс (Н):
с впрямителем F0= Fрсв/2, без выпрямителя F0= Fрсс/0,5. Значение F0 должно быть не менее заданного Fв [F, Fг], при F0< Fв[F, Fг] необходимо расчет повторить, вновь рассчитать значение B, S, iэ и др.
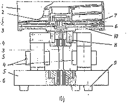
5 ВЗУ модульного построения
Построение ВЗУ по модульному принципу позволяет упростить поиск
компромисса между требованиями потребителей и возможностями изготовителей. Модульный
принцип построения оборудования позволяет сократить число модификаций и создать
гибкую систему проектирования, дающую возможность при ограниченном комплекте
унифицированных сборочных единиц удовлетворить разнообразные технологические и
компоновочные требования технических заданий.
Вариант конструкции ВЗУ модульного построения представлен на рис. Основу
устройства составляет блок электромагнитов 2, содержащий 32 плоских, радиально
расположенных пакета магнитопровода.
рис. 14
В пазы пакетов уложены две кольцевые обмотки 3 и 5. Они питаются
пульсирующим током с частотой 50 Гц от промышленой электросети через
однополупериодный выпрямитель. Против полюсов магнитопровода электромагнита
расположены шихтованные якоря 6, закрепленные в немагнитном корпусе 7.
Постоянный рабочий воздушный зазор между полюсами магнитопровода и якорями
выдерживается благодаря устройствам центрирования 1, содержащим
шарикоподшипники и мембраны и дающим возможность якорям совершать колебательные
движения по вертикали и возвратно-вращательные в горизонтальной плоскости. На
наружной поверхности корпуса якорей закреплена чаша 4 со спиральным лотком на
внутренней поверхности. Блок электромагнитов связан с основанием ВЗУ 11 жестко,
а корпус якорей - посредством наклонных пружинных стержней 9, закрепленных в
кольцах 8 и 10. Пружины обеспечивают требуемое направление колебаний подвижных
частей и постоянную составляющую жесткости упругой подвески.
При настройке ВЗУ стремятся обеспечить положение устойчивого равновесия
якорей при любом значении тока в обмотках. Следовательно, такой электромагнит
роль вибратора выполнять не может. Он может лишь при подаче пульсирующего или
переменного тока циклически менять свою жесткость и при ничтожной неточности
наладки, а также при случайном или преднамеренном отклонении якорей от
положения устойчивого равновесия обеспечить процесс параметрических колебаний
чаши ВЗУ.
При питании электромагнита пульсирующим током (50 Гц) в зависимости от
жесткости упругой подвески и массы (момента инерции) подвижных частей ВЗУ можно
получить устойчивые колебания подвижных частей с частотой 25 или 12,5 Гц.
В конструкциях ВЗУ модульного построения целесообразно использование
многофункциональных электромагнитных механизмов поперечного действия (ЭМПД),
якорь которых в процессе работы перемещается поперечно по отношению к
направлению рабочего магнитного потока. Зазор между полюсами ярма и якоря ЭМПД
не определяет их относительного смещения. Механизм может выполняться с
минимальными рабочими зазорами. При работе ЭМПД исключается возможность
соударения полюсов, т. е. отсутствует явление “стопа”, что снимает ограничения
в выборе рабочего участка электромеханической характеристики механизма.
Электромеханическая характеристика ЭМПД симметрична, что расширяет возможности
механизма и позволяет реверсировать его действия. На форму электромеханической
характеристики ЭМПД влияет геометрия полюсов.
Расчет ЭМПД состоит в определении параметров зубцовых зон магнитопровода,
диаметральных и осевых размеров ЭМПД, сечений магнитопровода и обмоточных
данных. Исходными для расчета являются электромагнитная сила, жесткость и
амплитуда колебаний, которую механизм должен возбуждать и поддерживать.
Конструктивные параметры ЭМПД определяют в два этапа. Сначала
рассчитывают магнитную цепь, а затем электрическую. На обоих этапах используют
метод последовательных приближений.
Рис. 15
При расчете магнитной цепи ЭМПД определяют геометрические параметры
магнитопрововда и его зубцовой зоны. По ним ведут расчет магниитной цепи ЭМПД,
величины окна под обмотку, развиваемой ЭМПД силы и свойственной ему жесткости.
Вычисленные значения сравнивают со значениями, вложенныит в эскизный проект и
задание на проектирование ЭМПД. По результатам сравнения конструкцию
корректируют и расчет повторяют. При достижении соответствия полученных
значений силы и жесткости требуемым переходят к расчету электрической цепи
ЭМПД.
На втором этапе определяют диаметр обмоточного провода, сопротивление
обмотки, силу и плотность тока в ней. При несоотвветствии величины плотности
тока допустимой обмоточные данные корректируют расчет электрической цепи
повторяют.
По завершении расчета ЭМПД механизм проверяют на теплостойкость.
Исходными данными для расчета магнитной цепи являются: А - амплитуда
колебаний; F - электромагнитная сила, которую
должен развивать ЭМПД; Сэм - электромагнитная жесткость, которой должен
обладать ЭМПД. Расчетные зависимости приведены в табл. 4.
Расчет электрической цепи ЭМПД ведут по общепринятой методике расчета
обмоток электромагнитов.
Таблица
4
|
Определяемый параметр
|
Расчетная формула
|
|
Минимальная ширина зубца, tmin,
мм
|
tmin
= 1,2А
|
|
Ширина зубца , мм
|
По конструктивным
соображениям
|
|
Радиальный рабочий
воздушный зазор d, мм
|
d
= 0,2 ... 0,5
|
|
Суммарная длина зубцов
магнитопровода åb,
м
|
По конструктивным
соображениям эскизного проектирования
|
|
Удельная сила, которую
может развить ЭМПД, Fуд, Н/м
|
См. рис. 15,а
|
|
Удельная жесткость, которой
должен обладать ЭМПД, сн, Н/(м мм)
|
сн = сэм / b
|
|
Удельная жесткость, которой
может обладать ЭМПД, суд, Н/(м мм)
|
См. рис. 15,б
|
|
Магнитная постоянная m0, Г/м
|
m0
= 1,256 10-6
|
|
Магнитная индукция в
рабочем зазоре В,Т
|
B = 1,2 ... 1,5
|
|
Амплитудное значение МДС
для ЭМПД, питаемого через однополупериодный выпрямитель (JW)0,
А
|
(JW)0 = B d 10-3/ m0
|
|
Глубина модуляции
магнитного сопротивления
|
g
= 0,3 ... 0,4
|
|
Угол сдвига фаз между
перемещением и силой
|
e
= 50 ... 800
|
|
Эффективное значение МДС (JW)эф,
А
|
|
|
Допустимое значение
плотности тока dJ, A/мм2
|
dJ = 2...3
|
|
Коэффициент заполнения окна
сердечника Кз
|
Кз = ,3 ... 0,4
|
|
Минимальный размер площади
окна сердечника Q0, мм2
|
Q0 =
(JW)эф / dJ
Кз
|
Заключение
Вибрационные устройства в последнее время широко применятся в
машиностроении благодаря тому, что они обладают целым рядом преимуществ по
сравнеению с другими типами. Эти устройства просты по конструкции. Отсутствие в
них движущихся захватных органов исключает возможность заклинивания заготовок,
в связи с чем отпадает необходимость в дополнительных прредохранительных
механизмах.
Характер движения деталей по лоткам вибрационных питателей не зависит от
массы деталей, а это значит, что как крупные, так и мелкие детали двигаются в
вибрационных питателях с одинаковой скоростью.
В вибрационных устройствах детали движутся только силами инерции; при
этом отсутствует интенсивное перемешивание заготовок, и поэтому детали меньше
повреждаются.
Постоянная равномерная скорость движения деталей по лотку создает
благоприятные условия для осуществления ориентации сложных деталей.
Список литературы
1 Автоматическая загрузка технологических маши: Справочник/И.
С. Бляхеров, Г. М. Варьяш, А. А. Иванов и др.; Под общ. Ред. И. А. Клусова. -
М.: Машиностроение, 1990. - 400 с.
Иванов Ю. В., Лакота Н. А. “Гибкая автоматизация производства
РЭА с применением микропроцессоров и роботов”: Учеб. Пособие для вузов. - М.:
Радио и связь, 1987. - 464 с.
Рабинович А. Н. “Автоматическое ориентирование и загрузка
штучных деталей”. - К.: Техника, 1968. - 292 с.