Проектирование загрузочного устройства для автоматической подачи заготовки
СОДЕРЖАНИЕ
Введение
Задание
. Оценка
степени подготовленности детали к автоматической загрузке
2. Выбор
загрузочного устройства
. Разработка
механизма вторичной ориентации
. Разработка
питательного механизма
. Разработка
лотка
. Расчет
производительности загрузочного устройства
. Компоновочная
схема устройства
Выводы
Перечень
ссылок
ВВЕДЕНИЕ
Автоматизация - это такая организация
производства, при которой человек частично или полностью освобождается от
непосредственного участия в процессах получения, преобразования оперативного
управления механизмами.
В развитии автоматизации производственных
процессов могут быть намечены некоторые основные направления:
1 автоматизация оборудования;
2 автоматизация отдельных операций и приемов
обработки;
автоматизация контрольных операций;
комплексная автоматизация.
Автоматизация оборудования заключается, прежде
всего, в том, что повышается количество станков-автоматов в общем числе
станков, выпускаемых промышленностью.
Автоматизация отдельных операций и приемов
обработки, как, например, автоматизация загрузки, контроля, холостых ходов
универсальных станков и т. п., обычно в меньшей степени преследует цели
увеличения выпуска продукции, а в большой степени - освобождение рабочего от
непосредственного воздействия на продукт труда.
Автоматизация отдельных приемов и операций, как
правило, проводится в порядке рационализации существующего производства, без
коренной реконструкции его, а также путем автоматизации отдельных станков и
агрегатов.
Автоматизация системы машин и целых предприятий
осуществляется преимущественно на базе коренной реконструкции производства
путем применения новых, более прогрессивных технологических процессов и
специального автоматически действующего оборудования.
ЗАДАНИЕ
Спроектировать устройства для автоматической
сортировки загрузки и подачи заданной детали перед внутренним шлифованием.
Время обработки одной детали t0=3мин.
Рисунок 1 - Эскиз детали
В работе необходимо:
. Оценить степень подготовленности
детали к автоматической загрузке.
. Выбрать загрузочное устройство.
. Разработать механизм ориентации.
. Разработать питательный механизм.
. Рассчитать элементы режима работы.
. Рассчитать размеры лотка для
перемещения деталей.
1. Оценка степени
подготовленности детали к автоматической загрузке
Асимметрия наружной конфигурации 1000000
Несцепляемые 000000
Стержневые 10000
Круглые прямые 2000
Осесимметричная
400
Центральное глухие отверстие,гладкие 20
Дополнительные признаки отсутствуют 0
Код детали: 1012450
Сумма цифр кода: 13
Категория сложности К=2.
Автоматизация средней сложности. Требуется
разработка системы ориентации и загрузки детали в рабочее приспособление.
Целесообразна экспериментальная проверка.
2. Выбор загрузочного
устройства
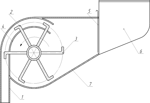
Для данной заготовки (рисунок 1) наиболее
подходящим является бункер с крючками на периферии диска. Конструкция бункера
представлена на рисунке 2.
Рисунок 2 - Бункер с крючками на периферии диска
Бункер с крючками на периферии диска является
захватывающим устройством, представляющее собой ящик 6 с наклонным дном,
которое соединяется окном с корпусом 7 бункера. Величина окна регулируется
заслонкой 5.
Заготовка, поступающая в корпус 7, захватывается
крючками диска 3 и передаются в приёмник 2. Для направления заготовок в
приёмник при сползании их с крючков предусмотрена направляющая 4,
представляющая собой трубку с прорезом, по которому движутся крючки.
Благодаря наличию предохранительного устройства
с отбоем, при переполнении питательной трубки 1 крючки не могут вращаться, и
диск 3 автоматически останавливается до тех пор, пока не освободится.
В бункерах такого типа заготовки попадают в
питательную трубку поочерёдно по одной, а не непрерывным потоком, поэтому их
производительность зависит от скорости вращения диска 3 с крючками и
коэффициента заполнения крючков заготовками.
Таким образом, производительность можно
определить по формуле:
шт/мин, (1)
где: К - коэффициент заполнения крючков
заготовками, К=0,5
n - скорость
вращения диска, об/мин
z - количество
крючков на диске
Количество заготовок, поступающих в питательную
трубку, будет зависеть от скорости вращения диска. Время обработки одной детали
нам задано и равняется 3 минуты. Фактическая производительность находится по
формуле
шт/мин, (2)
где: N - количество
деталей, вышедших за время t.
Расчет емкости бункера
Определим количество заготовок,
обрабатываемых за половину смены (в смене 480 мин.)
- количество заготовок,
обрабатываемых за полсмены.
- объем заготовки.
Суммарный объем заготовок
Насыпной объем заготовок 
Диаметр бункера определяется как
, но не
более 600мм
Принимаем D = 500мм
Высота бункера H = (0,2…0,4)D
H =
500*0,21=105мм
3.
Разработка механизма вторичной ориентации
Первичная ориентация происходит в
бункере. Но её недостаточно для полного определения положения детали в
пространстве. Поэтому необходима дополнительная ориентация.
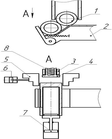
Рисунок 3- механизм вторичной ориентации
Механизм вторичной ориентации предназначен для
изменения ориентировки оси детали с вертикальной на горизонтальную для того,
чтобы затем закрепить деталь в горизонтальном положении в патроне для операции
внутреннего шлифования. Он представляет собой поворачивающийся на 900 лоток 2 с
радиусом, который позволяет заготовке 1 свободно по нему проскальзывать. Доходя
до конца лотка, заготовка попадает на поддон 3, с которого она выталкивается
приводом 4 и затем скатывается по наклонному желобу 5.
4. Разработка
питательного механизма
Для внутришлифовальной операции рационально
применить шиберный питатель (рисунок 4).
Рисунок 4 - Питательный механизм
Когда ползун шиберного питателя отведен в
исходное положение, приемное гнездо находится против отверстия магазина. В этом
положении ползуна заготовка западает в приемное гнездо. При движении ползуна
запавшая заготовка переносится к зажимному приспособлению и зажимается, затем
ползун совершает обратный ход, приемное гнездо снова устанавливается против
отверстия лотка, западает следующая заготовка, и цикл повторяется.
Питатель приводится в действие от кулачка; в
исходное положение он возвращается пружиной. Глубина выемки делается такой,
чтобы центр заготовки находился ниже центров станка на 1,5-2 мм. Это необходимо
для того, чтобы при креплении в центрах или патроне станка заготовка
приподнималась и не упиралась в плоскость выемки питателя. При обратном ходе,
когда заготовка уже закреплена, подпружиненная губка легко откидывается,
занимая прежнее положение.
Подача заготовки 4 в патрон (рисунок 4 и 5)
осуществляется заталкивателем 1 при включении пневмопривода 2. Заталкиватель
оснащён пружиной, для возможности осуществлять подачу заготовки до упора при
постоянном ходе.
Рисунок 5 - Патрон
Раскрепление происходит при помощи выталкивателя
6, который закреплён на штоке пневмоцилиндра 7 и также оборудован пружиной.
Когда деталь отсутствует, выталкиватель находится в зоне губок патрона и
выглядывает за упор. При подаче заготовки пружина сжимается под действием сил,
давящих на деталь и после того как она дошла до упора, выталкиватель вместе со
штоком уходит назад, тем самым зажимая деталь. После завершения обработки шток
двигается вперёд, раскрепляет деталь, а выталкиватель выталкивает её в
принимающее устройство.
5. Разработка лотка
В данном механизме применяется лоток скат.
При конструировании лотков следует выбрать
значения размеров поперечного сечения лотка. Для решения этой задачи рассмотрим
условия проходимости заготовки в лотке.
Деталь весом G,
находится под действием силы веса и противодействующей ей силы трения.
Рисунок 6 - Лоток.
В точках контакта детали со стенками лотка
возникают реакции N1 и N
2, которые вызывают силы трения Т1 и Т2 (рисунок 6)
Угол поворота будет увеличиваться с увеличением
зазора между стенками лотка и заготовкой до тех пор, пока не наступит такое
положение, когда деталь заклинится. Это может случиться при условии, если
диагональ детали близка по своей величине к ширине лотка.
Так как с увеличением отношения
величина
диагонали приближается к длине детали, то и величина зазора должна уменьшаться
при увеличении отношения
. При
больших отношениях
, когда
разность между диагональю и длиной детали невелика, надежная ориентация детали
между бортами лотка будет невозможна.
Практически можно считать, что для
деталей с отношением
> 3
надежность транспортировки в лотках-скатах не может быть достигнута. У нас же
=
.
Как уже отмечалось, во время
движения в лотке деталь длиной L и диаметром D может
повернуться на угол φ.
Значение
этого угла зависит от величины зазора между деталью и стенками лотка. Зазор
следует выбирать таким, чтобы при повороте детали до контакта с противоположной
стенкой диагональ образовала с горизонталью угол γ, который был
бы несколько больше угла трения ρ.
Очевидно, если
, (3)
то возможно заклинивание детали.
По рисунку 6 можем написать:
, (4)
откуда
, (5)
или
. (6)
Выражая cosγ
через tgγ = f,
получим:
, (7)
, (8)
Данные, получаемые путем вычисления по формуле
(7), дают предельные значения зазора при определенном значении коэффициента
трения f. Следовательно,
расчетные наибольшие размеры зазора АMAX
должны быть всегда несколько меньшими или в крайнем случае равными предельным.
Принимаем ширину лотка равную 70 мм.
6. Расчет
производительности загрузочного устройства
а) определим цикловую производительность
механизма ориентации по следующей зависимости:
шт/мин
где t
- время
холостых ходов;
t
- время
рабочих ходов.
б) пользуясь рекомендациями (3) определим
производительность
бункера. Производительность бункера больше
цикловой
производительности на 15 - 20 %, следовательно
шт/мин
в) пользуясь получеными расчетами
определим частоту вращения, по следующей зависимости
станок заготовка деталь загрузка автоматический
7. Компоновочная схема
устройства
Рисунок 7 - Компоновочная схема
устройства
ВЫВОДЫ
В ходе выполнения домашнего задания было в
полной мере выполнено задание „выбор заугрузочного устройства для автоматизации
операции внутреннее шлифование”. Разработан механиз ориентации, подачи и
закрепления заготовки в рабочей зоне станка, проведены необходимые расчеты для
определения геометрических параметров и проведен анализ пригодности всего
механизма. Полученная схема годна к использованию и обеспечивает выполнение
всех предьявляемых к обработке требований. Позволяет автоматизировать процесс
шлифования в партии однотипных деталей , снижая при этом время обработки, что
позволит говорить о снижении себестоимости изготовления одной детали. В данной
работе была проведена автоматизация производства детали типа валик. Было
выбрано загрузочное устройство, рассчитан его режим работы, спроектирован
механизм вторичной ориентации детали, было подобрано питательное устройство.
Также были рассчитаны размеры лотка для беспрепятственного перемещения по нему
заготовок.
Перечень ссылок
1. Рабинович
А.Н. «Загрузочные устройства».
2. Конспект
лекций по «Автоматизации ТП П АД».