Автоматизация и механизация производства

  • Вид работы:
    Контрольная работа
  • Предмет:
    Другое
  • Язык:
    Русский
    ,
    Формат файла:
    MS Word
    682 Кб
  • Опубликовано:
    2016-02-07
Вы можете узнать стоимость помощи в написании студенческой работы.
Помощь в написании работы, которую точно примут!

Автоматизация и механизация производства

Вопросы

Комплексная механизация и автоматизация технологических процессов подготовительно-разбраковочного производства

Датчики считывания и ввода в микро ЭВМ графической информации, устройство и принцип действия ( датчик типа КАРАНДАШ)

Тепловое реле, кнопки управления, автоматические выключатели: устройство, принцип действия

Промерочно-разбраковочный станок. Датчик автоматического измерения ширины материала: принцип работы

Кинематическая схема двухкоординатных манипуляторов для швейных машин с ЧПУ при различных типах передачи движения от двигателя к держателю стачиваемых деталей

Литература

автоматизация технологический манипулятор разбраковочный

Комплексная механизация и автоматизация технологических процессов подготовительно -разбраковочного производства

Одним из основных условий ритмичной работы предприятия является правильная организация работы и комплексная гибкая автоматизация складов и подготовительного производства.

Характер механизации складских операций, количество складов и вид применяемых подъемно-транспортных технических средств зависит от объема производства, уровня специализации, материально-технического снабжения и других факторов. Несмотря на многообразие существующих подъемно транспортных средств, служащих основой для комплексной автоматизации складских и подготовительных участков, назначение их -уменьшить долю ручного труда при разгрузке и транспартировке материалов, полуфабрикатов и фурнитуры на различных участках швейного производства.

Характерной особенностью современного оборудования для погрузочно-разгрузочных и транспортных работ в подготовительно-раскройном производстве швейных фабрик является комплексный подход к автоматизации на основе средств вычислительной техники с целью оптимизации режимов работы используемых средств механизации и автоматизации ручного труда и оперативного хранения и обработки больших массивов информации о наличии и движении екстильных и других материалов на участках:

склад

подготовительный участок

раскройный цех

склад фурнитуры

заготовительный участок.

Рис.1 Пример комплексной механизации склада сырья и подготовительного производства.



Материал, поступающий на предприятие в контейнерах 1 (рис.1) на автомашинах 2, перегружают с помощью настенных или стоечных поворотных кранов 3 или электротельферов и электроталей 4 на электротележку 5, которая доставляет контейнер на склад сырья, где затем

материал перегружают на поддоны и электропогрузчиком 6 доставляют на

многоярусные стеллажи 7. Если материал поступает на предприятия не  к контейнерах, а в кипах, то на электропогрузчик его грузят сразу из машины и доставляют на стеллажинеразбракованного материала, откуда но мере надобности его подают к промерочно-разбраковочным комплексам типа КРТ. Разбракованный и измеренный материал укладывается на накопительную тележку 9 и подается в зону действия штабелера 10 с подъемной платформой или крана-штабелера 11, который доставляет рулоны материала на участок хранения разбракованного сырья к соответствующим секциям и ячейкам стеллажей 12. Функции транспортных устройств 5, 6 и 8, управляемых и перемещаемых оператором, может выполнять электроробокар с программным управлением. Электроробокар - это тележка с электроприводом, автоматически перемещаемая но заданной трассе, с программными остановками, содержащая программно-управляемый манипулятор для выполнения погрузочно-разгрузочных работ с помощью специализированного схвата. Функции погрузочно- разгрузочных устройств 10 и 11 могут выполнять электроштабелеры, которые в отличие от электроробокаров могут перемещаться вместе с грузом и манипулятором по вертикали.

Если в качестве погрузочно-разгрузочных и транспортных средств

в подготовительном производстве используют электроробокары и электро-

робоштабелеры, управляемые встроенными микроЭВМ или централизованно от ЭВМ, то это пример комплексной гибкой автоматизации подготовительного участка швейных предприятий (рис.2).

Рис.2 Пример комплексной автоматизации подготовительно-раскройного цеха с использованием ЭВМ.

Механизированная или автоматизированная подача рулонов материала от промерочно-разбраковочных комплексов и станков в зону хранения, распределения рулонов по адресам с последующим вызовом и выгрузкой требуемых рулонов может выполняться по-разному в зависимости от применяемых технических средств и степени их автоматизации.

Штабелер с подъемной платформой (рис.3) конструктивно выполнен в виде напольной самоходной рельсовой тележки с раздельным приводом подъема платформы и приводом хода тележки. Приводом подъема служит электроталь, а привод хода тележки состоит из реверсивного электродвигателя, редуктора, ценной передачи и фрикционной муфты.

Электропитание подается кабелем-шлейфом.

При партионном хранении материала, кроя или готовой продукции подъемно-транспортным устройством служит кран-штабелер, который монтируется на монорельсе, проложенном на потолке между стеллажами или на рельсовых путях (над стеллажами). Управление краном-штабелером аналогично управлению; электротельфером. Оператор с помощью кнопочного переносного пульта; управления задает перемещение крану-штабелеру вперед-назад, а вильчатому подъемнику штабелера вверх-вниз.

Рис.3 Штабелер с подъемной платформой: 1-привод, 2-стеллажи, 3-электрокабель, 4-подъемная платформа.

Применение штабелерно-стеллажного способа поштучного и партионного хранения материала с программным управлением от ЭВМ

характеризует наиболее высокий уровень комплексной автоматизации склада

хозяйства подготовительных участков. Программа движения по данному адресу задается электроштабелеру с пульта оператора с помощью перфокарты. Считывающее устройство электроштабелера с использованием

бесконтактных магнитных путевых и концевых выключателей определяет адрес его движения по горизонтали и адрес подъема платформы с материалом по вертикали. Съем рулонов материала с платформы электроштабелера и загрузка соответствующей ячейки стеллажа производятся пневматическим или электромагнитным толкателем. Выгрузка требуемых рулонов материала происходит с противоположной стороны ячейки, куда перемещается рулон на рольгангах. Для разгрузки используется второй штабелер с подъемной платформой и автоматическим адресованием или электроробоштабелер.

При элеваторном способе поштучного хранения рулонов разбракованных материалов возможна автоматизация следующих операций:

приема разбракованных рулонов материала с промерочно-разбраковочных комплексов и отправка их с помощью транспортных роботов по адресам, задаваемым программным способом;

загрузки рулона в свободную люльку элеватора и запоминание адреса;

вызова требуемых рулонов материала, транспортируемых люльками

элеватора для комплектования расчета или последующего настилания материалов.

При отправке рулонов на хранение в элеватор один экземпляр

паспорта материала передается расчетчикам. Затем документация на рассчитанные и подобранные рулоны передается на пульт управления элеватором, с которого вызываются и автоматически транспортируются к месту выдачи рулоны, вошедшие в расчет.

Электроробоштабелер(рис.4,) состоит из системы управления (СУ), выполненной в виде встроенной микроЭВМ; модулей 1, 2, 3 поступательного перемещения, содержащих активные кинематические пары, т. е. кинематические пиры, в которых ведущее звено имеет исполнительный механизм, программно управляемый СУ, а ведомое звено кинематически связано с другой активной кинематической нарой или схватом 4; ограничительных концевых остановов 5 для предотвращения наезда на человека или на какую-либо преграду в цехе; датчиков 6 и 9 пройденного пути на трассе электроробоштабелера; датчика 8 пройденного пути вдоль направляющей шины (привода) 7.

Рис.4 Принципиальная схема электроробоштабелера.

Модули поступательного перемещения, схват и блок управления образуют специализированный погрузочно-разгрузочный манипулятор.

На участках 1 -2 и 2 -3траектории выполняется программное горизонтальное перемещение электроробоштабелера; на участках 2-3 и 3- 4- вертикальное перемещение платформы с манипулятором и рулонами материала; на участках 2 -3 и 2-одновременно горизонтальное и вертикальное перемещение. Угол а зависит от отношения программируемых скоростей горизонтального и вертикального перемещений.

Манипулирование рулонами в зоне ячейки, а именно подъем, ориентация относительно ячейки, загрузка в ячейку, возвращение схвата в исходное положение осуществляется системой управления (СУ) путем программирования траектории схвата и рулона относительно подъемной

платформы после отработки программного перемещения манипулятора электроробоштабелера к этой ячейке-адресу.

Операции разбраковки и промера основных материалов осуществляют параллельно, на одном рабочем месте-разбраковочно-промерочной машине, или последовательно-на разбраковочной машине с принудительной перемоткой измеренного материала в рулон и трехметровом промерочном столе.

Таким образом, проблема унификации средств автоматизации измерения линейных размеров материала как частная задача общей проблемы унификации средств гибкой автоматизации подготовительного производства швейных предприятии и участка разбраковки и измерения готовой продукции на текстильных предприятиях является не чисто технической, а организационно-технической проблемой автоматизации процессов и оборудования легкой и текстильной отраслей промышленности.

Промерочно-разбраковочные станки различных конструкций

содержат следующие основные типовые устройства и механизмы (рис.5):

1-6 - для принудительной размотки рулона материала; 9 - для визуальной разбраковки материала, который в комплексах разбраковки типа КРТ после операции разбраковки переводится из наклонного положения в горизонтальное таким образом, что становится частью трехметровогопримерочного стола; 10 - для автоматического измерения ширины материала; 12 - для автоматического измерения' длины; 13 - 15 - для укладывания разбракованного материала в „книжку".

Рис.5 Кинематическая схема промерочно-разбраковочного станка типовой конструкции

Датчики считывания и ввода в микро ЭВМ графической информации, устройство и принцип действия ( датчик типа КАРАНДАШ)

По физическому принципу действия датчики считывания и ввода графической информации в микроЭВМмогут быть:

акустические,

электрические,

оптические.

Электрические по способу связи датчика с рабочим полем планшета в свою очередь делятся на:

контактные,

емкостные

индуктивные.

Графическая информация-это рабочие чертежи деталей, лекал или раскладки лекал, различные схемы, эскизы, нанесенные на бумагу.

Акустический датчик (звуковой или ультразвуковой) представляет собой источник звука, например электрический разрядник, перемещаемый вручную или автоматически в двухкоординатной системе планшета, по двум краям которого расположены приемники звука, выполненные в виде конденсаторных микрофонов.

При контакте снимается определенный электрический потенциал, пропорциональный координате считывания, так как резистивный слой выполняет роль линейного потенциометрического датчика линейных перемещений, а щуп - съемника напряжения с этого потенциометра.

Емкостные и индуктивные датчики УГВ не требуют непосредственного контакта с планшетом, имеющим шинную структуру (рис. 6, а). Планшет выполнен в виде двух систем ортогональных координатных шин, образующих сетку, узлами которой являются определенные координаты X и Y. В дискретных УГВ считывание координат осуществляется последовательно: вначале измеряется, например, координата X, а затем У. Емкостные датчики (рис. 6,б) возбуждают шипы импульсами напряжений, а индуктивные импульсами тока. Индуктивная связь датчик - планшет обеспечивает более высокий по сравнению с емкостной связью уровень сигнала считывания и более высокую помехоустойчивость УГВ.

На (рис. 6, в, г) приведены характеристика чувствительности и φ(х)

емкостного датчика штыревого типа. Обозначим: d - шаг между ί-ми шинами планшета; h - величина удаления датчика от планшета; φ - фаза

сигнала на выходе датчика. Если d>h, то возникает сильная амплитудная

модуляция информационного сигнала на выходе датчика при его движении вдоль координатных осей. Емкостные датчики штыревого типа „Карандаш" подходят для дискретных УГВ, где необходимо считывать каждую отдельную шину. В дискретно-непрерывных УГВ, где производятся отсчеты промежуточных значений координат между шипами, используется емкостный датчик с плоским зондирующим электродом, имеющим большую зону „захвата" шин, чем штыревой датчик. Пример дискретно-непрерывного УГВ приведен на (рис. 6, д) где показана функциональная схема полуавтоматического УГВ типа Планшет. Генератор вырабатывает сигналы необходимых частот(4 кГц для измерений и 8 кГц - информационных сигналов) и синхронизирует работу всего устройства. Блок формирования моделирующего поля выдает четыре сигнала j ...4) на шины X и четыре сигнала l...4) на шины Y, сдвинутые по фазе на 90°.

Сигнал, наведенный шинами планшета на зондирующем электроде 1 (см.

рис. 6,б) емкостного датчика усиливается усилителем 3 и поступает вблок преобразования, где осуществляется разделение суммарного сигнала на составляющие по координатам X и Y и преобразование фазы информационного сигнала во временное положение импульсов. Эти

Рис. 6. Емкостный датчик типа Карандаш, его характеристики и функциональная схема устройства графического ввода (УГВ) информации

импульсы поступают в блоки измерения координат X и У, на выходах которых получаем координаты датчика в двойном коде, вводимые в микроЭВМ. Блок фиксации изменений вырабатывает сигнал „Принять код'",сообщающий о необходимости считать код с выходных регистров блоков измерений по команде прерывания от микропроцессора.

Оптические датчики и УГВ с использованием лазерных излучателей и сканированием рабочего поля планшета с помощью вращающихся зеркальных узлов развертки сложны но конструкции, требуют высоких

питающих напряжений и предъявляют жесткие требования к юстировке  (фокусировке) оптической системы.

Объединение датчика считывания графической информации и двух-

координатной электромеханической следящей системы его перемещения образует автоматические УГВ, в которых при считывании графической информации с помощью фотоприемных устройств (вместо одноточечного

датчика с одним светочувствительным датчиком) применяют интегральные фотоприемные устройства, называемые еще многоточечными фотодатчиками, матричными фотоприемниками, фоточувствительными ячейками или фотодиодными матрицами.

В швейном производстве датчики считывания графической информации применяют в подсистемах САПР одежды и для построения автоматизированных рабочих мест (АРМ) конструкторов швейных изделий,

швейного оборудования и микропроцессорных систем управления.

Тепловое реле, кнопки управления, автоматические выключатели: устройство, принцип действия

Тепловое реле предназначено для защиты электродвигателя от перегрузок, которые возникают при механическом моменте на его валу больше номинального. Основной элемент реле- биметаллическая пластинка, сваренная из двух пластинок разных металлов, имеющих различные температурные коэффициенты линейного расширения. Тепловые реле могут быть одно, двух и трехполюсными, значит иметь соответственно одну, две или три биметаллические пластинки и один размыкающий контакт.

Нагревательный элемент теплового однополюсного реле включается в сеть последовательно с электродвигателем. При прохождении через него тока выше номинального выделяемое элементом тепло нагревает биметаллическую пластинку, один конец которой закреплен неподвижно в корпусе реле, а другой свободный конец опирается на рычаг. Пластинка удерживает рычаг, который под действием пластины 6 стремиться повернуться против часовой стрелки. Контакт находится в замкнутом состоянии и жестко связан с рычагом. При нагревании биметаллическая пластина отклоняется вверх и освобождает рычаг в результате чего размыкается контакт. Привести реле в исходное положение можно кнопкой ручного возврата после того как биметаллическая пластина остынет и займет прежнее положение. Контакт теплового реле включается в цепь управления электродвигателем.

Автоматические выключатели являются электрическим аппаратом, предназначен для защиты электрических установок от токов короткого замыкания.

Автоматический выключатель представляет собой контактную систему, заключенную в пластмассовый корпус. Замыкание и размыкание контактов осуществляется вручную с помощью рычажной системы. Контакты отключаются также автоматически прохождении через них токов короткого замыкания с помощью электромагнитного расцепителя. Электрическая цепь, которую коммутирует автоматический выключатель, присоединяется к зажимам. Ток проходит через контактную систему и электромагнитный расцепитель при включенных контактах. При прохождении очень большого тока срабатывает электромагнитный расцепитель. Его якорь воздействует на рычажную систему, и контакты мгновенно отключаются под воздействием растянутой пружины.

При замыкании контактов возникающая на них дуга гаситься в дугогасительной камере. Вместо электромагнитных расцепителей максимального тока некоторые типы автоматических выключателей имеют электромагнитные расцепители минимального напряжения, которые подключаются между двумя фазами питающей сети. Якорь расцепителя отключает рычажную систему выключателя. Кроме электромагнитных расцепителей, автоматические выключатели снабжаются тепловыми расцепителями. Такие расцепители автоматически отключают контакты при длительном прохождении через них тока, несколько превышающий номинальный. Автоматические выключатели могут быть одно, двух и трехполюсными в зависимости от числа контактов, причем все контакты включаются и отключаются одновременно.

Кнопки управления-это аппараты ручного действия, состоящие из одного, двух или трех кнопочных элементов и называются одно, двух и трехшифтовыми. Кнопочный элемент представляет собой контактное устройство и изоляционный шифт, при нажатии на который замыкаются или размыкаются контакты на время нажатия штифта. Кнопочный элемент может содержать любые комбинации двух контактов, тогда штифт одновременно действует на два электрически не связанных контакта.

Такая кнопка управления называется двухцепной. Штифт при нажатии на него рукой через стержень перемещает подвижный контакт вниз, который размыкается с неподвижным контактом. При снятии руки со штифта подвижной контакт возвращается в исходное положение под действием пружины- цепь размыкается.

Кнопки управления широко используются в схемах дистанционного управления электродвигателями. Для удобства обслуживания установок головки штифтов снабжаются надписями: «Пуск», «Стоп», «Назад», «Вперед». Кнопку «Стоп» часто окрашивают в красный цвет. Конструктивно кнопки управления могут быть выполнены защищенными, герметическими, а также открытыми для утопленного монтажа в закрытых шкафах.

Промерочно-разбраковочный станок. Датчик автоматического измерения ширины материала: принцип работы

Технические измерения материалов на швейных предприятиях производят повторно после текстильных, так как требования к точности измерения не совпадают ( при принудительной намотке материала в рулон на больших скоростях (30-40 м/мин) происходит его вытягивание и показания длины оказываются завышенными).

На швейных предприятиях наиболее простым и точным методом измерения считается измерение на трехметровых промерочных столах, на которых материал в процессе измерения находится в свободном ненапряженном состоянии. Довольно часто такие столы совмещают с разбраковочным станком.

Рис 7Кинематическая схема промерочно - разбраковочного станка типовой конструкции

Промерочно-разбраковочные станки различных конструкций содержат следующие основные типовые устройства и механизмы (рис.7):

-6 - для принудительной размотки рулона материала; 9 - для визуальной разбраковки материала, который в комплексах разбраковки типа КРТ после операции разбраковки переводится из наклонного положения

в горизонтальное таким образом, что становится частью трехметровогопримерочного стола; 10 - для автоматического измерения ширины материала; 12 - для автоматического измерения' длины; 13 - 15 - для укладывания разбракованного материала в „книжку"16; зона промежуточной области 7; осветитель 11 служит для расправления и местного освещения.

Принцип автоматического измерения ширины материалов рассмотрим

на примере устройства с электромеханическим приводом следящих фотоголовок 1 (рис8.) и 2.

Рис. 8 Схема автоматического устройства для измерения ширины материала на станке с подвижными фотоэлектрическими следящими головками

Для этой же цели возможно использование также фотонаборной линейки с неподвижными датчиками ширины, имеющими дискретный выходной сигнал, код которого зависит от числа и последовательности перекрытия фотоприемников (датчиков), смонтированных с определенным шагом по краям иромерочного стола в направлении, перпендикулярном направлению перемещения материала.

Фотоголовки 1 и 2 смонтированы на каретке с винтовым приводом, винты 3 и 5 которого жестко соединены с электромагнитными муфтами'JMM1 и ЭММ4. Две шестерни приводного вала / постоянно находятся в зацеплении с фрикционными дисками 3' и 5', которые занимают среднее положение при обесточенных ЭММ1 -ЭММ4. При этом фотоголовки и каретки неподвижны и счетчик ширины материала печатает через заданные интервалы длины установленную среднюю постоянную ширину материала. Разнонаправленное или однонаправленное вращение от дисков 3' и 5' пинтами 3 и (или) 5 передается кареткам и дифференциалу 4, который суммирует эти вращения и подает на счетчик ширины. Преобразование вращения от приводного вала осуществляется с помощью промежуточных валов и набора зубчатых передач, которые автоматически переключаются при срабатывании соответствующих электромагнитных муфт в различном их сочетании. Команду на срабатывание соответствующей ЭММ задает кромка материала, за положением которой следят фотодиоды ФД1 - ФД4 и евстодиоды СД1 - СД4. Фотодиоды ФД1 и ФД2 следят за левой кромкой материала, а ФДЗ и ФД4 - за правой. Концевые выключатели ВК1 - ВК4 ограничивают крайние положения кареток при работе станка.

При измерении ширины материала возникают различные комбинации следующих типовых ситуаций взаимодействия фотодиодов с соответствующими электромагнитными муфтами:

. Ширина материала не изменяется и равна, например, 140 см. При

этом затемнены ФД2 и ФДЗ, ЭММ1 - ЭММ4 обесточены и каретки / и 2 175

неподвижны, счетчик 4 печатает через заданные интервалы ширину материала, равную 140 см.

2. Ширина материала изменилась таким образом, что его левая кромка

сместилась влево при увеличении ширины полотна и вправо - при его уменьшении. При этом оба фотодиода ФД1 и ФД2 или затемнятся кромкой, или будут засвечены. При затемнении образуется следующая кинематическая цепь передвижения каретки 1: главный вал 1→ 5' → ЭММ1→каретка 1→перемещение вправо, а при освещении ФД1 яФД2: главный вал 1→ 5' →ЭММ2 → каретка 1→ перемещение влево. Всякие перемещения каретки 1 влево-вправо отражаются на показаниях счетчика 4, воспринимающего разнонаправленные вращения винта 5 с помощью дифференциального суммирующего механизма.

3. Увеличилась или уменьшилась ширина материала справа, и на эти

изменения отреагировала правая кромка полотна, которая задает следующие перемещения каретке 2: главный вал 1→3' → ЭММ4→ каретка 2 →смещение влево или 1→ 3' →ЭММЗ →2 →смещение вправо.Смещение кареток вправо или влево происходит до тех пор, пока устройство автоматического измерения ширины не придет в положение, соответствующее изложенному в п. 1.

4. Одновременно увеличилась или уменьшилась ширина материала

таким образом, что на это изменение одновременно отреагировали кромки

справа и слева. В результате каретки 1 ж 2 начнут сближаться навстречу

друг другу или расходиться до положения, соответствующего ситуации, изложенной в п. 1.

Таким образом, разнонаправленное или однонаправленное вращение

винтов 3 и 5 суммируется дифференциальным механизмом 4 и подается на счетчик ширины, который через заданные интервалы длины печатает данные о фактической ширине на участке измеряемого куска материала.

Применение для разбраковки и измерения линейных размеров

текстильных материалов комплексов разбраковки (КРТ) позволяет повысить точность измерения длины и сокращает площадь, занимаемую промерочно-разбраковочным станком и трехметровым промерочным столом,так как в КРТ конструктивно и функционально совмещены эти два технических средства.

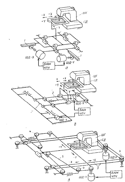
Кинематическая схема двухкоординатных манипуляторов для швейных машин с ЧПУ при различных типах передачи движения от двигателя к держателю стачиваемых деталей

Рис.9 Кинематическая схема двухкоординатных манипуляторов для швейных машин с ЧПУ при различных типах передачи движения от двигателя к держателю стачиваемых деталей.

Литература

Бабаева Л.Б., Маркова Р.Ф. «Основы автоматизации технологических процессов».,М.: Легкая и пищевая промышленность,1981.

Орловский Б.В. «Основы автоматизации швейного производства»,М.: Легпромбытмаш, 1988

Наумов В.Н., Пятов Л.И. «Автоматика и автоматизация производственных процессов в легкой промышленности» .,1981.

Плужников Л.Н. «Автоматизация технологических процессов в легкой промышленности».,М.,1984.

Похожие работы на - Автоматизация и механизация производства

 

Не нашли материал для своей работы?
Поможем написать уникальную работу
Без плагиата!
Без нейросетей!