Литиевые источники тока
Аннотация
В данной работе были проведены сравнительные
испытания макетов литий диоксид марганцевых первичных элементов с
гель-полимерным электролитом и с твердополимерным электролитом
В литературном обзоре рассмотрены различные виды
первичных источников тока, приведены их сравнительные характеристики,
достоинства и недостатки, рассмотрены основные типы электролитов литиевых
источников тока, структура твердофазного положительного электрода и
нанотехнологии, применяющиеся при их изготовлении.
В экспериментальной части описана методика
экспериментальных исследований макетов элементов; проведен анализ разрядных
характеристик макетов литиевых источников тока в твердофазном исполнении и с
гель-полимерным электролитом.
В расчетной части проведены расчеты удельных и
энергетических показателей рассмотренных элементов.
Annotation
In this work were carried out
comparative tests layouts lithium manganese dioxide primary cells with gel
polymer electrolyte and solid polymer electrolyte.the literary review different
types of primary cells, given their comparative characteristics, advantages and
disadvantages, the basic types of electrolyte lithium batteries, solid-state
structure of the positive electrode and nanotechnology used in their
manufacture.experimental part describes the methodology of experimental studies
Design elements; analyzed the discharge characteristics of lithium batteries
layouts in a solid performance and a gel polymer electrolyte.computational part
of the work performed l calculations of specific energy and specific power of
elements considered.
Содержание
Введение
. Литературный обзор
. Методика эксперимента
.1 Сборка макетов источника тока
.2 Приготовление электролитов
.3 Приготовление отрицательного
электрода
.4 Приготовление положительных электродов
.5 Измерительные приборы
.6 Методика измерения пористости
. Результаты и обсуждение
. Расчетная часть
Выводы
Список литературы
Введение
Литиевые источники тока - это химические
источники тока (ХИТ), в которых в качестве анода используется металлический
литий - один из самых химически активных металлов. Литий имеет самый большой
электрохимический потенциал и обеспечивает самую большую плотность энергии.
Вместе с тем, высокая активность лития очень осложняет технологические процессы
изготовления и предъявляет жесточайшие требования к герметичности химических
источника тока, что в конечном итоге сказывается на их стоимости.[1]
Напомним, что под термином «литиевые ХИТ»
скрываются несколько групп первичных и вторичных источников, имеющих различную
химическую начинку, разные уровни выходного напряжения (3,0 В и 3,6 В) и
отличающихся друг от друга ещё по ряду признаков - электрической емкости,
диапазону рабочих температур, срокам хранения и т.д. К ним относятся:
• литий/тионилхлоридные (Li/SOCl2),
• литий/диоксид серы (Li/SO2),
• литий/диоксид марганца (Li/MnO2)
•литий/диоксид меди (Li/CuO2)
•литий/фторуглеродные (Li/(СF)х)
Каждый из видов имеет свои особенности, но если
говорить о качествах всей группы в целом, то данные элементы, обладая большой
энергетической мощностью, в силу технологических особенностей, работают с
нагрузками, потребляющими относительно небольшой или средний разрядный ток.
Наиболее изученный и технологически отработанный тип литиевых первичных
химических источников тока - элементы на основе системы литий/диоксид марганца
(Li/MnO2), поэтому они из всей группы самые доступные по цене. Элементы
Li/SOCl2 системы - лучшие по большинству параметров. Они характеризуется самым
высоким выходным напряжением (3,6В), самой большой электрической емкостью,
самым широким диапазоном температур, очень малыми токами саморазряда и средним
типовым током разряда. Чаще всего элементы именно этой группы применяются для
питания промышленных устройств. Поскольку при значительных токах разряда на
внутреннем сопротивлении может выделяться дополнительное тепло в пределах
превышающих допустимый уровень, то в конструкцию элемента вводят
предохранитель-ограничитель тока (терморезистор) не допускающий токовых
перегрузок. [2]
В сравнении с солевыми и щелочными первичными
ХИТ, литиевые обладают очень важными преимуществами. Главное из них - высокая
удельная плотность энергии. Иными словами, литиевые элементы при равных с
другими ХИТ габаритах, имеют наибольший запас энергии и, следовательно,
способны обеспечить более продолжительное время работы аппаратуры. Еще одно
важное качество - долгий срок хранения, достигающий десяти, а в некоторых
случаях и пятнадцати лет. Это возможно благодаря очень малым токам саморазряда.
Типовой ток саморазряда обычно снижает номинальную емкость не более чем на 1% в
год. То есть за десять лет заряд элемента теоретически уменьшится лишь на 10%.
(На практике суммарное сокращение емкости будет немного больше.) Для сравнения:
солевые ХИТ не хранятся более 3-4 лет, е -щелочные не более 5 лет при строгом
соблюдении условий хранения. По сравнению с более простыми щелочными и солевыми
элементами, многие серии литиевых ХИТ имеют расширенный диапазон рабочих
температур. Причем этот диапазон расширен в обе стороны. Если щелочные
источники тока практически перестают работать при температуре -25÷300
ºС,
то литий/тионилхлоридные могут работать при температуре -55÷600
ºС.
(Это связано с тем, что температура замерзания жидкого тионилхлорида равна
-1300
ºС.)
Для аппаратуры работающей в российских климатических условиях, где холодный
период продолжается много дольше теплого, крайне важен этот параметр.
Большинство стандартных литиевых ХИТ способны
работать при температурах +850 ºС.
Лидеры мирового рынка заявляют в технической документации о том, что они
гарантируют устойчивую работу своих элементов при +1300 ºС
и даже +1500 ºС. А американская
компания Greatbatch Ltd., точнее, её отделение Electrochem, производит
первичные энергоемкие элементы питания литий-тионилхлоридной системы,
работающие при температуре +2000 ºС
. [3]
Нужно сказать, что такой широкий рабочий
диапазон температур - не самоцель. Мощные элементы питания пользуются большим
спросом в нефтегазовой, военной отрасли, геологии. Столь превосходные качества
делают литиевые ХИТ необходимыми для широкого круга потребителей.. Несмотря на
множество достоинств литиевых первичных ХИТ, а именно исключительные
энергетические характеристики, низкий саморазряд, долгий срок хранения и
широкий температурный диапазон, эти элементы обладают рядом недостатков. К
недостаткам литиевых элементов следует отнести пока еще относительно высокую
стоимость по сравнению с другими типами элементов, обусловленную высокой ценой
лития и особыми требованиями к производству (необходимость инертной атмосферы,
очистка неводных растворителей), а также пассивацию. Следует также учитывать,
что некоторые литиевые элементы при вскрытии взрывоопасны.
Остановимся подробнее на литий-марганцевых
первичных источниках тока.
. ЛИТЕРАТУРНЫЙ ОБЗОР
СистемаLi│MnO2
В качестве электролита чаще используется 1М
раствор LiClO4. в смешанном растворителе ПК + ДМЭ, поэтому электрохимическая
система может быть записана более подробно:
(-) Li│ LiClO4, ПК + ДМЭ │MnO2 (+)
Система Li|MnO2 имеет достаточно высокие
удельные характеристики при относительно низкой цене. Удельная энергия 200 -
250 Вт·ч/кг или 450 - 550 Вт·ч/л (несколько ниже, чем у Li|SO2 и Li|CuO).
Существенным недостатком этой системы является малая удельная мощность,
обусловленная слабыми разрядными токами (менее 1 мА/см2) и ограниченный, по
сравнению с другими ЛИТ, температурный интервал работоспособности: от -20°С до
+50°С. В остальном же они обладают всеми достоинствами ЛИТ, в том числе и
чрезвычайно высокой сохранностью своих характеристик (хранение до 10 лет и
более). НРЦ = 3.5 В. Разрядное напряжение 2.8 - 3.0 В. Разряд обычно ведут до 2
В, глубокий разряд небезопасен. Схематичный вид разрядной кривой показан на
рисунке 1.1. Эта систем появилась одной из первых и широко применяется во всем
мире.
Рассмотрим химию протекающих процессов. В
результате токообразующей реакции образуется так называемое соединение
внедрения. Большинство твердых катодных материалов восстанавливается по
аналогичному механизму внедрения. [3-4]
Реакция для этой системы записывается в виде:
Li + Mn+4O2 → Mn+3O2 (Li+)
т.е. диоксид марганца восстанавливается из
четырехвалентного до трехвалентного состояния с помощью лития, который
внедряется в кристаллическую решетку конечного оксида. Электролит - перхлорат
лития в смешанном органическом растворителе.[5]
Рисунок 1.1. Схематичная разрядная кривая
литий-диоксидмарганцевого ХИТ.
При разряде твердых катодов (оксидов,
халькогенидов и т.п.) первичный процесс протекает следующим образом: электроны,
поступающие из внешней цепи, поглощаются электронной подсистемой
кристаллической решетки, понижая степень окисления металла, а компенсирующие их
заряд катионы Li+ десольватируются и внедряются в кристаллическую решетку из
раствора. Например, рассматривая эту реакцию как
окислительно-восстановительную, можно говорить о понижении степени окисления
ионов марганца в MnO2 с +4 до +3..Дальнейшая судьба такого соединения зависит
от кристаллографической структуры, от соотношения параметров кристаллической
решетки твердого тела и размеров катиона Li+. Если объем элементарной ячейки
кристаллической решетки достаточно велик, то соединение внедрения оказывается
стабильным, и именно оно будет продуктом разряда. Подобные соединения могут
работать обратимо, так что катион Li+ может быть выведен обратно в раствор при
изменении направления электрического тока. В последнем случае процесс внедрения
называют также интеркаляцией, а образовавшиеся соединения внедрения -
интеркалятами (от англ. «intercalate» - вставлять). Такое вещество является
пригодным для использования в перезаряжаемых литиевых источниках токах
(ЛИТ).[6-7]
В противном случае внедрение иона лития
совершается необратимо, с разрушением исходной кристаллической решетки и
построением новых веществ. Такой вариант пригоден для первичных ЛИТ.
В Табл.1.1 приведены характеристики некоторых
видов первичных источников тока. Разрядное напряжение ХИТ лежит в диапазоне
1,1-3,5 В. Разрядные кривые источников тока приведены на рис.1.2. Практически
горизонтальную разрядную кривую имеют воздушно-цинковые, оксидносерно-литиевые
и тионилхлоридно-литиевые источники тока. У остальных первичных источников
тока, за исключением серебряно-цинковых (с Ag2O), напряжение при разряде
заметно понижается.
Таблица 1.1. Сравнение характеристик Li│MnO2
элемента с другими первичными ХИТ.
|
Система
|
Напряжение,
В, среднее/конечное
|
Удельная
энергия*, Втч/кг / Втч/л
|
Удельная
мощность
|
Рабочая
температура, °С
|
Рекомендуемая
температура хранения, °С
|
Саморазряд
при 20 °С, % в год
|
|
Zn|ZnCl2,
NH4Cl|MnO2
|
1,25-1,1/0,9
|
65/100
|
Низкая
|
-5
- 45
|
0
- 20
|
10
|
|
Zn|ZnCl2|MnO2
|
1,25-1,1/0,9
|
85/165
|
От
низкой до средней
|
-10
- 50
|
0
- 20
|
7
|
1,25-1,15/0,9
|
125/330
|
Средняя
|
-20
- 50
|
-20
- 25
|
4
|
|
Zn|КОН|HgO
|
1,3-1,2/0,9
|
105/325
|
Средняя
|
0
- 55
|
-20
- 25
|
3
|
|
Zn|КОН|Ag2O
|
1,6-1,5/1,0
|
(120/500)**
|
Средняя
|
0
- 55
|
-20
- 25
|
6
|
|
Zn|КОН|воздух
|
1,3-1,1/0,9
|
(340/750)**
|
Низкая
|
0
- 50
|
-20
- 25
|
2
|
|
Li|LiClO4,ДОЛ|
CuO2
|
1,5-1,4/0,9
|
285-300/480-600
|
Низкая
|
-20
- 60
|
-20
- 40
|
1
- 2
|
|
Li|LiClO4,ПК,ДМЭ|MnO2
|
3,0-2,7/2,0
|
230/550
|
Средняя
|
-20
- 55
|
-20
- 40
|
1-
2
|
|
Li|LiBF4,БЛ+ТГФ|(CF)n
|
2,7-2,6/2,3
|
220/410
|
От
низкой до средней
|
-20
- 50
|
-20
- 40
|
0,5
- 1
|
|
Li|LiBr,AH|SO2
|
2,9-2,7/2,0
|
300/415
|
Высокая
|
-55
- 70
|
-20
- 40
|
2
|
|
Li|LiAlCl4,SOCl2
|SOCl2
|
3,5-3,2/3,0
|
320-650/700-1000
|
От
средней до высокой
|
-55
- 85
|
-20
- 40
|
1
- 6
|
|
Li|LiCl|I2,ПВП
|
2,8-2,6/2
|
300/900
|
Очень
низкая
|
0
- 200
|
0
- 4
|
1
|
С понижением температуры напряжение источников
тока падает. Кривая зависимости удельной энергии от рабочей температуры
проходит через максимум (см. рисунок 1.3 и 1.4). Такую же зависимость имеет и
емкость(см. рисунок 1.5). При отрицательных температурах резко уменьшаются
электрические характеристики марганцево-цинковых источников тока с солевым
электролитом, воздушно-цинковых, серебряно-цинковых и ртутно-цинковых
источников тока, поэтому рекомендуемые для них рабочие температуры находятся выше
0 °С. Наиболее высокие удельные энергии при комнатной температуре имеют
воздушно-цинковые и тионилхлоридно-литиевые источники тока, наименьшие значения
удельной энергии - медно-цинковые элементы. Высокие удельные мощности
характерны для источников систем диоксид серы-литий, тионилхлорид-литий и оксид
серебра-цинк. Минимальный саморазряд отмечается у литиевых источников питания с
твердыми восстановителями, литиевых источниках с твердым электролитом и
ртутно-кадмиевых источниках питания, максимальный саморазряд - у
марганцево-цинковых источниках тока с солевым электролитом
|NH4Cl|MnO2 < Zn/воздух < Zn|КОН|MnO2 <
Li/MnO2 < Li/SOCl2 < Li/SO2 < Ag2O/Zn < Li/I2.
Однако по удельной стоимости (на единицу
запасенной энергии) источники питания будут располагаться в другой ряд:
/воздух < Zn|NH4Cl|MnO2 < Li/SOCl2 <
Zn|КОН|MnO2 < Li/SO2 < Li/MnO2 < Li/I2 < Ag2O/Zn.
Приведенные ряды имеют оценочный характер.
Реальная стоимость зависит от типоразмера и формы источника питания, объема
производства и прочих факторов. [8-9]
Из всего вышеизложенного можно сделать вывод,
что система Li|MnO2 имеет достаточно высокие удельные характеристики, но
ограниченный, по сравнению с другими ЛИТ, температурный интервал
работоспособности: от -20°С до +50°С
Рисунок 1.2.Разрядные кривые источников тока при
20 °С: 1- Zn|NH4Cl|MnO2, 2- Zn/воздух, 3-Zn|КОН|МnО2, 4-Li/FeS2, 5- Zn/Ag2O, 6-
Li/(CF)n, 7- Li/MnO2, 8- Li/SO2, 9- Li/SOCl2
Рисунок 1.3.Зависимость массовой удельной
энергии источников тока от температуры: 1- Zn|NH4Cl|MnO2, 2- Zn|КОН|МnО2,
3-Zn/Ag2O, 4-Li/MnO2, 5-Li/SO2, 6-Zn/воздух, 7- Li/SOCl2
Рисунок 1.4.Зависимость объемной удельной
энергии источников тока от температуры: 1- Zn|NH4Cl|MnO2, 2- Zn|КОН|МnО2,
3-Li/SO2, 4-Zn/Ag2O, 5-Li/MnO2, 6-Li/SOCl2, 7-Zn/воздух
Рисунок 1.5.Зависимость потери емкости
источников тока от температуры: 1-Li/MnO2, 2-Li/SO2, 3-Li/SOCl2, 4-Zn|КОН|МnО2,
5-Zn/Ag2O, 6-Zn|NH4Cl|MnO2
Li|MnO2 элементы выпускают и рулонной и бобинной
конструкции в зависимости от требуемой мощности. Примеры конструкций приведены
на рис.1.6-1.7. Отрицательный электрод-анод изготавливают из тонких литиевых
листов (лент), напрессованных (или накатанных) на токоотводы из сеток или
пластин из меди, нержавеющей стали или никеля. Положительные электроды
изготавливают напрессовыванием, намазкой или иным способом нанесения активной
массы на токоотводы из сеток (тканых или просечных), решеток, сплошных или
пористых пластин и т.п. Активная масса положительных электродов представляет
собой смесь активного вещества, электропроводной добавки и связующего. В
качестве электропроводных добавок используются почти исключительно углеродные
материалы - сажа, графит, углеродные волокна и т.п. Связующим в большинстве
случаев служат фторированные полимеры. Содержание каждой добавки в активной
массе колеблется от 3 до 15 %.Разноименные электроды в литиевых источниках тока
разделяются сепаратором из пористого полипропилена, в частности из материала
Celgard.[3,8]
Совершенство литиевых источников тока в равной
степени зависит от совершенства электродов и электролита. Твердые полимерные
электролиты представляют собой «предел исканий» с точки зрения желаемых свойств
для источников тока, т.к. они позволяют создать полностью твердотельное
устройство при простом процессе производства. При этом возможно получить
устройство любой формы и размера и более высокую удельную энергию .При этом не
будет утечки коррозионных или взрывоопасных жидкостей и уменьшится вероятность
короткого замыкания; таким образом, устройство окажется более безопасным.
Самыми привлекательными являются полимерные электролиты, которые состоят из
мембраны, не содержащей растворителя (например, полиэтиленоксид, ПЭО), и
литиевой соли типа LiX, например, LiPF6 или LiCF3SO3.
Рисунок 1.6. Примеры конструкций Li|MnO2
элементов
Рисунок 1.7. Пример конструкции первичного
элемента
Плохая ионная проводимость этих материалов при
комнатной температуре помешала осознать их высокий потенциал. Распределение
наноструктурированного неорганического наполнителя по полимерному электролиту,
не содержащему растворителя, увеличивает проводимость в несколько раз.
Улучшение транспортных свойств электролита можно объяснить с помощью модели
гетерогенного допирования. Согласно этой модели, одним из видов нанокомпозитов
является материал, в котором вторая (или даже третья) фаза в виде частиц
нанометрового размера распределена в матрице, которая может быть как аморфной,
так и кристаллической. Таким образом, увеличение проводимости может быть
связано с кислотно-основным взаимодействием по Льюису между поверхностью
керамической наночастицы и полимерными цепями, а также анионами литиевой соли.
Как и в случае электродов, существуют «за» и «против» этого подхода.
Одновременно разрабатываются также и другие способы повышения проводимости
полимерных электролитов..[9-11]
На протяжении 30 лет считалось, что ионная
проводимость в полимерных электролитах осуществляется исключительно в аморфной
фазе выше температуры стеклования Tg. Кристаллические полимерные электролиты
считались диэлектриками. Однако недавние исследования показали, что это не так:
кристаллический комплекс ПЭО:LiXF6 = 6:1 (X = P, As, Sb) обладает ионной
проводимостью. Ионы Li+ находятся в туннелях, образованных цепями полимера .
Существенное увеличение ионной проводимости в кристаллических комплексах 6:1
наблюдалось при уменьшении длины полимерных цепей от 3000 до 1000, что
находится в нанометровом диапазоне. Очевидно, что в электролитах, так же, как и
в электродах, описанных выше, контроль над размером на наноуровне оказывает
сильное влияние на характеристики. Кристаллические полимерные электролиты
представляют собой абсолютно другой тип проводимости в полимерах и иллюстрируют
важность поиска новых научных направлений. Исследуемые в настоящее время
материалы данного типа не обладают ионной проводимостью, достаточной для
практического использования, но они открывают свежий подход и могут позволить
значительно улучшить имеющиеся результаты. Так, недавно было установлено, что
проводимость кристаллических полимерных электролитов можно увеличить на два
порядка путем частичного замещения ионов XF6 на другие моно- и дивалентные
анионы. В то же время химическую совместимость новых полимерных электролитов с
существующими электродными материалами еще предстоит оценить.Таким образом,
использование наноматериалов в литиевых источниках тока может привести к
значительному улучшению характеристик. Однако, не стоит забывать и о новых
трудностях, связанных с использованием наноструктурированных материалов,
поэтому данная область представляется еще мало исследованной и перспективной.
[12]
В настоящее время в большинстве литиевых
источниках тока используются жидкие электролиты, представляющие собой растворы
солей лития в апротонных органических растворителях .Физические свойства
растворителей самые разные. Есть легкокипящие (АН, ДМЭ, ДОЛ, ТГФ, ТХ) и
высококипящие (ПК, СФ, ДМСО, ЭК) с самым разнообразным набором
физико-химических свойств. Общие требования - устойчивость Li в этих
растворителях и способность их образовывать концентрированные и
высокоэлектропроводные растворы литиевых солей. С последним есть проблемы.
Чтобы соль могла диссоциировать, нужна высокая диэлектрическая проницаемость ε
растворителя.
Этому требованию удовлетворяют, например, ПК, ЭК и СФ. Но такие растворители
одновременно и очень вязкие, поэтому электропроводность растворов получается
низкой. У растворителей же с малой вязкостью одновременно низкая ε,
так
что в них соли не диссоциируют на ионы. Поэтому часто применяют смешанные
растворители (например, ПК+ДМЭ). Простые литиевые соли и основания (например,
LiCl, LiNO3, LiF, LiOH и др.) не растворяются в вышеперечисленных
растворителях. Поэтому приходится применять комплексные соли, такие как LiClO4,
LiBH4, LiPF6, LiAsF6, LiClAl4.[14]
Низкий ток саморазряда, долгий срок хранения -
безусловные достоинства литиевых источников тока. Эти свойства своим
существованием обязаны тончайшей изолирующей пленке соли лития образующейся на
поверхности металлического литиевого электрода. Она возникает немедленно, еще в
момент сборки элемента на конвейерной линии предприятия-изготовителя.. А
возникнув, она прерывает взаимодействие реагентов, останавливает реакцию. Её
существование проявляется главным образом в низком токе саморазряда. Еще одно
проявление - в момент подключения источника к нагрузке наблюдается пониженное
напряжение на клеммах. С течением времени толщина хлорида лития нарастает, а
пропорционально толщине пленки растет и сопротивление изоляции, снижается
выходное напряжение и уменьшается разрядный ток.Это явление называется пассивацией.
Оно имеет место в продукции всех производителей литиевых ХИТ без исключения, но
не все компании честно предупреждают своих клиентов. В большинстве случаев
упоминание об этой проблеме либо отсутствует полностью, либо далеко спрятано
где-то в документах раздела технической поддержки клиентов. Из множества
производителей литиевых источников питания, только немецкая компания
Sonnenschein Lithium, американская Greatbatch Ltd. и китайская ЕЕМВ сообщают о
таком явлении. Хотя продукция именно этих фирм менее всего подвержена влиянию
этого феномена. Итак, в первичных литиевых элементах питания между электродами
существует изолирующая пленка. С одной стороны элемент может сохраняться очень
долго, почти не расходуя активные вещества, сохраняя свою электрическую
емкость. С другой - пониженное выходное напряжение мешает нормальной работе
электроники. Высокое сопротивление пленки сказывается на величине разрядного
тока, снижая его ниже допустимых пределов. В результате, мощности элемента
питания может быть не достаточно и, электронный прибор, получающий питание от
литиевого источника может работать неустойчиво, со сбоями. Избежать появления
пленки невозможно. На толщину пленки и скорость её роста, влияет ряд факторов:
культура производства на предприятиях изготовителей, температура воздуха на
складах покупателей, время хранения элементов питания и, наконец, режим
потребления прибора при подключении ХИТ к нагрузке. На первый из них
потребитель, понятное дело, повлиять не может, но все остальные могут и должны
контролироваться.[6]
Скорость образования пленки - это скорость
протекания химической реакции. Чем выше температура, тем, как правило, быстрее
и активнее протекает процесс. Применительно к данному случаю, чем выше
температура на складе, где хранятся источники, тем быстрее нарастает пленка,
тем больше пассивируется ХИТ. Степень пассивации зависит также от времени
хранения. Чем хранится источник тока, тем более толстая изолирующая пленка
успевает образоваться на поверхности лития и тем глубже продвинется процесс пассивации.
Тем больше, соответственно, станет внутреннее сопротивление источника питания.
Влияние изолирующей пленки и нагрузочного тока друг на друга взаимно и имеет
сложный характер. Мощный токовый импульс способен привести к полному разрушению
хлорида лития. Заметим, что нарушить целостность пленки может так же
интенсивное встряхивание , легкие удары, вибрация или постукивания по корпусу
элемента. Устройства с малым потреблением мощности, с током в несколько
миллиампер в нормальном режиме работы - а таких приборов довольно много, если
не большинство, не смогут вывести источник питания из режима пассивации. Более
того, они могут просто отключиться через некоторое время после начала работы. В
аппаратуре большую часть времени пребывающей в выключенном состоянии или
потребляющей микротоки, перед началом работы следует производить ручную
активацию источника питания. То есть ХИТ вручную должен подключаться к нагрузке
на несколько секунд и, под контролем напряжения на клеммах, разряжаться током,
превышающим стандартный в несколько раз. Мощный разряд разрушит изолирующую
пленку. Активацию можно считать выполненной, если напряжение на нагрузке
восстановилось до рабочего уровня (превысило 3В). В системах с постоянной
готовностью эта процедура должна повторяться каждые полгода или чаще. При этом
нужно иметь ввиду, что емкость батареи соответственно уменьшается. Если
периодическая ручная активация невозможна т.к. прибор находится в недоступном
положении или его работа осуществляется автономно и нельзя её прервать, то можно
программно, с требуемой периодичностью, принудительно переводить электронику в
режим максимального потребления. Предполагается, что ток потребления в этом
случае окажется достаточным для активации ХИТ
Если ХИТ устанавливается на плату способом пайки
волной припоя, то порой оказывается, что короткого интервала, когда полюсы
батареи замыкаются накоротко через расплав олова, вполне достаточно для
активации источника. Как видим, кое-что можно сделать даже тогда, когда
проектирование РЭА уже завершено и устройство серийно производится и
эксплуатируется. Но всё же лучше, если разработчик заранее знает о
существовании проблемы пассивации. Тогда он предусмотрительно разместит ХИТ в
своём приборе подальше от компонентов с сильным тепловыделением, снизив тем
самым скорость формирования пассивирующей пленки, и сумеет найти способ
справиться с возможными провалами напряжения еще в процессе проектирования [30]
Разработкой химических источников тока (
первичных, и вторичных) с использованием наночастиц занимаются явно или неявно
уже не один десяток лет. Сейчас этому разделу науки (а точнее, практики),
который часто называют наноионикой, посвящены целые разделы конференций,
организуются новые фирмы и компании. Это связано с тем, что все более
востребованными становятся надежные, долговечные, безопасные и дешевые
химические источники тока (ХИТ) для многочисленных устройств микроэлектроники,
таких как сотовые телефоны, карманные компьютеры, кардиостимуляторы, устройства
«двойного назначения». Мировой рынок таких продуктов превысил в 2006 г. 50
млрд. долларов и чрезвычайно перспективен с точки зрения привлечения
инвестиций. В России направление «наноионики» также начинает развиваться. [15]
Важной целью является создание новых типов
энергоемких, высокоэффективных и безопасных портативных источников тока и
интегрированных устройств наноионики для преобразования и хранения энергии.
Разработка новых методов получения нанокристаллических и наноструктурированных
систем с ионной и ионно-электронной проводимостью, фундаментальные исследования
структуры и морфологических (микроструктурных) особенностей нанокомпозитов,
нанотубуленов и нановискеров с высокой ионной и электронной проводимостью,
достижение контролируемого уровня и заданной кросс-корреляции
структурно-чувствительных функциональных свойств, разработка научных основ
технологий получения гаммы расходных материалов для микропечатной электроники и
компьютерного дизайна интегрированных устройств наноионики. [16]
Развитие новой области знаний о поведении
наноразмерных систем с ионной и смешанной проводимостью - наноионики, таким
образом, действительно относится к ключевым направлениям современных
исследований. С фундаментальной точки зрения представляет значительный интерес
разработка новых и оптимизация существующих методов получения таких материалов,
а также исследование особенностей ионного и электронного транспорта в таких
уникальных системах в зависимости от структуры и микроморфологии используемых
наноматериалов. С практической точки зрения, решение основных задач наноионики
связано с борьбой за существенное повышение функциональных характеристик
суперионных материалов при снижении их себестоимости. Подъем уровня
эффективности и конкурентоспособности отечественных электропроиз-водящих и
электропотребляющих отраслей промышленности и транспорта, микроэлектроники,
медицины, научных исследований, специальной техники, значительное снижение
вредного воздействия на окружающую среду во многом определяются уровнем
разработок в области суперионных проводников. Разработка нового поколения электроэнергетического
оборудования на базе современных супериоников с повышенными показателями по
эффективности, надежности, безопасности, в несколько раз меньшего по
массогабаритным показателям по сравнению с традиционным оборудованием, с
практически отсутствующим загрязнением окружающей среды позволит создать
принципиально недостижимые в традиционном исполнении виды устройств, широко
востребованные в прорывных областях современных науки и техники.[17-18]
Разработка новых поколений ХИТ основана на том,
что свойства ультрадисперсных частиц в существеннейшей степени изменяются по
сравнению с объемным телом. И причина этого не только в доступности поверхности
и облегчении диффузионных потоков, но и в изменении концентрации дефектов, а
главное - в разнообразных «размерных эффектах», которые связаны с тем, что
размер частицы становится меньше некоторой критической величины, сопоставимой с
так называемой корреляционной длиной или радиусом взаимодействия, характерным
для того или иного физического явления. В результате возникают новые
закономерности, что проявляется в уникальном физико-химическом и
электрохимическом поведении таких наноматериалов.
Переходные элементы, имеющие переменные степени
окисления и находящиеся в различных спиновых состояниях в формируемых ими сложных
кристаллических структурах, играют важную роль при создании современных
функциональных материалов. Одними из наиболее известных адаптивных химических
систем, обладающих к тому же широкой распространенностью и низкой стоимостью,
малой токсичностью и экологической безопасностью, являются системы Mn-O, Ti-O,
V-O (и некоторые другие). Различные формы MnO2 для марганец-цинковых источников
тока приведены на рис.1.7-1.8. [19]
Из-за высокой реакционной способности
наночастиц, они реагируют с электролитом и вообще со всем, с чем соприкасаются.
Однако эту проблему химики успешно решают, если судить по большому числу
патентов, полученных по этой тематике. [20]
Еще одна важная черта использования наночастиц -
возможность создания специальных «чернил» для струйной микропечати плоских
батареек и вообще готовых «лабораторий - на - микросхеме» (lab-on-chip).
Экзотические «нано» элементы (в буквальном
смысле «нано» по своим размером) также пытаются создать, но это уже область
биомиметики и молекулярной электроники. Так, в Национальной Лаборатории Sandia
работают над созданием источников тока нано-размеров, которые можно будет
имплантировать в человеческий глаз. Эти батареи предназначены для снабжения
энергией различных имплантируемых устройств, одним из которых является
искусственная сетчатка глаза. Таким образом, использование наночастиц и
нанокомпозитов в химических источниках тока становится вполне реальным и
эффективным. Это один из примеров, когда нанотехнологии действительно выполняют
то, что ими обещано и что от них ждут.[3,25]
Выбор MnO2 в качестве катода далеко не случаен:
неоспоримыми преимуществами MnO2 является доступность, экологичность и
впечатляющие емкостные характеристики, однако недостаточная проводимость
нивелирует все преимущества, и делает невозможным использование объемного MnO2
в качестве материала электрода.
Рисунок 1.7 - Различные формы MnO2 для
марганец-цинковых источников тока (Journal of Solid State Chemistry 179 (2006)
1757-1761)
<file:///E:\..\..\..\e:\не%20>Рисунок
1.8 - Уникальные нанотрубки на основе MnO2 для химических источников тока (Adv.
Mater. 2005, 17, 2753-2756).
Рисунок 1.9. Пример нанонитей.
Решение этой проблемы лежит в плоскости создания
одномерных наноструктур оксида марганца (IV), поэтому к настоящему времени
различными научными группами получен широкий спектр 1D наноструктур-нанонити
(см. рис.1.9), наностержни и наноленты. В настоящее время ученым удалось
получить нанонити MnO2 толщиной в несколько десятков нанометров. Тем не менее,
уменьшение толщины нанонитей до значений меньших 10 нм видится весьма
перспективными в плане увеличения емкости электрода. Подобные нанонити удалось
получить международному коллективу исследователей, используя довольно простой
гидротермальный метод.[21-22]
В качестве прекурсоров использовали нанонити
MnOOH (толщиной около 55 нм), которые будучи диспергированными в растворе
щелочи, были помещены в автоклав, который нагревался при температуре 180ºС
в течение 60 часов. После охлаждения до комнатной температуры, осадок был
отфильтрован, промыт водой и абсолютизированным этанолом и высушен при температуре
600ºС
в течение 6 часов. В заключение, продукт реакции был нагрет на воздухе при
температуре 300ºС в течение
2 часов. По результатам рентгенофазового анализа (см.рис.1.10) было
установлено, что нанонити являются однофазным образцом (β-MnO2),
а
их толщина равна 3-7 нм . Уменьшая время гидротермального синтеза можно
получить нанонити большего диаметра (10-30 нм). Уменьшенная (а) и увеличенная
(b) СЭМ-фотографии, ТЭМ (c и d) и ТЭМ высокого разрешения (e) участка массива
ультратонких нанонитей приведены на рисунке 1.11. Для электрохимических
исследований ученые собрали ионистор, где в качестве электрода исполь-зуется
электрод на основе полученных нанонитей, и получили циклическую
вольтамперограмму, а также кривые зарядки / разрядки.Удельная емкость нанонитей
оказалась равной 279 Ф/г, что является наивысшим значением, полученным для
одномерных структур MnO2. Кроме того, электрод демонст-рирует высокую
устойчивость к разряду.[22-23]
Рис. 1.10. РФА-спектр полученных ультратонких
нанонитей.
Рис. 1.11. Уменьшенная (а) и увеличенная (b)
СЭМ-фотографии, ТЭМ (c и d) и ТЭМ высокого разрешения (e) участка массива
ультратонких нанонитей.
В настоящее время разработкой и производством
ХИТ в России занято не менее 50 предприятий и организаций. Предприятия
разделены на две группы, это деление условно, например, саратовский завод
«Электроисточник», выпускающий СКА, активно работает в области разработки и
производства серебряно-цинковых батарей для нужд ВМФ РФ и Роскосмоса. ООО
«Курский завод «Аккумулятор» изготавливает как щелочные, так и
свинцово-кислотные аккумуляторы.Производители ХИТ распределены по территории
России относительно равномерно. Так, на Урале и в Сибири действуют 8 достаточно
крупных заводов, остальные разработчики и производители находятся в Европейской
части. Исторически образовалось несколько крупных центров, где сосредоточено
несколько производителей и разработчиков ХИТ.К ним относятся: Санкт-Петербург
(3 крупных производителя, несколько мелких), Тюмень (около 38% от общего
производства автомобильных аккумуляторов, выпущенных в первом полугодии 2007
года и строящийся завод по переработке свинцового лома), Саратов (5
предприятий, из них 2 крупных завода), Москва и Московская область (не менее 10
предприятий различного профиля).Большая часть предприятий отечественной
аккумуляторной промышленности приватизирована, лишь несколько предприятий
находятся в федеральной собственности (ФГУП) либо являются ОАО со 100%
государственным капиталом.[26]
Наряду с крупными производителями (например,
заводы в Тюмени и Курске), на рынке ХИТ действуют малые предприятия (ООО «Фирма
«Альфа-плюс», ЗАО «НПО «ТехноКор», ЗАО «ЭЛИТ» и другие).
Кроме предприятий, построенных в «советское»
время, достаточно успешно функционирует ряд новых предприятий, таких как ЗАО
«НПКФ «Алькор», г. Тюмень, ООО «Исток», г. Курск, ЗАО «Аком», г. Жигулевск
Самарской области и другие. Часть из них работает на комплектующих, получаемых
по импорту. В последнее время появились тенденции к укрупнению бизнеса в
области производства ХИТ. Так, ОАО «Трансмашхолдинг» контролирует щелочные
заводы в г. Великие Луки и в г.Саратове (59.9% объема производства щелочных
аккумуляторов по итогам первого полугодия 2007 года), а на долю холдинга «Русские
аккумуляторы» (заводы в г.Подольске, Саратове, Курске) приходится 43.7% от
общего объема выпущенных в первом полугодии 2007 года свинцово-кислотных
аккумуляторов.[27]
Основные тенденции в области ХИТ в России можно
свести к следующему: потребление ХИТ в целом в России увеличивается, и такое
увеличение будет продолжаться. Темпы роста будут определяться темпами роста
уровня жизни (благосостояния) граждан, общими темпами роста объемов
промышленного производства и темпами роста и модернизации вооруженных сил страны.
Вместе с тем, на фоне основных мировых тенденций в области ХИТ:
производство традиционных источников тока в
стране снижается;
выпуск многих типов современных источников тока
пока в России не налажен серийно;
производство первичных элементов (одноразовых
источников тока массового потребления) практически ликвидировано;
технический уровень серийно выпускаемых ХИТ в
стране уступает среднему мировому техническому уровню ХИТ;
номенклатура выпускаемых ХИТ значительно
уступает номенклатуре основных зарубежных производителей;
многие сектора на рынке потребления ХИТ, включая
стратегически важные, почти на 100% зависят от импорта;
российский первичный рынок для ХИТ в настоящее
время неблагоприятен для отечественных производителей;
рынок современных материалов для производства
ХИТ практически не существует;
проблема развития отечественного производства
ХИТ находится вне сферы внимания правительства;
благоприятные условия для привлечения крупных
бизнес-структур в область производства ХИТ еще не созданы;
существующее положение с бюджетным
финансированием в области ХИТ малоэффективно.
До настоящего времени не устранены условия и
причины для дальнейшего снижения доли отечественных производителей в общем
объеме потребления ХИТ. Так, производство свинцово-кислотных аккумуляторов в
России за шесть месяцев 2007 года составляет 88,9% по сравнению к показателям
первого полугодия 2006 года. Показатели 2006 года составляют 93,6% к
показателям 2003 года.[26]
Производство щелочных аккумуляторов в первом
полугодии 2007года составило 65,5% к аналогичному периоду 2006 года, а объемы
2006 года по отношению, например, к 2004году составляют 71,8%. Представленные
данные свидетельствуют о том, что на протяжении более 10 лет идет снижение
объемов производства ХИТ. Целесообразно вышеперечисленные и другие тенденции
более подробно отразить применительно к основным группам ХИТ[28]
. МЕТОДИКА ЭКСПЕРИМЕНТА
2.1 Сборка макетов
источника тока
Проведены сравнительные испытания макетов литий
диоксид марганцевых первичных элементов с гель-полимерным электролитом и в
твердофазном исполнении. Макетирование источников тока проводили в
трехэлектродной экспериментальной ячейке из полипропилена представленной на
рисунке 2.1.
Перед проведением эксперимента для удаления
загрязнения экспериментальная ячейка промывалась раствором ацетона, после чего
для удаления остаточной влаги подвергалась термообработке при температуре 100°С
в сушильном шкафу. Непосредственно перед сборкой для удаления следов влаги
экспериментальная ячейка выдерживалась в боксе при 6БП1-ОС в атмосфере
осушенного аргона в течение 2 часов. Процесс сборки трехэлектродной ячейки
отличался в случае испытания макетов твердофазного источника тока и макетов
источников тока с гель-полимерным электролитом.
Сборка макета источника тока с гель-полимерным
электролитом состояла из ряда последовательных операций: катод помещался на дно
ячейки и пропитывался раствором перхлората лития в пропилен карбонате в течение
нескольких часов. Сверху на катод помещался гель-полимерный электролит. На
электролит накладывался анод из литиевой фольги. Равномерность поджатия
электродов обеспечивалась посредством пружины. Токосъем осуществлялся с помощью
стержней из нержавеющей стали, плотно прижатых к ушкам токоотводов электродов.
Рабочая поверхность электродов составляла 1 см2. Герметичность собранной
экспериментальной ячейки обеспечивалась резиновой прокладкой. Сборка ячейки
проводилась в боксе 6БП1-ОС в атмосфере осушенного аргона.
Сборка макета твердофазного источника тока была
практически идентичной и отличалась отсутствием стадии пропитки положительного
электрода электролитом и использованием твердополимерного электролита вместо
гель-полимерного в межэлектродном пространстве макета.

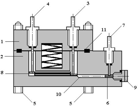
- крышка; 2 - корпус; 3 - токосъем
катода; 4 - токосъем анода; 5 - стягивающие болты; 6 - литиевый электрод
сравнения; 7 - токосъем литиевого электрода; 8 - электродный блок, состоящий из
катода (снизу), анода (сверху) и между ними полимерного электролита; 9 -
заглушка с прокладкой; 10 - соединительный желоб, наполненный раствором
электролита; 11- герметизирующее кольцо.
В обоих случаях в качестве электрода
сравнения в трехэлектродной полипропиленовой ячейке был использован литиевый
электрод сравнения, который представлял собой кусок металлического лития,
погруженного в раствор литиевой соли в апротонном диполярном растворителе и
контактирующего посредством растворителя с электродным блоком. Токосъем
осуществляется с помощью стержня из нержавеющей стали, погруженного в литий.
2.2
Приготовление электролитов
Гель-полимерный электролит готовили
следующим образом: порошок полимера растворяли в тетрагидрофуране (ТГФ) из
расчета 0,1 г на 5 мл. Полученный раствор полимера выливали в чашку Петри и
выдерживали в сушильном шкафу при температуре 100°С в течение 1-1,5 часов.
Полученные пленки имели толщину около 1 мкм. Далее для получения
гель-полимерного электролита пленка полимера пропитывалась пластификатором, в
качестве которого использовали 1М раствор перхлората лития в смеси 40%
пропиленкарбоната и 60% тетрагидрофурана. Соотношение компонентов определялось
приведенной вязкостью полимера. Пропитка осуществлялась в бюксе в боксе 6БП1-ОС
в атмосфере осушенного аргона. После пропитки гель-полимерный электролит
выдерживался в закрытом бюксе в боксе в течение 18-20 часов. Электропроводность
полученного электролита 1*10-2 См/см
Жидкий электролит которым
осуществлялась пропитка положительного электрода в случае макетирования источника
тока с гель-полимерным электролитом 1М раствор перхлората лития в смеси 40%
пропиленкарбоната и 60% тетрагидрофурана.
Твердофазный электролит готовили
методом полива, в соответствии с которым полимер - полисульфон и соль -
перхлорат лития, растворяли в органическом растворителе - диметилацетомиде.
Полученную систему перемешивал на ультразвуковом стенде УЗ-1. Затем
синтезированный раствор выливали в чашку Петри и подвергали термообработке до
полного удаления растворителя и формирования тонкой пленки электролита 1-10
мкм. Электропроводность полученного электролита 1*10-3 См/см
2.3
Приготовление отрицательного электрода
Слитки лития марки ЛЭ-1 ГОСТ 8774-75
(с содержанием суммы примесей щелочных и щелочноземельных металлов около 0,3%)
очищали от слоя масла промыванием в декане. Затем очищенный слиток помещали в
бокс с атмосферой осушенного аргона и разрезали хирургическим скальпелем на
пластины толщиной около 5 мм. Методом прокатки лития через специальные вальцы
получали литиевую фольгу толщиной порядка 0,25 - 0,5 мм. Поверхность
прокатанного лития имела металлический блеск. Следы потускнения и вкраплений
гидроокиси лития на поверхности отсутствовали. Из фольги ножницами вырезали
прямоугольник со сторонами 10 мм на 10 мм и помещали его на токоотвод из никелевой
просечной сетки. Затем посредством вальцов литиевую фольгу напрессовывали на
токоотвод. Для снятия остаточного механического напряжения литиевый электрод
помещался в бюкс с притертой крышкой и подвергался термообработке при
температуре 100°С.
2.4 Приготовление
положительных электродов
Методология изготовления катодов для
макетов источников тока в твердофазном исполнении и с гель-полимерным
электролитом различалась. В обоих случаях в качестве активного вещества
использовали ХДМ диоксид марганца фирмы Faradiser М (Бельгия)
Катоды для макета источника тока с
гель-полимерным электролитом состояли из токоотвода - титановой сетки и
катодной массы на нее напресованной. Катодная масса состояла из 85% активного
вещества - MnO2, 10% сажи, необходимой для повышения электропроводности
катодной массы и 5% фторопласта, обеспечивающего эластичность положительных
электродов. Все компоненты активной массы смешивались, затем массе давали
высохнуть, после чего ее перемалывали и прессовали на сетку. Технология
приготовления катода содержащего жидкий электролит включала в себя следующие
операции: перемешивание активной массы со связующим (фторопластовая суспензия)
и электропроводной добавкой; Добавление в полученную смесь спирта до получения
однородной вязкой массы; Раскатка массы; Сушка в печи; Повторная раскатка;
Напрессовка на токоотвод; Отжиг в печи при 300ºС; Выдержка
в аргоне. Площадь полученных электродов составляла 1 см2
Технология изготовления
твердофазного катода была более простой. Компоненты активной массы: 80% диоксида
марганца, 10% пирографита и 10% твердополимерного электролита (80% полимера
полисульфана и 20% перхлората лития) смешивались ультразвуком в
диметилацетомиде. Полученную смесь термообрабатывали в сушильном шкафу при
100°С в течении 12 часов. Полученную твердофазную массу обрабатывали на
аппаратуре Бридмена давлением 2,0 ГПа, угол поворота наковален составлял 360°С.
Полученные после обработки диски дробили в шаровой мельнице до получения
одноргдного порошка активной массы, который напрессовывали на титановую сетку
давлением 150 кгс/см2. Площадь полученных электродов составляла 1 см2.
2.5
Измерительные приборы
Электрохимические исследования
проводились с использованием потенциостата IPC-proM. Данные по напряжению
разряда макета элемента определялись по показанию вольтметра В7-21А.
Стабильность тока, протекающего по электрической цепи, контролировалась по
миллиамперметру, встроенному в потенциостат. Считалось, что активное
сопротивление соединительных проводов пренебрежимо мало по сравнению с внутренним
сопротивлением исследуемого макета элемента. Измерительная цепь вольтметра
подключалась непосредственно к клеммам элемента (см. рисунок 2.2).
2.6
методика измерения пористости
Измерение пористости испытуемых
катодов проводилось методом эталонной контактной порометрии, позволяющим
измерить кривые распределения пор по радиусам в широком диапазоне от 10 до 107
Ангстрем. Этот метод лишен недостатков, присущих методу ртутной порометрии и
методу капиллярной конденсации (диапазон радиусов пор от 500 до 1000 Ангстрем).
источник ток катод
пористость
Рисунок 2.2 - Схема измерительной
установки
В основу рассматриваемого метода
положен тот факт, что в системе контактирующих твердых пористых тел (эталона и
исследуемого образца) устанавливается капиллярно-равновесное распределение
смачивающей жидкости при ее переменном содержании. Любые перемены,
затрагивающие содержание жидкости в данной системе, могут происходить как через
паровую фазу - испарением или конденсацией, так и через жидкую фазу - пропиткой
или капиллярным отсасыванием.
В данном методе нижняя граница
измерения радиуса пор определяется соизмеримостью пор с размерами молекул
жидкости. С другой стороны, верхняя граница определяется влиянием
гравитационного поля на капиллярное давление.
В работе применялся испарительный
вариант эталонной контактной порометрии с использованием декана в качестве
рабочей жидкости.
Максимальная пористость катода
определялась методом гидростатического взвешивания на аналитических весах
ВЛР-200Г.
Определив объем пор образца (Vп) и
объем твердой фазы (Vтв) можно вычислить значение максимальной пористости
катода (gmax) по формуле:
= Vп/(Vп + Vтв).
. РЕЗУЛЬТАТЫ И ИХ ОБСУЖДЕНИЕ
По данным эталонной контактной
порометрии катодов использованных в макетах элементов с гель-полимерным
электролитом пористость образцов находится на уровне 20%, разброс значений
пористости не превышает ±5%. Пористость твердофазных катодов не измерялась и
условно принималась и они условно рассматривались как безпористые системы
На рисунке 3.1 представлены
вольт-амперные характеристики катодов макетов литиевых элементов с диоксид
марганцевым катодом. Не смотря на некоторое превосходство макетов литиевых
источников тока в твердофазном исполнении над аналогами с гель-полимерным электролитом
по значению напряжения разомкнутой цепи, в целом, внутреннее сопротивления
твердофазного макета более высокое, что выражается в более интенсивном падении
его напряжения в процессе разряда. Полученный результат можно объяснить более
высоким значением электропроводности гель-полимерного электролита заполняющего
межэлектродное пространство макета источника тока на его основе и жидкого
электролита находящегося в структуре катода такого источника по сравнению с
твердополимерным электролитом, используемом в макете твердофазного элемента,
как в межэлектродном пространстве, так и в структуре катода.
Последующий анализ разрядных
характеристик показанных на рисунке 3.2 и снятых при плотности разрядного тока
0,03 мА/см2 показал, что по мере работы макетов источников тока, параметры
твердофазного макета более стабильны и снижаются медленнее чем у аналога на
базе гель-полимерного электролита. В первую очередь полученный результат можно
связать с инертностью твердополимерного электролита по отношению к материалам
литиевого источника тока. Так с одной стороны из рисунка 3.3 видно, что в
процессе разряда поляризация литиевого анода твердофазного источника
существенно снижается в первые часы работы и затем стабилизируется на
достаточно невысоком уровне - это связано с приработкой твердополимерного
электролита к поверхности литиевого электрода. С другой стороны из рисунка 3.4
видно, что после 4-х месячного хранения в составе макета разрядная кривая
твердофазного источника тока практически не изменилась, т.е. саморазряд данного
макета практически не имел места. Анализ параметров макета элемента с
гель-полимерным электролитом (см. рисунки 3.2 и 3.4) указывает на
взаимодействии компонентов жидкого электролита содержащегося в геле и структуре
катода как с литиевым анодом так и с материалами положительного электрода. Так
по мере разряда поляризация макета литиевого источника с гель-полимерным
электролитом монотонно увеличивается, также имеет место значительный саморазряд
данного макета в процессе хранения.
Эксперимент показал, что удельная
емкость диоксид марганцевого катода в твердофазном источнике тока при плотности
тока 0,030 мА/см2 достигает 310 мА*ч/г, в то время как в источнике тока с
гель-полимерным электролитом она не превышает 250 мА*ч/г. Таким образом для
невысоких плотностей разрядного тока и длительных интервалов хранения перед
разрядом твердофазные системы являются более предпочтительными, чем системы с
гелеобразным электролитом.
Рисунок 3.1 Вольт-амперные
характеристики макетов литиевых элементов с диоксид марганцевым катодом.
Рисунок 3.2 Разрядные характеристики
макетов литий-диоксид марганцевых элементов
Рисунок 3.3 Разрядные характеристики
литиевых электродов
Рисунок 3.4 Разрядные характеристики
макетов литий-диоксид марганцевых элементов
. РАСЧЕТНАЯ ЧАСТЬ
Элемент с ГПЭ (использованы чертежи CR2325 ОАО
“Энергия”)
а) Полный объем положительного
электрода:
+= (π∙d2)∙L/4= 3,14∙1,92∙0,1498/4=
0,425 см3
б) Объем твердой фазы электрода (в
качестве оптимальной пористости выбрана пористость 50%):
тв= V+∙(1-χ) =
0,425∙(1-0,5)= 0,2125 см3
в) Определение массы твердого
вещества в объеме положительного электрода:
акт=mMnO2+mток пров.
доб
+mфп.=mакт∙0,8
+mакт∙0,1
+mакт∙0,1тв = mакт∙0,8/ρ MnO2+ mакт∙0,1/ρток пров.
доб + mакт∙0,1/ρ фп
,2125 = mакт∙0,8/5,36+
mакт∙0,1/2,2+
mакт∙0,1/1,43
mакт = 0,88г
Рассчитаем массы компонентов:
2= 0,8∙mакт = 0,704г
mток пров.
доб = 0,1∙mакт = 0,088г
mфп= 0,1∙mакт = 0,088г
г) Определение массы электролита в
объеме положительного электрода
Vж=0,425-0,2125=0,2125
см3
Электролит:
Материал - раствор LiClO4 в смеси
сорастворителей ПК и ТГФ (40% и 60%)
ρэл = 1,27 г/см3
Масса электролита mэл.к = ρэл * Vж = 0,2699г
Масса катода mк = mакт + mэл.к =
0,88+0,2699 = 1,1499г
г) Реальная емкость элемента:
Сэл, реал.= mакт∙Ск.реал
= 0,88∙0,25= 0,22 А∙ч
д) Масса элемента
Базовые элементы конструкции оставим
неизменными, поэтому:
конст = mкорп + mкрыш =
1,03+0,70 = 1,73г
mтс = mпол + mотр = 0,016
+ 0,014 = 0,03г
Масса прокладки
Материал - полипропилен
ρпп =
0,989г/см3
прок= ρпп ∙Vпрок= ρпп∙((π/4)∙(D2-dмен2)∙hниж+(π/4)∙(D2-dср2)∙hверх+(π/4)∙(dвыс
2-dмен2)∙hвыс)
= 0,989∙((3,14/4)∙(2,2452-1,92)∙0,13+(3,14/4)∙(2,2452-2,1952)∙0,09+(3,14/4)
∙(1,962-1,92)∙0,02) = 0,16г
Масса активного материала анода
ρL i= 0,56г/см3
= ρL i∙VLi
= (ρL i∙π∙d2∙h)/4 = (0,56∙3,14∙1,852∙0,05)/4
= 0,075г
Масса электролита
Материал - пленка полимера
(полисульфона) пропитанная пластификатором (раствор LiClO4 в смеси
сорастворителей ПК и ТГФ (40% и 60%)).
Масса полимерной основы
ρпол = 1,215 г/см3
mпол = ρпол∙Vпол = (ρпол∙π∙dпол2∙hпол)/4 =
(0,215∙3,14∙2,22∙0,0001)/4 = 0,0008г
Масса пластификатора
ρпласт = 1,27 г/см3
пласт = ρпласт∙Vпласт в эл
+ ρпласт∙Vпласт в пол
= ρэл∙(π∙dпол эл2∙hпол эл ∙χ/4) +ρэл∙(π∙dпол2∙∆hнаб/4)=
1,27∙(3,14∙1,92∙0,1498∙0,5/4)+1,27∙(3,14∙2,22∙0,0001/4)
= 0,270г
пол эл = mпол + mпластиф =
0,270 + 0,0008 = 0,2708г
Масса элемента
элем. = mLi + mк. + mконст + mтс + mпрок + m пол эл
=0,075+1,1499 +1,73+0,03+0,16+0,2708= 3,4157г
е) Реальная удельная емкость
элемента:
Сэл, реал. уд.= Сэл, реал/mэл =
0,22/3,4157= 0,0644 А∙ч/г
ж) Реальная энергия элемента
Примем за среднее разрядное
напряжения элемента напряжение полученное при испытаниях положительного
электрода в 3 В
эл, реал.=
Сэл.реал∙U
= 0,22∙3= 0,66 Вт∙ч
з) Реальная удельная энергия
элемента
эл, реал. уд.= Wэл, реал/mэл=
0,66/3,4157 = 0,1932 Вт∙ч/г
и) Реальная мощность на расчетный
режим (0,25мА)
реал = I∙U=0,00025∙3
=0,00075 Вт
к) Реальная удельная мощность на
расчетный режим (0,25мА)
реал = I∙U/ mэл =0,00025∙3/3,4157г
=0,000219 Вт/г
Элемент с ТПЭ (использованы чертежи CR2325 ОАО
“Энергия”)
а) Полный объем положительного
электрода:
+= (π∙d2)∙L/4= 3,14∙1,92∙0,1498/4=
0,425 см3
б) Объем твердой фазы электрода:
Vтв= V+= 0,425 см3
в) Определение массы твердого
вещества в объеме положительного электрода:
акт=mMnO2+mток пров.
доб
+mтпэ.=mакт∙0,8
+mакт∙0,1
+mакт∙0,1тв = mакт∙0,8/ρ MnO2+ mакт∙0,1/ρток пров.
доб + mакт∙0,1/ρ фп
,425= mакт∙0,8/5,36+
mакт∙0,1/2,2+
mакт∙0,1/1,43
mакт = 1,605г
Рассчитаем массы компонентов:
mMnO2= 0,8∙mакт = 1,284г
mток пров.
доб = 0,1∙mакт = 0,1605г
mтпэ= 0,1∙mакт =
0,1605г
г) Реальная емкость элемента:
Сэл, реал.= mакт∙Ск.реал
= 1,605 ∙0,25= 0,4013 А∙ч
д) Масса элемента
Базовые элементы конструкции оставим
неизменными, поэтому:
конст = mкорп + mкрыш =
1,03+0,70 = 1,73г
mтс = mпол + mотр = 0,016
+ 0,014 = 0,03г
Масса прокладки
Материал - полипропилен
ρпп =
0,989г/см3
прок= ρпп ∙Vпрок= ρпп∙((π/4)∙(D2-dмен2)∙hниж+(π/4)∙(D2-dср2)∙hверх+(π/4)∙(dвыс
2-dмен2)∙hвыс)
= 0,989∙((3,14/4)∙(2,2452-1,92)∙0,13+(3,14/4)∙(2,2452-2,1952)∙0,09+(3,14/4)
∙(1,962-1,92)∙0,02) = 0,16г
Масса активного материала анода
Материал - литий
ρL i= 0,56г/см3
mLi = ρL i∙VLi
= (ρL i∙π∙d2∙h)/4 = (0,56∙3,14∙1,852∙0,05)/4
= 0,075г
Масса электролита
Материал - пленка полимера
(полисульфона) пропитанная пластификатором (раствор LiClO4 в смеси
сорастворителей ПК и ТГФ (40% и 60%)).
Масса полимерной основы
ρпол = 1,215 г/см3
пол = ρпол∙Vпол =
(ρпол∙π∙dпол2∙hпол)/4
= (0,215∙3,14∙2,22∙0,0001)/4 = 0,0008г
Масса пластификатора
ρпласт = 1,27 г/см3
пласт = ρпласт∙Vпласт в эл
+ ρпласт∙Vпласт в пол
= ρэл∙(π∙dпол эл2∙hпол эл ∙χ/4) +ρэл∙(π∙dпол2∙∆hнаб/4)=
1,27∙(3,14∙1,92∙0,1498∙0,5/4)+1,27∙(3,14∙2,22∙0,0001/4)
= 0,270г
пол эл = mпол + mпластиф =
0,270 + 0,0008 = 0,2708г
Масса элемента
элем. = mLi + mк. + mконст + mтс + mпрок + m пол эл =
=0,075+1,605 +1,73+0,03+0,16+0,2708=
3,8708г
е) Реальная удельная емкость
элемента:
Сэл, реал. уд.= Сэл, реал/mэл =
0,4013/3,8708= 0,1038 А∙ч/г
ж) Реальная энергия элемента
Примем за среднее разрядное
напряжения элемента напряжение полученное при испытаниях положительного
электрода в 3 В
эл, реал.=
Сэл.реал∙U
= 0,4013∙3= 1,2039 Вт∙ч
з) Реальная удельная энергия
элемента
эл, реал. уд.= Wэл, реал/mэл=
1,2039/3,8708 = 0,311 Вт∙ч/г
и) Реальная мощность на расчетный
режим (0,25мА)
реал = I∙U=0,00025∙3
=0,00075 Вт
реал = I∙U/ mэл =0,00025∙3/3,8708г
=0,000134 Вт/г
В таблице 4.1 приведено сравнение
характеристик исследуемых элементов с ГПЭ и ТПЭ, а также с ближайшим аналогом -
зарубежным литий-диоксид марганцевым элементом фирмы Matsushita
Таблица 4.1. - Характеристики
источников тока
|
Тип
источника тока
|
Элемент
с ТПЭ
|
Элемент
с ГПЭ
|
Li/MnO2 фирмы
Matsushita [6]
|
|
Емкость,
А∙ч
|
0,4013
|
0,22
|
0,19
|
|
Уд.
емкость А∙ч/г
|
0,1038
|
0,0644
|
0,0594
|
|
Энергия,
Вт∙ч
|
1,2039
|
0,66
|
0,57
|
|
Уд.
энергия, Вт∙ч /г
|
0,311
|
0,1932
|
0,178
|
По результатам сводной таблицы можно сделать
вывод, что емкость исследуемого источника тока с ТПЭ на 82,4% выше емкости
элемента с ГПЭ и на 111,2 % превышает ближайший аналог -литий-диоксид
марганцевый элемент фирмы Matsushita.
Выводы
. Проведен сравнительный анализ макетов
литий-диоксид марганцевых элементов с твердополимерным и жидким электролитом.
Установлены особенности работы, преимущества и недостатки данных элементов.
. Показано, что сравнительно невысокая
электропроводно твердополимерного электролита может несколько ограничивать
область применения твердофазных систем для высокомощных потребителей в пользу
элементов с гелеобразным электролитом.
. Установлено, что при взаимодействии с
гель-полимерным электролитом поляризация литиевого электрода в процессе разряда
несколько возрастает, вероятно из-за взаимодействия пластификатора с
металлическим литием. Данные эффект не возникает при контакте литиевого
электрода с твердополимерным электролитом в составе макета твердофазного
источника тока ввиду низкой химической активности полимера по отношению к
литию.
. В процессе хранения макетов элементов
установлено, что саморазряд твердофазного макета литиевого источника тока в
отличие от макета с гелеобразным электролитом практически неподвержен
саморазряду, так как в порах его катода полностью отсутствует агрессивный
жидкий электролит.
. Расчетным методом показано, что по
энергетическим параметрам твердофазные литиевые источники тока в типоразмере CR-2325
значительно превосходят аналоги с гельполимерным и жидким электролитом
Список литературы
1.Кедринский
И.А., Дмитриенко В.Е., Грудянов И.И. Литиевые источники тока. - М.:
Энергоатомиздат.- 1992. - 241 с
2.Технические
ресурсы c айта <http://www.power.info>
.Хрусталёв
Д.А. Аккумуляторы. М: Изумруд, 2003.
.
Багоцкий В.С., Скундин А.М. Химические источники тока. М.: Энергоиздат, 1981.
360 с.
.
Кромптон. Т. Первичные источники тока. Москва. «Мир». 1986.г.
.
Коровин Н.В. Химические источники тока: Справочник. - Москва: Издательство МЭИ.
- 2003. - 740 с.
.
Электротехнический справочник. В 3-х т. Т.2. Электротехнические изделия и
устройства/под общ. ред. профессоров МЭИ (гл. ред. И. Н. Орлов) и др. 7 изд. 6
испр. и доп. М.: Энергоатомиздат, 1986. 712 с.
.Сербиновский
М.Ю. Литиевые источники тока: конструкции, электроды, материалы, способы
изготовления и устройства для изготовления электродов / Рос. гос. ун-т. -
Ростов-н/Д: РГУ, 2001. - 155 с.
.
Н.Л.Глинка. Общая химия. Издательство "Химия" 1977.
..
Н.В. Коровин, Э.Л. Филиппов. "Электрохимические процессы". - Москва,
1973 г. -374с.
.
А.И. Левин "Теоретические основы электрохимии". - М.: Металлургия,
1972- 391 с.
.Ковшов
А. Н., Назаров Ю. Ф., Ибрагимов И. М. Основы нанотехнологии в технике; Академия
- Москва, 2011. - 240 c
.
Технические ресурсы сайта <http://www.ru.wikipedia.ru>
.Багоцкий
B.C., Скундин A.M. Проблемы в области литиевых источников тока //
Электрохимия.- 1995. - Т.31. - №4. - С.340
.
Елецкий, А.В. Углеродные нанотрубки // Успехи физических наук. - 1997. - Т 167,
№9 - С. 945 - 972
.
Анализ мирового и российского рынка литиевых источников тока и перспективы его
развития / Сост. Н.Е. Смольская. М: Институт промышленного развития.- 1995. -
63 с.
.
Фатеев С.А. Современные источники тока для кардиоэлектроники //
Электрохимическая энергетика. 2011. - Т. - 11, №4. - с. 223-228
.Цветников
А.К., Попович А.А., Онищенко Д.В., Обляков Д.Ю., Курявый В.Г. Инновационные
катодные материалы для первичных литиевых источников тока// Исследовано в
России.-2007.-C 1-2, 16-18.
Солнцев
Ю. П., Пряхин Е. И., Вологжанина С. А., Петкова А. П. Нанотехнологии и
специальные материалы; Химиздат - Москва, 2009. - 336 c.
.
Ковшов А. Н., Назаров Ю. Ф., Ибрагимов И. М. Основы нанотехнологии в технике;
Академия - Москва, 2011. - 240 c
.
Титов А.А., Воробьева М.В., Куршева В.В., Гусев А.Л. Перспективные катодные
материалы для литий - ионных источников тока: преимущества и недостатки
//Альтернативная энергетика и экология. 2011. № 12. С. 112 -126.
.
Данилин Б.С. Вакуумные технологические процессы и оборудование микроэлектроники
/ Данилин Б.С. - М.: Машиностроение, 1987. - 71 с.
.
Блинов И.Г., Мелехин Ю.Я., Панфилов Ю.В. Процессы и оборудование для нанесения
тонких пленок в вакууме. Уч. пособие. М.: Изд. МИЭТа, 1987. - 72 с. Пат.
4763602 США, МКИ 54 0 С23 С14
.Волков
Г. М. Объемные наноматериалы; КноРус - Москва, 2011. - 168 c.
.
Федосеева Ю.В. Рентгеноспектральное исследование электронной структуры
фторированных углеродных нанотрубок: Автореф. Дис … канд. физ. мат. наук.-
Новосибирск, 2011.-С 1-2
.
Красовский А.М. Получение тонких пленок распылением полимеров в вакууме / А.М.
Красовский, Е.М. Толстопятов. - Минск: «Наука и техника», 1989. - 208 с.
.
Скундин А.М. Современное состояние и перспективы развития исследований литиевых
аккумуляторов / Скундин А.М., Ефимов О.Н., Ярмоленко О.В. // Успехи химии. -
2002. -Т. 71, № 4. - С. 379.
.Состояние
и перспективы развития производства химических источников тока в России//
Аналитич.записка.-Москва.- 2007.- 4c.
.
Онищенко Д.В. Современное состояние вопроса использования,развития и
совершенствования химических источников тока// Исследовано в России.-2007.-C 1,
7
.
Материалы сайта powerpuck.ru