Классификация теплообменных аппаратов
Оглавление
Введение. Классификация теплообменных аппаратов
1. Теплообменные аппараты с неподвижными трубными решетками
2. Теплообменные аппараты с неподвижными трубными решетками и с
линзовым компенсатором на кожухе
3. Теплообменные аппараты с плавающей головкой
4. Теплообменные аппараты с U-образными трубами
5. Конструктивный тепловой расчёт
6. Проверочный тепловой расчет
7. Графическая часть курсовой работы
Вывод
Список литературы
Введение.
Классификация теплообменных аппаратов
В реальных условиях передача теплоты чаще всего происходит
при изменяющихся температурах теплообменивающихся сред. Типичным и наиболее
распространенным техническим устройством, в котором теплопередача
осуществляется при переменных температурах, является теплообменный аппарат.
Теплообменный аппарат - это устройство,
предназначенное для передачи теплоты от одного теплоносителя к другому.
Теплообменные аппараты широко применяются в нефтедобывающей,
газовой, нефтеперерабатывающей и химической промышленности. Широкое
использование теплообменного оборудования в нефтяной и газовой промышленности
обязывает специалистов уметь их рассчитывать, обобщать опыт их эксплуатации,
анализировать рабочий процесс и намечать пути повышения эффективности их
работы. Эффективная работа теплообменных аппаратов приводит к экономии энергии,
сокращению расхода топлива и улучшает технико-экономические показатели
производственных процессов.
По принципу действия теплообменные аппараты делятся на рекуперативные,
регенеративные и смесительные.
В рекуперативных теплообменных аппаратах горячий и холодный
теплоносители одновременно омывают с разных сторон поверхность теплообмена, а
тепловой поток передается от горячего к холодному теплоносителю через
разделяющую их стенку.
В регенеративных теплообменных аппаратах горячий и холодный
теплоносители омывают одну и ту же поверхность теплообмена последовательно. При
омывании поверхности теплообмена горячий теплоноситель отдает ей теплоту, а
затем ту же поверхность омывает холодная теплоноситель, которая, получая
теплоту, нагревается.
теплообменный аппарат трубная решетка
В рекуперативных и регенеративных теплообменных аппаратах в
процессе теплоотдачи между теплоносителями участвует поверхность теплообмена,
поэтому эти аппараты называют поверхностными.
В смесительных теплообменных аппаратах теплопередача между
теплоносителями осуществляется путем их непосредственного смешения. Эти
теплообменные аппараты называют контактными.
По назначению теплообменные аппараты делятся на конвективные
(нагреватели и холодильники), испарители, конденсаторы и кристаллизаторы.
В конвективных теплообменных аппаратах не происходит
агрегатного превращения теплоносителей.
В испарителях происходит испарение холодного теплоносителя
или компонентов холодного теплоносителя.
В конденсаторах конденсируется горячий теплоноситель или
компоненты горячего теплоносителя.
Кристаллизаторы используют для охлаждения потока горячего
теплоносителя до температуры, обеспечивающей образование кристаллов некоторых
компонент горячего теплоносителя.
Наиболее широкое распространение в настоящее время получили
кожухотрубные теплообменные аппараты.
Различают следующие типы кожухотрубных теплообменных
аппаратов:
1.
Теплообменные аппараты с неподвижными трубными решетками
- распределительная камера; 2 - кожух; 5 - теплообменная
труба; 4 - поперечная перегородка; 5 - трубная решетка; б - крышка кожуха; 7 -
опора
2.
Теплообменные аппараты с неподвижными трубными решетками и с линзовым
компенсатором на кожухе
- распределительная камера; 2 - трубные решетки; 3 -
компенсатор; 4 - кожух; 5 - опора; 6 - теплообменная труба; 7 - поперечная
"сплошная" перегородка; 9 - крышка.
Потоки: I - испаряющаяся среда; II - конденсат; III - парожидкостная
смесь; IV - водяной пар.
3.
Теплообменные аппараты с плавающей головкой
- крышка распределительной камеры; 2 - распределительная
камера; 3 - неподвижная трубная решетка; 4 - кожух; 5 - теплообменная труба; 6
- поперечная перегородка; 7 - подвижная трубная решетка; 8 - крышка кожуха; 9 -
крышка плавающей головки; 10 - опора; 11 - катковая опора трубчатого пучка
4.
Теплообменные аппараты с U-образными трубами
- распределительная камера; 2 - трубная решетка; 3 - кожух; 4
- теплообменная труба; 5 - поперечная перегородка; 6 - крышка кожуха; 7 -
опора; 8 - катковая опора трубчатого пучка
В зависимости от расположения теплообменных труб различают
теплообменные аппараты горизонтального и вертикального типов.
В зависимости от числа перегородок в распределительной камере
и задней крышке кожухотрубные теплообменные аппараты делятся на одноходовые,
двухходовые и многоходовые в трубном пространстве.
В зависимости от числа продольных перегородок, установленных
в межтрубном пространстве, кожухотрубные теплообменные аппараты делятся на одно
- и многоходовые в межтрубном пространстве.
В настоящей работе выполняется курсовое проектирование, целью
которого является выбор стандартного теплообменного аппарата, обеспечивающего
при заданных массовых расходах (G1 и G2)
температурные режимы теплоносителей (
).
5.
Конструктивный тепловой расчёт
Исходные данные:
|
Теплоноситель
|
Массовый расход
G, кг/с
|
Температура на
входе в ТА t’,°C
|
Температура на
выходе из ТА t”,°C
|
|
Горячий: керосин
Т-1
|
25
|
150
|
40
|
|
Холодный: вода
|
-
|
10
|
30
|
Определение теплофизических свойств горячего и
холодного теплоносителей (сpm, λ, ν, ρ, Pr).
Определим среднюю арифметическую температуру теплоносителей.
°C,
°C
|
Теплоноси-тель
|
Средняя
температура tср,°C
|
Удельная
массовая теплоёмкость cpm,
Дж/ (кг∙К)
|
Коэффициент
теплопровод-ности λ, Вт/ (м∙К)
|
Кинематический
коэффициент вязкости ν, 106
м2/с
|
Плотность ρ, кг/м3
|
Число Pr
|
|
Керосин Т-1
|
95
|
2355
|
0,105
|
0,755
|
770,0
|
13,00
|
20
|
4183
|
0,599
|
1,006
|
988,2
|
7,02
|
Определим мощность теплообменного аппарата.
η - коэффициент, учитывающий тепловые
потери в окружающую среду (от 0,95 до 0,98). Примем η=0,97.
Рассчитаем массовый расход воды.
Q2=η∙Q1
Определим среднюю разность температур между теплоносит. θm.
Для противоточной схемы движения теплоносителей средняя разность
температур между теплоносителями θm рассчитывается по уравнению Грасгофа:
,
где
Определим оптимальный диапазон площадей проходных сечений (f1, f2) и минимальный индекс противоточности Pmin ТА.
Площади проходных сечений:
,
где w - скорость течения теплоносителя в ТА.
Выберем скорости теплоносителей в соответствии с рекомендациями:
Керосин: ω1=0,5-3 м/с; Вода: ω2=0,5-3 м/с.
Выбираем противоток P=1.
Определим водяной эквивалент kF и площадь поверхности F теплообмена ТА.
Вт/К
Коэффициент теплопередачи от горячего к холодному теплоносителю
определяется по соотношению:
где
,
- коэффициенты теплоотдачи в трубном и межтрубном пространстве;
и
- термические сопротивления загрязнений
на внутренней и наружной поверхности теплообменных труб;
- толщина стенки теплообменных труб кожухотрубных ТА (от 1,5 до 3
мм). Примем
м.
- коэффициент теплопроводности стенки теплообменных труб.
αтр=1500 Вт/ (м2К);
αмтр=3000 Вт/ (м2К);
м2К/Вт
м2К/Вт
м2К/Вт
Вт/ (м2К)
В итоге площадь поверхности теплообмена ТА:
Предварительный выбор ТА по каталогу.
а) Выбираем теплообменник с плавающей головкой.
б) По значениям вязкости теплоносителей и термических загрязнений
направляем воду в трубное, а керосин в межтрубное пространство.
в) По диапазону площадей проходных сечений трубного и межтрубного
пространства, а также по величине расчётной площади поверхности теплообмена,
предварительно выбираем следующий ТА.
Характеристики ТА:
|
Диаметр кожуха,
мм
|
Наруж. диам.
труб dн, мм
|
Число ходов по
трубам nx
|
Площадь
проходного сечения f·10-2,
м2
|
Площ. пов.
теплооб F, м2
|
|
Наруж.
|
Внут.
|
|
|
Одного хода по
тр. fтр
|
В вырезе
перегородки fв. п.
|
Между
перегородками fм. п.
|
Длина тр. l=6000 мм.
|
|
-
|
1000
|
25
|
6
|
3,6
|
10,2
|
13
|
Рассчитаем коэффициенты теплоотдачи от горячего
теплоносителя к стенке α1 и от стенки к холодному
теплоносителю α2.
Коэффициент теплоотдачи в трубном пространстве:
Re, Pr, Gr - числа подобия теплоносителя, движущегося в теплообменных трубах
ТА, при средней арифметической температуре потока; Prc - число Прандтля теплоносителя,
движущегося в теплообменных трубах ТА, при средней температуре стенки тубы; λтр - коэффициент теплопроводности теплоносителя, движущегося
в теплообменных трубах ТА.
Средняя скорость теплоносителя в трубном пространстве выбранного
стандартного ТА:
Число Рейнольдса:
Режим турбулентный, из таблицы определяем следующие константы: C=0,021; j=0,8; y=0,43; i=0;
Определим
из таблицы при
:
Подставим:
Рассчитаем коэффициент теплоотдачи теплоносителя в межтрубном
пространстве:
,
где значения коэффициентов С, Сz, C1, m, n выбираются из таблицы в зависимости от
расположения труб в пучке и значения числа Рейнольдса:
Выберем расположение труб в пучке в виде треугольника.
Вычислим среднюю скорость теплоносителя в межтрубном пространстве:
Посчитаем число Рейнольдса:
Выбираем коэффициенты:
m=0,6; n=0,36; C1=0,36; C=0,718; Cz=1;
Рассчитаем
: 
Уточняем k:

Уточняем Fрасч.:
м2;
Погрешность
|
Диаметр кожуха , мм1000
|
|
|
Наружный диаметр
теплообменных труб , мм25
|
|
|
Число ходов по
трубам, 6
|
|
|
Площади
проходного сечения одного хода:
|
|
|
По трубам , 3,6 ·10-2
|
|
|
В вырезе
перегородки , 10,2·10-2
|
|
|
Между
перегородками , 13·10-2
|
|
Площадь поверхности теплообменника равна 302 м2.
Длина трубы l = 6000 м.
Для удовлетворения поверхности теплообмена необходима система
из 5 таких теплообменников.
6. Проверочный
тепловой расчет
Определяем фактическую тепловую мощность
выбранного аппарата:
Вычислим приведенный водяной эквивалент
:
Дж/c·К
Дж/с·К
Вт/К
Итак, тепловая мощность равна:
Определим действительные температуры теплоносителей на выходе
теплообменного аппарата:
Вычислим погрешности найденных температур:
7.
Графическая часть курсовой работы
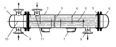
Двухходовой кожухотрубчатый теплообменник с неподвижными
трубными решетками:
1 - распределительная камера; 2 - кожух; 3 - теплообменная
труба; 4 - поперечная перегородка; 5 - трубная решетка; 6 - задняя
крышка кожуха; 7 - опора; 8 - дистанционная трубка; 9 - штуцеры; 10 -
перегородка в распределительной камере; 11 - отбойник
Геометрические характеристики расположения труб в пучке
|
Наружный
диаметр труб dн, мм
|
Поперечный шаг
труб S1 = t, мм
|
Продольный шаг
труб S2, мм
|
|
25
|
32
|
27,7
|
Схемы движения теплоносителей и положение перегородок в
распределительной камере и задней крышке теплообменного аппарата:
|
Число ходов по
трубам
|
Распределительная
камера
|
Задняя крышка
|
|
2
|
|
|
Схема расположения труб в
пучке:

По оси абсцисс отложена поверхность
теплообмена F, по оси ординат температура теплоносителей.
Большее изменение температуры будет у
теплоносителя с меньшей теплоемкостью массового расхода.
Температурная диаграмма
работы теплообменного аппарата
Найдем промежуточные точки на диаграмме:
Тогда, фактическая тепловая мощность:
Вт/К
Итак, тепловая мощность равна:
Определим промежуточные температуры:
Схема системы теплообменных аппаратов
Вывод
В процессе расчёта теплообменного аппарата был определён тип
ТА, его конструкция, определена мощность системы ТА, действительные конечные
температуры теплоносителей, в результате чего подтверждена возможность
использования системы теплообменников при заданных температурах теплоносителей.
Так же была построена температурная диаграмма системы теплообменных аппаратов и
найдены промежуточные значения точек.
Список
литературы
1. Калинин
А.Ф. Расчёт и выбор кожухотрубного теплообменного аппарата. - М.: РГУ нефти и
газа им. И.М. Губкина, 2002
2. Поршаков
Б.П. и др. Теплотехника. Часть 2. Теплопередача. - М.: РГУ нефти и газа им.
И.М. Губкина, 2006
. Трошин
А.К., Калинин А.Ф., Купцов С.М. Термодинамические и теплофизические свойства
рабочих тел теплоэнергетических установок. - М.: МПА-ПРЕСС, 2006