Технология литья под давлением
Содержание
Введение
Аннотация
.
Основная часть
.1
Литье под давлением с холодной горизонтальной камерой прессования поршнем
.1.1
Сущность литья под давлением
.1.2
Краткие исторические сведения
.1.3
Особенности получения отливок литьем под давлением
.1.4
Движение расплава в пресс-форме
.2
Особенности конструирования отливок литье под давлением с холодной
горизонтальной камерой прессования поршнем
.2.1
Сплавы
.2.2
Общие принципы конструирования литой детали
.2.3
Дефекты отливок
.3
Проектирование пресс-формы литье под давлением с холодной горизонтальной
камерой прессования поршнем
.3.1
Конструирование деталей пресс-формы
.3.2
Материал изготовления пресс-формы
.4.
Причины разрушения пресс-формы
.4.1
Термическая усталость пресс-форм
.4.2
Термостойкость пресс-форм
.4.3
Необратимые формоизменения в пресс-форм
.4.4
Износостойкость пресс-форм
.4.5
Ремонт пресс-формы
.5
Пути повышения стойкости пресс-формы
.5.1
Конструкционные методы повышения стойкости пресс-формы
.5.2
Термические методы повышения стойкости
.5.3
Технологические методы повышения стойкости
.5.4
Поверхностная обработка повышения стойкости пресс-формы
.6
Цель и задачи исследования
.7
Научная гипотеза, объект и предмет исследования
Заключение
Список
использованных источников
Введение
Процесс литья под давлением имеет более чем
вековую историю.
Наиболее точные машиностроительные заготовки
получаются способом литья под давлением главными его преимуществами являются
возможность получения заготовок с минимальными припусками на механическую
обработку или без нее и минимальной шероховатостью необрабатываемых
поверхностей, обеспечение высокой производительности и низкой трудоемкости
изготовления деталей, преимущественно из сплавов на основе цинка и алюминия,
тогда как широкое развитие производства отливок из сплавов на основе меди и
железа тормозится из-за низкой стойкости пресс-форм. В связи с этим возникла
необходимость изыскания путей повышения стойкости пресс-форм для изготовления
отливок из высокотемпературных сплавов и особенно из алюминиевых сплавов [1].
Отливки изготовляют в формах (пресс-формах,
штампах), состоящих из пуансона (прессующего узда), матрицы, толкателей и
съемников. Верхнюю плиту с закрепленными на ней деталями прессующего узла
монтируют на ползуне пресса, а нижнюю плиту с размещенными на ней матрицей и
механизмом выталкивания отливки - на столе пресса.
Процесс литья под давлением заключается в том,
что расплав под действием собственной силы тяжести заливают в матрицу, затем
пуансоном осуществляют окончательное оформление контуров отливки и последующее
ее уплотнение (выдержку под давлением) до окончания затвердевания. После
извлечения из пресс-формы (ПФ) отливку можно подвергать различным видам дующей
обработки (термической и механической).
Способом литья под давлением изготовляют простые
и сложные по конфигурации заготовки из чистых металлов и сплавов на основе
алюминия, железа, магния, меди и цинка, используя для этой цели как
специализированные, так и не специализированные гидравлически прессы и машины.
Технологический процесс изготовления отливок из сплавов цветных металлов
внедрен в производство на многих предприятия нашей страны и за рубежом;
Литья под давлением сплавов на основе железа
(чугун, сталь) внедрено на отдельных заводах [2].
В технологии литья под давлением произошли
значительные изменения, были разработаны новые машины и средства автоматизации,
появилось оборудование, обеспечивающее высокие скорости и усилия прессования,
контроль и регулирование в широких пределах технологических режимов литейного
процесса.
Рассматриваются вопросы проектирования
пресс-форм, условия их работы, причины разрушений материалы, применяемые для
изготовления деталей пресс-форм, соприкасающихся с жидким металлом, а также
стойкость пресс-форм пути ее повышения.
Повышать стойкость пресс-форм можно различными
способами, из которых наиболее доступными и эффективными являются следующие:
правильный выбор материалов для деталей вкладышей и стержней; выбор оптимальной
температуры для подогрева пресс-форм и автоматическое ее регулирование в
заданном уровне; применение промежуточного отпуска для снятия остаточных
напряжений; хромирование или фосфотирование рабочей полости пресс-форм;
применение смазок, снижающих температуру контакта и не ухудшающих качества
поверхности отливок. Эффективность указанных мероприятий определяется
конструкцией рабочей полости пресс-форм.
Аннотация
Данная работа содержит пути оптимизации
технической схемы ЛПД на машинах с холодной горизонтальной камерой прессования
в условиях ОАО «АПЗ». рассматриваются возможности улучшения длительности работы
пресс-формы путем изменения ее конструкции, методами термических обработок,
технологическим путем повышения стойкости пресс-формы а так же применением
различных покрытий, которые продлевают срок службы пресс-формы.
This paper contains a technical path
optimization schemes ATD on machines with horizontal cold chamber die in
conditions of "APL". The thesis discusses the possibility of
improving the length of the mold by changing its structure, methods of thermal
treatments, a technological way to increase the resistance of the mold as well
as the use of various coatings that extend the life of the mold.
1.
Основная
часть
1.1 Литье под давлением с холодной
горизонтальной камерой прессования поршнем
.1.1 Сущность литья под давлением
Литье под давлением - процесс получения точных и
фасонных отливок, основанный на заполнении расплавленным металлом стальных форм
под давлением поршня. Этим способ отливаются под давлением детали из цинковых,
алюминиевых, магниевых и медных сплавов. Литье под давление является
высокопроизводительным и экономичным процессом, позволяющим получать отливки
настолько точные, что последующая механическая обработка сводиться к минимуму,
либо совершенно исключается [3].
.1.2 Краткие исторические сведения
Впервые литье под давлением было применено Г.
Бруссом в 1838 г. при изготовлении литер с изображением букв для газетопечатных
машин. В 1839 г. был взят первый патент на поршневую машину для заливки металла
под давлением. В машиностроении литье под давлением начали применять с 1849 г.
для производства мелких деталей из оловянно-свинцовых сплавов. Машина
конструкции В. Стуржиса, используемая для этих целей, имела ручной поршневой
привод, с помощью которого в камере прессования, расположенной внутри тигля с
расплавленным металлом, создавалось давление 100-150 Па. В 60-х годах прошлого
века литье под давлением стали применять для изготовления отливок из сплавов на
цинковой основе. В поисках повышения производительности ручной привод в
поршневых машинах заменили пневматическим. В конце XIX в. были сделаны попытки
использовать для литья под давлением алюминиевые, а затем и медные сплавы. По
словам JI. Фроммера,
«история развития литья под давлением есть в то же время история постепенного
преодоления трудностей, возникавших благодаря применению все более тугоплавких
и обладающих все более неблагоприятными литейными свойствами сплавов»
Процесс литья под давлением имеет более чем
вековую историю. Главными его преимуществами является возможность получения
заготовок с минимальными припусками на механическую обработку или без неё и
минимальной шероховатостью необработанных поверхностей, обеспечение высокой
производительности и низкой трудоёмкости изготовления деталей.
В 1940г. завод «Красная Пресня» изготовил машину
мод. ЛД-7 с вертикальной камерой прессования - это было началом отечественного
производства необходимого для литья под давлением оборудования. Позже этим же
заводом было освоено производство машин с горизонтальной холодной камерой
прессования. Машины такого типа нашли наибольшее распространение в
промышленности. Это объясняется простотой и надежностью конструкции такой
камеры. Кроме того, в машинах с горизонтальной холодной камерой прессования
потери теплоты жидким металлом и гидравлическое сопротивление на пути его
движения в полость пресс-формы меньше, чем в машинах с вертикальной камерой, в
результате исключения литникового хода. Это позволяет снизить температуру
заливки сплава, уменьшить пористость и осуществить эффективную подпрессовку
отливки после окончания заполнения формы. Машины с горизонтальной камерой
прессования имеют более высокую производительность, чем машины с вертикальной
камерой, так как поршень выталкивает пресс-остаток в момент раскрытия
пресс-формы без дополнительных затрат времени.
Отечественное машиностроение выпускает машины с
холодной горизонтальной камерой прессования с усилием запирания 1000- 35000 кН.
Большая часть современных машин имеет механизм прессования с мультипликацией
давления рабочей жидкости в период подпрессовки. Дальнейшее совершенствование
машин для литья под давлением направлено по пути повышения скоростей движения
прессующего поршня с бесступенчатым регулированием скорости на различных этапах
заполнения пресс-формы при одновременном снижении гидравлического удара в
момент перехода от заполнения к подпрессовке. Отечественная промышленность
выпускает в основном машины литья под давлением с холодной горизонтальной
камерой прессования и автоматизированные комплексы и линии на их базе.
Молдавское ПО «Точлитмаш» специализируется на выпуске машин с усилием запирания
до 6000 кН, а ПО «Сиблитмаш» - до 35000 кН. За рубежом машины литья под
давлением и автоматизированные комплексы на их базе выпускают фирмы Vihorlat
Snina (ЧССР), Litostroj (Югославия), фирма Buhler (Швейцария), JDRA, Itallpress
(Италия), Frech (ФРГ), Ube, Toshiba (Япония), Lester, Gabler (США) [3].
.1.3 Особенности получения отливок литьем под
давлением
Технология литья под давлением. Расход расплава
через питатель.
При литье под давлением теплообмен между
расплавом и пресс-формой происходит с интенсивностью значительно большей, чем
при литье в кокиль, так как на рабочую поверхность пресс-формы наноситься лишь
слой смазочного материала, имеющий толщину несколько микрометров и небольшое
термическое сопротивление. Регулирование этого термического сопротивления может
осуществляться в достаточно узких пределах. Ограниченными являются и
возможности изменения температуры пресс-формы перед заливкой или температуры
расплава. Повышение температуры пресс-формы удлиняет технологический цикл, так
как увеличивается продолжительность охлаждения отливки, что вызывает опасность
ее схватывания с пресс-формой, поломок отливки и пресс-формы при выталкивании,
а также приводит к риску попадания расплава в вентиляционную систему и
ухудшению условий удаления газов из пресс-формы, увеличивает пористость
отливки. Кроме того, к снижению стойкости пресс-формы приводит повышение
температуры сплава.
Таким образом, возможности регулирования их
температуры ограничены.
Дня получения отливки без неслитин и неспаев,
вызванных охлаждения потока расплава в пресс-формы, продолжительность
заполнения пресс-формы не должна быть больше некоторой определённой величины.
Соответственно этому расход V
расплава через питатель должен удовлетворять условию: V≥V1,
где V1 -
расход расплава через питатель, при котором появляется вероятность образования
дефектов поверхности отливок. Поскольку воздух и газы от смазочного материала
удаляются из пресс - формы через вентиляционные каналы, размеры которых
незначительны, при больших расходах расплава воздух и газы не успевают
удалиться из пресс - формы и могут образовать недопустимые газовые дефекты в
отливке. Поэтому, чем меньше расход V
расплава через питатель, тем больше степень удаления воздуха и газов и пресс -
формы при соответствующей конструкции вентиляционной и литниковой систем. В
этой связи расход V расплава
через питатель ограничен таким значением расхода V2,
пи котором воздух и газы удаляются из пресс - формы в количестве, необходимом
для обеспечения заданного качества отливки по газовым дефектам (пористости,
плотности, герметичность): V≤V2.
Таким образом, для получения отливки без
неслитин, неспаев, с хорошим качеством поверхности и требуемым уровнем
плотности необходимо, чтобы расход V расплава через питатель удовлетворял
условию V1 < V < V2.
Оптимальный расход V расплава через питатель
зависит от литейных свойств материала отливки, размеров, конфигурации, толщины
стенки, предъявляемых к отливке требований по качеству поверхности, плотности и
герметичности, от конструкции литниковой и вентиляционной систем и других
условий производства. Так, первое ограничение V, можно понизить путем
использования сплава с большей жидкотекучестью (например, сплав марки АК7
(системы А1 - Si), который обладает значительно меньшей жидкотекучестью, чем
тот же сплав марки АК12). Повысить допустимое значение V2 можно,
используя смазочные материалы с меньшей газотворной способностью, а также
удаляя газообразные продукты из пресс-формы до начала прессования другими
способами.
Расход V расплава через питатель определяется скоростью
расплава в питателе и площадью, его поперечного сечения, поэтому практическое
регулирование расхода V может осуществляться изменением указанных параметров.
Площадь поперечного сечения питателей на
практике назначают с учетом толщины стенки отливки, удобства отделения от нее
литников. Естественно, что толщина питателя не может быть больше толщины стенки
отливки в месте подвода расплава, а ширины питателя должна обеспечить легкое
его отделение от отливки.
Скорость расплава в питателе регулируется изменением
скорости движения пресс-поршня. Ее максимально допустимое значение имеет
различные ограничения, по одним из которых расплав не должен смывать смазочный
материал с рабочих поверхностей пресс-формы и вступать с ними в механическое
взаимодействие с вероятностью эрозионного воздействия расплава на пресс-форму,
В свою очередь, размеры питателя
влияют не только на расход расплава и соответственно на продолжительность
заполнения формы, но и на возможность передачи давления прессования на
затвердевающий расплав. Если размеры питателя будут такими, что он затвердеет
раньше отливки
<
, то
давление на затвердевшую отливку будет действовать в течение времени от момента
окончания заполнения пресс-формы до окончания затвердевании питателя: 
. Если 
, то давление на расплав в
пресс-форме будет действовать в течение всего времени затвердевания отливки и
объем усадочных пор в ней будет меньше вследствие передачи расплава из камеры
прессования в отливку через питатель.
Такой способ используют для
массивных отливок с повышенными требованиями по плотности и герметичности.
Однако при этом усложняется отделение литников от отливки, так как их толщина
практически равна толщине тела отливки. Во многих случаях эти требования к
отливкам могут быть обеспечены путем создания большего давления в пресс-форме
до затвердевания питателя. При этом питатель делают тоньше тела отливки, а
требуемый расход расплава обеспечивают за счет высокой скорости его впуска в
пресс-форму.
Толщина питателя и скорость впуска
влияют на характер движения расплава в пресс-форме, процессы удаления воздуха и
газов из пресс-формы и в конечном счете на качество отливки, ее плотность.
Таким образом, при литье под
давлением наиболее важным в формировании отливки является этап заполнения
пресс-формы расплавом. При этом наряду с тепловыми условиями формирования
отливки решающее влияние на ее качество оказывают условия удаления из
пресс-формы воздуха и газообразных продуктов разложения, а также характер
движения расплава в пресс-форме [5].
.1.4 Движение расплава в пресс-форме
При литье под давлением основными факторами,
определяющими формирование отливки, являются давление в камере прессования и
пресс-форме, скорости движения поршня и впуска жидкого металла в форму,
параметры литниково-вентиляционной системы, температуры заливаемого металла и
формы, режимы смазывания и охлаждения рабочей полости формы и камеры
прессования.
Совокупность таких параметров, как давление в
потоке металла, скорость движения металла, противодавление, возникающее
вследствие затрудненного удаления воздуха и газообразных продуктов сгорания
смазочного материала, образует гидродинамический режим формирования отливки.
Температуры заливаемого сплава и формы, продолжительность заполнения и
подпрессовки, а также темп работы определяют тепловой режим процесса.
Теоретические основы процесса литья под
давлением разработаны на основе проведенных научных исследований и накопленного
производственного опыта.
Гидродинамический режим формирования отливки
создает кинетику заполнения, газовый режим формы, характер распределения
газовых включений в отливке и качество рельефа ее поверхности. Давление в
потоке металла возникает в результате сопротивления движению металла при
прохождении его через тонкие сечения полости пресс-формы и обтекании стержней,
при поворотах, сужениях и расширениях потока. В случае отсутствия сопротивления
величина гидродинамического давления в потоке определяется противодавлением
воздуха и газов, удаление которых затруднено из-за невозможности выполнения
вентиляционных каналов большого сечения.
Четкость оформления рельефа и шероховатость
поверхности отливки зависят от кинетической энергии потока. В момент окончания
его движения создается гидродинамическое давление на стенки пресс-формы.
Высокая скорость впускаемого потока (скорость
впуска) соответствует получению тонкостенных крупногабаритных отливок сложных
очертаний. Высокие скорости впуска и потока в пресс-форме создаются в
результате быстрого перемещения прессующего поршня. Для преодоления
сопротивления затвердевающей массы металла в тонких сечениях оформляющей
полости, а также сопротивления газов, остающихся в отливке, необходимо высокое
гидростатическое давление. Оно передается от прессующего поршня через
литниковый питающий канал. Чем позже затвердеет питатель, тем продолжительнее
действие давления. Процесс передачи гидростатического давления в полость
пресс-формы называется подпрессовкой. Использование утолщенных питателей
позволяет осуществить подпрессовку и питание отливки жидким металлом в период
кристаллизации и тем самым устранить усадочные раковины.
Процесс движения металла в камере прессования и
пресс- форме можно разбить на четыре фазы. На рисунке 1 приведены кривые
изменения скорости υпр
перемещения прессующего поршня и давления р рабочей жидкости в цилиндре
прессования за время хода поршня. Если пресс-форма заполняется сплошным
потоком, то изменение давления металла в ее полости будет подобно изменению
давления жидкости в цилиндре. За время τ1
поршень перекрывает заливочное отверстие (фаза I). Скорость поршня υпр1
небольшая. Значение ρ соответствует
давлению, необходимому для преодоления трения в гидравлическом цилиндре и
камере прессования. Период τ2
(фаза II) соответствует заполнение металлом под действием поршня всего объема
камеры прессования, вплоть до литниковых каналов. Скорость поршня начинает
возрастать и достигает максимального значения υпр2
(на машин современных моделей возможна еще одна ступень повышения скорости в
период заполнения). Давление ρ2
больше ρ1
на величину гидравлических сопротивлений в камере прессования.
Рисунок 1 - Изменение скорости прессующего
поршня в давления в цилиндре прессования за время хода поршня
В период времени τ3
(фаза III) заполняется литниковая система и полость пресс-формы. Вследствие
резкого сужения потока в питателе скорость падает до υпр3,
а давление ρ3
повышается. При меньших значениях максимальной скорости давление в фазах II и
III также падает (штриховые линии). В момент окончания хода поршня происходит
гидравлический удар вследствие итерационных сил подвижных частей прессующего
механизма, давление возрастает. После затухания колебания устанавливается
конечное гидростатическое давление ρ4
и начинается фаза IV - подпрессовка. Величина конечного давления зависит от
рода сплава, его состояния (вязкости, плотности), требований к отливке и других
факторов. Она может изменяться от 0,50 до 50 кПа. Если к моменту достижения
давления ρ4
металл в питателе остается жидким или, как принято называть, жидкоподвижным, то
это давление передается на затвердевающую отливку.
Максимальное усилие подпрессовки должно
развиваться прессующим механизмом машины не в момент начала затвердевания
отливки, а практически сразу по окончании заполнения пресс- формы [3].
Характер движения расплава и пресс-форме влияет
на степень удаления воздуха и продуктов разложения смазочного материала из
пресс-формы, на образование в отливках газовой пористости. По данным В. М.
Пляцкого, А К. Белопухова, Л.Фроммера, В. Брандта, В.Онезоргера и других
исследователей, характер движении расплава в пресс-форме зависит от скорости
его впуска, геометрии и размеров питателя, вязкости и поверхностного натяжении
расплава, условий его взаимодействия со стенками пресс-формы, условий удаления
воздуха и газов из ее полости. Разным сочетанием этих факторов достигается
разнообразие характеров заполнения полости формы: сплошным спокойным потоком с
низкой его турбулентностью при литье с малыми скоростями впуска; сплошными
турбулентным потоком при литье со средними скоростями впуска; дисперсным
потоком при литье с высокими скоростями впуска.
При заполнении сплошным спокойным потоком струя
расплава со скоростью и при выходе из питателя сохраняет форму до удара о
стенку пресс-формы, а затем изменяет направление снижения рисунок 1.
Критическая скорость, при которой сохраняется и спокойный характер движения
расплава, зависит от вязкости расплава и других факторов. Так, с увеличением вязкости
расплава (понижением его температуры или при заливке сплава в твердожидком
состоянии) критические скорости, при которых сохраняется спокойный характер
движения, возрастают.
Рисунок 2 - Схема заполнения
пресс-формы сплошным спокойным (ламинарным) потоком:
- толщина
отливки;
- толщина
струи;
- скорость
потока
Если для жидкого расплава такой режим
достигается при скоростях впуска до 0,3 м/с, то для расплава, находящегося в
твердожидком состоянии, он сохраняется при скоростях впуска до 10... 15 м/с.
С увеличением толщины питателя критические
скорости уменьшаются, турбулентность возрастает, что увеличивает пористость
отливок.
При заполнении сплошным спокойным потоком
создаются условия для последовательного заполнения пресс-формы расплавом и
наиболее полного удаления газов из ее рабочей полости, что способствует
уменьшению пористости и газовых включений в отливках. Однако реализовать такое
движение расплава и использовать его на практике можно только для толстостенных
отливок простой конфигурации из сплавов с широким интервалом крив
кристаллизации при литье в твердожидком состоянии.
Заполнение сплошным турбулентным потоком жил ких
сплавов проводят при скоростях впуска 0,5...50 м/с в зависимости от основы
сплава и размеров питателя. В данной технологии сплошной турбулентный поток
расплава, показан стрелкой на рисках 2 интенсивно захватывает воздух и продукты
разложении смазочного материала, которые остаются в затвердевшей отливке.
Отливка, полученная при таком режиме заполнения пресс-формы, как правило,
содержит крупные газовые поры. Чем выше турбулентность, тем крупнее поры и ниже
предел прочности материала отливки. По этим и другим причинам заполнение пресс
- форм турбулентным потоком со средними скоростями впуска на практике
используется лишь в тех случаях, когда к качеству от- 1Ники предъявляются
низкие требования.
Рисунок 2 - Схема заполнения
пресс-формы Сплошным турбулентным потоком (по стрелке):
- удар
струи в стенку;
- толщина
отливки;
- толщина
струи;
-
образование подпора;
-
заполнение формы
Заполнение пресс-формы дисперсным потоком происходит
при скоростях впуска расплава выше 10...50 м/с и толщине питателя
соответственно 3...0,25 мм, если расплав в питателе находится в жидком
состоянии. При ударе о стенку формы рисунок 3 струя дробится на большое число
отдельных капель, образующих дисперсную систему - смесь с воздухом и продуктами
разложения смазочного материала. Воздушные и газовые пузырьки, остающиеся в
отливке, образуют мельчайшую пористость. Такая пористость в значительно меньшей
степени снижает механические свойства отливки, чем при режиме заполнения
сплошным турбулентным потоком.
Согласно гипотезе JI. С. Константинова наряду с
отрицательным действием газы и воздух, находящиеся в отливке при затвердевании,
оказывают и положительное влияние на процесс ее формирования. Давление в
пузырьках воздуха и газов при заполнении формы равно давлению в турбулентном
потоке, а по окончании заполнения - давлению на расплав со стороны пресс -
поршня. Так как из-за небольшого сечения питатель затвердевает значительно
быстрее, чем сама отливка, действие давления пресс - поршня на затвердевающую
отливку прекращается сравнительно быстро. При этом газы, заключенные внутри
отливки и находящиеся под давлением, стремясь расшириться, давят на
кристаллизующийся расплав и тем самым способствуют четкому формированию рельефа
поверхности отливки, разнесению усадки и снижению вероятности образования
трещин.
Рисунок 3 - Схема заполнения пресс-формы
Дисперсным потоком (цифры - время от начала заполнения пресс - формы расплава
миллисекундах)
Однако, по мнению Л.Е. Кисиленко, вблизи пор в
металле отливки возникает сложное напряженное состояние, при этом напряжения
могут принести к появлению микротрещин и увеличению транзитной пористости,
резко снижающей герметичность отливки.
При заполнении расплавом полости формы сложной
конфигурации реализация рассмотренных ранее механизмов движении расплава может
иметь место на разных этапах заполнения и ни разных участках формы
одновременно: на одних участках формы может образовываться дисперсный поток, на
других - турбулентный. Возможно также образование и застойных зон,
заполняющихся расплавом с малыми скоростями. Таким образом, изложенные
представления о механизмах процесса заполнения пресс-формы отражают, по
существу, лишь возможные преобладают ни при том или ином режиме физические
явления и их влияние ми формирование качества отливки.
Газовый режим пресс-формы. Для получения
качественной отливки необходимо, чтобы при заполнении расплавом пресс-формы
воздух и газы от разложения смазочного материала удалялись из нее, так как,
оставшись в отливке, они ухудшают ее свойства.
Суммарный объем V∑
газов, который должен быть удален из полости пресс-формы, определяется объемом VК
газов, поступающих в нее из камеры прессования и каналов литниковой системы; объемом
рабочей полости пресс-формы, равным объёму Vо
отливки, и объемом Vr газообразных продуктов разложения смазочного
материала пресс-формы рисунок 4:
V∑=
VК
+ Vо
+ Vr.
Объем газов, поступающих из камеры прессования в
рабочую полость пресс-формы, зависит от диаметра последней, дозы заливаемого в
камеру расплава, конструкции машины и других факторов. Так, для машин с
горизонтальной холодной камерой прессования объем газового пространства между
зеркалом расплава стенками камеры и пресс-поршнем обычно составляет 0,25….0,4
общего объема камеры прессования. Величина VK в этом случим должна
также учитывать объем газообразных продуктов от смазочных материалов камеры и
пресс-поршня и объем газов, покидающих камеру прессования при наличии у нее
собственной вентиляционной системы.
Объем газов и воздуха, попадающих из
горизонтальной холодной камеры прессования в полость пресс-формы, зависит также
от скорости перемещения прессующего поршня и закономерности ее изменения по
отдельным фазам прессования. Так, при движении пресс- поршня с постоянной
скоростью уровень расплава h
может соответствовать положениям 1-4 рисунок 4 а, или при скорости пресс-поршня
соответственно меньше и больше скорости распространения волны на поверхности
расплава. Однако и любом из этих случаев воздух и газы могут захватываются
расплавом и далее оставаться в отливке. При ускоренном перемещении пресс -
поршня рисунок 4, б, последний постоянно догоняет волну расплава, образующуюся
при движении пресс-поршня в места, т.е. практически до начала заполнения
расплавом литникового хода воздух и газы могут быть вытеснены в пресс-форму и
далее из нее через систему вентиляции - в атмосферу. Такой процесс движения
пресс-поршня впервые реализован на машины фирмы «Buhler» (Швейцария).
В случае машин с вертикальной холодной или
горячей камерой прессования величина VK включает в себя лишь объем
каналов литниковой системы. Объем Vr газов, выделяющихся при
заполнении пресс-формы расплавом от разложения смазочного материала, В.
Н.Зеленов предложил определять как зависимость площади Fф
поверхности рабочей полости пресс-формы, толщины hCM слоя смазочного
материала на этой поверхности, газотворной способности Z смазочного материала и
его плотности рсм:
Vr=kFфhсмZpсм
где k
- коэффициент, учитывающий степень разложения смазочного материала до
газообразного состояния за время заполнении пресс-формы (k
= 0 - смазочный материал не подвергся разложению в пресс-форме; k
= 1 - случай полного разложения смазочного материала на газообразные продукты).
Для уменьшения объема Vr газообразных
продуктов разложения используют высокоэффективные смазочные материалы,
обладающие высокой термостойкостью (значение к близко к нулю), низкой
газотворной Z и высокой смазывающей способностью. За счет последнего показателя
удается снизить расход материала, его толщину hсм
на рабочей поверхности, повысить качество отливок и уменьшить выбросы в
окружающую среду.
Таким образом, исходя из приведенных соотношений
и характера движения расплава в пресс-форме для литья под давлением, можно
сделать вывод о том, что получение отливки с низкой пористостью только путем
удаления газообразных продуктов из пресс-формы - задача весьма сложная. Об этом
свидетельствуют и практические данные. Поэтому на практике для уменьшения объем
пор в отливках чаще прибегают к повышению давления прессования. Это хорошо
иллюстрируется тенденцией изменения этот важного параметра технологического
процесса - от нескольких мегапаскалей в период становления процесса давление
прессования со временем было повышено до нескольких десятков моги паскалей и в
настоящее время давление прессования достигает 500 МПа. Эта тенденция привела к
созданию весьма мощных металлоемких и энергоемких машин. Такой путь достижения
низкой пористости и высокой плотности отливок тем не менее m единственный.
Рисунок 4 - Схема удаления газов из пресс-формы
и камеры прессования
- при движении пресс-поршня с
постоянной скоростью;
- при
ускоренном движении пресс-поршня;
- перемещение пресс-поршня;
- время;
- уровень
расплава; стрелками на верхнем чертеже показано направление выхода газов; VК,Vо,Vr -
объем газов
Основной причиной, вызывающей необходимость
высоких давлений прессования, является недостаточная вентиляция пресс-формы.
Для уменьшения газовой и воздушной пористости в
отливках под давлением кроме повышенных давлений прессования, создании
рациональных конструкций литниковой и вентиляционной систем пресс-формы, выбора
оптимальных режимов литья - скорости прессования, температуры расплава и
пресс-формы, давлении прессования - разработаны и используются в
производственных условиях специальные способы литья под давлением, направленные
на достижение тех же целей.
Производственная реализация этих специальных
способов соприжена с дополнительными затратами, усложнением конструкций
пресс-форм, машин литья под давлением и организации производственного процесса.
Такие затраты можно считать оправданными только при необходимости изготовления
отливок под давлением, к качеству которых предъявляются особые требования [4].
.2 Особенности конструирования отливок литье под
давлением с холодной горизонтальной камерой прессования поршнем
В качестве материалов при изготовлении отливок
применяются сплавы на основе олова; свинца, цинка, алюминия, магния, меди. В
последние годы изучаются возможности изготовления отливок из сплавов на основе
железа, никеля, кобальта и титана. Металлические сплавы в соответствии с
температурой плавления обычно разделяют на пять групп.
Группа I. Особо легкоплавкие с температурой
плавления до 100° С.
Группа II. Легкоплавкие с температурой плавления
от 100 до 500° С. К этой группе относятся сплавы на основе олова, свинца и
цинка.
Группа III. Среднеплавкие с температурой
плавления от 500 до 800° С. К этой группе относятся сплавы на основе алюминия и
магния.
Группа IV. Тугоплавкие с температурой плавления
от 800 до 1800° С. К этой группе относятся сплавы на основе меди, железа,
никеля, кобальта и титана.
Группа V. Особо тугоплавкие с температурой
плавления более 1800° С.
По удельному весу металлические сплавы разделяют
на четыре группы.
Группа I. Сверхлегкие с удельным весом до 2 г/см3.
К этой группе Относятся сплавы на основе магния.
Группа II. Легкие с удельным весом от 2 до 3
г/см3. К этой группе относятся сплавы на основе алюминия.
Группа III. Тяжелые с удельным весом от 3 до 12
г/см3. К этой группе относятся сплавы на основе цинка, меди, железа,
никеля, кобальта и титана.
Группа IV. Сверхтяжелые с удельным весом свыше
12 г/см3.
Сплавы, применяемые для изготовления отливок
способом литья под давлением, должны обладать:
хорошей заполняемостью полости пресс-форм с
тончайшими сложными рельефами, что обеспечивает получение высокого, качества
поверхности отливок;
небольшой и равномерной литейной усадкой, что
уменьшает склонность отливок к образованию трещин;
узким интервалом кристаллизации, что
обеспечивает быстрое затвердевание отливок и повышает качество металла;
отсутствием склонности к физико-химическому
взаимодействию с металлом пресс-формы, что уменьшает налипание, приваривание и
диффузию металла отливки в пресс-форму [5].
1.2.1 Сплавы
Сплавы на основе олова. Отливки, получаемые
способом литья под давлением из сплавов на основе олова, легко поддаются пайке
мягким припоем, что и служит основанием для их применения при изготовлении
деталей радиоаппаратуры, рентгеновского оборудования и некоторых приборов.
Отливки имеют очень высокую точность, толщину стенок до 0,5 мм и очень чистую
поверхность. Сплавы на основе олова обычно содержат 4 - 18% сурьмы и 1 - 33% -
свинца.
Остальные теплофизические и механические
свойства олова имеют следующие значения: Тпл - 232° С, Ткип
- 2270° С, Qпл
= 13,9 ккал/кг, Qисп = 720 ккал/кг, Е - 4000
÷
5620 кГ/мм2, σ = 2 ÷ З
кГ/мм2, δ = 40%, НВ 10.
Сплавы на основе цинка. Отливки из цинковых
сплавов нашли широкое применение в машиностроении. Выпуск литья под давлением
из цинковых сплавов в разных странах колеблется от 50 до 70% от общего выпуска
отливок, получаемых этим способом. Для изготовления отливок применяются
нестареющие сплавы с алюминием типа ЦА 4 и стареющие алюминиево-медные сплавы
ЦАМ 4-1, ДАМ 4-3 и ЦАМ 10-5.
Остальные теплофизические и механические
свойства цинка имеют следующие значения: Тпл - 419° С, Ткип
- 907° С, Qпл
= 24,4 ккал/кг, Е - 8000 ÷ 14000
кГ/мм2, σ = 4 ÷ 5 кГ/мм2,
НВ 30-40.
Сплавы на основе магния. Отливки из магниевых
сплавов применяются реже других, что объясняется особыми требованиями к
конструкции отливок и более сложными технологическими условиями их
изготовления. Однако следует отметить, что отливки из магниевых сплавов в 1,5
раза легче отливок из алюминиевых сплавов, имеют лучшую чистоту поверхности и
лучше обрабатываются. Магний не реагирует с рабочей поверхностью пресс-форм, не
налипает и не приваривается. Указанные преимущества и привлекают внимание
машиностроителей к отливкам из магниевых сплавов. Остальные теплофизические и
механические свойства магния имеют следующие значения: Тпл - 650° С,
Ткип - 1120° С, Qпл
= 89 ккал/кг, Qисп = 1300 ккал/кг, Е - 4500 кГ/мм2,
σ = 8 ÷ 11 кГ/мм2,
δ =
4%, НВ 30. Сплавы на основе меди. Получение отливок из сплавов меди литьем под
давлением из-за низкой стойкости пресс-форм не нашло еще широкого применения,
хотя машиностроение в этом очень заинтересовано. Например, в США из сплавов
меди изготовляют только 1 % отливок от общего выпуска. В последнее время в США
при литье латуни в качестве материала пресс-форм применяют сплавы молибдена и
вольфрама, что повышает стойкость пресс-форм, приводит к снижению стоимости
отливок и увеличению их выпуска.
Для изготовления отливок применяют
преимущественно латуни марок ЛС 59-1JI, ЛК 80-ЗЛ и реже ЛК 64-1 и ЛСК 60-1,5-3.
Олово снижает пластичность сплава в горячем состоянии, поэтому его содержание
ограничивают до 0,1%. Алюминий (до 0,1%) является полезной примесью, так как
небольшое количество его задерживает шлакообразование в печи. Свинец улучшает
обрабатываемость отливок и уменьшает склонность к налипанию жидкого металла на
рабочие полости пресс-формы
Остальные теплофизические и механические
свойства меди имеют следующие значения: Тпл - 1083° С, Ткип
- 2360° С, Qпл
= 51 ккал/кг, Qисп = 1290 ккал/кг, Е - 10800
÷
11700 кГ/мм2, σ = 20 ÷ 24 кГ/мм2,
δ = 50%, НВ 37 [6].
Для литья под давлением наиболее широко
используют алюминиевые сплавы, имеющие хорошее сочетание физических,
механических и технологических свойств.
Целям повышения рентабельности производства,
обеспечения централизации плавильного отделения и стабилизации технологических
режимов служит унификация сплавов. Многие крупнейшие производства стремятся
использовать всего один или два сплава. Анализ литературных и производственных
данных показывает, что в качестве основных можно принять алюминиевые сплавы
АЛ2, АЛ4 и АЛ32, цинковые ЦА4 и ЦА4М1, магниевый МЛ5, латуни ЛЦ40Сд и ЛЦ40МцЗЖ.
Алюминиевые сплавы. На первой стадии развития литья под давлением в СССР
применяли используемый для литья в кокиль сплав АЛ9 (7% Si и 0,3% Mg). Однако в
отливках, полученных литьем под давлением, имела место повышенная пористость,
поэтому стали использовать сплавы АЛ2 (12% Si) и АЛ4 (9% Si и 0,3% Mg) (ГОСТ
2685-75). Сплав АЛ2 обладает высокой жидкотекучестью, хорошими коррозионной
стойкостью, теплопроводностью и электрической проводимостью. Его используют
главным образом для крупных, сложных и тонкостенных отливок. К недостаткам
сплава относятся плохая обрабатываемость резанием и более низкие по сравнению
со сплавами, легированными магнием, медью и другими компонентами, механические
свойства.
Сплав АЛ4 незначительно уступает сплаву АЛ2 по
литейным свойствам, но обладает более высокими механическими свойствами,
хорошей обрабатываемостью резанием и высокой коррозионной стойкостью. Он широко
применяется и при изготовлении отливок литьем в кокиль.
В 60-е годы в СССР специально для литья под
давлением был разработан сплав AJI32, который относится к сплавам системы AI -
Si - и - Mg с добавками Мn и Ti. Химический состав этого сплава и содержание
тех же элементов в сплавах, широко применяемых в США. Эти сплавы применяют для
получения высокопрочных деталей литьем под давлением, в том числе блока
цилиндров автомобильных двигателей. Меньшее содержание меди в сплавах AJI32 и
А360 обеспечивает более высокую коррозионную стойкость. Сплавы этой системы
обладают хорошей жидкотекучестью и высокими механическими свойствами, легко
обрабатываются резанием.
Интервал кристаллизации сплава АЛ32 593-538 °С,
сплава АЛ2 582-574 °С, сплава АЛ4 596-577 °С, сплава АЛ27 621-535 °С. Следует
учитывать, что узкоинтервальные сплавы обеспечивают получение отливок с
мелкозернистой эвтектикой. Литейщики обычно отдают предпочтение этим сплавам
благодаря их хорошим литейным свойствам. Однако современные машины с
механизмами, обеспечивающими эффективную подпрессовку, позволяют изготовлять
качественные отливки из широкоинтервальных сплавов, причем более
продолжительный период затвердевания дает возможность полнее использовать
давление подпрессовки для уплотнения металла отливки.
.2.2 Общие принципы конструирования литой детали
Основные преимущества литья под давлением
(высокая производительность, точность размеров отливки и высокое качество
поверхности) в полной мере могут быть реализованы в производстве только в том
случае, если при конструировании литой детали учтены все особенности
технологического процесса.
Под технологичностью литой детали подразумевают
такое ее конструктивное оформление, которое, не снижая основных требований к
конструкции, способствует получению заданных физико-механических свойств,
размерной точности и шероховатости поверхности при минимальной трудоемкости
изготовления и ограниченном использовании дефицитных материалов.
Конструирование литой детали основано на анализе факторов характеризующих
преимущества и недостатки технологически процесса литья под давлением по
сравнению с другими способами литья. Чтобы полнее использовать возможности
процесса литья под давлением, нужно уже на стадии конструирования литой детали
учитывать все его особенности. Прежде всего, конструктора и технолога-литейщика
должна связывать творческая работа. Это позволит создать конструкцию, не только
отвечающую техническим требованиям при эксплуатации изделия, но полу отливку,
отвечающую возможностям технологии литья под давлением при соблюдении
экономической целесообразности ее получения на заданную программу выпуска.
Высокая точности размеров, вызывающая необходимость иметь дорогостоящую
оснастку высокая производительность, требующая сложного оборудования,
ограничение размеров и массы отливок, а также и повышения содержание в них
газов - все это требует создания оптимальных экономически целесообразных и
технически выполнимых конструкции.
При разработке чертежа литой детали необходимо в
первую очередь установить, какие требования являются определяющими для данного
изделия при его эксплуатации: прочность, герметичность, жесткость, качество
поверхности, внешний вид или эстетическая форма.
Детали, предназначенные для изготовления литьем
под давлением, в зависимости от конфигурации их наружных и внутренних
поверхностей можно условно подразделить на четыре группы сложности.
По назначению эти детали можно подразделить на
три группы: прочные, герметичные и декоративные.
Для того чтобы обеспечить производство
бездефектных отливок, необходимо, создавая чертеж литой детали, определить
оптимальную плоскость разъема будущей пресс-формы и возможность формирования
отверстий с помощью подвижных или неподвижных стержней. Литая деталь должна
обладать конструкционной прочностью, жесткостью и герметичностью, быть
технологичной. Рекомендации по конструктивному оформлению литой детали до последнего
времени основываются на обобщении накопленного годами производственного опыта.
Поскольку конструкции литых Деталей и технологии их изготовления непрерывно
совершенствуются, то эмпирические методы ограничивают возможности получения
отливок оптимальной прочности, надежности, металлоемкости и долговечности.
Если в технологии уже имеются научные подходы к
выбору оптимальных режимов процесса получения деталей, разрабатываются типовые
проектные решения технологических процессов с применением ЭВМ и проводятся
работы по созданию систем автоматизированного проектирования (САПР) литейной
технологии (ЛТ), то при конструировании литой детали количественный метод еще
только начинает разрабатываться [7].
На конфигурацию литых деталей значительное
влияние оказывают низкий модуль упругости, особенно магниевых сплавов и их
чувствительность к местным концентрациям напряжений. Чтобы избежать деформаций
и трещин, вызванных этими свойствами, по возможности следует использовать
двутавровые, швеллерные, зетовые, цилиндрические и другие поперечные сечения
рисунок 5.
Рисунок 5 - Поперечное сечение литых деталей
Габаритные размеры литой детали, а
следовательно, и проекции ограничивают минимальную толщину ее стенки при данном
усилии запирания машины литья под давлением. На толщину стенки влияет
жидкотекучесть сплава и технология, а толщина стенки в свою очередь - на
прочность и жесткость литой детали.
В зависимости от толщины стенки изменяется
плотность отливки и ее механические свойства. С уменьшением толщины стенки
литых деталей отлитых под давлением из сплава AЛ4, плотность р и временное
сопротивление возрастают, а относительное удлинение уменьшается. Увеличение
прочностных свойств объясняется возрастанием роли гидродинамического уплотнения
в тонкостенных отливках. Оптимальное сочетание механических свойств (σв
= 250 МПа, δ = 2%) наблюдается
при толщине стенки 2,5 - 3 мм. Прочность литых деталей из цинковых сплавов при
увеличении толщины стенки снижается не так значительно, как литых деталей из
алюминиевых сплавов. При увеличении толщины стенки от 1,5 до 5 мм прочность
алюминиевых деталей падает на 30%, а деталей из цинкового сплава - лишь на 20%.
Конструкция литой детали и толщина ее стенки
зависят от соотношения пределов прочности при сжатии и растяжении. По данным М.
Шенберга, при сжатии для магниевых сплавов временное сопротивление разрыву в
1,5 - 2 раза превышает временное сопротивление разрыву при растяжении. Это
обстоятельство необходимо учитывать при выборе конфигурации элементов детали,
так как нетехнологичные конструкции подвергаются растягивающим напряжениям, а
технологичные - сжимающим.
Современные машины литья под давлением,
развивающие в момент кристаллизации отливки высокие давления за короткий
промежуток времени, позволяют изготовлять тонкостенные отливки с толщиной
стенки 0,8 - 1,5 мм. Этому способствует разработка новых способов заполнения
медленным сплошным потоком с последующей эффективной подпресовкой через
утолщенные питатели. Сочетание оптимальных тепловых условий затвердевания с
подпрессовкой дает возможность получать литьем под давлением толстостенные
отливки из эвтектических сплавов с широким интервалом кристаллизации:
заэвтектических силуминов (17-19% Si),
термоупрочняемых сплавов системы Al
- Si - Cu,
магниевых сплавов, бронз и латуней [3].
.2.3 Дефекты отливок
Качественная отливка отличается однородностью,
сплошностью всех сечений и отсутствием дефектов поверхности. Следует учитывать,
что не всякий дефект является браковочным признаком. Дефекты приводят к браку
отливок в тех случаях, когда они снижают служебные свойства литой детали. В
основном дефекты в отливках возникают в интервале температур кристаллизации
сплава, поэтому важно правильно и полно использовать воздействие внешнего
давления при формировании отливки из твердо- жидкого сплава. Давление
способствует однородности внутреннего строения отливки и снижению ее
пористости. Необходимо учитывать, что если при одном и том же технологическом
режиме возникают различные дефекты, то это прежде всего следствие нестабильности
работы машины. Все пустоты в теле отливки заполняются газами. Поэтому при
нагреве отливок образуются вздутия на поверхности, что не позволяет производить
упрочняющую термообработку.
Газовая пористость является наиболее часто
встречающимся дефектом при литье под давлением. Она может образовываться как
внутри, так и снаружи отливки, а также располагаться под внешней коркой на
небольшой глубине. Главной причиной возникновения пористости является воздух и
пары смазочного материала, захваченные из полости пресс-формы, литниковых
каналов и незаполненного объема камеры прессования. Если поры изолированы друг
от друга и размер их не превышает 0,1 мм, то их допустимость оговаривается в
чертеже на литую деталь или технических условиях. При скоплении пор отливку
забраковывают. Для предупреждения образования дефекта отливку следует
изготовлять на машине с более высоким усилием прессования или обеспечить
эффективную подпрессовку, увеличить ее выдержку, усилить охлаждение
пресс-формы, особенно в области литниковой втулки, снизить температуру
заливаемого металла, улучшить вентиляционную систему.
Изолированные поры обычно образуются в сечениях
отливки, более утолщенных, чем основная стенка, когда подпрессовка
недостаточна. Для устранения дефекта следует увеличить толщину питателя и
усилие подпрессовки. Кроме того, желательно уменьшить гидросопротивление в
полости пресс-формы и за счет плавных скруглений, выравнивания толщины стенок и
последовательного вытеснения воздуха к вентиляционным каналам.
Газовая пористость часто проявляется в виде
микропористости, вскрываемой только после травления полированного макрошлифа.
Многие исследователи считали, что микропористость является результатом
пульверизации потока при выходе его из щелевого питателя. Киносъемки процесса
заполнения не подтвердили этого даже при больших скоростях впуска. Появление
дефекта объясняется прежде всего дисперсностью скоростного потока жидкого
металла при заполнении пресс-формы.
Газовая пористость проявляется чаще в более
толстых сечениях отливки. В некоторых случаях она наблюдается в местах
локального падения давления в потоке металла, в результате которого газы,
попавшие в металл вместе с оксидами, выделяются из раствора. В этих случаях
необходимо обеспечить эффективное удаление воздуха и газов за счет создания
дополнительных вентиляционных каналов и промывников. Последние способствуют
выравниванию давления в потоке. Чем мельче и равномернее распределена
пористость по сечению, тем меньше ее влияние на прочность отливки. Однако если
мелкая пористость незначительно влияет на σв,
она сильно уменьшает значение δ. Например,
отливки из сплава АЛ9 при наличии дисперсной пористости имеют σв
до 180 МПа и δ≈1,5%. в то время
как при отсутствии пористости δ = 4,5%.
Усадочные раковины имеют острые углы и
образуются в наиболее массивных частях отливки и местах резкого перехода от
тонких к толстым. Так как усадочные раковины заполняются газами, то имеют
гладкую матовую поверхность, трудно отличимую от поверхности газовых раковин,
но в них нередко обнаруживаются дендриты.
Причиной возникновения усадочных раковин
является раннее затвердевание питателя или тонкостенного участка на пути потока
металла перед утолщением отливки. Предупреждение образования этого дефекта
обеспечивает утолщение питателя или изменение конструкции литой детали.
Повышать температуру заливки не рекомендуется. Целесообразнее увеличивать
скорость потока расплава путем увеличения скорости прессования при некотором
повышении температуры пресс-формы и усилия подпрессовки.
Усадочная пористость может возникать как в
утолщенной части отливки, так и в тонкой, особенно если пресс-форма на этом
участке перегрета. Этот вид пористости также весьма трудно отличить от газовой
пористости по внешнему виду, поэтому изучают характер распределения пор по
сечениям отливки. Скопление усадочных нор образует рыхлоту, которая
воспроизводится на рентгеновских снимках белыми пятнами. Места их расположения
совпадают с местными утолщениями. Их легче удалить подпрессовкой, чем газовую
пористость, их появление в меньшей степени зависит от величины гидравлического
удара. В целях предупреждения образования усадочной пористости обеспечивают
направленное затвердевание и плавные переходы от толстых сечений отливки к
тонким, выравнивают толщину стенок отливки и увеличивают усилие подиресеовки.
Неслитины могут быть наружными и внутренними.
Наружные представляют собой углубления, возникшие между двумя или несколькими
неснлавившимися потоками расплава. Их глубина 0,3 - 1,0 мм. Внутренние
неслитины - это разрывы в теле отливки без нарушения поверхностного слоя.
Неслитины обнаруживаются наружным осмотром, простукиванием (появление глухого
звука), на микрошлифах, при механических испытаниях и испытаниях герметичности.
Причинами образования неслитин являются
преждевременное охлаждение и затвердевание, металла передних участков,
встречных потоков, а также противодавление воздуха и газообразных продуктов
сгорания смазочного материала в полости пресс-формы.
Устранение неслитен достигается увеличением
скорости впускного потока, изменением конструкции литниковой системы с целью
ликвидации встречных потоков, увеличения темпа работы, усилия подпрессовки, а
также применением смазочного материала.
Трещины бывают сквозными и несквозными, горячими
и холодными. Обычно при литье под давлением несквозные трещины образуются в
эффективном интервале кристаллизации. Они располагаются в местах резкого
перехода от толстых сечений отливок к тонким, во внутренних углах и других
местах концентраций напряжений при недостаточной подпрессовке. Одним из
основных средств борьбы с горячими трещинами является сокращение времени
выдержки между температурой солидуса и температурой удаления отливки из
пресс-формы. Холодные трещины возникают в пластическом состоянии металла
вследствие неподатливости металлических стержней и при затрудненной усадке
отливки на выступах пресс-формы. Для предупреждения дефекта следует повышать
температуру стержней и выступающих элементов пресс-формы, обеспечивать
равномерность выталкивания и легкость съема отливки. Сквозные трещины могут
возникать при чрезмерной пористости и несовершенстве конструкции отливки.
Дефекты поверхности. Хорошая поверхность отливки
в общем случае не является показателем качества всей отливки. Если для борьбы с
пористостью увеличивают продолжительность заполнения полости пресс-формы, что
позволяет удалить воздух и газы, то для получения качественной поверхности,
наоборот, приходится увеличивать скорость потока и сокращать продолжительность
заполнения полости пресс-формы при одновременном повышении ее температуры,
например, путем увеличения темпа работы. Это следует учитывать при выборе
оптимальных значений параметров технологических режимов литья.
К дефектам поверхности относятся задиры,
возникающие вследствие привара, иногда к ним причисляют и утолщенный облой по
плоскости разъема пресс-формы [3].
.3 Проектирование пресс-формы литье под
давлением с холодной горизонтальной камерой прессования поршнем
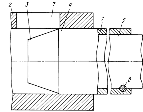
.3.1 Конструирование деталей пресс-формы
Изготовление литейного пресс-поршня будем из
латуни марки
Рисунок 6 - Поршень для литья под делением с
холодной горизонтальной камерой прессования поршнем
Рисунок 7 - Кокиль для поршня литья под делением
с холодной горизонтальной камерой прессования поршнем
Рисунок 8 - Кокиль с поршнем для литья под
делением с холодной горизонтальной камерой прессования поршнем
.3.2 Материал изготовления пресс-формы
В настоящее время для изготовления пресс-форм
применяется очень много новых материалов. Анализ применяемых материалов
показывает следующее.
1. В
зарубежной и отечественной промышленности применяют преимущественно
хромовольфрамованадиевые и хромомолибденованадиевые стали.
2. При
изготовлении отливок из латуни и бронзы в зарубежной и отечественной
промышленности для изготовления вкладышей пресс-форм применяется
преимущественно сталь марки ЗХ2В8Ф или эта же сталь, но с дополнительным
легированием кобальтом от 2 до 5%, а в некоторых случаях с добавкой никеля до
3%.
3. При
изготовлении отливок из алюминиевых и магниевых сплавов в зарубежной
промышленности применяются хромомолибденованадиевые стали типа 4Х5МФС и
4Х5МФ1С, а в отечественной - хромовольфрамованадиевые [3].
В послевоенные годы в отечественной и зарубежной
промышленности развернулись широкие поисковые работы по выбору более стойких
материалов для деталей пресс-форм, используемых при литье алюминиевых сплавов и
особенно при изготовлении отливок из высокотемпературных сплавов на основе меди
и железа.
Проводятся в направлении повышения легироваиности
сталей, опробования различных мартенсито-стареющих сталей, аустенитных,
ферритных, новых жаропрочных сплавов на основе никеля и кобальта и особенное
внимание уделяется сплавам на основе тугоплавких металлов.
Сплавы на основе меди. Как указывалось ранее,
чистая медь является весьма термостойким материалом, что доказано применением
ее для кристаллизаторов при непрерывной разливке стали также применением ее в
качестве стволов для пушек в первый период их применения.
При освоении литья стали под давлением было
изготовлено более 100 пресс-форм с вкладышами из чистой меди. Стойкость таких
вкладышей была выше, чем из стали ЗХ2В8Ф, но на отливках возникал большой облой
вследствие Смятия пресс-форм. Поэтому применение чистой меди для изготовления
вкладышей пресс-форм нецелесообразно, но в некоторых случаях, где смятие не
может возникнуть или облой удаляется во время механической обработки, может
быть использована и чистая медь.
Сплав МХЦВ - хромо-цирконий-ванадиевая бронза
разработана Гипроцветметом.
Отработка велась совместно с заводом «Красный
Выборжец» и автором (авт. свид.№ 185068). Химический состав сплава (в %): 0,50
- 0,80 Сг; 0,20 - 0,50 Zr; 0,20 - 0,60 V; 0,35 примесей, остальное Сu.
Физико-механические свойства сплава МХЦВ в
Зависимости от температуры. Вследствие высокой теплопроводности сплава
температура. Сплав МХЦВ очень технологичный на всех операциях изготовления
заготовок и при эксплуатации пресс-формы [1].
.4 Причины разрушения пресс-формы
.4.1 Термическая усталость пресс-форм
Термическая усталость материалов - это сложное
явление, проявляющееся в виде сетки трещин на металлических изделиях,
работающих при циклически изменяющихся температурах и напряжениях. В таких
условиях работают орудийные стволы, изложницы, штампы и т. д., а также пресс-формы
для литья под давлением. Описание появления и развития сетки разгара от
термической усталости впервые произведено Д. К Черновым. Применительно к
пресс-форма явление возникновения и развития сетки трещин происходит следующим
образом. Вначале на полированной частично окисленной рабочей поверхности
появляются мелкие пересекающиеся между собой трещинки, разбросанные по разным
направлениям. По мере увеличения числа циклов теплосмен на поверхности
образуются замкнутые петли, величина и рисунок которых весьма разнообразны. При
дальнейшем увеличении циклов теплосмен глубина и ширина трещин увеличивается.
При заливке жидкого металла под давлением на поверхности отливок образуются
заливы, размеры и форма которых зависят от природы материал ' вкладышей.
Термическая усталость представляет сложное еще
недостаточно изученное явление. О природе разрушения материалов от термической
усталости существуют различные теории: истирания, наклепа, дислокаций и др. В
последние годы большинство авторов предпочитают объяснять разрушение от
термической усталости дислокациями, которые концентрируются у границ зерен и
других барьеров, образуя зародыш трещины, затем около нее концентрируются
напряжения, что способствует дальнейшему ее росту. Дислокации действительно
играют большую роль в разрушении поверхности вкладышей пресс-форм.
Однако объяснение разрушения материалов от
термической усталости только дислокациями не соответствует экспериментальным
данным. Очевидно разрушение будет иметь место в том случае, если возникающие
температурные напряжения (при отсутствии механических усилий) превзойдут
истинное сопротивление материала в данном месте. Разрушение деталей обычно
происходит через какое-то число циклов теплосмен. В начале работы истинное
сопротивление разрыву, а затем в процессе циклирования пластичность и прочность
материала снижаются и наступает момент, когда приведет к появлению микротрещин.
Это произойдет из-за охрупчивания материала.
Таким образом, охрупчивание материала при
циклическом воздействии температуры вызывается многими процессами: окислением
поверхности, скоплением вакансий и выходом их на поверхность, старением,
диффузией, поглощением водорода и других газов поверхностью пресс-формы и т. д.
Факторы, влияющие на термостойкость материалов,
можно разделить на три группы.
К группе I относятся температурные параметры:
число предшествующих теплосмен, интервал температурного цикла, область-
температурного цикла, форма температурного цикла, скорость нагрева и
охлаждения, продолжительность выдержки при нижней и верхней температурах цикла,
среда нагрева и охлаждения и т. д. К группе II - структурные, физико-химические
и физико-механические характеристики материалов, фазовый и химический составы,
величина зерна и т. п., а также их изменение при температурном воздействии. К
группе III - геометрические факторы и размеры образцов и изделий. Критерием
оценки термостойкости материалов обычно является число циклов теплосмен или,
что то же самое, количество запрессовок жидкого металла в пресс-форму до
появления сетки разгара или до ее допустимой величины [1].
.4.2 Термостойкость пресс-форм
На рабочей поверхности вкладышей пресс-форм
наблюдается сетка разгара или трещины. Причиной появления трещин являются не
только термическая усталость, но и некачественный материал заготовок, в котором
могли быть волосовинные трещины, возникшие при механической обработке и т. д.
Такие трещины выявляются при первых же запрессовках жидкого металла или на
ранней стадии эксплуатации пресс-форм. Трещины, возникающие вследствие
термической усталости, выявляются на более поздних стадиях эксплуатации
пресс-форм.
Из-за сетки разгара и трещин при литье
алюминиевых сплавов брак пресс-форм составлял 43%. При литье латуни он будет
еще больше. Поэтому во всех экспериментальных работах по изучению стойкости
пресс-форм .практически определяется не стойкость, а термостойкость.
Эксперименты по изучению термостойкости и
стойкости пресс-формы при литье алюминиевых сплавов АЛ2 производимые В. Б.
Шульман показывают, что азотирование и сульфоцианирование снижают
термостойкость пресс-форм, а фосфатирование повышает. Причиной снижения
термостойкости является образование хрупких фаз; повышение стойкости при
фосфатировании, очевидно, происходит вследствие предохранения поверхности от
окисления [1].
.4.3 Необратимые формоизменения пресс-форм
Все тела при нагревании изменяют свои размеры
вследствие нелинейности межатомной связи. При возвращении к исходной
температуре параметры решетки принимают прежние значения. Однако в реальном
теле могут произойти физические явления, не обладающие обратимостью, и может
появиться остающееся формоизменение. По опытным данным различных авторов
изменение размеров составляет примерно около 1% за цикл от теплового
расширения.
Процесс необратимого формоизменения твердых тел,
вызванный повторными теплосменами, называют ростом, а изменение за один цикл -
коэффициентом роста. Явление роста рассматривают как результат напряжений,
созданных неодинаковым расширением прилегающих макро- и микрообластей
материала; релаксация напряжений сопровождается пластической деформацией,
которая и приводит к изменению размеров тела.
Формоизменение в пресс-формах - явление еще
более сложное и проявляется в виде смятия, роста, коробления и пластического
перемещения металла (вымоины, вмятины). Формоизменения пресс-форм при
циклических нагревах и охлаждениях- чрезмерно сложное и совершенно не изученное
явление.
Формоизменение особенно интенсивно проявляется
при изготовлении отливок из сплавов на основе меди и железа.
Смятие вкладыша пресс-форм и схематическое
изображение смятия в стыках вкладыш-вкладыш,, острого угла, омываемого жидким
металлом, бобышки и толкателей. Процесс смятия условно разбит на три этапа: I -
состояние перед началом работы; II - рост металла на поверхности пресс- формы
до появления смятия; III - смятие с появлением облоя на отливке или изменение
формы. Зазор перед началом работы должен быть максимально допустимым (в него не
должен затекать жидкий металл), так как это увеличивает количество циклов
работы пресс-формы до появления облоя. При увеличении циклов работы происходит
рост металла, а затем наступает момент, когда половинки вкладышей пресс-форм
сомкнутся и при наличии пластической деформации появится смятие, которое
постепенно увеличивается вплоть до того, что в зазор под давлением начинает
затекать жидкий металл и на отливках появляется облой. Процесс смятия при этом
происходит быстрее. При повышении температуры заливаемого металла скорость
смятия увеличивается.
В связи с тем, что поверхность пресс-форм
нагревается с одной стороны, рост в них проявляется редко. Стержни же,
нагревающиеся по всей окружности, иногда увеличиваются по длине, но уменьшаются
при этом в диаметре. Иногда стержни принимают бочкообразную форму, увеличиваясь
в диаметре.
Коробление наблюдается как отдельных выступающих
частей, так и всего вкладыша и даже блока, особенно по разъему. Все дефекты, в
том числе и коробление, проявляются тем интенсивнее, чем выше температура
заливаемого металла. Вымоины и вмятины возникают из-за течения пластической
деформации и гидродинамического уноса [9].
.4.4 Износостойкость пресс-форм
Под износом пресс-формы в широком смысле следует
понимать изменение чистоты рабочей полости и соответственно чистоты поверхности
получаемых отливок. Существует много различных теорий износа: механическая,
физическая и химико-физическая, химико-механическая, молекулярная и др.
Износ рабочей полости пресс-форм и
металлопроводов по сравнению с обычным износом явление более сложное, так как
трение здесь происходит при соприкосновении их с жидким металлом при больших
скоростях, гидродинамических ударах и при высоком конечном удельном давлении.
Кроме того, действуют и другие факторы.
При увеличении числа циклов теплосмен класс
чистоты поверхности понижается и при каком-то цикле он достигнет уровня
технических требований на отливку. Это число циклов теплосмен и является
износостойкостью пресс-формы.
Теоретически определить коэффициент износа из-за
влияния большого количества факторов пока не представляется возможным. Его
можно определить только на основании опыта применительно к конкретным условиям
работы пресс-форм.
Истирание (трение, смятие), химическое
взаимодействие (коррозия, химические реакции), диффузия, дислокации, вакансии и
т. д. имеют место на всей рабочей поверхности, а кавитация, эрозия,
гидродинамический унос, пластическое течение металла и частичная диффузия
наблюдаются только в отдельных местах.
Износу трением, приводящему к задирам на
трущихся поверхностях, особенно сильно подвержены пары: наконечник - стакан и
стержень - отливка. При износе от действия струи жидкого металла, содержащего
твердые частицы металла, также возникают задиры на рабочей полости пресс-форм.
Брак по задирам стаканов и наконечников составляет при литье алюминия 86%.
Износ смятием Ребиндер рассматривает как
адсорбционное и адсорбционно-химическое действие смазки. При этом он указывает:
1. упругие
и пластические деформации микронеровностей и пластическое течение в тонких
поверхностных слоях приводят к пластическому износу - изменению размеров
трущихся тел без заметного разрушения их поверхности;
2. повторные
микропластические деформации при периодических встречах приводят к усталостному
разрушению;
3. изменение
механических и физических свойств поверхностных слоев металла может существенно
сказаться на характере и интенсивности износа и при наличии смазки.
Повышение износостойкости стержней и вкладышей
пресс-форм производится за счет применения следующих основных мероприятий:
. использования в качестве материалов для
изготовления стержней и вкладышей пресс-форм сплавов на основе тугоплавких
материалов - молибдена и вольфрама;
. применения более высоколегированных
сталей;
. применения химико-термической и
химической обработок;
. охлаждения стержней и пресс-форм.
При изготовление отливок из алюминиевых сплавов
для повышения износостойкости стержней прибегают к химико-термической или
химической обработки [1].
.4.5 Ремонт пресс-формы
Ремонт пресс-форм. Используемые в литейном цехе
пресс-формы требуют постоянного ухода. Различают текущий, профилактический и
капитальный виды ремонта пресс-форм. Текущий ремонт включает замену изношенных
деталей, тщательную очисти и смазывание движущихся частей и механизмов.
Профилактический ремонт проводят при смене пресс-формы. Он включает ее разборку,
очистку от частиц расплава и нагара смазочного материала, замену изношенных
деталей, шлифовку рабочих полостей пресс-формы и плоскости разъема с
сохранением требуемой геометрии ее рабочей полости и сборку. Профилактические
ремонты позволяют в 1,3 - 1,5 раза увеличить срок службы пресс-формы до
капитального ремонта. Капитальный ремонт включает замену центрирующих деталей,
формообразующих вкладышей и стержней, выталкивателей и других деталей.
Пресс-формы хранят в закрытом состоянии в сухом
помещении в комплексе с запчастями и двумя-тремя отливками последней партии.
Пресс-формы должны быть тщательно смазанными
[4].
1.5 Пути повышения стойкости пресс-формы
Основные методы повышения стойкости.
Наиболее эффективными и более доступными для
внедрения на каждом предприятии, являются следующие мероприятия.
.5.1 Конструкционные методы повышения стойкости
пресс-формы
1. Применение хромомолибденованадиевых
сталей для изготовления вкладышей пресс-форм.
Хромомолибденованадиевые стали, типа ЗХ5МФС,
38Х5МФС, 4Х5МФС и др. не внесены в ГОСТ 5950 - 63 на инструментальные стали,
что затрудняет их получение и внедрение в качестве материала для вкладышей
пресс-форм и других деталей, соприкасающихся с жидким металлом. Например, при
литье алюминиевых сплавов стойкость стали ЗХ5МФС выше стойкости стали ЗХ2В8Ф. В
настоящее время назрела необходимость внесения хромомолибденованадиевых сталей
в ГОСТ и широкого использования их в качестве материалов для вкладышей
пресс-форм. Сталь ЗХ5МФС рекомендуется применять для вкладышей, от которых
требуется повышенная термостойкость, а сталь 38Х5МФС для вкладышей, от которых
требуется повышенная износостойкость.
. Применение мартенсито-стареющих сталей
для изготовления вкладышей пресс-форм.
В США и ФРГ внедряются в производство мартенсито-стареющие
стали, которые по их данным обладают стойкостью в несколько раз более высокой,
чем стойкость пресс-форм, изготовленных из сталей ЗХ2В8Ф и др.
Это мероприятие также подлежит тщательной
проверке и при положительных результатах внедрению в производство [1].
Патент, поршень для машины для литья под
давлением с холодной камерой прессования [10]
Поршень для машины литья под давлением с
холодной камерой прессования содержит корпус и по меньшей мере один уплотняющий
поясок, установленный вокруг корпуса. Уплотняющий поясок имеет разрез или
разрыв, позволяющий устанавливать поясок на корпусе поршня. Корпус и поясок
снабжены соединительными средствами для одновременного запирания пояска
относительно корпуса в осевом и угловом направлениях. В каждом уплотняющем
пояске выполнено по меньшей мере два отверстия, с которыми зацеплены
соответствующие радиальные выступы, отходящие от корпуса поршня. Достигается
повышение надежности крепления уплотнительного пояска.
Настоящее изобретение относится к машинам для
литья под давлением и, в частности, к поршню пресса для литья под давлением с
холодной камерой прессования.
В машинах для литья под давлением с холодной
камерой прессования известно применение поршней впрыска со стальным или медным
корпусом и по меньшей мере с одним внешним уплотняющим пояском, расположенным
по обе стороны от обоймы на головке поршня.
Поршень для машин для литья под давлением с
холодной камерой прессования, который содержит стальной корпус, имеющий головку
с периферийной фаской или без нее, и по меньшей мере один уплотняющий поясок из
медного сплава, расположенный вокруг корпуса в соответствующем гнезде,
выполненном позади головки и в котором на внешней поверхности поршня между
головкой и пояском выполнены по меньшей мере два канала, предназначенные для
создания сообщения головки поршня с кольцевым гнездом для пояска для притока
металла под сам поясок. Таким образом, при твердении металл, затекший в гнездо,
создает непрерывное утолщение, которое радиально выталкивает поясок наружу,
прогрессивно компенсируя его износ, адаптируя его к любым деформациям обоймы
поршня и, следовательно, защищая последний. Однако было обнаружено, что во всех
известных вариантах уплотняющий поясок стремится провернуться на поршне, что
делает его работу менее эффективной. Фактически все уплотняющие пояски имеют
разрез или разрыв в форме ступени вдоль окружности, что позволяет монтировать
поясок на поршень и обеспечивает возможность его некоторого радиального
расширения. Особенно на стадии сборки, когда поясок освобожден, его упругость
может привести к посадке в неподходящем положении, что ухудшит уплотнение.
Например, разрез пояска не должен быть обращен:
.к верхней части обоймы пресс-формы, где
расплавленный алюминий обладает большей текучестью (фактически алюминий лежит
под действием силы тяжести на нижней части, дольше оставаясь в контакте с
поверхностью обоймы и головки поршня, теряя несколько градусов температуры);
.к начальным точкам литников, где жидкий металл
имеет большую текучесть;
.к точкам механического интерфейса, которые
могут возникнуть у отверстий обоймы (впускное отверстие для жидкого металла и
начальные точки литейного канала).
В попытке устранить этот недостаток был
предложен поршень, имеющий радиальный палец и уплотняющий поясок, который на
ступенчатом разрезе или разрыве обеспечивал посадку, подходящую для приема
такого пальца.
Такое решение, однако, усложняет монтаж пояска
на поршне и в любом случае требует отдельного средства для осевого и углового
запирания пояска.
Целью настоящего изобретения является создание
поршня для машины для литья под давлением с холодной камерой прессования,
который должен устранить упомянутые недостатки безопасным и эффективным
способом.
Другой целью настоящего изобретения является
создание поршня, снабженного средством, способным запирать уплотняющий поясок в
осевом и угловом направлениях одновременно.
Поршень скользит в обойме пресс-формы машины для
литья под давлением. Рассматривая горизонтальное расположение поршня и обоймы,
обойма имеет в верхней части и на ее конце впускное отверстие для загрузки
металла в жидком состоянии, например алюминия. На противоположной стороне
относительно впускного отверстия в обойме выполнены прорези, соответствующие
начальным точкам литников.
В предпочтительном варианте корпус установлен на
поддерживающей оправке. Оправка имеет переднюю часть меньшего диаметра так,
чтобы между ним и корпусом была образована охлаждающая камера. Оправку в осевом
направлении пересекает канал для охлаждающей текучей среды. Этот канал
сообщается с камерой через радиальные каналы.
Преимущественно, между передним концом оправки и
головкой корпуса поршня расположена медная прокладка, которая способствует
лучшему охлаждению головки, являющейся той частью поршня, которая при
использовании нагревается более других.
На переднем участке корпуса поршня рядом с
головкой установлен по меньшей мере один уплотняющий поясок, предпочтительно
выполненный из медного сплава.
Согласно настоящему изобретению каждый
уплотняющий поясок и поршень содержат соединительные средства, пригодные для одновременного
осевого и углового запирания каждого пояска на корпусе поршня.
Согласно предпочтительному варианту настоящего
изобретения в пояске выполнены по меньшей мере два отверстия, в которых
зацеплены соответствующие радиальные выступы, отходящие от корпуса поршня.
Преимущественно эти отверстия имеют форму прорезей и каждый радиальный выступ
имеет конфигурацию сектора окружности.
Предпочтительно, отверстия и, следовательно,
выступы поршня расположены симметрично относительно главной оси Х пояска и поршня.
Преимущественно, если N есть число отверстий (равное или превышающее 2) и
соответствующих выступов, то отверстия и выступы разнесены друг от друга на
одинаковые углы α=360°/N.
Предпочтительно, отверстия являются сквозными отверстиями. Однако выступы имеют
высоту не более, чем толщина пояска, чтобы не выступать из этих отверстий и не
повреждать обойму, когда поршень скользит.
Согласно предпочтительному варианту каждое
отверстие имеет большее проходное сечение, чем сечение выступов. С одной
стороны, это облегчает сборку и расширение пояска после проникновения под нее
металла, а с другой стороны, это позволяет избыточному жидкому металлу выходить
через отверстия в пояске, предотвращая его отсоединение.
В частности, прорези имеют изогнутые концевые
участки, не занятые соответствующими выступами, которые с другой стороны имеют
по существу прямоугольные сечения.
Патент, прессующий узел машины литья под
давлением [11]
Сущность изобретения: пресс - поршень машины
содержит внутреннюю полость под переднюю часть штока, наружную боковую
поверхность головку в виде усеченного конуса, который выполнен высотой, большей
половины длины заливочного окна камеры прессования рисунок 6.
Изобретение относится к литейному производству и
пригодно в машинах литья под давлением для получения деталей из цветных
сплавов.
Известен прессующий узел машины литья под
давлением, содержащий камеру прессования с заливочным окном и целиковый
пресс-поршень, имеющий внутреннюю полость под переднюю часть штока, наружную
боковую поверхность и плоский торец, обеспечивающий вытеснение металла из
камеры прессования в пресс-форму.
Известен другой узел, отличающийся сборным
пресс-поршнем корпусом с головкой в виде усеченного конуса, причем на корпусе
размещена рабочая и нажимная втулки.
Его недостатки. Из-за малой высоты конуса
пресс-поршень не воздействует на струю металла, заливаемого в камеру
прессования через заливочное окно; вследствие локального воздействия этой струи
на внутреннюю поверхность камеры, расположенную напротив заливочного окна, она
перегревается и образуется сетка трещин, превращающаяся затем в углубление,
параметры которого возрастают; в нем задерживается металл при вытеснении его из
камеры, воздействующий и на нее, и на пресс-поршень и ускоряющий их износ.
Цель изобретения - устранение этого недостатка.
Рисунок 6 - Изображено продольное сечение камеры
и пресс-поршня в зоне, заливочного окна
Прессующий узел машины литья под давлением,
содержит камеру прессования с заливочным окном и пресс-поршень, имеющий
внутреннюю полость под переднюю часть штока, наружную боковую поверхность,
головку в виде усеченного конуса, усеченный конус выполнен высотой больше
половины длины заливочного окна.
Сопоставительный анализ этого решения с
прототипом показывает, что оно отличается тем, что усеченный конус выполнен
высотой большей половины длины заливочного окна.
На чертеже изображено продольное сечение камеры
и пресс-поршня в зоне, заливочного окна.
У пресс-поршня 1, размещенного в камере
прессования 2, передний торец 3 выполнен в виде усеченного конуса, основание
которого совмещено с его боковой поверхностью 4, в полости пресс-поршня
размещена передняя часть штока 5, соединенная с ним штифтом 6. Зона пересечения
переднего торца 3 пресс-поршня и наружной боковой поверхности размещена
заподлицо или впереди задней боковой стенки заливочного окна 7 камеры
прессования и вершина этого конуса находится у передней боковой стенки.
Металл в камеру прессования заливается так. При
помощи конструкции и расположения желоба из дозатора струя металла подается по
касательной на боковую поверхность усеченного конуса переднего торца 3 и
стекает через зазор между этой поверхностью и внутренней боковой поверхностью
камеры 2 в нижнюю часть ее полости.
Значительным увеличением площади контакта
заливаемого металла с поверхностью камеры в зоне заливочного окна существенно
уменьшается перегрев камеры в этой части и, следовательно, сводится к минимуму
размыв металла камеры. Это влияет положительно на стойкость камеры и
пресс-поршня.
Благодаря параметрам головки поршня (ее длиной,
конусностью) заменяется падение струи металла на внутреннюю поверхность камеры,
на стекание ее по зазору между боковыми поверхностями усеченного конуса и
камеры. При этом поток металла тормозится возникающими силами трения.
Этим самым уменьшается и его ударное действие на
внутреннюю поверхность камеры в зоне заливочного окна.
Кроме того, уменьшается объем воздуха в камере
благодаря усеченному конусу указанной высоты, заменяющему часть объема полости
камеры, когда основание этого конуса расположено впереди задней боковой стенки
заливочного окна.
Патент, способ изготовления биметаллических
изделий [12]
Изобретение относится к машиностроению, в
частности к изготовлению биметаллических изделий с антифрикционным слоем системы
сталь-бронза. На открытой поверхности стальной заготовки в пределах припуска
формируют технологическую ванну. В объеме технологической ванны размещают флюс
и бронзу в количестве, достаточном для наплавки. Заготовку нагревают до
расплавления бронзы. Нагрев заготовки осуществляют ступенчато с температурной
остановкой для прогрева заготовки по сечению. После расплавления бронзы и
кратковременной выдержки заготовку медленно охлаждают до температуры закалки
стали. Затем осуществляют быстрое охлаждение в масле. Нагрев заготовки и
охлаждение до температуры закалки стали осуществляют в
защитно-восстановительной среде. Технологическую полость ванны выполняют с
толщиной стенки, обеспечивающей ее сквозное обезуглероживание. Обеспечивается
повышение качества и снижение трудоемкости изготовления биметаллических
изделий. Изобретение относится к машиностроению, в частности к изготовлению
биметаллических изделий с антифрикционным слоем системы легированная
сталь-бронза.
Известен способ получения биметаллических
отливок наплавкой бронзы на открытые поверхности заготовки из стали Х12Ф1,
который состоит из следующих операций:
. Наплавка бронзы на сталь, при которой в
стальную форму закладывают диск из бронзы и деталь (наплавляемой поверхностью
внизу): подготовленную сборку помещают в печь с защитной атмосферой и нагревают
до температуры расплавления бронзы (1100°С).
. Охлаждение биметалла с расплавленной бронзой,
совмещенное с закалкой стальной части блока, при котором сборку погружают в
проточную воду со стороны данной части формы, обеспечивая скорость охлаждения
25-30°С/с.
. Отпуск - 2-, 3-кратный при 500-525°С для
получения требуемой структуры стальной части заготовки.
Недостатки способа:
. В данном случае в результате действия
гравитационных сил в верхней части расплавленного металла (на границе с
наплавляемой поверхностью) сосредотачиваются примеси, загрязнения. При
охлаждении заготовки кристаллизация начинается с поверхности формы и ее фронт
движется в направлении к наплавляемой поверхности, поэтому образовавшиеся в жидком
металле дефекты остаются на металлизируемой поверхности, здесь же
сосредотачиваются и усадочные дефекты. При последующей обработке более
качественный слой наплавленного металла удаляется как припуск, а в рабочем слое
остается менее качественный металл.
. Охлаждение со стороны донной части не
обеспечивает в стальной заготовке равномерной скорости охлаждения по ее высоте
и, соответственно, получение однородной закалочной структуры, что требует
проведение дополнительной термической обработки.
Рисунок 9 - Наплавка биметаллов
Наиболее близким к предлагаемому по технической
сущности является способ наплавки при одновременной биметаллизации открытых и
внутренних поверхностей (пат №1454600, В 23 К 9/04; В 22 D 19/00) БИ №4, 1989
г., при котором на открытой поверхности более тугоплавкой заготовки в пределах
припуска формируют технологическую ванну, выполняют каналы, соединяющие
открытую и внутренние наплавляемые поверхности. Во внутренние полости
устанавливают формирующие стержни из хорошо обрабатываемых материалов,
герметизируют зазор между формирующим стержнем и более тугоплавкой заготовкой в
донной ее части, размещают в объеме технологической ванны флюс и наплавляют
металл в количестве, достаточном для наплавки открытых и внутренних
поверхностей, нагревают заготовку, расплавляя наплавленный металл, охлаждают
собранный узел и удаляют формирующие стержни совместно с механической
обработкой.
Недостатками данного способа являются:
. Невозможность получения качественного биметаллического
изделия при последующей закалке вследствие образования трещин в стальной части
заготовки из-за больших напряжений возникающих при закалке.
Задача - получение качественных биметаллических
изделий системы легированная сталь-бронза при снижении трудоемкости
изготовления изделий.
Задача решается путем наплавки, при которой на
открытой поверхности заготовки в пределах припуска формируют технологическую
ванну, размещают в объеме технологической ванны флюс и наплавляемый металл в
количестве, достаточном для наплавки, заготовку нагревают до расплавления
наплавляемого металла и охлаждают, причем нагрев заготовки осуществляют
ступенчато с температурной остановкой для прогрева заготовки по сечению, после
расплавления наплавляемого металла заготовку медленно охлаждают до температуры,
соответствующей температуре закалки стали и затем выполняют закалку в масле,
при этом нагрев заготовки до расплавления наплавляемого металла и охлаждение до
температуры закалки стали осуществляют в защитно-восстановительной среде, а
формируемая технологическая ванна имеет толщину стенки, обеспечивающую ее
сквозное обезуглероживание.
Ожидаемый технический результат - получение
биметаллического изделия легированная сталь-бронза с прочностью
биметаллического соединения на срез на уровне наплавляемой бронзы.
Сопоставимый анализ заявленного решения с
прототипом показывает, что оно отличается от известного способом нагрева
заготовки для наплавки и скоростью ее охлаждения. Предлагаемый способ нагрева
выполняется в электропечи в защитно-восстановительной атмосфере и обеспечивает
надежную защиту от окисления наплавляемой поверхности заготовки из легированной
стали, и применяемой для наплавки бронзы, а также их качественное сращивание, в
отличие от прототипа, в котором нагрев выполняется в соляной ванне без защитной
атмосферы и может быть использован только для углеродистых сталей.
Предлагаемый способ нагрева имеет следующие
преимущества перед описанным в прототипе. Нагрев в электропечи в
защитно-восстановительной атмосфере обеспечивает надежную защиту от окисления
наплавляемой поверхности заготовки и бронзы применяемой для наплавки, что
сделало возможным производить наплавку бронзы на легированную сталь, например
на сталь 38Х2МЮА. Защита осуществляется во всем интервале температур нагрева до
расплавления бронзы, в процессе выдержки при расплавлении и последующем
охлаждении до температуры закалки стали 38Х2МЮА (940-950°С)
защитно-восстановительная среда совместно с расплавленным флюсом обеспечивает
также качественное сращивание бронзы и легированной стали. Флюс рафинирует
расплавленную бронзу, очищает от вредных примесей наплавляемую поверхность,
обеспечивая высокое качество их сцепления. Равномерность нагрева заготовки и
сохранение мелкозернистой структуры стали обеспечивается ступенчатым характером
нагрева с выдержкой при температуре на 30-40°С выше Ас3 стали 38Х2МЮА и
последующим ускоренным нагревом до температуры наплавки - 1100°С и минимальным
временем выдержки.
Предлагаемый способ охлаждения биметаллической
заготовки совмещен с закалкой ее стальной части. При этом после расплавления
бронзы и кратковременной выдержки заготовку охлаждают до температуры закалки
стали 38Х2МЮА (940-950°С) и после выдержки для выравнивания температуры по
сечению заготовки выполняют охлаждение в масле таким образом, чтобы скорость
охлаждения бронзового слоя была одинаковой, со скоростью охлаждения стальной
части заготовки.
Преимущество предлагаемого способа охлаждения
перед описанным в прототипе - 1) сохранение качественного биметаллического
соединения, характеризующегося отсутствием трещин как в бронзовом слое, так и в
стальной заготовке за счет ускоренного охлаждения изделия и использования
технологической полости с толщиной стенки, обеспечивающей отсутствие в ней
напряжений при выполнении закалки.
. Снижение трудоемкости изготовления
биметаллического изделия за счет совмещения процессов наплавки и закалки.
Способ реализован при изготовлении ротора
гидронасоса из стали 38Х2МЮА с размерами: диаметр 76 мм, высота 65 мм. На
наплавляемой поверхности заготовки 1 изготовлена технологическая ванна 2, со
стенкой определенной толщины для размещения в ней высокотемпературного флюса и
бронзы БрО10.
При использовании предлагаемого способа
наплавляемый металл может быть в виде порошка, гранул, стружки, обрезков, т.е.
иметь любую форму, и таким образом отпадает необходимость изготавливать
элементы из наплавляемого материала в соответствии с размерами наплавляемой
поверхности.
Нагрев заготовки производили в электропечи с
защитно-восстановительной атмосферой ступенчато - с выдержкой при температуре
900°С для прогрева заготовки и последующий нагрев до температуры
соответствующей температуре плавления бронзы 1100-1080°С. Выдержку проводили до
полного расплавления бронзы. При этом в процессе нагрева заготовки происходит
сквозное обезуглероживание стенки технологической ванны.
В процессе охлаждения биметаллического изделия
до температуры закалки стали 38Х2МЮА (940-950°С) происходит кристаллизация
бронзы и затвердевание флюса с образованием шлака 6, причем кристаллизация
бронзы происходит в условиях, близких к равновесным, что исключает образование
напряжений в слое (чертеж, б), а последующее охлаждение в масло обеспечивает
получение качественного биметаллического соединения без трещин в наплавляемом
слое 5 и стальной заготовке 1. Качество соединения оценивалось прочностью на
срез, величина которой составила 270-280 МПа.
. Способ изготовления биметаллических изделий
системы сталь - бронза путем наплавки, включающий формирование на открытой
поверхности стальной заготовки в пределах припуска технологической ванны,
размещение в объеме технологической ванны флюса и наплавляемого металла в
количестве, достаточном для наплавки, нагрев заготовки до расплавления
наплавляемого металла и охлаждение, отличающийся тем, что нагрев заготовки
осуществляют ступенчато с температурной остановкой для прогрева заготовки по
сечению, после расплавления наплавляемого металла заготовку охлаждают медленно
до температуры, соответствующей температуре закалки стали, а затем осуществляют
быстрое охлаждение в масле, при этом нагрев заготовки и охлаждение до
температуры закалки осуществляют в защитно-восстановительной среде.
. Способ по п.1, отличающийся тем, что
технологическую полость ванны выполняют с толщиной стенки, обеспечивающей ее
сквозное обезуглероживание.
1.5.2 Термические методы повышения стойкости
. Отпуск для снятия остаточных
температурных напряжений во вкладышах пресс-форм и в других деталях,
соприкасающихся с жидким металлом. Это доступное и эффективное мероприятие
необходимо внедрить на все предприятиях, занимающихся литьем под давлением.
. Применение низкотемпературной
механической обработки (НТМО) заготовок из хромомолибденованадиевых и
хромовольфрамованадиевых сталей.
Применение НТМО приводит к повышению прочности и
пластичности сталей типа 4Х5МФС при нормальных и повышенных температурах, а это
приводит к повышению стойкости пресс-форм. Это мероприятие требует тщательной
проверки и при положительных результатах внесения в план заводов-поставщиков
заготовок [1].
.5.3 Технологические методы повышения стойкости
1. Автоматическое регулирование температуры
пресс-форм. Применение автоматического регулирования подогрева и охлаждения
пресс-форм может повысить стойкость в несколько раз. Применение охлаждения,
которое снимает перегрев пресс-формы, также иногда приводит к некоторому
повышению стойкости. Если же охлаждение при каждой запрессовке снижает
температуру вкладышей до температуры 20° С, то это наоборот, приводит к резкому
снижению стойкости пресс-форм. Чтобы этого не получалось необходимо производить
автоматическое регулирование температуры. Это эффективное мероприятие также
доступно для каждого предприятия. Очевидно, что наиболее доступным является
подогрев электрическими нагревателями в сочетании с водой. Выбор нагревателей
индукционного или электрического сопротивления решается в зависимости от
конструкции пресс-форм.
. Применение оптимальных технологических
параметров процесса.
Наряду с применением основных мероприятий,
указанных выше, необходимо, чтобы температура заливки, скорость впуска,
удельное давление и др. были минимально допустимыми [1].
.5.4 Поверхностная обработка повышения стойкости
пресс-формы
1. Предохранение рабочей полости пресс-форм
от преждевременного разрушения различными покрытиями.
Эффективным и доступным мероприятием
предохранения рабочей полости пресс-форм от преждевременного разрушения, т. е.
от окисления, налипания алюминия и окиси цинка, а также от появления трещин
вследствие острых концентратов напряжений и других дефектов, является
фосфатирование. Оно может применяться при изготовлении отливок из всех сплавов
в пресс-формах из любых сталей. Более целесообразно применять обычное
фосфатирование с толщиной слоя 5 - 14 мкм. По мере износа старое покрытие
должно быть удалено, а новое фосфатное нанесено.
Электролитическое хромирование является также
эффективным и доступным для каждого предприятия. Целесообразно применять
износостойкое покрытие молочного или малонапряженного хрома. Толщина
однослойного покрытия должна составлять 15 - 40 мкм. После нанесения
электролитического хрома целесообразно производить отпуск для снятия остаточных
температурных напряжений. Электролитическое хромирование уменьшает склонность
алюминия к привариванию и повышает стойкость пресс-форм при изготовлении
отливок из всех сплавов. К отрицательным свойствам хромирования следует отнести
плохую смачиваемость маслами и смазками, а в некоторых случаях и низкую его
пластичность.
Некоторые заводы в качестве защитного покрытия
применяют диффузионное хромирование. Его преимущество перед электролитическим
хромированием еще не выяснено.
Азотирование или сульфоцианирование
целесообразно применять при литье алюминиевых сплавов, где на рабочую полость
пресс-форм происходит интенсивное налипание и вкладыши выходят из строя по
износу. Толщина наносимого слоя должна быть менее 0,1 мм, а лучшие результаты
получаются при толщине слоя от 0,04 до 0,08 мм.
Применение смазок для повышения
стойкости пресс-форм.
Смазки могут служить эффективным средством для
повышения стойкости пресс-форм, но смазок, удовлетворяющих всем требованиям
предъявляемых к ним, мало разработано.
Выбор смазок является чрезмерно сложной задачей,
требующей для ее решения разных решений химиков совместно с литейщиками. Однако
эта задача решается только частично и поэтому имеется много неэффективных
смазок [1].
Патент, способ изготовления пресс-формы[13]
Изобретение относится к области машиностроения.
Способ изготовления пресс-форм включает изготовление мастер-модели, получение
металлической копии ее рабочей поверхности, нанесение конструкционного слоя,
отделение формообразующей части от мастер-модели, при этом металлическую копию
мастер-модели толщиной 1-2 мм изготавливают из меди или никеля, или хрома
методом гальванопластики, наносят на нее карбидное покрытие толщиной 25-100
мкм, а конструкционный слой наносят на карбидное покрытие. Технический
результат - увеличение срока службы пресс-форм и повышение качества прессуемых
изделий, упрощение изготовления пресс-форм, увеличение твердости рабочей
поверхности, расширение используемых для прессования материалов, улучшение условий
труда.
Предлагаемое изобретение относится к области
машиностроения, где используются методы термической обработки изделий из
металлов, нанесение на их поверхность защитных металлических покрытий из
газовой фазы при термораспаде металлоорганических соединений (МОС).
Известен способ изготовления пресс-форм, который
состоит в шлифовке, полировке и гальваническом хромировании рабочей
поверхности. Способ обладает рядом недостатков: большой трудоемкостью,
длительностью процесса изготовления, которая увеличивается со сложностью
пресс-формы, образованием большого объема отходов, так как в процессе доработки
пресс-формы много дефицитного металла уходит в стружку. Гальваническое
покрытие, наносимое на рабочую поверхность, является пористым, что сокращает
срок службы пресс-формы.
Для увеличения срока службы пресс-формы ее
рабочую поверхность покрывают карбидом хрома. Известен способ нанесения
карбидо-хромовых покрытий и установка для их нанесения на тела вращения
(сверла, метчики, фрезы и др.). На этой же установке, этим же способом можно
наносить защитное карбидо-хромовое покрытие на рабочую поверхность пресс-форм.
Этот способ увеличивает в 1,2-1,5 раза срок службы пресс-формы, но в этом
случае необходимо постоянно изготавливать саму пресс-форму и каждый раз шлифовать,
полировать и хромировать ее.
В качестве прототипа выбран способ изготовления
пресс-форм. Согласно этому способу мастер-модель помещают в вакуумную камеру и
наращивают слой никеля толщиной 2-3 мм путем термораспада карбонила никеля в
вакууме, затем мастер-модель вместе с нанесенным покрытием эвакуируют из камеры
металлизации и наносят конструкционный слой плазменным распылением металла или
путем заливки эпоксидной смолой с наполнителем. Затем формообразующую часть
отделяют от мастер-модели. Способ обладает рядом преимуществ, а именно снижает
трудоемкость, снижает разряд работ, высвобождает высококвалифицированный
персонал, экономит дефицитные материалы, высвобождает дефицитные металлорежущие
станки, экономит электроэнергию.
Недостатком этого способа является низкая
твердость никелевого покрытия, что значительно ограничивает возможность
использования пресс-форм с никелевым покрытием для прессования изделий.
Известно, что никелевое покрытие, полученное путем термораспада карбонила
никеля при температуре 300°С, когда наблюдается самая высокая скорость роста и
получается самое чистое покрытие с низкой шероховатостью, обладает невысокой
твердостью - 250-300 кг/мм2. При температуре выше 300°С разложение
карбонила никеля в объеме ведет к выделению высокодисперсного никелевого
порошка, загрязняющего покрытие, увеличивающего шероховатость и снижающего его
твердость до 250 кг/мм2 и ниже. При температуре ниже 300°С
происходит загрязнение покрытия выделяющимся углеродом и карбидом никеля,
увеличение шероховатости и уменьшение класса чистоты, что может приводить к
сокращению срока службы пресс-формы. Использование ядовитого соединения
(карбонила никеля) удорожает сам процесс нанесения покрытия. Экспериментально
установлено, что срок службы пресс-форм с никелевым покрытием значительно
сокращается при прессовании изделий из серосодержащей резины и других
наполнителей, т.к. при нагревании во время прессования серосодержащая резина
образует на поверхности покрытия сульфид, который легко разрушается и приводит
к залипанию резины и выходу из строя пресс-формы.
Основной технической задачей является увеличение
срока службы пресс-форм и повышение качества прессуемых изделий, упрощение
изготовления пресс-форм, увеличение твердости рабочей поверхности, расширение
используемых для прессования материалов, улучшение условий труда.
Указанный технический результат достигается тем,
что в способе изготовления пресс-форм, состоящем из изготовления мастер-модели,
получения металлической копии ее рабочей поверхности, нанесения
конструкционного слоя и отделения формообразующей части от мастер-модели,
металлическую копию мастер-модели толщиной 1-2 мм изготавливают из меди или
никеля, или хрома методом гальванопластики, наносят на нее карбидное покрытие
толщиной 25-100 мкм, а конструкционный слой наносят на карбидное покрытие. В
качестве конструкционного слоя могут быть использованы любые материалы,
температура плавления которых меньше температуры плавления копии мастер-модели.
Экспериментально установлено, что
карбидо-хромовое покрытие, полученное при термораспаде хромоорганического
соединения "Бархос" (ТУ 6-01-01146-79) в присутствии
кислородсодержащих органических соединений, обеспечивает снижение шероховатости
в 1,25-1,55 раз, повышает на 1-2 класса чистоту поверхности покрываемых изделий,
увеличивает микротвердость поверхности до 1500 кг/мм2.
Карбидо-хромовое покрытие, полученное при
термораспаде тетраметилкремния, также уменьшает шероховатость и увеличивает
микротвердость поверхности до 3000 кг/мм2. Если термораспад
тетраметилкремния проводить в присутствии парафинового углеводорода (гептана,
октана и др.) при соотношении ингредиентов: тетраметилкремний (95-98 мас.%),
парафиновый углеводород (5-2 мас.%,); карбидо-хромовое покрытие легируется
графитом, что уменьшает налипание при прессовании.
Способ осуществляется следующим образом. Из
любого легкообрабатываемого материала (дерева, алюминия, сплава олова и т.д.)
изготавливают мастер-модель, а затем методом гальванопластики получают ее
металлическую копию. В качестве материала для получения металлической копии
мастер-модели можно использовать медь, хром или никель. На полученную копию
наносят карбидное покрытие. В зависимости от поставленной задачи, оно может
быть нанесено на металлическую копию мастер-модели как с одной стороны на
установке, описанной в работе, так и с двух сторон на установке, описанной в
работе. Наращивание конструкционного слоя на карбидное покрытие проводится
любым из известных методов: плазменным или электродуговым распылением металла
или заливкой эпоксидной смолы с наполнителем. Отделение пресс-формы
осуществляется путем растворения в кислоте металлической копии мастер-модели.
Пример 1. Медную копию мастер-модели толщиной 1 мм покрывают карбидом хрома при
давлении 1·10-2мм рт.ст. и температуре 400-420°С путем термораспада
смеси, содержащей 99-96 мас.% хромоорганической жидкости "Бархос" и
1-4 мас.% простого эфира многоатомного спирта, например метилового эфира
этилен- или диэтиленгликоля. Время термораспада 25 минут. Толщина
карбидо-хромового покрытия 25 мкм. Микротвердость карбидо-хромового покрытия
1500 кг/мм3. На медную копию мастер-модели с карбидо-хромовым
покрытием, со стороны последнего, наращивают конструкционный слой из алюминия
Д-16. После удаления медной копии пресс-форму промывают водой, ацетоном и
высушивают. Экспериментально установлено, что для такой пресс-формы количество
запрессовок резиновых колец из резины марок ИРП 1354, 2651, 1265, 14к10, 14р15,
1338 до первого залипания в 3-4 раза больше, чем при использовании пресс-форм с
никелевым покрытием по прототипу. Прессование проводилось при температуре
170°С.
литье давление поршень расплав
1.6 Цель и задачи исследования
Целью данной работы является оптимизация
технической схемы ЛПД на машинах с холодной горизонтальной камерой прессования
в условиях ОАО «АПЗ».
При этом необходимо решить ряд задач:
) провести анализ литературных источников;
) провести исследование и обсуждение
результатов;
) на основе результатов исследования разработать
технологии изготовления отливок и планировочные решения;
) оценить экономическую эффективность от
внедрения предложенной инновации;
) оценить результаты исследования и технический
проект с точки зрения экологической безопасности и охраны труда.
1.7 Научная гипотеза, объект и предмет
исследования
Из выше сказанного актуальной проблемой литья
под давлением на машинах с холодной горизонтальной камерой прессования является
изнашивание пресс-формы что приводит к браку отливок получаемых в условиях ЛПД.
Повышение работоспособности пресс-формы ЛПД на машинах с холодной
горизонтальной камерой прессования за счет установления пресс-поршня из сплава.
Объектом исследования непосредственно является
пресс-форма ЛПД на машинах с холодной горизонтальной камерой прессования.
Предмет исследования является износостойкость
пресс-формы ЛПД на машинах с холодной горизонтальной камерой прессования
Пресс-формы выходят из строя н основном из-за
термической усталости, необратимого формоизменения и износа. Сопротивление
материалов рабочей полости этим процессам определяется уровнем их механических
свойств при температуре контакта, величиной общей деформации и температурных
напряжений. С повышением механических свойств, понижением общей деформации и
снижением температурных напряжений, термостойкость, формостойкость и
износостойкость, а следовательно, и стойкость повышаются. Уровень физических
свойств материалов пресс-форм и уровень параметров технологического процесса
определяют температурный перепад, температуру контакта, а также величину
механических свойств материалов при температуре контакта и величину общей
деформации и температурных напряжений. Поэтому физико-механические свойства
материалов, применяемых для изготовления вкладышей и стержней, приведены в
зависимости от температуры испытаний [1].
Степень эффективности использования указанных
технологий при планировании нового производственного процесса с учетом реальных
материально-технических и финансовых возможностей определяется прежде всего
характеристиками литейных машин и технологий, а также экономическими
показателями производства отливок в условиях ЛПД на машинах с холодной
горизонтальной камерой прессования способа литья. Такое планирование и выбор
оптимальной технологии н нужного оборудования всегда является достаточно
сложной задачей как для специалистов, определяющих основные направления развития
литейного производства той или иной отрасли промышленности, так и для
технологов, конструкторов и проектантов, призванных реализовать их на практике
[2].
Список использованных источников
1.
Горюнов, И.И. Пресс-формы
для литья под давлением [Текст]:
Справочное
пособие/ И.И.
Горюнов,
И.В.
Морозов, Р.П. Ришэ.-
Л.:
Машиностроение,
2010.
- 256
с.
2.
Ефримов, В.А. Специальные виды литья [Текст]: справочник/ В.А. Ефримов, Г.А.
Анисович, В.Н. Бабич.- М.: Машиностроение, 2011. - 436 с.
3.
Беккер, Б.М. Литье под давлением [Текст]:
учебник для вузов/ М.Б.
Беккер,
М.Л.
Заславский, Ю.Ф. Игнатенко. - 3-е
изд., перераб. и под. - М.: Машиностроение,
2011.
- 400
с.
4.
Гини,
Э.Ч.
Технология
литейного производства: Специальные виды литья [Текст]:
Учебник
для студ. высш. учеб. заведений/
Э.Ч.
Гини,
В.А.
Рыбкин, А.М. Зарубин.-
М.: Машиностроение,
2005.
- 352
с.
5.
Могилёв, В.К. Справочник литейщика [Текст]: справочник/В.К.Могилёв, О.И.Лев.-
М.: Машиностроение, 2010.-272 с.
6.
Фролов, К.В. Материалы машиностроении [Текст]: учебник для вузов / В.К. Фролов,
П.Н. Белянин. - М.: Машиностроение, 2011.
- 784 с.
7.
Гассель,
К.Н.
Изготовление
тонкостенных деталей литьем под давлением [Текст]:
Учебник
для студ. высш. учеб. заведений/
К.Н.
Гассель,
А.Н.
Кремень, В.С. Лехтерев.-
М.: Литейное
производство, 2009.
- 352
с.
9.
Давиденков,
Н.Н. Необратимое формоизменение при циклическом тепловом фоздействии
[Текст]:
Справочное
пособие/ Н.Н.Давиденков,
В.А.Лихачев.-
М.:
Машгиз,
1962.
- 256
с.
10.
Патент 2431543 Российская Федерация, МПК B
22 D 17/20.
Вспомогательные устройства и конструктивные элементы [Текст] / Скивалокки К.;
заявитель и патентообладатель Копромек С. Р.Л. - № 2008144577/02 заявл.
04.04.2007; опубл. 20.10.2011. - 20с.
.
Патент 2007263 Российская Федерация, МПК B
22 D 17/20.
Вспомогательные устройства и конструктивные элементы [Текст] / Липсман Д.Л.,
Кожокин Т.И.; заявитель и патентообладатель Липсман Д.Л., Кожокин Т.И. - №
2008144577/02 заявл. 04.04.2007; опубл. 20.10.2011. - 20с.
.
Патент 2272696 Российская Федерация, МПК B
22 D 19/08. Для
нанесения облицовки или покрытий из антифрикционных материалов [Текст] /
Дорофеев Ю.Г., Бабец А.В., Сычев А.Г.; заявитель и патентообладатель ГОУ ВПО
ЮРГТУ (НПИ) - № 2008144577/02 заявл. 15.02.2005; опубл. 10.02.2007. - 10с.
.
Патент 226911 Российская Федерация, МПК С 25 D
1. Гальвопластика [Текст] / Слушков А.М., Бараненков Е.Я., Фукина Н.А.;
патентообладатель Федеральное государственное унитарное предприятие Научно -
производственное предприятие Полет. - № 2008144577/02 заявл. 05.03.2009; опубл.
20.10.2011. - 35с.