Литье металлов

  • Вид работы:
    Контрольная работа
  • Предмет:
    Другое
  • Язык:
    Русский
    ,
    Формат файла:
    MS Word
    24,19 Кб
  • Опубликовано:
    2012-07-26
Вы можете узнать стоимость помощи в написании студенческой работы.
Помощь в написании работы, которую точно примут!

Литье металлов

1. ЛИТЬЕ МЕТАЛЛОВ. СПЕЦИАЛЬНЫЕ СПОСОБЫ ЛИТЬЯ

Литье - это способ изготовления заготовки или изделия заполнением полости заданной конфигурации жидким металлом с последующим его затвердеванием. Иными словами, процесс литья заключается в заливке расплавленного и перегретого (до оптимальной температуры) металла в литейную форму, внутренняя полость которой соответствует (с определенным допуском) конфигурации и размерам будущей детали. Заготовку или изделие, получаемое методом литья, называют отливкой.

Литейное производство - основная заготовительная база всех направлений машиностроения.

Одним из достоинств литейной технологии является универсальность, позволяющая получать отливки сложной конфигурации из большой номенклатуры сплавов, широкого диапазона размеров и массы (от нескольких граммов до сотен тонн). Во многих случаях литье - единственно возможный способ получения заготовок сложной формы. Литейные заготовки являются наиболее дешевыми, а зачастую имеют минимальный припуск на механическую обработку, что говорит об экономичности процесса литья в серийном производстве.

Однако, наряду с достоинствами литейной технологии имеются и недостатки. А именно:

пониженные пластичность и прочность литой заготовки по сравнению с деталями, полученными методом штамповки;

необходимость проведения сложных и дорогостоящих операций по обеспечению техники безопасности и экологической защиты экологической среды.

В машиностроении масса литых деталей составляет около 50% массы машин и механизмов, в станкостроении - около 80%. Методом литья получают до 82% изделий из чугуна, до 23% - из стали и 3 - 6% из цветных металлов.

Способы изготовления отливок делятся на две группы:

литье в обычные песчаные формы;

специальные способы литья.

В свою очередь способы литья в песчаные формы могут быть ручными и машинными (механизированными и автоматизированными). К специальным методам литья относятся: литье в кокиль (металлические формы свободной заливкой); центробежное литье; литье под давлением; литье по выплавляемым, растворяемым, выжигаемым моделям; литье в оболочковые формы и другие способы литья.

Специальные способы литья. Отличительной особенностью отливок, получаемых специальными способами, по сравнению с литьем в обычные песчаные формы являются, как правило, их более высокая точность, лучшее качество поверхности, меньшие величины припусков на механическую обработку. Специальные способы получения отливок являются прогрессивными методами формообразования.

Специальные способы литья подразделяются на:

.1.      способы литья в специальные формы:

.1.1.   литье в оболочковые формы;

.1.2.   литье по выплавляемым моделям;

.1.3.   литье в кокиль;

.2.      литье с применением внешних воздействий на жидкий и кристаллизующийся металл:

.2.1.   литье под давлением;

.2.2.   литье под низким давлением;

.2.3.   литье вакуумным всасыванием;

.2.4.   литье с кристаллизацией под давлением;

.2.5.   центробежное литье;

.2.6.   литье выжиманием;

.3.      способы литья с непрерывным процессом формирования отливки:

.3.1.   непрерывное и полунепрерывное литье;

.3.2.   электрошлаковое литье.

1.1 Способы литья в специальные формы

Литье в оболочковые формы

Литье в оболочковые формы - это способ получения отливок свободной заливкой расплава в оболочковые формы из термореактивных смесей.

Оболочковые формы отличаются высоким комплексом технологических свойств: достаточной прочностью, газопроницаемостью, податливостью, негигроскопичностью. По сравнению с отливками, полученными в песчаных формах, детали, отлитые в оболочковые формы, имеют в 1,5 раза меньший припуск на механическую обработку.

Оболочковые формы изготавливают из формовочных песчано-смоляных смесей с термопластичными или термореактивными связующими смолами. Если смола в смеси находится в порошкообразном состоянии, то такую формовочную смесь называют неплакированной, а если зерна песка покрыты сплошной тонкой пленкой смолы, то смесь будет плакированной. Формовочная смесь содержит наполнитель - мелкозернистый кварцевый песок - 100%: связующие - пульвербакелит (фенолформальдегидная смола с добавками уротропина) - 6 - 7%; увлажнитель (керосин, глицерин) - 0,2 - 0,5%; растворитель - (ацетон, этиловый спирт) - до 1,5%. Размягчение введенной в смесь смолы происходит при 70 - 80°С, а при 100 - 120°С она уже плавится, покрывая поверхность зерен песка тонкой клейкой пленкой. Последующий нагрев смолы до 200 - 250°С вызывает ее необратимое затвердение и, как следствие, существенное повышение прочности и жесткости оболочковой формы. Оболочковые формы получают с помощью нагретых металлических моделей, изготавливаемых из серого чугуна, стали и алюминиевых сплавов. Каждая форма состоит из двух соединенных (путем склеивания пульвербакелитом и жидким клеем или с помощью скоб, струбцин) оболочковых полуформ. Толщины оболочек для мелких и среднего размера отливок колеблются соответственно в пределах 8 - 10 мм и 12 - 15 мм. Технология изготовления оболочек включает в себя следующие операции.

.        Нагрев модельной оснастки до 200 - 250°С.

. Нанесение на рабочую поверхность модельной оснастки (пульверизатором) разделительного состава - быстро затвердевающей силиконовой жидкости, образующей при этом разделительную пленку, которая предотвращает прилипание оснастке формовочной смеси и тем самым упрощает последующее отделение оболочки от модели.

.        Нанесение песчано-смоляной смеси на модельную оснастку одним из следующих способов: путем свободной засыпки из поворотного или стационарного бункера, пескодувным методом, путем свободной засыпки с допрессовкой. Указанные способы изготовления оболочковых форм различаются, по существу, лишь приемами нанесения песчано-смоляной смеси на модельную оснастку.

.        Формирование и отверждение оболочки необходимой толщины. Широко применяется насыпной (бункерный) способ формообразования оболочки, основанной на использовании поворотного бункера, для свободной засыпки формовочной смесью модели вместе с модельной плитой. Бункер наполняют песчано-смоляной смесью. Нагретая и обработанная разделительным составом модельная плита с моделью закрепляется на приемной рамке поворотного бункера. Засыпка модели и модельной плиты смесью осуществляется поворотом бункера на 180°. Для формирования оболочки толщиной 5 - 15 мм плиту выдерживают под смесью в течение 15 -20 с. При этом смола быстро плавится и затвердевает, образуя полутвердую оболочку. Затем бункер возвращают в исходное положение. С него снимают модельную плиту с налипшей оболочкой и помещают ее в печь для доотверждения оболочки (режим окончательного отверждения смолы - 300 -350°С, 1 - 3 мин).

.        Съем оболочковой полуформы после ее изготовления с модели осуществляется с помощью толкателей.

Перед заливкой собранные формы с вертикальной плоскостью разъема (а также формы крупных размеров) помещают в контейнеры и засыпают чугунной дробью. Этим предотвращается коробление и разрушение форм при их заливке расплавом. Небольшие формы с горизонтальной плоскостью разъема устанавливаются для заливки на слой песка.

Способом литья в оболочковые формы получают отливки массой от 0,2 до 200 кг из практически любых литейных сплавов. Этим способом изготавливают ребристые мотоциклетные цилиндры, коленчатые валы автомобильных двигателей.

Преимущества способа литья в оболочковые формы: возможность получения тонкостенных отливок сложной формы; гладкая и чистая поверхность отливок; небольшой расход смеси; качественная структура металла за счет повышенной газопроницаемости форм; широкая возможность автоматизации; небольшие допуски на обработку резанием.

Недостатки: ограниченный размер отливок (до 1500 мм); высокая стоимость смесей; выделение вредных паров и газов из смесей при изготовлении форм.

Литьё по выплавляемым моделям

Литье по выплавляемым моделям - это процесс получения отливок в неразъемных разовых огнеупорных формах, изготавливаемых с помощью моделей из легкоплавящихся, выжигаемых или растворяемых составов. Используют как оболочковые (керамические), так и монолитные (гипсовые) формы. Таким образом, рабочая полость формы образуется выплавлением, растворением или выжиганием модели. Отливки, полученные вышеуказанным методом, мало отличаются (по размерам и форме) от готовой детали. Этим способом изготавливают сложные отливки высокого качества, например, турбинные лопатки из жаропрочных сплавов, художественные и ювелирные изделия. Литье по выплавляемым моделям осуществляют различными способами заливки: свободной, центробежной, под низким давлением, с использованием направленной кристаллизации.

Модельные составы, применяемые при литье по выплавляемым моделям, должны обладать минимальными значениями усадки и коэффициента термического расширения, иметь высокую жидкотекучесть в вязкопластичном состоянии, хорошо смачиваться керамической или гипсовой суспензией, наносимой на модель, но химически с ней не взаимодействовать, обладать температурой размягчения, превышающей 40°С.

Основные группы модельных составов:

воскообразные составы, которые изготавливаются из расплавов или пласт и содержат как основные компоненты (парафин, стеарин), так и синтетические полимеры (например, полиэтиленовый воск);

составы на основе натуральных и синтетических смол, которые обладают большей прочностью и теплоустойчивостью по сравнению с составами первой группы;

водорастворимые составы на основе мочевины (карбамида), азотнокислых и других водорастворимых солей имеют малую усадку и плавятся в области температур 129 - 339°С. Они широко используются для изготовления сложных по форме стержней;

выжигаемые модельные составы, использование которых упрощает и удешевляет формовку, повышая при этом точность литья;

выплавляемые модельные составы с твердыми наполнителями в сущности представляют собой изотропный композиционный материал с пластичной матрицей и распределенными в ней частицами твердого порошка (наполнителя); данные составы используются в производстве литых лопаток газотурбинных двигателей;

эмульсионные модельные составы с твердыми наполнителями по ряду технологических (усадка, прочность, чистота поверхности) и коррозионных (взаимодействие с влагой воздуха и этилсиликатным связующим) свойств являются более приоритетными по сравнению с вышеуказанными выплавляемыми модельными составами с твердыми наполнителями.

Сущность способа состоит в получении специальных моделей посредством заливки или запрессовки модельного состава в пастообразном (подогретом) состоянии в специальные пресс-формы, сборке их в блоки (соединении моделей и отливок с моделью литниковой системы), покрытии модельных блоков огнеупорной оболочкой (например, кварцевым песком, крошкой шамота), удалении моделей (выплавлением, растворением, выжиганием), прокаливании оболочковых форм посредством их нагрева в печи до температур 850 - 950°С для удаления остатков модельных составов и газотворных веществ из материала оболочки, заливки в них жидкого металла, выбивка и очистка отливок.

К преимуществам литья по выплавляемым моделям относят возможность получения сложных отливок из разнообразных сплавов, в том числе труднообрабатываемых резанием и ковкой.

К недостаткам способа литья можно отнести многооперационность, трудоемкость и длительность процесса, многообразие материалов, используемых для изготовления формы.

Литьё в кокиль

Кокильным литьем называют процесс получения отливок посредством свободной заливки расплавленного металла в многократно используемые металлические формы - кокили.

Кокили бывают неразъемные и разъемные. Все перечисленные типы кокилей могут быть одно- и многогнездные (то есть для получения одной отливки или одновременно нескольких), немеханизированные (ручные), механизированные, автоматизированные и автоматические.

Материалы, используемые для изготовления кокилей, должны хорошо противостоять термическим ударам, возникающим при заливке металла, легко обрабатываться, быть недефицитными и недорогими. Кокили изготавливают из серого и высокопрочного чугуна, конструкционных углеродистых и легированных сталей, медных (латуни) и алюминиевых сплавов. С помощью одной формы (или большей части ее элементов) кокильным литьем получают до 500 мелких стальных, 5000 чугунных или десятки тысяч алюминиевых отливок. Отдельные элементы кокиля (в первую очередь - стержни, оформляющие внутренние полости отливки) могут изготавливаться как из металла, так и из стержневой смеси; в последнем случае они предназначаются лишь для разового использования. Металлические стержни сложной формы целесообразно делать разборными.

Классификация кокилей осуществляется по следующим признакам:

а) по соотношению трех габаритных размеров: плоские (один размер значительно меньше двух других) и цилиндрические (один размер значительно больше двух других);

б) по наличию разъемных частей и расположению в пространстве поверхности раздела: неразъемные (вытряхные) и разъемные (с горизонтальной, вертикальной и комбинированной поверхностями разъема);

в) по числу рабочих гнезд: одноместные и многоместные;

г) по конструкции рабочих стенок кокиля: цельные и составные из элементов (унифицированных или неунифицированных) - параллелепипедов, проволоки, иголок и др.;

д) по способу охлаждения: с воздушными (естественным или принудительным), жидкостным (вода, эмульсия, масло) и комбинированным (водовоздушным) охлаждением;

е) по типу конструкции рабочей стенки и способу подвода к ней охлаждающей среды: однослойные и двухслойные;

ж) по долговечности защитного покрытия: с периодически наносимым и постоянным защитным покрытием;

з) по составу материала рабочей стенки кокиля: чугунные, стальные, из алюминиевых, медных и специальных сплавов, а также композиционных материалов.

Технологический процесс кокильного литья требует специальной подготовки кокиля к заливке и включает следующие операции:

а) очистку рабочей поверхности кокиля от остатков отработанного покрытия, загрязнений и ржавчины;

в) нагрев кокиля до оптимальной (для каждого сплава своей) температуры в пределах 115 - 475°С в целях повышения заполняемости формы расплавом и тем самым улучшения качества отливок. Необходимость предварительного подогрева кокиля обуславливается скоплением в нем (на холодных стенках, щелях по разъему, в вентах) водного конденсата, взаимодействие которого с расплавом при заливке может привести к взрыву и разрушению кокиля;

г) сборку формы, состоящую из простановки стержней и соединения металлических полуформ;

д) заливку расплава в форму;

е) охлаждение отливок до установленной температуры. Искусственное охлаждение кокиля применяют с целью увеличения скорости затвердевания и охлаждения отливки, уменьшения продолжительности цикла литья, и ,как следствие, повышения стойкости кокиля. Искусственному охлаждению могут подвергаться как рабочая или наружная поверхности, так и их фрагменты;

ж) разборку кокиля с извлечением отливки.

Основные достоинства кокильного литья - многократное использование формы, более высокая производительность труда, точность отливок, качество их поверхности и стабильность размеров.

Недостатками литья в кокиль являются их высокая стоимость, трудоемкость изготовления кокилей, отсутствие податливости, особенно при получении сложных фасонных отливок из легированных сталей и тугоплавких металлов.

Данным способом получают в основном отливки из сплавов на основе меди, алюминия, магния, а также стали и чугуна массой до 2000 кг.

1.2 Литьё с применением внешних воздействий на жидкий и кристаллизующий металл

литье полимерный металл заготовка

Литьё под давлением

Данный способ представляет собой машинное литье жидкого металла в металлические формы (пресс-формы) под избыточным давлением (до 300 МПа). Сущность процесса заключается в том, что в камере прессования, соединенной с оформляющей полостью формы, на расплав давит поршень, в результате чего жидкий металл устремляется в полость формы и быстро заполняет ее; застывая в ней, он образует отливку с высокой точностью размеров. Затем происходит раскрытие пресс-формы и удаление отливки с помощью толкателей. Технологический процесс литья под давлением характеризуется коротким циклом и малым числом операций.

Машины для литья под давлением подразделяются по конструкционным и функциональным особенностям узла прессования на три типа: с холодной (неподогреваемой) горизонтальной, с холодной вертикальной и с горячей вертикальной камерами прессования. Горячая камера прессования располагается в обогреваемом чугунном тигле с расплавленным металлом. В машинах с горячей камерой прессования предусмотрены автоматические операции дозирования и заливки, что существенно повышает их производительность до 1000 - 3600 запрессовок в час. Машины с горячей камерой прессования благодаря медленному охлаждению расплава позволяют получать отливки малых размеров и незначительной массы (до нескольких граммов) и используются в основном для литья легкоплавких (цинковых, свинцово-сурьмянистых и др.) сплавов. Машины же с холодной камерой прессования используют для получения отливок из цветных сплавов на основе алюминия, магния, меди, а также из стали и чугуна. С учетом высокой скорости охлаждения сплавы должны обладать оптимальным комплексом технологических свойств: хорошей жидкотекучестью, малой усадкой и минимальным взаимодействием с материалом формы.

Литьем под давлением получают тонкостенные отливки, масса и теплосодержание которых существенно (на два порядка) меньше, чем у металлических форм. Поэтому при заливке металла в пресс-форму охлаждение отливки происходит с высокой скоростью. Это вызывает необходимость очень быстрого (со скоростью до 120 м/с и продолжительностью от 0,01 с до 0,6 с) заполнения расплавом формы. Впускной поток расплава, ударяясь о стенку формы, оказывает на нее гидродинамическое давление. Рост гидродинамического давления способствует повышению качества поверхности отливки и обеспечивает формирование ее рельефа. Однако при этом (из-за увеличения скорости впускной струи) возрастает эрозионное воздействие потока, для уменьшения которого угол между стенкой формы и направлением движения потока следует брать по возможности минимальным.

Преимуществами способа литья под давлением являются его высокая производительность, точность размеров и хорошее качество поверхности (гладкая, плотная) отливок, автоматизация процессов литья, снижение в 10 и более раз трудоемкости изготовления отливок по сравнению с литьем в песчаные формы.

Недостатки этого способа литья, в первую очередь, обусловлены возникновением в отливках газоусадочной пористости: это пониженные плотности и пластичность металла, невозможность проведения следующей за литьем термической обработки. К недостаткам данного способа можно отнести также ограничение массы отливок (до 50 кг), высокую стоимость пресс-форм.

Литьем под давлением получают детали (корпуса, платы) различных приборов, электрических машин, карбюраторов, а также алюминиевые блоки цилиндров, сантехническую арматуру и др. Данным способом изготавливают изделия, почти не требующие последующие механической обработки, в том числе детали с готовой резьбой и т.п.

Литье под низким давлением

Литье под низким давлением представляет собой процесс получения отливок при заполнении форм расплавом и его кристаллизации под избыточным давлением до 0,1 МПа. Данный способ литья используют для изготовления деталей из алюминиевых, магниевых и медных сплавов, реже - из стали и чугуна.

При литье под низким давлением используют металлические (кокили), оболочковые, песчаные, керамические и гипсовые формы.

В форму металл поступает из тигля через металлопровод, частично погруженный в расплав, под давлением воздуха или газа на зеркало ванны расплава. Когда отливка затвердеет, производят разгерметизацию установки и слив излишков металла из металлопровода в тигель.

При литье под низким давлением в процессе всего рабочего цикла получения отливки литейная форм, металлопровод и тигель объединены расплавом в единую систему, что позволяет управлять параметрами процесса заполнения формы расплавом (посредством программированного изменения перепада давлений над зеркалом ванны и в форме) с целью достижения оптимального по качеству варианта.

Заполнение формы жидким металлом непосредственно из тигля с повторным использованием сливаемых после предыдущей плавки остатков расплава существенно (от 3-х до 10 раз по сравнению с литьем в кокиль) сокращает расход металла.

К преимуществам данного способа литья также относятся повышенные плотность и качество структуры металла (благодаря избыточному давлению на него, обеспечению последовательного затвердевания отливок, а также исключению газовой пористости); возможность получения тонкостенных (с толщиной стенок 1,5 - 2 мм) отливок; высокий уровень механических и эксплуатационных свойств отливок; автоматизация заливки формы.

Недостатком способа являются его ограниченное применение при литье деталей из чугуна и стали, что вызвано в данном случае малым ресурсом работы металлопровода.

Литье вакуумным всасыванием

Литье вакуумным всасыванием заключается в заполнении формы металлом за счет создаваемого в нем вакуума. При данном способе литья полость формы заполняется за счет перепада давлений от атмосферного (над зеркалом расплава) до пониженного - 10 - 80 кПа (в полости формы).

Использование данного способа литья взамен кокильного приводит к существенному повышению качества поверхности тонкостенных отливок (крышек, крыльчаток), снижению расхода металла на литниковую систему и росту (в 1,2 раза) производительности труда за счет сокращения продолжительности технологического цикла литья.

К преимуществам способа заливки вакуумным всасыванием также можно отнести высокую плотность отливок; отсутствие газовых и усадочных пор, а также литноковой системы и прибылей; повышенные механические свойства отливок.

Недостатки литья - применимость его для получения отливок лишь простой формы, волнистость внутренних поверхностей отливок (например, втулок) и, как следствие, необходимость обеспечения припусков на механическую обработку.

Литьё с кристаллизацией под давлением

Данный способ обеспечивает получение плотных заготовок с высоким уровнем физико-механических и эксплуатационных свойств и с небольшими припусками на механическую обработку.

Сущность способа литья с кристаллизацией под давлением заключается в заливке металла в пресс-форму и последующем его уплотнении пуансоном гидравлического пресса в процессе затвердевания расплава. Пресс-форму заполняют расплавом (посредством свободной заливки) до определенного уровня, а затем его выжимают в полость формы пуансоном со скоростью 0,1 - 0,5 м/с. Заливку осуществляют при температуре, превышающей ликвидус сплава на 20 - 100°С. С помощью пуансона окончательно оформляются контуры отливки и производится ее уплотнение (выдержка под давлением) до полного затвердевания. Отливку, извлеченную из пресс-формы, подвергают (по необходимости) термической и механической обработкам.

Преимущества данного метода: получение плотных отливок (с мелкозернистой структурой, отсутствие газовой и усадочной пористости) из литейных и деформируемых сплавов с широким интервалом кристаллизации; обеспечение небольших припусков на обработку резанием; высокая производительность технологического процесса; отсутствие литниковой системы; большой процент (95%) выхода годных литых изделий.

Основными недостатками способа являются большая трудоемкость и высокая стоимость пресс-форм литья.

Центробежное литьё

Центробежным литьем называют способ изготовления отливок, при котором металл заливается в форму и затвердевает в ней под действием центробежных сил. Расплавленный металл заливается во вращающуюся форму, приводимую в движение специальной машиной, называемой центробежной. Литейные центробежные машины исполняются в трех вариантах: с горизонтальной, вертикальной или наклонной осью вращения. В ряде случаев внутренняя поверхность отливки является свободной, поскольку формируется без непосредственного контакта с литейной формой или стрежнем. На рабочую поверхность металлических форм, предварительно нагретых (или охлажденных) до 300°С, наносят огнеупорное покрытие в виде красок, облицовок и других материалов. Покрытие повышает стойкость формы, снижает скорость охлаждения отливки и возможность образования в ней трещин. Оно может также регулировать структуру и состав поверхностных слоев отливки. Существенно повышает качество отливок введение флюса непосредственно в форму в процессе формирования отливки. Флюс подают дозатором в заливочное устройство центробежной машины. Флюс рафинирует расплав, защищает его от окисления, а также затормаживает теплоотвод от внутренней свободной поверхности затвердевающей отливки, создавая благоприятные условия для направленной кристаллизации металла в форме. Использование флюсов снижает в 4 - 6 раз процент брака при центробежном литье.

Расплав заполняет полость литейной формы и затвердевает под воздействием центробежной силы Fц, значительно превышающей центр тяжести

Fт: Fц=КFт,

где К - гравитационный коэффициент (К = 3 - 300).

Коэффициент гравитации зависит от вида формы и состава литейного сплава: К = 75 для песчаной формы, К = 90 - 100 для сплавов с узким интервалом затвердевания. При литье в формы с вертикальной осью вращения коэффициент гравитации равен 100 - 200.

При центробежном литье важной характеристикой, обеспечивающей технологический процесс, является частота вращения формы - число оборотов в минуту. В случае превышения оптимальных значений частоты вращения возрастает ликвация в отливке, а также опасность образования в ней трещин из-за роста давления (вследствие увеличения Fц). При невысоких частотах вращения отливка плохо очищается от шлаков и газов, в результате чего приобретает шероховатую поверхность.

Центробежным способом получают отливки из чугуна, стали, сплавов на основе меди, алюминия, цинка, магния, титана и др. Данное литье применяют также для получения биметаллических изделий, изготавливаемых из композиций типа: сталь - бронза, чугун - бронза, сталь - сталь, сталь - чугун и др. Использование биметаллических деталей позволяет экономить дефицитный материал и одновременно повышать в 2 - 3 раза ресурс работы изделий.

Центробежное литье применяют, в основном, для получения пустотелых отливок типа тел вращения (втулки, роторы). Фасонные отливки, как правило, получают в машинах с вертикальной осью вращения.

Преимуществами данного способа литья являются большая производительность способа и возможность его автоматизации; высокий выход годного металла (90 - 95%); высокая плотность и мелкозернистое строение отливок (за счет больших скоростей охлаждения); возможность получения тонкостенных отливок из сплавов с низкой жидкотекучестью.

Недостатки способа: химическая неоднородность (ликвация) толстостенных отливках; высокие внутренние напряжения в поверхностном слое, способствующие образованию трещин; возможность деформации формы под давлением жидкого металла, в результате чего отливки образуются с подутостью; разностенность по высоте отливок, полученных в машинах с вертикальной осью вращения.

Центробежным литьем изготавливают водонапорные и канализационные трубы, гильзы двигателей внутреннего сгорания, поршневые кольца, цилиндры компрессоров, подшипники качения, втулки, диски, барабаны и др.

Литьё выжиманием

Данный способ литья предназначен для получения тонкостенных крупногабаритных отливок из алюминиевых и магниевых сплавов посредством свободной заливки расплава (через металлоприемник) в раскрытую форму с последующим заполнением металлом всей ее рабочей полости за счет сближения полуформ. Избыток металла выжимается в свободный ковш.

Процесс получения отливки реализуется двумя основными методами: либо поворотом подвижной полуформы вокруг жестко фиксированной оси, либо плоскопараллельным сближением одной или обеих полуформ. При литье выжиманием используют металлические полуформы с песчаным стержнем. Для повышения стойкости форм их перед заливкой покрывают защитными красками и нагревают до 250°С. Подогрев полуформ осуществляется нагревателями, расположенными внутри них. Заливку алюминиевых и магниевых сплавов в форму проводят при температуре, превышающей их ликвидус на 80 - 100°С, а процесс выжимания начинают лишь при температуре на 20 - 40°С выше ликвидуса.

Оптимальная скорость течения металла в форме, являющаяся важным параметром технологического процесса, составляет 0,3 - 0,7 м/с. Затвердевание отливки начинается уже в процессе движения расплава в форме и заканчивается соединением корочек металла, намороженных на стенках сближающихся полуформ. При соприкосновении полуформ возникает зона контакта поверхностей соединяемых корочек металла, которая представляет собой наиболее уязвимую дефектную область отливки.

Преимуществами способа литья выжиманием являются: возможность получения крупногабаритных тонкостенных отливок (например, детали холодильников и теплообменных аппаратов); отсутствие литниковой системы; возможность выжимания металла в форму в суспензионном состоянии (при температурах между солидусом и ликвидусом).

Недостатки способа литья: пониженная точность размеров отливок (по сравнению с литьем в металлические формы) из-за неточной стыковки полуформ; низкий выход годного литья (25 - 50%).

1.3 Способы литья с непрерывным процессом формирования отливки

Непрерывное и полунепрерывное литьё

Непрерывным литьем называют процесс получения протяженных отливок посредством свободной непрерывной заливки расплава в водоохлаждаемую форму (кристаллизатор) и вытягивания из нее сформированной части отливки. Данный способ называют полунепрерывным литьем, если накладывается ограничение на подачу металла (по времени или массе).

Исходя из расположения кристаллизатора и технологической оси процесса (направления вытяжки заготовки), непрерывное (полунепрерывное) литье подразделяют на горизонтальное и вертикальное. При горизонтальном литье металл отливки меньше подвержен окислению и загрязнению шлаковыми включениями, поскольку он сначала попадает в специальный металлоприемник, а уже из него в кристаллизатор. Вертикальное литье является более эффективным при получении полых заготовок.

В зависимости от материала рабочей полости литейные формы подразделяются на металлические (выполненные из меди, алюминия, стали) или графитовые. В последнем случае используются графитовые вставки, которые могут быть монолитными или полыми.

Преимуществами способа непрерывного литья являются: неограниченность длины отливки; однородность свойств отливки по длине; повышенная плотность металла; реализация направленного затвердевания; отсутствие литниковой системы; большой процент выхода годного металла; повышенная точность и чистота поверхности отливки; отсутствие операций выбивки форм, обрубки и очистки отливок; относительно невысокая стоимость литейных форм; повышенная производительность труда.

К недостаткам данного способа литья можно отнести: возможность изготовления отливок не очень сложной конфигурации; ограниченность номенклатуры изделий.

Методом непрерывного (или полунепрерывного) литья изготавливают трубы с широким диапазоном размеров (диаметром до 1000 мм), втулки для гильз дизельных двигателей, заготовки для гаек, шестерен, прокатных валков и др.

Электрошлаковое литьё (ЭШЛ)

Сущность процесса электрошлакового литья заключается в постепенном электрошлаковом переплаве расходуемого электрода в водоохлаждаемой металлической форме и последующей кристаллизации расплавленного металла в ней.

Отливки условно подразделяют на две группы: отливки сплошного сечения и отливки с внутренними несквозными полостями.

В связи с последовательным оплавлением электрода и направленной кристаллизацией небольших порций металла отливки приобретают повышенную химическую и структурную однородность: в отливках отсутствует ликвация, возрастает их плотность и уменьшается количество вредных примесей и металлических включений в них. Все это обеспечивает отливкам высокие механические свойства.

Конструктивно-технологические особенности ЭШЛ (совмещение операций расплавления металла плавильном агрегате с заливкой его в форму, последовательное плавление электрода, рафинирование металла шлаком, направленная кристаллизация отливки, высокая однородность структуры - отсутствие усадочных раковин и осевой рыхлости) позволяют осуществить процесс литья без использования элементов литниковых систем (питателей, выпоров и прибылей). Повышенные, эксплуатационные свойства отливок, полученных методом ЭШЛ, допускают наличие в них острых углов и резких переходов от сечения к сечению. В результате применения данной технологии повышается коэффициент использования металла. Способ может успешно заменить ряд операций, выполняемых ковкой, штамповкой и сваркой, при изготовлении ответственных деталей.

2. КЛАССИФИКАЦИЯ ТЕХНОЛОГИЙ ПЕРЕРАБОТКИ ПОЛИМЕРНЫХ МАТЕРИАЛОВ

Высокие удельная прочность, коррозионная стойкость, тепло- и электропроводность, а также комплекс других достоинств металлических материалов не могут полностью удовлетворить постоянно возрастающие требования специалистов, занимающихся разработкой принципиально новых видов техники и технологий. Кроме того, приходится учитывать фактор истощения сырьевых запасов традиционных машиностроительных материалов, увеличение энерго- и трудозатрат, связанных с их разведкой, добычей, транспортировкой и переработкой.

По этой причине важными проблемами современного материаловедения являются разработка неметаллических конструкционных материалов и оптимизация их структуры с целью придания комплекса не характерных для металлов, необычных, часто противоречивых свойств. Актуальное направление решения этих проблем состоит в создании машиностроительных материалов на основе пластических масс, резины, древесины и керамики.

Пластические массы (пластмассы, пластики) - материалы на основе полимеров, способные приобретать заданную форму при нагревании под давлением и сохранять ее после охлаждения.

По происхождению полимеры подразделяют на природные, синтетические и искусственные. Типичными представителями природных, или биополимеров, являются целлюлоза, крахмал, натуральный каучук, белковые вещества. Ассортимент природных полимеров достаточно ограничен.

Синтетические полимеры - продукт реакций полимеризации или поликонденсации в процессах химического синтеза, т. е. направленного создания сложных веществ (полимеров) из более простых (мономеров), основанного на знании молекулярного строения и реакционной способности последних.

Искусственные полимеры получают путем обработки (модифицирования) природных полимеров (например, искусственный полимер нитроцеллюлозу получают нитрованием целлюлозы).

Переработка пластических масс - это комплекс технологических операций, обеспечивающих получение из пластмасс изделий или полуфабрикатов с заданными свойствами с помощью специального оборудования. Переработке пластмасс предшествуют проектирование конструкции изделия, выбор оптимального метода переработки, проектирование и изготовление технологической оснастки, разработка рецептуры полимерной композиции, ее приготовление т подготовка к формованию (гранулирование, таблетирование и т.п.). Собственно переработка пластмасс включает формование изделий и их последующую обработку с целью улучшения свойств полимерного материала (термическая обработка, радиационное сшивание и др.).

В начале XX в. методы переработки полимеров в изделия копировали известные способы переработки таких материалов, как глина и мягкие металлы (литье, прессование, штамповка), и только к середине ХХ в. появились новые технологические приемы формования изделий из пластмасс, основанные на использовании специфических свойств полимеров, - пневмо- и вакуумформование, каландирование и др. Сейчас количество целевых методов и приемов переработки пластмасс исчисляется десятками.

При выборе технологии переработки пластмасс можно использовать следующую их классификацию, основанную на физическом состоянии полимерного материала в процессе придания изделию формы или формования изделия:

а) из полимеров, находящихся в вязкотекучем состоянии - экструзия, литье под давлением, прессование;

б) из листовых или пленочных заготовок, находящихся в высокоэластическом состоянии - вакуумформование, пневмоформование, горячая штамповка, вытяжка;

в) из твердых полимеров, проявляющих вынужденную высокоэластичность - штамповка при комнатной температуре, прокатка;

г) с использованием растворов и дисперсий полимеров - получение пленок методом полива, формование оболочек методом окупания формы, ротационное формование оболчек из пластизолей (паст на основе ПВХ и пластификатора), нанесение полимерных порошковых покрытий;

д) спекание пресованных порошковых заготовок (прессовок) из реактопластов или термопластов с высокой вязкостью в вязкотекучем состоянии (фторопласты).

Выбор метода переработки для каждого конкретного изделия определяется множеством факторов, важнейшими из которых являются:

конструкция изделия;

технологические свойства полимерного материала;

условия эксплуатации изделия и вытекающие из них требования к нему (качество поверхности, точность размеров, наличие арматуры, резьб и др.);

предполагаемая тиражность изделия;

экономические и экологические факторы (стоимость оборудования и оснастки, их производительность и срок службы, затраты труда и квалификация работников, количество отходов материала и возможность их вторичной переработки и т.д.).

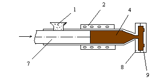
Экструзия (выдавливание) - процесс получения изделий заданной формы и размеров или длинномерных профильных полуфабрикатов путем нагревания полимерных гранул (гранулята) и продавливания полимерной массы, находящейся в вязкотекучем состоянии, через формующее отверстие экструзионной головки (рис. 1, а).

а)

б)

Рис.1. Способы переработки пластмасс: а - экструзия (выдавливание); б - литье под давлением (инжекция); 1 - гранулят; 2 - нагреватель; 3 - шнек; 4 - расплав; 5 - экструдируемый профиль; 6 - головка; 7 - поршень (плунжер); 8 - литьевая форма; 9 - отливка (прессовка).

Главной деталью специальной червячной машины (экструдера) для выдавливания расплава является винт (шнек). Термопластичный материал в виде гранул или порошка 1 попадает из питающего бункера в обогреваемый цилиндр, перемещается вращающимся шнеком 3. Материал уплотняется и под действием теплоты от нагревательного элемента 2 переходит в вязкотекучее состояние, после чего непрерывно выдавливается через калибрующий инструмент (головку) 6 в виде профиля 5.

В зависимости от формы отверстия в экструзионной головке формуют плоские (листы), профильные (уголки, швеллера) или объемные (трубы) изделия. Путем раздува выдавливаемой трубной (рукавной) заготовки с помощью воздуха получают пленки различной толщины и ширины. Для повышения прочности и уменьшения толщины пленок рукав подвергают одно- или двухосному ориентированию. Специальные конструкции головок с фильерами, снабженными большим количеством отверстий малого диаметра, позволяют экструдировать нити и волокна.

Экструзия - один из наиболее высокопроизводительных методов переработки термопластов. Методом экструзии получают полимерные трубы диаметром до 1,5 м и пленки шириной до 25 м. перспективное экструзионное оборудование - реакторы-экструдеры. В таких устройствах совмещены процессы плавления и полимеризации термопластов.

Литье под давлением осуществляют с помощью специальных машин с плунжерным или шнековым инжекционным устройством (рис. 1, б). Переработка термопластов литьем под давлением основана на нагревании материала до вязкотекучеого состояния, перемещении его под давлением в форму и последующем охлаждении отливки, обеспечивающем ее затвердевание. Термопластичный полимер 1 в виде гранул поступает из приемного бункера в цилиндрическую полость инжекционной машины, где с помощью нагревателя 2 поддерживается заданная температура. Периодически приводимый в движение поршень (или шнек) 7 выдавливает полимерную массув разъемную охлаждаемую форму 8, где формуется готовое изделие 9. Современные литьевые машины могут формовать изделия массой от долей граммов до 100 кг.

Методом литья под давлением получают изделия конструкционного, антифрикционного и общего назначения широкой номенклатуры. Достоинством метода являются высокая точность и качество изделий. Применение многоместных форм, предварительный подогрев сырья, высокая степень автоматизации процесса (разработаны полностью автоматизированные линии, управляемые с помощью ЭВМ) позволяю достигнуть высокой эффективности использования оборудования.

СПИСОК ИСПОЛЬЗОВАННЫХ ИНФОРМАЦИОННЫХ ИСТОЧНИКОВ

1.       Чумаченко Ю.Т., Чумаченко Г.В., Герасименко А.И. Материаловедение для автомехаников./ 3-е изд., доп и перераб. - Ростов н/Д: изд-во «Феникс».- 2004-480с.

.        Фетисов Г.П., Карпман М.Г. и др. Материаловедение и технология металлов. Учебник для студентов машиностроительных и спец. вузов./; Под ред. Г.П. Фетисов - 3-е изд., испр. и доп.- М.:Высш.шк., 2005-862с.

.        Струк В.А., Пинчук Л.С. и др. Материаловедение: учебник. - Минск:ИВЦ Минфина, 2008. - 519с.

.        Николаев А.Ф., Крыжановский В.К., Бурлов В.В. и др. Технология полимерных материалов. - СПб.: Профессия, 2008. - 544с.


Не нашли материал для своей работы?
Поможем написать уникальную работу
Без плагиата!
Без нейросетей!