Литье

  • Вид работы:
    Реферат
  • Предмет:
    История техники
  • Язык:
    Русский
    ,
    Формат файла:
    MS Word
    276,68 kb
  • Опубликовано:
    2009-01-12
Вы можете узнать стоимость помощи в написании студенческой работы.
Помощь в написании работы, которую точно примут!

Литье

Литье

Введение.

Процесс литья под давлением имеет более чем вековую историю. Главными его преимуществами является возможность получения заготовок с минимальными припусками на механическую обработку или без неё и минимальной шероховатостью необработанных поверхностей, обеспечение высокой производительности и низкой трудоёмкости изготовления деталей.

В 1940г. завод «Красная Пресня» изготовил машину мод. ЛД-7 с вертикальной камерой прессования - это было началом отечественного производства необходимого для литья под давлением оборудования. Позже этим же заводом было освоено производство машин с горизонтальной холодной камерой прессования. Машины такого типа нашли наибольшее распространение в промышленности. Это объясняется простотой и надежностью конструкции такой камеры. Кроме тою, в машинах с горизонтальной холодной камерой прессования потери теплоты жидким металлом и гидравлическое сопротивление на пути его движения в полость пресс-формы меньше, чем в машинах с вертикальной камерой, в результате исключения литникового хода. Это позволяет снизить температуру заливки сплава, уменьшить пористость и осуществить эффективную подпрессовку отливки после окончания заполнения формы. Машины с горизонтальной камерой прессования имеют более высокую производительность, чем машины с вертикальной камерой, так как поршень выталкивает пресс-остаток в момент раскрытия пресс-формы без дополнительных затрат времени.

Отечественное машиностроение выпускает машины с холодной горизонтальной камерой прессования с усилием запирания 1000— 35000 кН. Большая часть современных машин имеет механизм прессования с мультипликацией давления рабочей жидкости в период подпрессовки.

Дальнейшее совершенствование машин для литья под давлением направлено по пути повышения скоростей движения прессующего поршня с бесступенчатым регулированием скорости на различных этапах заполнения пресс-формы при одновременном снижении гидравлического удара в момент перехода от заполнения к подпрессовке. Отечественная промышленность выпускает в основном машины литья под давлением с холодной горизонтальной камерой прессования и автоматизированные комплексы и линии на их базе. Молдавское ПО «Точлитмаш» специализируется на выпуске машин с усилием запирания до 6000 кН, а ПО «Сиблитмаш» - до 35000 кН.

За рубежом машины литья под давлением и автоматизированные комплексы на их базе выпускают фирмы Vihorlat Snina (ЧССР), Litostroj (Югославия), фирма Buhler (Швейцария), JDRA, Itallpress (Италия), Frech (ФРГ), Ube, Toshiba (Япония), Lester, Gabler (США).

Сущность литья под давлением.

Выполняют машинным способом в металлические формы, называемые пресс-формами. Заполнение металлом пресс формы осуществляют после её смыкания через литниковые каналы, которые соединяют рабочую полость пресс-формы с камерой прессования машины для литья под давлением. Наружные очертания отливки образуются рабочей поверхностью сомкнутой пресс-формы, а внутренние отверстия и полости получают при помощи металлических стержней, которые извлекают из затвердевшей отливки в момент раскрытия пресс-формы. Стержни имеют механически привод в виде реек, шестерен, зубатых секторов, клиньев, эксцентриков, кинематически связанных с механизмом раскрытия пресс формы.

Металл заливают в камеру прессования и запрессовывают внутрь рабочей полости пресс-формы. После кристаллизации отливки происходит раскрытие пресс-формы для извлечения отливки, при этом отдельная часть остается неподвижной, а остальные части отводятся гидроприводом. Отливка удерживается в подвижной части и перемещается с ней до соприкосновения с выталкивателями, которые выталкивают отливку из подвижной части пресс-формы. Отливка может быть извлечена из раскрытой пресс формы при помощи манипулятора или робота. Для предотвращения сваривания рабочей поверхности пресс-формы с отливкой и облегчения извлечения отливки полость пресс-формы покрывают составами в виде паст или распыляющих жидкостей, содержащих порошки металлов, графит, сульфид молибдена.

Преимущественно используют сплавы на основе меди, алюминия, цинка, свинца, сурьмы, которые оказывают незначительное тепловое воздействие на пресс-формы. Разгар и деформация пресс-форм приводят к потере точности и чистоты поверхности отливок. Для сохранения постоянства размеров пресс-формы делают водоохлаждение. В последнее время все шире начинают использоваться тугоплавкие сплавы, например, стали, требующие очень дорогих пресс-форм с жаропрочными вставками из сплавов на основе молибдена. Внутренние полости в отрезках поучают при помощи латунных стержней. После кристаллизации стальной отливки латунный стержень остаётся внутри неё, при высокотемпературном отжиге он выплавляется из отливки, оставляя после себя полость.

Опивки, полученные литьём под давлением, отличаются чистотой поверхности и точностью, соответствующей 4 классу. Допуски на размеры находятся в пределах от ±0,075 до ±0,18 мм. Литьё под давлением экономически целесообразно для крупносерийного и массового производства точных отливок из легкоплавких сплавов. Трудоёмкость изготовления отливок литьём под давлением в литейных цехах снижается в 10-12 раз, трудоёмкость механической обработки снижается в 5-8 раз. Данный способ литья нашёл широкое применение в автомобильной, авиационной, электротехнической, приборостроительной, санитарно-технической отраслях промышленности.

Часто отливки, изготовленные литьём под давлением, армируют для упрочнения. Конструктивные элементы из других более прочных или износостойких сплавов предварительно получают механической обработкой или холодной листовой штамповкой и вкладывают в пресс-форму перед заполнением её металлом. При литье год давлением цинковых сплавов пресс-формы выдерживают без разрушения и потери точности 1 млн. заполнении металлом, магниевых сплавов - 250 тыс. заполнений, алюминиевых сплавов - 100 тыс., медных ставов - 5000 заполнений.

Процесс формирования опивки проходит 3 этапа:

сплав с большой скоростью (до 50 м/с) за короткое время (0,01 - 0,6 с) заполняет полость пресс-формы, перемещаясь с воздухом и парами смазки, находящимися в полости формы, образуя металловоздушную смесь;

в момент окончания заполнения пресс-формы происходит кратковременный и сильный гидравлический удар, прижимающий металл к поверхности пресс-формы, и поверхностный слои отливки (0,2 мм) получается очень плотным и мелкокристаллическим; подвижная половина пресс-формы под воздействием гидроудара отходит и на отливке по разъёму пресс-формы образуется заусенец;

кристаллизация отливки происходит с большой скоростью, что приводит к недостаточному питанию отливки жидким расплавом, но дефектов усадочного происхождения в отливках не наблюдается, т. к. газы в порах находятся под большим давлением и, расширяясь, способствуют полному заполнению полости пресс-формы металлом, повышая точность отливки, однако механические свойства металла и особенно его пластичность ухудшаются.

Газовые поры, находящиеся под плотной литейной коркой, не позволяют выполнять термическую обработку отливок из цветных сплавов, так как при высоких температурах газы расширяются и поры увеличивают свой объём, образуя пузыри и вспучины на поверхности отливок. Для снижения пористости отливок в практике полость пресс-формы и расплавленный металл вакуумируют или воздух в рабочей полости пресс формы замещают кислородом, который не смешивается с металлом а образует тонкие окисные плёнки на поверхности отливки, не снижая её качества.

Машины для литья под давлением бывают 2 типов - компрессорные и поршневые. Наибольшее распространение получили поршневые машины с холодной и горячей камерой прессования. Горячая камера прессования находится внутри тигля с расплавленным металлом, а холодная - отдельно от расплавленного металла и располагается горизонтально или вертикально. Современные машины для литья под давлением имеют полностью автоматизированный рабочий цикл с программным управлением, автоматизированы регулировка усилия смыкания пресс-форм, изменение скорости прессования, блокировка узлов при появлении неисправностей в машине.

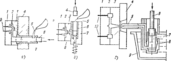
Поршневые машины с холодной горизонтальной камерой прессования (рис. 1, а) имеют пресс-форму, состоящую из 2 частей. Половина пресс-формы 1 крепится к подвижной плите машины, а половина 3 — к неподвижной 4. Стержни, образующие полости в отливках, чаще находятся в подвижной половине для удобства их извлечения из отливки. Подвижная полуформа 1 с большим усилием прижимается к неподвижной 3. Затем доза жидкого металла 5 заливается в камеру прессования 7 и впрессовывается плунжером 6 в рабочую полость пресс-формы 2. После кристаллизации сплава подвижная часть пресс-формы 1 отходит, и отливка выталкивателями 8, которые крепятся на плите, расположенной за подвижной полуформой, выталкивается на конвейер или в тару.

Поршневые машины с холодной вертикальной камерой прессования (рис. 1, б) имеют пресс форму, аналогичную по конструкции пресс форме предыдущей машины, состоящую из подвижной части 1 и неподвижной 3, но металл поступает в неё из вертикальной камеры 6. В камере прессования 6 перемещаются верхний плунжер 4 и нижняя пята 7. Верхний плунжер выходит за пределы камеры прессования, а в образовавшееся отверстие заливается доза металла 5 на поверхность пяты 7, которая перекрывает отверстие литниковой системы 8, соединяющее рабочую полость 2 пресс-формы с камерой прессования 6. Затем верхний плунжер 4 начинает сжимать металл, и под этим давлением пята 7 опускается и открывает отверстие литниковой системы 8. Металл под большим давлением и с большой скоростью впрыскивается в рабочую полость 2 пресс-формы.

Рис 1. Схемы процессов и машина для литья под давлением.

а - с горизонтальной холодной камерой прессования, б - с вертикальной холодной камерой прессования, в - с горячей камерой прессования; г - машина с горизонтальной холодной камерой.

Для создания избыточного давления необходима доза металла, несколько большая, чем требуется для отливки, поэтому между верхним плунжером и пятой остается пресс остаток в виде цилиндра. При поднятии верхнего плунжера нижняя пята также начинает подниматься вверх, срезает пресс остаток и выводит его за пределы камеры прессования, а затем опускается в исходное положение (до перекрытия отверстия литниковой системы). Подвижная часть пресс формы 1 отходит, и отливка извлекается при помощи выталкивателей 9. После извлечения отливки и закрытия пресс-формы цикл повторяется вновь.

Поршневые машины с горячей камерой прессования (рис. 1, в) оснащены тигельной печью 9, в которой в течение рабочей смены находится расплавленным металл 7. Сама камера прессования 8 помещена в тигле непосредственно в расплавленном металле. Когда прессующий плунжер 6 поднят, то расплавленный металл через отверстия в камере заполняет ее, а при движении плунжера 6 вниз перекрываются впускные отверстия и металл под давлением поступает в рабочую полость 2 пресс-формы, присоединенной к камере прессования через переходной мундштук 5. После кристаллизации сплава в полости 2 подвижная полуформа 1 отходит, толкатели 10 упираются в неподвижную плиту н отливка выталкивается. Затем подвижная полуформа 1 смыкается с неподвижной 3, закрепленной на плите 4, а плунжер 6 поднимается, камера 8 заполняется из тигеля метллом 7, и цикл повторяется. На таких машинах можно получать мелкие и сложные отливки из цинковых, оловянных, свинцово-сурьмянистых и других легкоплавких сплавов.

2. Литьё под низким давлением.

Применяют для получения крупных тонкостенных корпусных заготовок из легкоплавких сплавов. Расплавленный металл 1 (рис. 2) из плавильного тигля 2, который нагревается электронагревателями 3, под давлением инертного газа или воздуха 0,1—0,8 кгс/см2 (0,01—0,08 МН/м2) выжимается по металлопроводу 4 в рабочую полость формы 5, где он кристаллизуется в пространстве между формой 6 и стержнем 7. Стержень может быть из обычной стержневой песчаной смеси. Давление инертного газа должно быть невысоким по той причине, что площадь зеркала расплавленного металла в тигле 2 во много раз больше площади металлопровода 4. Незначительное перемещение металла в тигле вызывает высокий подъем жидкого металла внутри металлопровода и в литейной форме. После кристаллизации отливки, давление инертного газа снимается, литейная форма, раскрывается и из неё извлекают отливку.

                                        

Рис. 2. Установка для литья под низким давлением.

3. Основные характеристики процесса.

При литье под давлением основными факторами, определяющими формирование отливки, являются давление в камере прессования и пресс-форме, скорости движения поршня и впуска жидкого металла в форму, параметры литниково-вентиляционной системы, температуры заливаемого металла и формы, режимы смазывания и охлаждения рабочей полости формы и камеры прессования.

Совокупность таких параметров, как давление в потоке металла, скорость движения металла, противодавление, возникающее вследствие затрудненного удаления воздуха и газообразных продуктов сгорания смазочного материала, образует гидродинамический режим формирования отливки. Температуры заливаемого сплава и формы, продолжительность заполнения и подпрессовки, а также темп работы определяют тепловой режим процесса.

От правильного выбора технологических режимов заполнения и подпрессовки, определяющих конструкцию пресс-формы, тип и мощность машины для литья под давлением, зависит качество отливок.

Гидродинамический режим формирования отливки.

Создает кинетику заполнения, газовый режим формы, характер распределения газовых включений в отливке и качество рельефа её поверхности. Давление в потоке металла возникает в результате сопротивления движению металла при прохождении его через тонкие сечения полости пресс-формы и обтекании стержней, при поворотах, сужениях и расширениях потока. В случае отсутствия сопротивления величина гидродинамического давления в потоке определяется противодавлением воздуха и газов, удаление которых затруднено из-за невозможности выполнения вентиляционных каналов большого сечения.

Чёткость оформления рельефа и шероховатость поверхности отливки зависят от кинетической энергии потока. В момент окончания его движения создается гидродинамическое давление на стенки пресс-формы:

Рф = pм Vф

где pм — плотность жидкого металла;

Высокая скорость впускаемого потока (скорость впуска) соответствует получению тонкостенных крупногабаритных отливок сложных очертаний. Высокие скорости впуска и потока в пресс-форме создаются в результате быстрого перемещения прессующего поршня. Для преодоления сопротивления затвердевающей массы металла в тонких сечениях оформляющей полости, а также сопротивления газов, остающихся в отливке, необходимо высокое гидростатическое давление. Оно передается от прессующего поршня через литниковый питающий канал. Чем позже затвердеет питатель, тем продолжительнее действие давления. Процесс передачи гидростатического давления в полость пресс-формы называется подпрессовкой. Использование утолщенных питателей позволяет осуществить подпрессовку и питание отливки жидким металлом в период кристаллизации и тем самым устранить усадочные раковины.

Максимальное усилие подпрессовки должно развиваться прессующим механизмом машины не в момент начала затвердевания отливки, а почти сразу после окончания заполнения пресс-формы.

Характер движения металла в оформляющей полости зависит от скорости выпуска, соотношения толщины питателя и отливки, вязкости и поверхностного натяжения заливаемого сплава, тепловых условий его взаимодействия со стенками пресс-формы. На основе скоростных киносъёмок процесса движения металла в прозрачной пресс-форме установлено, что при литье с малыми скоростями выпуска возможно заполнение даже ламинарным потоком, со средними скоростями – сплошное турбулентное заполнение. При высоких скоростях выпуска поток разбивается, заполнение становится дисперсным. Однако заполнение полости форм ламинарным, турбулентным или дисперсным потоком возможно лишь при получении образцов или отливки простой формы.

Большая часть отливок, используемых в машиностроении и приборостроении, имеет сложную конфигурацию с утолщениями, бобышками, приливами и переходами, поэтому даже дисперсное заполнение в чистом виде наблюдается редко. Реальное заполнение отливок сложной конфигурации - последовательное превращение дисперсного потока, образовавшегося в месте удара струи о стенку форы, в сплошной турбулентной подпор.

Таким образом, часть полости формы заполняется дисперсным потоком, а удаленные от питателя сечения полости заполняются сплошным турбулентным потоком. Соотношение дисперсных и турбулентных потоков зависит от скорости впуска, толщины отливки и сложности конфигурации, главным образом от числа поворотов в полости формы.

Тепловой режим процесса формирования отливки при литье под давлением.

Обеспечивает подвижность сплава как в период заполнения формы, так и в процессе подпрессовки. Он связан с высокой интенсивностью теплового взаимодействия жидкого металла со стенками массивной пресс-формы.

Процесс охлаждения металла можно разделить на 2 периода. 1 - охлаждение жидкого металла при движении его в литниковой системе и оформляющей жидкости. На этом этапе важно правильно выбрать продолжительность заполнения, чтобы предупредить образование неслитин, пористости и оксидных плен. 2 период - затвердевание металла после заполнения пресс-формы. На этом этапе необходимо создать условия направленного затвердевания металла отливки. Соблюдение принципов направленного затвердевания зависит от технологичности конструкции отливки, температуры заливаемого сплава и температуры пресс-формы.

Тепловой режим определяет не только качество отливок, но и стойкость формы. Одна из основных причин разрушения поверхностных слоёв матриц и пуансонов и появление на отливках так называемых следов разгара формы—это возникновение температурных напряжений во вкладыше. Долговечность пресс-формы, как показали результаты исследований В. Т. Рождественского, зависит от величины максимальных температурных напряжений и коэффициента линейного температурного расширения материала пресс-формы. Кроме того, она снижается из-за активного силового взаимодействия между охлаждающимся сплавом и нагревающимися рабочими частями формы.

Тепловой режим, определяющий условия формирования отливки, связан с высокой скоростью затвердевания жидкого металла, которая возрастает при охлаждении формы водой или терморегулирующей жидкостью. Терморегулирование рабочей полости пресс-формы необходимо для стабилизации и выравнивания тепловых условий в различных по толщине сечениях отливки.

Для обеспечения свариваемости отдельных потоков металла до его затвердевания с целью предупреждения неслитин, пористости и оксидных плен продолжительность заполнения не должна превышать доли секунды. При разработке теплового режима большое значение имеет расчет продолжительности заполнения формы. Как отмечалось выше, отливки сложной конфигурации заполняются последовательно дисперсно-турбулентным потоком. В этом случае продолжительность заполнения Тзап определяется при условии, что дисперсный характер движения соответствует первому периоду заполнения, а турбулентный — второму. По продолжительности заполнения, определенной на основании рассмотрения тепловых условий в форме, подсчитывают технологическую скорость прессования:

Vпр = mотл/(рм Fпр тзап)

где mотл — масса отливки;

Fпр — площадь поперечного сечения камеры прессования.

При создании благоприятных тепловых условий, обеспечивающих сохранение жидкотекучести металла в литниковых каналах и полости формы, особенно в наиболее тонких её сечениях, возможно осуществить подпрессовку. Наиболее эффективно она используется на машинах с горизонтальной камерой прессования. Подпрессовка в процессе кристаллизации сплава сжимает газовые включения, уменьшает усадочную пористость и улучшает структуру металла.

Эффективность подпрессовки зависит от продолжительности достижения максимального значения давления в процессе кристаллизации сплава. Чем меньше это время, тем выше её эффект. Современные гидравлические схемы машин литья под давлением позволяют добиться снижения времени подпрессовки до 0,016 с. На основании расчёта гидродинамического и теплового режимов процесса определяют параметры прессующего механизма машины литья под давлением. Машины для литья под давлением должны иметь механизм или систему подачи рабочей жидкости в прессующий цилиндр, обеспечивающую заданное конечное давление при подпрессовке. Чаще всего для этого используют мультиплицирующие механизмы, которые позволяют не только повысить давление, но и уменьшить пиковое давление гидравлического удара.

Раскрытие и закрытие пресс-формы осуществляются запирающим механизмом, который одновременно используется и для выталкивания отливки. В современных конструкциях машин литья под давлением применяют запирающие механизмы четырех типов: гидравлические, гидрорычажные, гидроклиновые и комбинированные (гидроклинорычажные).

Наиболее широко распространены гидрорычажные запирающие механизмы.

4. Номенклатура отливок, полученных литьём под давлением.

Литьё под давлением занимает одно из ведущих мест в литейном производстве. В отечественной и зарубежной практике этим способом получают отливки, по конфигурации и размерам наиболее близкие к готовым деталям из цинковых, алюминиевых, магниевых и медных сплавов. Изготовление отливок из стали, чугуна, титановых и других тугоплавких сплавов еще не получило широкого применения, что объясняется в основном низкой стойкостью оформляющих частей и высокой стоимостью материалов для пресс-форм.

Номенклатура выпускаемых отечественной промышленностью отливок очень разнообразна. Этим способом изготовляют литые заготовки самой различной конфигурации массой от нескольких грамм до нескольких десятков килограмм.

Современные конструкции машин литья под давлением, создающие давления на металл до 800 МПа и скорости прессования до 7 м/с, позволяют получать крупногабаритные и сложные по конфигурации отливки, например блок цилиндров автомобиля «Москвич» массой 18,6 кг. Эти отливки изготовляют из сплава системы алюминий—кремний—медь на машине с усилием запирания 20000 кН. В отливках множество литых отверстий, толщина стенки 4—5 мм. Они проходят испытания на герметичность при давлении 15 МПа. Пресс-форма для такой отливки весит около 2т. Применение эффективной подпрессовки дает возможность получать очень плотные герметичные детали, такие, как алюминиевый корпус отопительной батареи. Заполнение этой тонкостенной крупногабаритной отливки металлом сопровождается активным захватом газов из полости пресс-формы, однако высокое давление (выше 400 МПа) обеспечивает высокую степень сжатия воздушных и газовых включений. Применение такой отливки не только снижает массу отопительной системы, улучшает теплообмен, экономит энергоресурсы и металл, повышает производительность труда и снижает себестоимость продукции, но и облагораживает интерьер.

Некоторые отливки имеют сложные криволинейные поверхности и каналы, которые при заданных точности и шероховатости и экономической целесообразности не могут быть выполнены никакими другими способами, кроме как литьем под давлением, например головка блока цилиндров и диск вентилятора компрессора. Эти отливки имеют значительную толщину стенки (до 12 мм), что позволяет использовать направленное затвердевание, при увеличенной толщине питателя, создающего оптимальные гидродинамические и тепловые условия подпрессовки.

Разработанные в отечественной промышленности технология и оборудование литья под давлением позволяют получать отливки, толщина стенки которых в некоторых местах равна 1 мм, например детали фотоаппаратуры. На специально созданной специализированной машине и с применением вакуума, термостатирования формы и других технологических приёмов были получены отливки с толщиной стенки 0,6 мм.

Расширяется область применения литья под давлением магниевых сплавов. Наряду с использованием этих сплавов для корпусных деталей пишущих машинок, приборов, биноклей, фото- и киноаппаратуры, бензопил они успешно применяются в авиационной технике для деталей, несущих определённую нагрузку. Например, фирма Volkswagen (ФРГ) изготавливает из магниевых сплавов диски колёс спортивных автомобилей, а Мелитопольский завод «Автоцветлит» - детали мотора автомобилей. Литьём под давлением можно получать отливки с внешней или внутренней резьбой: барашковые гайки и винты, колпачковые гайки с фигурными головками, штепсельные разъёмы. Литая резьба также имеет более постоянный профиль, который является негативным отпечатком резьбовой вставки пресс-формы, выполняемой с точностью, значительно превосходящей обычную точность обработки на резьбонарезных станках. Качество поверхности литой резьбы выше, чем механически нарезанной, так как рабочие поверхности пресс-формы шлифуют и полируют. Литьём под давлением можно изготавливать отливки со специальной резьбой, которую почти невозможно бой, которую почти невозможно получить другим способом, например прямоугольную или спиральную резьбу треугольного профиля для ниппелей, ввинчиваемых в гибкие шланги.

Литьём под давлением можно получать отливки с разнообразной арматурой из стали, чугуна, меди, бронзы и других материалов. Армирование отливок пустотелыми вкладышами или криволинейными трубками позволяет получать каналы и полости сложнейшей конфигурации.

Наряду с конструкторскими задачами, армирование помогает решить ряд технологичных проб чем. Например, использование арматуры в качестве холодильников позволяет регулировать процесс затвердевания массивных частей отливки. Армирование отливок стальными и чугунными элементами даёт экономию дефицитных цветных сплавов. Армированное литьё под давлением позволяет во многих случаях заменить сборку отдельных узлов изделий.

Отливки из алюминиевых, магниевых и медных сплавов, так же как и отливки из чугуна, стали и титановых сплавов, получают на машинах с холодной камерой прессования. Отливки из цинковых сплавов изготовляют преимущественно на машинах с горячей камерой прессования.

Отливки из цинковых сплавов наиболее часто используют в производстве автомобилей и товаров народного потребления (дверные и мебельные замки, зажимы застежек «молния», детали швейных машин). В автомобильной промышленности из цинковых сплавов изготовляют детали приборов и декоративные детали типа ручек, решеток, корпусов фар. Благодаря хорошим литейным свойствам и высокой механической прочности этих сплавов из них можно делать крупные и тонкостенные детали. Например, панель облицовки радиатора автомобиля Dodge (США) имеет массу 9 кг и длину 1790 мм при толщине стенки 1,8 мм. В отечественной промышленности самой крупной деталью из цинкового сплава, изготовляемой на машине с горячей камерой прессования, является решетка радиатора автомобиля «Жигули». Отливка имеет массу 2,7 кг, длину 1054, ширину 270 мм и среднюю толщину стенки 1,25 мм.

В настоящее время процесс литья под давлением развивается в трех направлениях, обусловленных конфигурацией отливок и требованиями к их качеству:

литьё с низкими скоростями впуска через толстые питатели, обеспечивающие заполнение пресс-формы сплошными потоками и эффективную подпрессовку; применяют для получения толстостенных отливок несложной конфигурации, к которым предъявляют высокие требования по прочности и герметичности;

литьё с высокими скоростями впуска через тонкие питатели с образованием дисперсного заполнения; применяют для получения тонкостенных отливок сложной конфигурации, к которым предъявляются высокие требования по качеству поверхности и чёткости рельефа;

литьё со средними скоростями выпуска с образованием совмещённых турбулентных и дисперсных потоков; требует подпрессовки, применяется для получения отливок с неравной толщиной стенок, пористость уменьшает установкой фильтров, промывников или изменением газового режима пресс-формы.

В большинстве случаев для получения отливок используются универсальные машины для литья под давлением, но, исходя из требований к отливкам и из условий производства, могут применяться специализированные машины литья под давлением. Например, машины с вакуумными устройствами, с устройствами для продувки кислорода со сдвоенным поршнем, для литья стали или для получения какой-то одной, очень сложной или специфичной отливки, например, машины для ступеньки эскалатора, машины для заливки ротора электродвигателей.

Заключение.

Важнейшей предпосылкой дальнейшего повышения количества отливок и эффективности литья под давлением является создание автоматизированных комплексов, гибких производственных систем и роторных линий литья под давлением, гибких автоматизированных производств.

Программами технического перевооружения предусматривается интенсивное обновление парка оборудования, применение ЭВМ для управления процессами и производством, ужесточение требований техники безопасности, улучшение условий труда, повышение внимания к охране окружающей среды.

Список литературы

«Литьё под давлением» М.Г. Беккер, М.Л. Заславский, Ю.Ф. Игнатенко, М.: МАШИНОСТРОЕНИЕ, 1998

«Экономические основы технологического развития» И.Н. Васильева, М.: МАШИНОСТРОЕНИЕ, 1995


Не нашли материал для своей работы?
Поможем написать уникальную работу
Без плагиата!
Без нейросетей!