Технологический расчет колонны непрерывного действия

  • Вид работы:
    Курсовая работа (т)
  • Предмет:
    Другое
  • Язык:
    Русский
    ,
    Формат файла:
    MS Word
    66,93 Кб
  • Опубликовано:
    2015-09-25
Вы можете узнать стоимость помощи в написании студенческой работы.
Помощь в написании работы, которую точно примут!

Технологический расчет колонны непрерывного действия

Министерство образования и науки Российской Федерации

Государственное образовательное учреждение

высшего профессионального образования

«Уфимский государственный нефтяной технический университет»

Кафедра «Технологические машины и оборудование»








Курсовая работа

по дисциплине «Процессы и аппараты нефтегазопереработки и нефтехимии»









Уфа 2015

Содержание

Введение

. Литературный обзор

2. Технологический расчёт колонны непрерывного действия

.1 Описание технологической схемы

2.2 Материальный баланс ректификационной колонны

3. Построение кривых изобар пара и жидкости

3.1 Расчет однократного испарения бинарной смеси

3.2 Построение зависимости диаграммы насыщенных паров от температуры, построение изобары, комбинированной диаграммы и  диаграммы14

3.3 Построение линий рабочих концентраций, графическое определение числа теоретических и действительных тарелок

.4 Определение среднего массового расхода по жидкости

.5 Определение среднего массового расхода по пару

. Расчет высоты колонны

. Определение скорости пара и расчет диаметра ректификационной колонны

. Расчет диаметра штуцеров

. Расчет теплового баланса ректификационной колонны

. Расчет конденсатора-холодильника

. Расчет кипятильника

Заключение

Список использованных источников

Введение

В условиях постоянного расширения нефтеперерабатывающей промышленности, повышение требований к качеству нефтепродуктов обусловило необходимость использования различных колонн при переработке нефти и газа, в процессах, как ректификации, абсорбции, адсорбции, экстракции и др.

Для осуществления этих процессов при переработке нефти и газа требуется высококачественная аппаратура, способная работать в широком интервале изменения рабочих параметров. Это предъявляет высокие требования к расчету аппаратов и обоснованию рабочих параметров процесса.

В ректификационных колоннах массообменные или диффузионные процессы играют важную роль при переработке нефти, различных углеводородных и других смесей. Путем ректификации из нефти получают различные продукты: бензин, керосин, дизельное топливо, мазут, масляные фракции, узкие (по температурам кипения) бензиновые фракции. Все массообменные процессы применяются для разделения смесей. При ректификации сжиженных газов выделяют этилен, этан, пропан, бутан и другие компоненты. Путем перегонки в вакууме получают специальные масла.

1. Литературный обзор

Перегонка с ректификацией - наиболее распространенный в химической и нефтегазовой технологии массообменный процесс, осуществляемый в аппаратах - ректификационных колоннах - путем многократного противоточного контактирования паров и жидкости. Контактирование потоков пара и жидкости может производиться либо непрерывно (в насадочных колоннах) или ступенчато (в тарельчатых ректификационных колоннах). При взаимодействии встречных потоков пара и жидкости на каждой ступени контактирования (тарелке или слое насадки) между ними происходит тепло - и массообмен, обусловленные стремлением системы к состоянию равновесия. В результате каждого контакта компоненты перераспределяются между фазами: пар несколько обогащается низкокипящими, а жидкость - высококипящими компонентами. При достаточно длительном контакте и высокой эффективности контактного устройства пар и жидкость, уходящие из тарелки или слоя насадки, могут достичь состояния равновесия, то есть температуры потоков станут одинаковыми, и при этом их составы будут связаны уравнениями равновесия. Такой контакт жидкости и пара, завершающийся достижением фазового равновесия, принято называть равновесной ступенью, или теоретической тарелкой. Подбирая число контактных ступеней и параметры процесса (температурный режим, давление, соотношение потоков, флегмовое число и др.), можно обеспечить любую требуемую четкость фракционирования нефтяных смесей.

Место ввода в ректификационную колонну нагретого перегоняемого сырья называют питательной секцией (зоной), где осуществляется однократное испарение. Часть колонны, расположенная выше питательной секции, служит для ректификации парового потока и называется концентрационной (укрепляющей), а другая - нижняя часть, в которой осуществляется ректификация жидкого потока - отгонной, или исчерпывающей секцией. Различают простые и сложные колонны.

Простые колонны обеспечивают разделение исходной смеси (сырья) на два продукта: ректификат (дистиллят) - выводимый с верха колонны в парообразном состоянии, и остаток - нижний жидкий продукт ректификации.

Сложные ректификационные колонны разделяют исходную смесь более чем на два продукта. Различают сложные колонны с отбором дополнительных фракций непосредственно из колонны в виде боковых погонов и колонны, у которых дополнительные продукты отбирают из специальных отпарных колонн, именуемых стриппингами. Последний тип колонн нашел широкое применение на установках первичной перегонки нефти.

Для разделения бинарных или многокомпонентных смесей на 2 компонента достаточно одной простой колонны (если не предъявляются сверхвысокие требования к чистоте продукта). Для разделения же многокомпонентных непрерывных или дискретных смесей на более чем 2 компонента (фракции) может применяться одна сложная колонна либо система простых или сложных колонн, соединенных между собой в определенной последовательности прямыми или обратными паровыми или жидкими потоками. Выбор конкретной схемы и рабочих параметров процессов перегонки определяется технико-экономическими и технологическими расчетами с учетом заданных требований по ассортименту и четкости разделения, термостабильности сырья и продуктов, возможности использования доступных и дешевых хладоагентов, теплоносителей и т.п.

В каждой простой колонне имеются отгонная и концентрационная секции. Отгонная, или отпарная, секция расположена ниже ввода сырья.

Тарелка, на которую подается сырье для разделения, называется тарелкой питания. Целевым продуктом отгонной секции является жидкий остаток. Концентрационная, или укрепляющая, секция расположена над тарелкой питания. Целевым продуктом этой секции являются пары ректификата. Для нормальной работы ректификационной колоны обязательны подача орошения наверх концентрационной секции колонны и ввод тепла (через кипятильник) или острого водяного пара в отгонную секцию.

В зависимости от внутреннего устройства, обеспечивающего контакт между восходящими парами и нисходящей жидкостью (флегмой), ректификационные колонны делятся на насадочные, тарельчатые, роторные и др. В зависимости от давления они делятся на ректификационные колонны высокого давления, атмосферные и вакуумные. Первые применяют в процессах стабилизации нефти и бензина, газофракционирования на установках крекинга и гидрогенизации. Атмосферные и вакуумные ректификационные колоны в основном применяют при перегонке нефти, остаточных нефтепродуктов и дистилляторов. Выбор давления в ректификационной колонне обусловлен главным образом необходимым температурным режимом. Давление в колонне повышается по сравнению с атмосферным, когда необходимо повысить температуру в колонне, или понижается путем создания вакуума, когда температура должна быть снижена. Необходимость повышения температуры, а, следовательно, и давления в ректификационных колоннах возникает при разделении компонентов с низкими температурами кипения. Путем подбора соответствующего давления в колонне обеспечивают такой температурный режим, при котором для конденсации паров ректификата можно использовать дешевые и доступные хладагенты - воду и атмосферный воздух. Давление в ректификационной колонне влияет на производительность. С увеличением давления удельная производительность возрастает. Однако при этом необходима большая толщина стенки корпуса колонны, кроме того увеличиваются затраты на перекачку сырья.

Как уже указывалось выше, в зависимости от внутреннего устройства, обеспечивающего контакт между восходящими парами и нисходящей жидкостью (флегмой), существуют различные типы ректификационных колонн. В данной работе рассматриваем тарельчатую с клапанными тарелками. В общем, тарелки представляют собой такой тип контактного устройства, на котором контакт (и соответственно тепло- и массообмен) пара и жидкости осуществляется в барботажном струйном или вихревом режиме. Эти режимы контакта определяются конструктивным устройством тарелки. В отличие от насадок, где контакт пара и пленки жидкости непрерывен вдоль всей высоты слоя насадки (противотоком), в тарельчатой колонне этот контакт дискретно осуществляется на каждой тарелке, после чего обе фазы разделяются и вступают в новый контакт на смежных тарелках - пар на вышележащей, а жидкость - на нижележащей.

Клапанные тарелки получают за последнее время все более широкое распространение, особенно для работы в условиях значительно меняющихся скоростей газа и постепенно вытесняют старые конструкции контактных устройств. Принцип действия клапанных тарелок состоит в том. что свободно лежащий над отверстием в тарелке клапан различной формы автоматически регулирует величину площади зазора между клапаном и плоскостью тарелки в зависимости от газопаровой нагрузки и тем самым поддерживает постоянной (в пределах высоты подъема клапана) скорость газа и. следовательно, гидравлическое сопротивление тарелки в целом. Высота подъема клапана ограничивается высотой ограничителя (кронштейна, ножки).

Клапанные тарелки сочетают в себе ряд преимуществ (малая металлоемкость, простота сборки, равномерный барботаж в широком интервале нагрузок по пару и жидкости и др.), которые позволили им стать самым распространенным типом тарелки начиная с 1970-х годов и до настоящего времени. Эти тарелки применяют практически во всех типах колонн нефтепереработки - от газоразделительных до вакуумных.

2. Технологический расчёт колонны непрерывного действия

.1 Описание технологической схемы

Принципиальное устройство ректификационной колонны и описание технологической схемы приведены в приложениях А и Б соответственно.

.2 Материальный баланс ректификационной колонны

Для составления материального баланса необходимо определить молекулярные массы сырья, дистиллята и остатка:

 кг/кмоль;

 кг/кмоль;

 кг/кмоль.

Исходя из производительности колонны по сырью , определяем количество смеси, поступающее в колонну:

кмоль/ч.

.

Отсюда выход дистиллята равен:

 кмоль/ч,

 кг/ч.

Выход остатка равен:

 кмоль/ч,

 кг/ч.

Количество компонентов НКК в сырье (), дистилляте () и остатке () рассчитывается по следующим формулам:

 кмоль/ч,

 кмоль/ч,

 кмоль/ч.

Количество компонентов ВКК в сырье (), дистилляте () и остатке () рассчитывается по следующим формулам:

 кмоль/ч,

 кмоль/ч,

 кмоль/ч.

Для определения количества компонентов в кг/ч в сырье, дистилляте и остатке значения кмоль/ч умножаются на соответствующие молекулярные массы компонентов.

Компо-нент

Сырье Дистиллят Остаток




кг/ч

кмоль/ч

кг/ч

кмоль/ч

кг/ч

кмоль/ч

НКК

7645

88,9

7384

85,86

259,7

3,02

ВКК

9355

82,06

1087,6

9,54

8267,3

72,54

Всего

17000

170,96

8471,6

95,4

8527

75,56


3. Построение кривых изобар пара и жидкости

.1 Расчет однократного испарения бинарной смеси

Зависимость между температурой  и давлением  насыщенных паров компонента представляется в виде формулы Антуана:

 °С,

 °С.

Полученный интервал температур кипения разбиваем на 10 примерно равных интервалов:

 °С,

При данных температурах рассчитываем давления насыщенных паров компонентов и

, → кПа,

 кПа.

По значениям  и  определяются мольные доли НКК в жидкой фазе

.

Мольные доли в равновесной паровой фазе определяются по формуле:

.

Пересчет мольных долей в массовые для двухкомпонентной смеси производится по формулам:


3.2 Построение зависимости диаграммы насыщенных паров от температуры, построение изобары, комбинированной диаграммы и  диаграммы

Построение кривых изобар проводится в следующих координатах: по оси абсцисс откладываются мольные составы фаз по НКК, а по оси ординат - температуры кипения НКК и ВКК. По данным таблицы 2 строим график кривых изобар пара и жидкости.

Построение  диаграммы проводится в следующей системе координат: по оси абсцисс откладываются мольные доли НКК в жидкой фазе, а по оси ординат - мольные доли НКК в паровой фазе.

Проводится диагональ в квадрате, полученном при построении системы координат, которая соответствует линии равновесия с коэффициентом относительной летучести компонентов, равным 1.

С использованием предыдущих расчетов, на диаграмме наносятся точки, соответствующие  и . После этого полученные точки необходимо соединить плавной кривой.

Затем строится линия сырья. Для этого рассчитываются  и :

,

.

Пересечение линии равновесия и сырья в точке  дает составы  и , полученные при вводе сырья в колонну в процессе ОИ. Пересечение линии сырья с диагональю в точке  определяет исходную сырьевую точку.

3.3 Построение линий рабочих концентраций, графическое определение числа теоретических и действительных тарелок

Для определения числа теоретических тарелок надо располагать линией равновесия и знать закон изменения сопряженных концентраций  и  по высоте колонны. В диаграмме зависимость сопряженных концентраций представляет собой рабочую линию процесса. Можно выявить характерные точки, которые проходит рабочая линия для верхней части колонны. При , т.е. рабочая линия проходит через точку , находящуюся на диагонали диаграммы . Положение точки  зависит только от состава ректификата и не зависит от величины потока флегмы.

Поэтому через точку  рабочая линия проходит независимо от того, изменяется масса потока флегмы по высоте колонны.

Для определения координат второй точки принимается .

,

,

.

Для определения координат третьей точки (точки ) рабочей линии принимается :

,

,

.

По построенному графику определяем число теоретических тарелок в колонне:

в концентрационной части - 2 тарелки;

в отгонной части - 4 тарелки.

Затем делается расчет с помощью ЭВМ.

Для определения реального числа тарелок необходимо принять КПД тарелок . Для концентрационной и отгонной секций колонны . Для секций колонны число реальных тарелок определяется по следующей формуле:

 тарелок.

 тарелки.

Для отгонной секции:

 тарелок

Суммарное число реальных тарелок:

 тарелок.

.4 Определение среднего массового расхода по жидкости

Средние массовые расходы по жидкости для верхней и нижней частей колонны определяются из соотношений:

,

,

где М’D и M’F - мольные массы дистиллята и исходной смеси, кг/кмоль,

М’В и M’Н - мольные массы жидкости в верхней и нижней частях, кг/кмоль.

Мольную массу дистиллята находим по формуле:

.

Мольная масса жидкости в верхней и нижней части колонны соответственно равны:

,

,

,

где МНКК и МВКК - молекулярная масса исходного сырья, нкк и вкк;

x’ср.в и x’ср.н - средний мольный состав жидкости соответственно в верхней и нижней частях колонны:

,

,

.

.5 Определение среднего массового расхода по пару

Средние массовые потоки пара в верхней и нижней части колонны соответственно равны:

,

,

где М’В и M’Н- средние мольные массы паров в верхней и нижней части колонны:

,

,

где средние значения состава паровой фазы рассчитываются аналогично жидкой фазе.

4. Расчет высоты колонны

Высота колонны рассчитывается по формуле:

 м,

где  - расстояние между тарелками,  м;

 - высота зоны над верхней тарелкой, необходимая для монтажа штуцера распределителя жидкости и сепарации потоков,  м;

 - высота зоны сепарации сырьевого парожидкостного потока, а также для монтажа отбойников  м;

 - высота зоны под нижней тарелкой, необходимая для создания столба жидкости, обеспечивающего самотёк,  м.

5. Определение скорости пара и расчет диаметра ректификационной колонны

При вводе в ректификационную колонну сырьевой парожидкостной смеси наиболее нагруженным по паровому потоку является сечение колонны под верхней тарелкой концентрационной части. Следовательно, расчет диаметра колонны проводится по этому сечению.

Сечение  и соответствующий диаметр колонны  определяется по секундному объемному расходу паров  в наиболее нагруженном сечении и допустимой скорости паров в свободном сечении  по следующим формулам:

,

.

В первую очередь необходимо определить энтальпии пара и жидкости при соответствующих температурах по формулам:

,


Далее определяется количество холодного и горячего орошения:

 кг/ч,

 кг/ч.

Массовый расход определяется по верхнему контуру колонны:

 кг/ч.

Секундный объемный расход паров

 м³/с.

Допускаемая скорость паров рассчитывается по формуле Саудерса-Брауна:

,

 

 кг/м³,

 м/с,

Диаметр колонны:

 м.

В соответствии со стандартами, диаметр колонны принимается  мм.

6. Расчет диаметра штуцеров

Диаметры штуцеров определяются в зависимости от объемного расхода и допустимой линейной скорости потока. Допускаемая линейная скорость в штуцерах зависит от агрегатного состояния потока, фактического напора, допустимой потери напора и др.

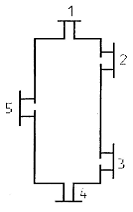
Схема расположения штуцеров представлена на рисунке 1.

Рисунок 1- Схема расположения штуцеров: 1 - штуцер для вывода паров с верха колонны; 2 - штуцер для ввода холодного орошения; 3 - штуцер для ввода паров из кипятильника; 4 - штуцер для вывода жидкости из колонны; 5 - штуцер для ввода сырья.

Расчет штуцера 1

Рассчитывается количество паров, уходящих сверху колонны:


Рассчитывается секундный объем паров:

 м³/с.

Допустимая скорость паров принимается равной 20 м/с,  м/с

 м.

Расчет штуцера 2

Рассчитывается плотность жидкости, поступающей в колонну:

 кг/м³,

 

Рассчитывается секундный объем жидкости:

 м³/с

Допустимая скорость жидкости принимается равной 0.5 м/с,  м/с

 м.

Расчет штуцера 3

Рассчитывается секундный объем паров:

 м³/с.

Допустимая скорость паров принимается равной 15 м/с,  м/с

 м.

Расчет штуцера 4

Рассчитывается объем жидкости, стекающей в кипятильник:

 м³.

Плотность жидкости, стекающей в кипятильник

кг/м³,


Рассчитывается секундный объем жидкости:

 м³/с.

 м

Расчет штуцера 5

Так как, в колонну поступает парожидкостная смесь, необходимо определить секундный расход паров и жидкости.

Количество паровой фазы определяется по формуле:

 кмоль/ч.

Рассчитывается секундный объем паров:

 м³/с.

Допустимая скорость паров принимается равной 20 м/с,  м/с, и рассчитывается сечение по пару:

 м².

Количество жидкой фазы определяется по формуле:

 

Массовый состав жидкой фазы:

.

Плотность жидкой фазы при 20 °С и при

 кг/м³,


Рассчитывается секундный объем жидкости:

 м³/с.

Допустимая скорость паров принимается равной 1 м/с,  м/с, и рассчитывается сечение по жидкости:

 м²,

 м.

7. Расчет теплового баланса ректификационной колонны

Уравнение теплового баланса

,

где , ,  берем с энтальпийной диаграммы (см. приложение Е) и переводим в киломоль (1 сантиметр = 1000 киломолям).

 кмоль;

 кмоль;

 кмоль;

 кмоль²/ч,

 кмоль²/ч,

 кмоль²/ч,

 кмоль²/ч,

 кмоль²/ч,

 

.

В итоге рассчитываем погрешность:

 < 4%, что допустимо.

Расчет энтальпии

Величины энтальпии для различных веществ в жидком и газообразном состоянии мы можем рассчитать по эмпирическим зависимостям от температуры  и относительной плотности  вещества:

,

.

Для двухкомпонентной смеси расчет производится по следующим формулам:

,


Рассчитываем для t1=83,37 оС:


8. Расчет конденсатора-холодильника

Для расчета конденсатора-холодильника вычисляется средний температурный напор между теплообменивающимися средами - дистиллятом и водой.

 °С

 °С

Отношение разностей температур:


Средняя разность температур определяется по формуле:

 °С

Поверхность конденсатора-холодильника определяется по формуле:

 м²

Расход воды на охлаждение дистиллята определяется по формуле:

 м³/ч

9. Расчет кипятильника

В качестве теплоносителя кипятильника применяется водяной пар с давлением 0,1 МПа, имеющий температуру кипения 180 °С и теплоту конденсации 481 ккал/кг.

Средняя разность температур:

°С.

Поверхность кипятильника определяется по формуле:

 м².

Расход водяного пара:

 м³/ч.

Заключение

Рассчитана ректификационная колонна с дискретным контактом фаз высотой м и диаметром  мм, обеспечивающая заданную производительность  т/ч и четкость разделения бинарной смеси, выраженной в мольной доле НКК в дистилляте .

Произведен расчет кипятильника, питающего ректификационную колонну, необходимым количеством пара и конденсатора-холодильника, питающего колонну необходимым количеством флегмы и обеспечивающего требуемое количество отбора дистиллята.

ректификационный колонна конденсатор кипятильник

Список использованных источников

1. Ахметов С.А. Технология глубокой переработки нефти и газа.- Учебное пособие для вузов. - Уфа: Гилем, 2002. - 672с.

2. С.А. Ахметов, М.Х. Ишмияров, А.П. Веревкин и др. Технология, экономика и автоматизация процессов переработки нефти и газа: Учебное пособие. - М.: Химия, 2005. - 736 с.

3. Айнштейн В.Г., Захаров М.К., Носов Г.А. Общий курс процессов и аппаратов химической технологии. - М.: Логос, 2002. - 1760с.

. Скобло А.И, Трегубова И.А, Молоканов Ю.К. Процессы и аппараты нефтеперерабатывающей и нефтехимической промышленности.- М.: Химия, 2000.- 585с.

5. Поникаров И.И., Поникаров С.И., Рачковский С.В. Расчеты машин и аппаратов химических производств и нефтегазопереработки.- Учебное пособие. - Москва: Альфа-М, 2008. - 717 с.

. Мановян А.К. технология первичной переработки нефти и природного газа. Учебное пособие для вузов. 2-е изд. М.: Химия, 2001 - 568 с.; ил.

. Ахметов С.А. и др. технология и оборудование процессов переработки нефти и газа: Учебное пособие / С.А. Ахметов, Т.П. Сериков, И.Р. Кузеев, М.И. Баязитов; Под ред. С.А. Ахметова. - СПб.: Недра, 2006.- 868с.

Похожие работы на - Технологический расчет колонны непрерывного действия

 

Не нашли материал для своей работы?
Поможем написать уникальную работу
Без плагиата!
Без нейросетей!