Електромеханічні перетворювачі
7
Реферат
Електромеханічні перетворювачі
Содержание
1. Загальні відомості
2. Електродинамічні перетворювачі
3. Електромагнітні перетворювачі
4. Основні характеристики електромагнітних і електродинамічних
перетворювачів
Література
1.
Загальні відомості
Електромеханічний перетворювач є складовою частиною
електрогідравлічного підсилювача потужності (ЕГП). Через ЕМП здійснюється
зв’язок електронної частини електрогідравлічного слідкую чого слідкую чого
приводу (ЕГСП) з його гідравлічною частиною. ЕМП сприймає клерувальний
електричний сигнал і перетворює його в пропорційне переміщення якоря (або
момент на валу якоря).
Відома велика кількість змінних і конструктивних рішень ЕМП.
ЕМП можна класифікувати за низкою ознак:
за принципом дії - електродинамічні, електромагнітні,
п’єзоелектричні, магнітострикційні;
по виду руху вихідного елемента - поступального руху,
поворотного руху;
по типу рухомого елементу - з рухомою котушкою, з рухомим
якорем;
за ознакою наявності або відсутності джерел поляризуючого поля,
а також їх виду - неполяризовані, поляризовані з обмотками поляризації,
поляризовані з постійними магнітами;
за електричними схемами вмикання - з обмотками, що вмикаються
по диференціальній трипровідній схемі; з обмотками, що включені по двопровідній
схемі (послідовно або паралельно);
по типу керувального сигналу - керовані неперервним сигналом
(ЕМП постійного струму), керовані дискретним сигналом (релейним або
імпульсним).
В ЕГСП в основному набули розповсюдження ЕМП
електромагнітного і електродинамічного типів, що управляються постійним
струмом; поступального і обертального руху; поляризованого типу; з обмотками
управління, що вмикаються як по диференціальній три провідній схемі, так і по
двопровідній схемі (послідовними і паралельними котушками управління).
2.
Електродинамічні перетворювачі
Рис. 1 Електродинамічний ЕМП
Принцип дії електродинамічних ЕМП заснований на взаємодії
магнітного потоку, що виникає при надходженні управляючого сигналу в обмотки
управління, з постійним магнітним потоком, що створюється постійними магнітами
або з допомогою котушок збудження. Розглянемо одну з можливих схем ЕМП такого
типу (рис.1, а). При відсутності управляючого сигналу струм в обмотці
підмагнічування
, що протікає за рахунок електричного
сигналу на контактах
і Ошибка!
Ошибка внедренного объекта.,
створює в зазорі
радіальні постійні магнітні потоки
. При подачі через контакти
і
управляючого сигналу на обмотку управління
виникає магнітний потік управління, який,
взаємодіючи з радіальними потоками
, створює осьове зусилля, що деформує плоскі пружини
і
.
В результаті цієї взаємодії вихідна ланка
(якір) ЕМП переміщується в осьовому напрямку
на певну величину
, що пропорційна струму управління. При
зміні знаку управляючого сигналу переміщення рухомої частини ЕМП відбувається в
протилежний бік. Сила взаємодії обмотки управління з постійним магнітним потоком
залежить від сили струму в обмотці управління. Застосування двох пружин
пояснюється тим, що пружина
служить тільки для центрування обмотки управління в зазорі
магнітопровода
. Ця пружина має малу жорсткість. Пружина
в основному забезпечує пропорціональну і
однозначну залежність переміщення рухомої частини ЕМП від сигналу управління.
Жорсткість цієї пружини набагато більша за жорсткість пружини
.
Часто замість обмотки підмагнічування використовують постійні
магніти, що дозволяє виключити непродуктивне споживання електроенергії,
зменшити малогабаритні показники ЕМП, підвищити надійність його роботи і
виключити проблему відводу тепла від котушки підмагнічування (рис. 1, б).
Головною особливістю ЕМП електродинамічного типу є відсутність
гістерезису і лінійність основних характеристик; можливість забезпечення
великого (до
) ходу якоря. В якості недоліку можна
відмітити складність конструкції, великі розміри і масу (порівняно з ЕМП
електромагнітного типу).
3.
Електромагнітні перетворювачі
Рис. 2 ЕМП електромагнітного типу
Робота електромагнітного ЕМП ґрунтується на взаємодії
магнітних потоків, з яких один або декілька утворюються при подані сигналу
управління. Результатом такої взаємодії є виникнення зусилля або моменту на
рухомій частині (якорі) ЕМП. При наявності механічної або магнітної пружини ця
умова (або момент) перетворюється в лінійне або кутове переміщення рухомої
частини ЕМП, яке пропорційне сигналу управління.
Розглянемо принцип роботи одного з варіантів електромагнітного ЕМП
поворотного руху з механічною пружиною і обмотками поляризації, керованого
постійним струмом по двопровідній схемі з послідовним вмиканням (рис. 2, а).
При відсутності сигналу управління (напруга на контактах
і
дорівнює нулю) на якір Ошибка!
Ошибка внедренного объекта.
діють сили, створені постійним поляризованим магнітним потоком
. Ці сили, обумовлені наявністю на
контактах
,
обмоток підмагнічування постійної напруги, рівні по значенню і
протилежні за напрямком. Якір ЕМП знаходиться в середньому положення також під
дією рівних і протилежно направлених сил центруючи пружин
,
, закріплених на статорі
. При надходженні через контакти
і
на обмотку управління керуючого сигналу
виникає електромагнітний потік управління
, який взаємодіє з постійним потоком
, при цьому в одному зазорі, наприклад
, ці потоки сумуються а в зазорі
- віднімаються.
В результаті порушується рівновага сил, і якір обертається за
годинниковою стрілкою на деякий кут, що визначається співвідношенням зусиллям,
яке виникає на якорі, з жорсткістю центрувальних пружин. Якір займає нове
стійке положення. При збільшенні керувального сигналу зростає зусилля на якорі
і, як наслідок, збільшується кут відхилення. При зміні знаку сигнала управління
на протилежний магнітні потоки будуть додаватися в зазорі
, а в зазорі
будуть відніматися. Зусилля, яке
розвивається ЕМП, змінить свій знак, і якір відхилиться проти годинникової
стрілки. В результаті забезпечується визначена відповідність між кутом і
напрямком відхилення якоря ЕМП, а також значенням і знаком управляючого
сигналу.
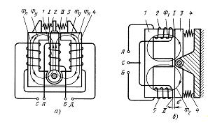
Електромагнітний ЕМП поворотного руху, що працює по
диференціальній схемі і керований постійним струмом (рис.2, б), складається з
магніто проводу
(статота), поворотного якоря
, обмоток управління
,
, центрувальних пружин
. При рівності потоків в обмотках
і
(струм в кожній обмотці дорівнює
максимального значення) магнітні потоки
і
та зусилля, що діють в зазорах
і
, також будуть рівними. Зусилля від
центрувальних пружин
у верхній і нижній частинах якоря рівні.
В результаті якір знаходиться в нейтральному положенні. Якщо, наприклад, в
обмотці
струм управління буде зменшуватися, а в
обмотці
одночасно збільшуватися (диференціальне
рівняння), то потік
буде зменшуватися, а потік
збільшується. Рівновага якоря
порушується, і він повернеться за годинниковою стрілкою на деякий кут, що
визначається жорсткістю центрувальних пружин і виниклим дебалансом сил. Якщо
збільшувати струм в обмотці
і відповідно зменшити струм в обмотці
, то поворот якоря відбудеться в
протилежний бік.
Рис. 3 Графік залежностей
,
,
Таким чином, кут повороту якоря і його напрямок залежать від
значення і знаку різниці струмів в обмотках управління.
Необхідно відмітити, що зусилля
і
, що розвиваються в зазорах
і
, обернено пропорційні квадрату зазору
(рис.3). Проте спільна дія цих сил на
якір ЕМП практично мало відрізняється від лінійного закону (крива
). Лінеаризації кривої
певною мірою сприяє і насичення
магнітного потоку в зазорі між якорем і середньою частиною магнітопроводу, а
також обмеження площі перерізу якоря.
Рис. 4 Герметичні ЕМП
Електромагнітні ЕМП з обмотками управління, ввімкненими по
диференціальній схемі, застосовують рідше, ніж ЕМП з послідовно ввімкненими
обмотками управління, оскільки електронні підсилювачі, що забезпечують диференціальне
управління обмотками ЕМП, складніші і в них важко забезпечити стабільність
початкових умов.

Обидві розглянуті вище схеми ЕМП електромагнітного типу мають
якір, що рухається вздовж магнітних силових ліній в повітряному зазорі.
Лінійність статичних характеристик забезпечують ЕМП, в яких якір здійснює рух
поперек магнітного поля (рис.4), хоча таке виконання і ускладнює технологію
виготовлення ЕМП. В цих перетворювачах важливий вплив на статичну
характеристику
(струм управління - момент на валу якоря)
чинить форма робочого зазору. Найчастіше використовують ЕМП з робочими зазорами
трьох типів (рис.5). Зазори перших двох типів (рис.5, а, б) обумовлюють дію так
званої магнітної пружини, коли при відхиленні якоря від нейтрального положення
магнітні сили діють в протилежних напрямках, причому жорсткість магнітної
пружини для зазору на рис.5, а менша, ніж для зазору на рис.5, б. Зазор
третього типу (рис.5, в) повністю виключає момент від дії магнітних сил
(жорсткість магнітної пружини дорівнює нулю). В такому ЕМП для забезпечення
пропорційності кута повороту якоря сигналу управління необхідно ввести
механічну центруючи пружину.
ЕМП електромагнітного типу, на відміну від ЕМП електродинамічного
типу, при однаковому зусиллі, яке розвивається на ЕМП, мають меншу масу,
розміри і, що особливо важливо для швидкодіючих ЕГСП, меншу масу рухомих
частин.
Статичні характеристики ЕМП електромагнітного типу мають гістерезис,
що залежить від матеріалу магніто проводів, проте при роботі таких ЕМП у складі
замкнутого контуру з великим коефіцієнтом підсилення цей недолік стає
несуттєвим.
Розглянуті вище ЕМП, які є складовою частиною ЕГП. Не захищені від
впливу робочої рідини, яка має шкідливий вплив на матеріали магнітопроводу і
електричних дротів. Окрім цього продукти зношування металевих деталей, які
містяться в робочій рідині, можуть притягуватися магнітною системою ЕМП, що
спочатку погіршує характеристики ЕМП, а далі приводить до виходу його з ладу.
Особливо строго ця проблема постає в системах, що працюють тривалий час.
Тому в останні роки з’явились конструкції ЕМП так званого
"сухого” виконання, в яких електромагнітна система повністю ізольована від
робочої рідини
(див. рис.4).
Принцип герметизації в ЕМП на рис.4 однаковий - застосування
гнучкої струмоз’ємної трубки, яка одним кінцем закріплена на основі ЕМП, а
іншим з’єднана з якорем ЕМП. В такій конструкції електромагнітна частина ЕМП надійно
відділена від гідравлічної, що дозволяє суттєво підвищити надійність його
роботи.
Відомі конструкції гнучких трубок з товщиною стінки
і довжиною
, що надійно працюють при тисках в лінії зливу ЕГП не більше
з загальним числом робочих циклів до
.
4. Основні
характеристики електромагнітних і електродинамічних перетворювачів
Статичні
характеристики. Основними статичними характеристиками
ЕМП є:
– залежність переміщення
(лінійного або кутового) якоря перетворювача від струму управління (рис.6):
або
,
де
-лінійне переміщення якоря ЕМП від
нейтрального положення;
Рис. 6 Статичні характеристики ЕМП
-кутове
переміщення якоря ЕМП від нейтрального положення;
-струм в обмотках управління.
– Залежність електромагнітної
сили (або моменту), прикладеної до якоря ЕМП, від струму управління: для ЕМП
електромагнітного типу
або
для ЕМП електродинамічного типу
або
де
та
- коефіцієнти силової і моментної характеристик ЕМП; і
- коефіцієнти, що характеризують
жорсткість "магнітної пружини" для лінійного і кутового переміщення
якоря ЕМП.
Розглянемо спочатку ЕМП як механічну систему. У відповідності з
другим законом Ньютона
, (1)
Де
- сума моментів зовнішніх сил, що діють на якір ЕМП.
Якщо знехтувати моментом "сухого тертя”, то рівняння (1)
можна перетворити:

де
-момент, що розвивається на валу ЕМП (для
електродинамічного ЕМП
);
- коефіцієнт "в’язкого тертя”;
- момент зовнішнього пружинного навантаження;
- жорсткість зовнішньої (центрувальної) пружини.
Передаточна функція ЕМП, що зв’язує
та
, на підставі рівняння (1) може бути
записана наступним чином:
Де
;
;
. (2)
Розглянемо ЕМП як електричну систему. Рівняння електричного
ланцюга ЕМП
, (3)
де
-напруга управління;
і
- активний опір та індуктивність керувальної обмотки);
- коефіцієнт противоЕРС.
На основі рівняння (3) передаточна функція, що пов’язує
та
, при
може бути записана в наступному виді:
, (4)
Позначимо
, (5)
; (6)
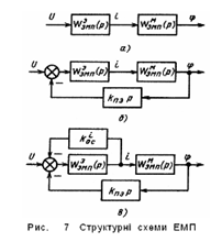
Таким чином, динамічні характеристики ЕМП, якщо не враховувати
противоЕДС, можуть бути описані двома послідовно з’єднаними ланками з
передаточними функціями
і
(рис.7, а). Аналогічний результат одержимо при розгляді
динамічних характеристик ЕМП електродинамічного типу. Різниця полягає тільки в
тому, що у формулах (2) в цьому випадку коефіцієнт
повинен дорівнювати нулю.
Якщо врахувати протиЕРС, то структурна схема ЕМП ускладнюється
(рис.7, б). Проте врахування впливу противоЕРС на динамічні характеристики ЕМП
дозволяє одержати точніше спів падання експериментальних і розрахункових
характеристик.
Зауваження.
В більшості сучасних електронний підсилювачі, призначених для управління ЕМП.
Для покращення динамічних характеристик застосовують додатковий зворотній
зв’язок по струму (рис.7, в).
Динамічні характеристики ЕМП суттєво залежать від його
навантаження, оскільки після з’єд-нання якоря ЕМП з гідророзподільником ЕГП
збільшується момент інерції рухомих частин, демпфірування і пружинне
навантаження від гідродинамічних сил (в ЕГП з соплами і заслонкою) або від сил
пружного підвісу пружин і гідродинамічної сили (в плоских золотниках). Ці
фактори необхідно врахувати при розрахунку ЕМП.
Суттєвий вплив на динамічні характеристики ЕМП може чинити сила
контактного тертя на вхідних пристроях ЕГП, вплив якої можна зменшити,
збільшуючи момент, що розвиває ЕМП, або подаючи спеціальний осцилюючий сигнал
на обмотку управління.
електромеханічний перетворювач електромагнітний
електрогідравлічний
Література
1. Волынский
В.А. и др. Электротехника /Б.А. Волынский, Е.Н. Зейн, В.Е. Шатерников: Учеб.
пособие для вузов. - М.: Энергоатомиздат, 2011. - 528 с., ил.
2. Касаткин
А.С., Немцов М.В. Электротехника: Учеб. пособие для вузов. - 4-е изд., перераб.
- М.: Энергоатомиздат, 2003. - 440 с., ил.
. Основы
промышленной электроники: Учебник для неэлектротехн. спец. вузов /В.Г.
Герасимов, О М. Князьков, А Е. Краснопольский, В.В. Сухоруков; под ред.В.Г.
Герасимова. - 3-е изд., перераб. и доп. - М.: Высш. шк., 2006. - 336 с., ил.
. Электротехника
и электроника в 3-х кн. Под ред. В.Г. Герасимова Кн. 1. Электрические и
магнитные цепи. - М.: Высшая шк. - 2006 г.
. Электротехника
и электроника в 3-х кн. Под ред. В.Г. Герасимова Кн. 2. Электромагнитные
устройства и электрические машины. - М.: Высшая шк. - 2007 г.