Автоматизація потокової лінії приготування концентрованих кормів

  • Вид работы:
    Курсовая работа (т)
  • Предмет:
    Сельское хозяйство
  • Язык:
    Украинский
    ,
    Формат файла:
    MS Word
    619,73 Кб
  • Опубликовано:
    2012-11-09
Вы можете узнать стоимость помощи в написании студенческой работы.
Помощь в написании работы, которую точно примут!

Автоматизація потокової лінії приготування концентрованих кормів

ВСТУП

Автоматизація сільського господарства підвищує надійність і продовжує термін роботи устаткування,полегшує і оздоровлює умови праці, підвищує безпеку праці і робить її престижнішою, скорочує текучість робочої сили і економічність затрати праці,збільшує кількість і підвищує якість продукції,прискорює процес стирання відмінностей між розумовою і фізичною працею,промисловою і сільськогосподарською.

Впровадженню засобів автоматики сприяє науково-технічний прогрес в сільському господарстві,який полягає в швидкому зростанні технічної і енергетичної озброєності сільськогосподарської праці,бурхливому розвитку наукових досліджень з всебічним застосуванням наукової апаратури не тільки в електромеханізації і меліорації,але й з області агротехнічного обслуговування і техніко-економічних розрахунків,у прискореному розвитку теорії і практики використовування автоматично задіяних засобів і систем для заміни фізичної і розумової праці працівників сільського господарства,у широкому використанні досягнень засобів зв’язку і диспетчерського управління,що дозволяє істотно поліпшити організацію і ефективність праці фахівців і керівників сільського господарства.

Темою курсового проектування є «Автоматизація потокової лінії приготування концентрованих кормів»

1. Виробничо-господарська характеристика ОБЄКТА І ВИХІДНІ ДАНІ

Сільськогосподарські тварини і птиці згодовують корми рослинного, тваринного та мінерального походження. Найбільш господарського значення мають рослинні корми. Складом і фізичними властивостями їх умовно поділяють на три групи:соковиті (коренебульбоплоди,бульбоплоди,зелена маса,силос,жом),грубі (сіно,солома,стебла кукурудзи) та концентровані (зерно,макуха).

Технологія приготування кормів залежить від виду,властивостей та якості корму,виду,віку так господарського призначення тварин та птиці,рівня електромеханізації та автоматизації виробничих процесів господарства тощо.

Підготовка до згодовування тваринам і птиці концентрованих кормів може складатися з однієї або кількох технологічних операцій,наприклад:

а) очищення;

б) очищення,змочування (запарювання);

в) очищення,подрібнення,змішування тощо.

Концентровані корми підготовлюють за допомогою дробарки зерна без решітної ДБ-5, кормодробарки універсальної КДУ-2, плющилки зерна ПЗ-3 та інших.

2. Технологічна характеристика об’єкта автоматизації

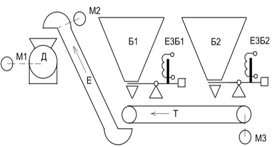
Потокова лінія приготування концентрованих кормів складається з дробарки Д,елеватора Е,горизонтального конвеєра Т та двох бункерів Б1 і Б2 з заслінками,керування якими здійснюється за допомогою електромагнітів Е3Б1 та Е3Б2.

Таблиця 2.1 Технічна характеристика стаціонарного кормороздавача ТВК-80Б

Продуктивність

3 т/год

Привід дробарки

30 кВт 4АМ180М4СУ1

Привід шнека

1,5 кВт АИР80В4У3

Привід транспортера

5,5 кВт АИР112М4У3


Дані таблиці взяті з літератури 3.

Запускають потокову лінію проти ходу корму у такій послідовності:спочатку вмикають привід дробарки М1,потів елеватор Е,після цього горизонтальний стрічковий транспортер Т,а потім в залежності зерно якого бункера потрібно нам використовувати заслінку Е3Б1 чи Е3Б2.

Вимикають лініє за ходом продукту в такій послідовності: відповідний бункер, транспортер, шнек, дробарка. Дана послідовність запобігає скупченню продукту на робочих органах під час пуску та сприяють звільненню робочих органів від продукту під час зупинки.

Д-дробарка КДУ-2; Е-елеватор (шнек); Т-стрічковий транспортер

М1,М2,М3-електричні приводи робочих органів;

Е3Б1,Е3Б2-електромагнітні заслінки бункерів

Рисунок.2.1 Технологічна схема потокової лінії приготування кормів

За допомогою графічних позначень ми схематично зобразили обладнання,що використовується в потоковій лінії приготування концентрованих кормів.

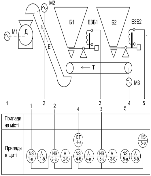
3. Розробка функціональної схеми обєкта автоматизації

Функціональні схеми розробляють із більшим або з меншим ступенем деталізації. Обяг інформації,наведений на схемі,повинен забезпечувати повну уяву про приймані основні рішення з автоматизації даного технологічного процессу і можливість складання на стадії проектування заявок на прилади і засоби автоматизації,щитів і приладів керування.

-пускова апаратура для керування електроприводом 1-го комплекту, позиції «а»

-світлова сигналізація1-го комплекту,позиції «б»

-пускова апаратура для керування електроприводом 2-го комплекту, позиції «а»

- світлова сигналізація 2-го комплекту,позиції «б»

- пускова апаратура для керування електрозаслінкою 3-го комплекту, позиції «а»

- світлова сигналізація 3-го комплекту,позиції «б»

-прилад для вимірювання сили електричного струму 4-го комплекту,позиції «а»

- пускова апаратура для керування електроприводом 4-го комплекту, позиції «б»

- світлова сигналізація 4-го комплекту,позиції «б»

- пускова апаратура для керування електрозаслінкою 5-го комплекту позиції «а»

- світлова сигналізація 3-го комплекту,позиції «б»

-перемикач електричних кіл керування 5-го комплекту,позиції «в»

Рисунок 3.1 Функціональна схема потокової лінії приготування концентрованих кормів

Функціональну схему виконуємо із зображенням щитів і пультів керування за допомогою прямокутників як правило у нижній частині креслення. Функціональну схему потокової лінії приготування концентрованих кормів подаємо в рисунку 3.1.

4. Розробка принципової електричної схеми

Електрична схема потокової лінії приготування концентрованих кормів працює так. Спочатку вмикають автоматичні вимикачі QF1,QF2 і QF3.Потім залежно від того,з якого бункера (першого Б1 чи другого Б2) треба використовувати корм,натискають на кнопку «Пуск» SB2 або SB3.Якщо використовують корм засипаний в бункер Б1,натискають на кнопку SB2.При цьому подається напруга на котушку проміжного реле KV1.Реле KV1 спрацьовує і своїми замикаючими контактами вмикає в електромережу котушку електромагнітного пускача KM1,який шунтує кнопку SB2 і підготовлює до роботи коло котушки електромагніту YA1,а замикаючим контактом запобігає вмиканню реле часу KT1.Пускач KM1 спрацьовує і своїми головними контактами вмикає електродвигун М1 привода дробарки Д,а допоміжними контактом через розмикаючий контакт реле часу КТ1 подає напругу на реле часу КТ1.Реле КТ2 спрацьовує і послідовно з певними видержками часу подає напругу на котушки електромагнітних пускачів КМ2 і КМ3,які вмикають електродвигуни М2 і М3.Одночасно з вмиканням двигуна М3 одержує живлення електромагніт YA1,який відкриває заслінку бункера Б1.Потокова лінія завантажується і продовжує працювати. При використанні корму,засипаного в бункер Б2 для пуску лінії натискають на кнопку SB3.Вмикання електродвигунів здійснюється аналогічно.

Щоб зупинити потокову лінію потрібно натиснути на кнопку SB1.При цьому розімкнеться розмикаючий і замкнеться замикаючий контакт цієї кнопки. Розмиканням розмикаючого контакту позбавляється живлення котушка проміжного реле KV1 або KV2,воно повернеться у вихідне положення і розімкне свої замикаючі контакти .Розмиканням замикаючих контактів KV1 абопідготовиться до вмикання котушка електромагнітного пускача КМ1 і вимкнеться електромагніт YA1 або YA2 заслінки бункера Б1 або Б2.Внаслідок вимикання електромагніту заслінка закриється і подача корму на потокову лінію припиниться. При замиканні замикаючого контакту кнопки SB1 через замкнений допоміжний контакт пускача КМ1,розмикаючий із сповільнювачем,що діє при сповільнюванні,контакт реле часу КТ1 та розмикаючі контакти KV1 і KV2 одержить живлення котушка реле часу КТ1.Воно спрацює і без видержки часу розімкне свій розмикаючий контакт у колі живлення реле часу КТ2 і з видержкою часу-в колі котушки пускача КМ1.При цьому спочатку без видержки часу вимкнуться двигуни М2 елеватора і М3 конвеєра,а потім через деякий час достатній для звільнення машини від продукту-двигун М3 дробарки.

Робоча лінія сигналізується за допомогою сигнальних ламп HL1…HL6.

Від струмів короткого замикання і перевантаження силові кола двигунів захищаються автоматичними вимикачами QF1…QF3,а кола керування-вимикачем SF.

Електрична принципова схема зображена графічній частині 1.

4.1 Вибір елементів схеми автоматизації

Всі апарати, що використовуються в схемах автоматизованого або автоматичного керування електроустановками поділяють на: захисні, командні, проміжні, виконавчі, сигнальні.

Вибирають апарати за призначенням, напругою, величиною струму, кліматичним виконанням, умовами захисту оточуючого середовища та іншими показниками. При виборі елементів потрібно враховувати режими роботи робочих машин та механізмів, вимоги до техніки безпеки, протипожежні правила.

4.1.1 Командні апарати

Командні апарати розраховані для створення первинних імпульсів (команд) на вмиканняя, вимикання та зміну режиму роботи електроустановок.

Для вибору пускозахисної апаратури електродвигунів М1, М2, М3 заносимо їхні вихідні дані у таблицю 4.1.

Таблиця 4.1Вихідні дані електродвигунів

Двигун

Марка

Pн, кВт

nн, хв-1

Iн, А

Кі

М1

4АМ180М4СУ1

1470

56,6

6,5

М2

АИР80Б4У3

1,5

1395

3,52

5,5

М3

АИР132S4У3

5,5

1430

11,4

7,0


Вибираємо рубильник Q за умовами:

н.роб≥Uмер.ном [2, c.31]                                                               (4.1)

,8Iр.ном≥Iроз [2, c.31]                                                                    (4.2)

де, Uн.роб -номінальна напруга рубильника, В;мер.ном - номільнальна напруга мережі, В;

Розрахунковий струм (Iроз , А) визначаємо за формулою:

роз =Iн1+Ін2+Ін3 [2, c.31]                                                              (4.3)

роз =56,6+3,52+11,4=71,52 ,А;

Умовам вибору відповідає рубильник Р16 3133054У1 з робочим струмом 100 А.

=380 ,В;

,8·100=80 ,А;       80>71,52 ,А;

Вибираємо автоматичний вимикач QF за умовами:

а.ном ≥Uмер.ном , [2, c.28]                                                            (4.4)

Іа.ном ≥ Ін . [2, c.28]                                                                      (4.5)

Ір.ном ≥ Ін1 [2, c.28]                                                                      (4.6)

де, Uа.ном - номінальна напруга автоматичного вимикача, В;

Іа.ном - номінальний струм автоматичного вимикача, А;

Ін1 - номінальний робочий струм двигуна,А;

Ір.ном - номінальний робочий струм автоматичного вимикача, А.

Умовам виборі підлягає автоматичний вимикач серії ВА51Г-31-34

=380В,

>56 ,A;

≈56,6 ,А;

Перевіряємо автоматичний вимикач на можливість спрацювання при запуску двигуна М1 за умовами:

Іу.е.≥ 1,65·Iп ,А; [2, c.28]                                                                (4.7)

≥ 367,9·1,65 ,А;

>607,035 ,А;

Отже вибраний автоматичний вимикач не спрацює при запуску двигуна М3. Остаточно вибираємо автоматичний вимикач ВА51Г-31-34.

Аналогічно вибираємо автоматичні вимикачі для двигунів:

М1-ВА 51Г-25 34 (Іа.ном=25,А; Ір.ном = 4,А;)

М2-ВА 51Г-35 34 (Іа.ном=25,А; Ір.ном = 12,5,А;)

Для захисту кола керування від струмів короткого замикання та перевантажень вибираємо однополюсний автоматичний вимикач SF за умовами:ном.авт. ≥Uмер.ном ,

Іном.авт. ≥ Ік.к. , [1, c.40]                                                              (4.8)

Ірозч.авт. ≥ Ік.к. , [1, c.40]                                                             (4.9)

де, Ік.к - струм кола керування, який знаходимо за формулою:

Ік.к = Sк.к/ Uк.к , [1, c.40] (4.10)

де, Sк.к - потужність кола керування, ВА;к.к - напруга кола керування, 220В.

Визначаємо струм кола керування:к.к=84+115+235=434 ,В·А;

Ік.к= 434/220=1,97 ,А.;

Попередньо вибираємо автоматичний вимикач АЕ1031-1У, що має Іном.авт=6 А, з комбінованим розчіплювачем.

>220 ,В;

>1,97 ,A;

>1,97 ,A.;

Умови виконуються, отже остаточно вибираємо автоматичний вимикач АЕ1031-1У.

Для ручного керування вибираємо кнопковий пост ПКЕ-112-3У3 з трьома.

4.1.2 Проміжні апарати

За допомогою проміжних апаратів здійснюється передача та підсилення первинних імпульсів, а також забезпечується певна послідовність виконання технологічних операцій. До проміжних апаратів можна віднести реле напруги різних типів, реле часу тощо.

Для керування кормороздавачем у функції часу вибираємо 2 реле часу типу ВС 10-31 із границями витримки часу 2-60 с, похибою ±2 с і найменшим інтервалом між установками 1,5 с.

Вибираємо проміжне реле за кількістю контактів,родом струму,напругою котушок реле ,рознімною здатністю контактів. Вибирає 2 реле ПЄ-4є.

4.1.3 Виконавчі апарати

Виконавчі апарати призначені для виконання відповідних робочих функцій системи неавтоматизованого і автоматизованого та автоматичного керування.

В кормороздавачі використовуються електромагнітні пускачі.

Вибираємо електромагнітний пускач КМ1 для двигуна М1 за умовами:

п.ном ≥Uмер.ном , [2, c.27]                                                           (4.11)

Ір.ном ≥ Ін.дв., [2, c.27]                                                                           (4.12)

Ір.ном ≥ Іп./6 [2, c.27]                                                                    (4.13)

Попередньо вибираємо тип електромагнітного пускача ПМЛ-4210О2

=380 ,В;

>11,4 ,A;

>(11,4·7)/6 ,А; 25>13,3 ,А;

Умови виконуються, отже остаточно вибираємо електромагнітний пускачі типу ПМЛ-4210О2.

Аналогічно вибираємо електромагнітні пускачі для інших двигунів.Для двигуна М2 пускач КМ2 типа ПМЛ-1210О2,а для М3 пускач КМ3 типу ПМЛ-2210О2 .

4.1.4 Сигнальні апарати

Сигнальні апарати призначені для відображення інформації про хід технологічного процесу і стан керованого об’єкту, а також для передавання командних сигналів обслуговуючому персоналу.

Для цього застосовуються електронні, звукові, світлові сигнальні апарати.

До світлових апаратів сигналізації належать сигнальні лампи.

Вибираємо сигнальні лампи типа потужністю 10 Вт типу АСЛ з вмонтованими в арматуру баластними опорами. Кількість ламп 6 штук.

концентрований корм електричний схема

4.1.5 Нестандартні елементи

До нестандартних елементів відносяться ті елементи схеми,які використовуються тільки в даних умовах виробництва в конкретній схемі. До них в нашій схеми відноситься амперметр РА.

Вибираємо амперметр змінного струму М 1022С з номінальним струмом 100 А.

5. Розробка монтажної схеми

.1 Проектування щитів і пультів керування

Щити і пульти систем автоматизації виконують роль постів контролю, керування і сигналізації. Вони призначені для розміщення засобів контролю і керування технологічним процесом. Щити поділяють за виконанням (відкриті, захищені) та за призначенням.

Для нашої установки приймаємо ящик керування типу Я5905-2774У3.1

Рисунок 5.1 Схема розташування апаратів у щиті

Для забезпечення безпеки та зручності, ввід у щит виконуємо знизу.

5.2 Розташування приладів і засобів автоматизації

Апарати і засоби автоматизації розміщуємо у щиті. Приладі і апарати на лицьовій стороні щита розміщуємо виходячи з умов зручності роботи.

Рисунок 5.2 Схема розташування приладів на дверях

Апарати з рухомими частинами (рубильники, пускачі і т.д.) необхідно розташувати так, щоб під дією сили тяжіння не могли самостійно замкнути кола. Електричні проводки в щитах і пультах виконують відкритими, об’єднуючи їх і джгути.

5.3 Складання монтажної схеми адресним способом

Схеми з’єднань - це схеми на яких вказують з’єднання складових частин електроустановки.

Схеми з’єднань виконуються адресним способом, табличним або графічним.

Схема з’єднань адресним способом виконується без масштабу на один щит або пульт, з відображенням усіх типів апаратів, приладів та засобів автоматизації, а також маркування ділянок ланцюгів, що прийняті на принципових електричних схемах необхідно зберегти на схемі з’єднань.

На схемі апарати зображують спрощено, у вигляді прямокутників. Над прямокутником розміщують коло розділене горизонтальною лінією. Цифри в чисельнику показують порядковий номер виробу за схемою з’єднань. Порядкові номери присвоюють попанельно, як правило, зліва направо і зверху вниз. У знаменнику записують позиційне позначення за принциповою схемою.

Схема з’єднань наведена у додатку 2 графічної частини курсового проекту.

5.4 Розробка схеми підключень

Схеми підключень показують зовнішні підключення апаратів, установок, щитів, пультів, тощо. Їх виконують на основі принципових схем, схем з’єднань живлення, специфікації приладів, обладнання, а також креслень приміщень і розташування технологічного обладнання.

Назва

Двигун

Двигун

Двигун

Заслінка

Заслінка

Тип

АИР112М4У3

АИР80А4У3

АИР132S4У3

-

-

Рисунок 5.3 Схема підключень

Викреслюємо схему підключень, на якій умовними графічними позначеннями у вигляді прямокутників показуємо щити, пульти, шафи керування з відповідними написами.

6. Економічна частина проекту

.1 Визначення основних показників надійності схеми автоматичного керування

Надійність - це властивість об’єкту (схеми) виконувати задані функції протягом часу, обумовлені вимогами експлуатації.

Ймовірність безвідмовної роботи P(t) - ймовірність того, що в заданому інтервалі часу при заданих режимах роботи не виникне відмова в роботі.

(t)=е-κλt , [1,c.62]                                                                  (6.1)

де, к - коефіцієнт, який враховує вплив навколишнього середовища, для сільськогосподарських установок к=10,

λ - інтенсивність відмов схеми,- час експлуатації установки, год.

Знаходимо час роботи установки:=4·30·1,5=180 год.

Для знаходження λ складаємо таблицю, куди заносимо елементи схеми, їх кількість, інтенсивність відмови, результуючу інтенсивність відмов.

Таблиця 6.1 Інтенсивність відмов елементів схеми

Назва елемента

Кількість

λ одного елемента

Результуюча λ

Автоматичний вимикач

4

0,22·10-6

0,88·10-6

Ел.магн. пускач

3

0,75·10-6

Реле часу

2

0,5·10-6

1·10-6

1

2

3

4

Контакти

20

0,25·10-6

5·10-6

Загальне



6,63·10-6


Отже, P(t) становитиме:(t)=е-10·240·5,192·10-6=0,988

Напрацювання на відмову (Т,год) - величина обернена сумарній інтенсивності відмов. Визначаємо за формулою:

Т=1/ λ, [1,c.62]                                                                                (6.2)

де, λ - загальна інтенсивність відмов.

Т=1/6,63 ·10-6= 150829 год.

Для наочності будуємо графік залежності P(t)=f(t) для цього у вираз P(t)=е-κλt замість t будемо підставляти час від 0 до 480 годин. Розрахункові дані заносимо до таблиці 6.1

Таблиця 6.1 Результати розрахунків

Час роботи, год

P(t)=е-κλt

0

1

30

0,998

60

0,996

90

0,994

120

0,992

150

0,990

180

0,088

210

0,981

250

0,98


У тому випадку, коли фактична ймовірність відмови буде меншою від заданої - застосовують резервування. Найбільш розповсюджений метод навантаженого резервування.

Рисунок 6.1 Графік залежності P(t)=f(t)

За графіком можна визначити ймовірність безвідмовної роботи схеми при будь-якому значенні часу.

Ймовірність відмови при 180 год. Становитиме:

(t)=1- P(t), [1,c.64]                                                                           (6.3)

(t)=1-0,988=0,012

Так як час напрацювання на відмову більший від фактичного часу роботи установки, то резервування виконувати не потрібно.

>180 год.

6.2 Економічна ефективність від автоматизації технологічного процесу

При виборі найвищого технічного рішення використовують порівняльну економічну ефективність по кожному варіанту автоматизації і технологічного процесу користуються методом порівняльної ефективності, де визначають коефіцієнт порівняльної ефективності за формулою:

Е=В1-В2/К2-К1, [1,с.68]                                                                 (6.4)

де, В1,В2 -текучі витрати по першому і другому варіанті,грн;

К1,К2 -відповідні капіталовкладення,грн.;

Визначаємо капіталовкладення за формулою:

К=Ку+Кт+Км+Кб, [1,с.67]                                                            (6.5)

де, Ку -вартість устаткування, грн ;

Кт -транспортно-складські витрати, грн ;

Кб -вартість будівельних частин,якшо для розміщення обладнання потрібно побудувати приміщення, грн ;

Км -вартість монтажних робіт, грн.

Визначаємо текучі витрати за формулою:

В=Вз+Ве+Вп+Ва+Взп [1,с.68]                                                       (6.6)

Визначаємо капіталовкладення збільшене для переходу нашої установки до автоматичного керування:

Ку=24000 грн,

Кт=2600 грн,

Км=4800 грн,

Кб=0

Так як для розміщення нашої установки не потребується окремого приміщення.

Визначаємо капіталовкладення при автоматизації іншої установки.

Ку=40000 грн,

Кт =4400 грн,

Км=7000 грн,

Кб=0.

К1=40000+4400+7000=51400 грн.

Визначаємо витрати при автоматизації нашої установки:

Вз=Зпр·Сі,          [1,с.68]                                                                         (6.7)

де, Зпр річні затрати праці першою групою працівників однієї кваліфікації, люд·год.

Визначаємо затрати праці для:=30 кВт, n=1500об/хв;

Періодичності: ПР=18 міс.,ТО=1,5 міс.

Кількість обслуговування на одиницю обладнання: ПР=0,66 ТО=8

Затрати праці при:

Р=1,5кВт, n=1500 об/хв

ПР=4,3люд·год, ТО=0,4 люд·год.

Р=5,5 кВт, n=1500 об/хв

ПР=4,8 люд·год, ТО=0,5 люд·год.

Р=30 кВт, n=1500 об/хв

ПР=7,4 люд·год, ТО=0,7 люд·год.

Затрати праці на рік:

ТО=8·0,4+8·0,5+8·0,7=12,8 люд·год,

ПР=0,66·4,3+0,66·4,8+0,66·37,4=10,89 люд·год.

Загальні затрати праці:

Зпр =12,8+10,89=13,69 люд·год.

Сі =15 грн/люд·год

Вз =15·13,69=205,35 грн.

Вартість електричної енергії:

=Wріч·Cе, [1,с.68]                                                                          (6.8)

де, Cе-вартість 1кВт·год електроенергії (грн./кВт·год)

Ве=((30+1,5+5,5)·4·365)·1,8)=97236,8 грн.

Так,як установка не споживає палива то ми не визначаємо вартість палива (Вп).

Відрахування на амортизацію і ремонт визначаємо за формулою:

Ва+Вр=(Ра/100%)·К+(Рр/100%)·К, [1,с.68]                                   (6.8)

де, Ра-норма відрахувань на амортизацію,для електрообладнання сільськогосподарського виробництва становить 8,5% від вартості капіталовкладень на обладнання,

К - величина капіталовкладень, грн.

Ва+Вр=(8,5·31400)/100+(6,3·31400)/100=4647, грн.

Взп - вартість запасних частин визначаємо за діючим прейскурантом цін: Взп=10000 грн.

Вн - невраховані витрати приймаємо у розмірі 30% від (Ва+Вр+Вв), грн.

Вн=(2669+1978,2)·0,3=1394 грн.

Визначаємо річні витрати (В,грн.) за формулою:

В2=205,35+97236+4647,2+1394,1+10000=113452,65 грн

Визначаємо річні затрати праці для іншої установки:

Вз=205,35 грн.

Ве= Ве=145854 грн.

Ва+Вр=7607,2 грн.

Взп=10000 грн.

Вн=(4290+10000)·0,3=4287 грн.

В=163948 грн.

Визначаємо коефіцієнт порівняльної ефективності

Е=(163948-113452,6)/(51400-31400)=2,52

Умова Е>En виконується:

,52>0,08

Вартість з більшими капіталовкладеннями буде більш ефективною.

Економічна ефективність у гривнях

Е=(В1-В2)-Ен·(К2-К1) [1,с.70]                                                       (6.10)

Е=(163948-113452,6)-008·(51400-31400)=48896 грн.

Срок окупності додаткових капіталовкладень (Т,року) визначаємо за формулою

Т=(К2-К1)/(В1-В2) [1,с.70]                                                             (6.11)

Т=(51400-31400)/ 163948-113452,6)=2,52 р..

Отже, строк окупності становить 2,52 роки.

Висновки і пропозиції

В курсовому проекті на тему: «Автоматизація потокової лінії приготування концентрованих кормів» було зроблено характеристику об’єкта автоматизації, подано вихідні дані, технічну характеристику, розроблено електричну принципову схему та описано її роботу і окремих елементів, вибрано апарати керування, зокрема: електромагнітні пускачі типів ПМЛ-4210О2 ,ПМЛ-2210О2 і ПМЛ-1201О2, захисту: автоматичний вимикачі типу ВА51Г-31-34,та два ВА51Г-25-34,командні: кнопковий пости типу ПКЕ-112-3У3, вибрано проміжні елементи типу ПЄ-4, ВС-10-31, вибрано елементи сигналізації - люмінесцентні лампи та постійні опори, складено монтажну схему, схему підключень, виконано економічну частину, де розраховано напрацювання на відмову та строк окупності капіталовкладень, що становить 2,52 роки.

Література

1. Нагорний А.В., Манжара В.М. Автоматизація технологічних процесів і систем автоматичного керування: НМЦ, 2003. - 82с.

. Кашенко П.С. Електропривод сільськогосподарських машин. Методичні вказівки щодо виконання курсового проекту. - Немішаєве.: НМЦ,2002. - 77с.

. Мартиненко І.І., Головинський Б.П., Лисенко В.П. Автоматизація технологічних процесів сільськогосподарського виробництва. - К.: Урожай, 1995. - 224с.

Похожие работы на - Автоматизація потокової лінії приготування концентрованих кормів

 

Не нашли материал для своей работы?
Поможем написать уникальную работу
Без плагиата!
Без нейросетей!