|
Варіанти
|
Габ. розм.
LxBxH
мм
|
Маса кг
|
Усталена
поту-жність,кВт
|
ККД
|
Дійсний оберт. момент
Т на вих. валі Нм
|
|
1
|
950х500х300
|
881,5
|
11,0
|
0,78
|
3750
|
|
2
|
1312х648х760
|
600
|
11,0
|
0,77
|
3750
|
Результати
приведених розрахунків свідчать про те, що найбільш прийнятним по коефіцієнтам
якості є перший варіант,але через його велику масу і велику громіздкість
компоновки перевагу віддаємо другому варіанту.
5. Теплова
перевірка вибраного двигуна
Теплову перевірку
двигуна проводимо за методом еквівалентних моментів [4], рахуючи, що між
струмом та моментом вибраного двигуна існує прямопропорційна залежність.
Визначаємо
величину еквівалентного моменту корисного опору на ведучому барабані
стрічкового транспортера за формулою:
(5)
де Т1
— момент корисного опору на ведучій зірочці на протязі часу
t1 = 0,5t
рівний діючому моменту Т, Нм,
Т2 —
момент корисного опору на ведучій зірочці на протязі часу
t2 = 0,5t
рівний 0,8 діючого момента Т, Нм,
Т — діючий момент
корисного опору по завданню 3750 Нм.
Після підстановки
значень в формулу (5) отримуємо
=Ö0,82Т²=0,9Т=0,9х3750=3375 Нм.
Приводимо
еквівалентний момент корисного опору
до валу двигуна,
використовуючи співвідношення
деТекв
— приведений до валу двигуна еквівалентний момент корисного опору, Нм,
u — передаточне
число передаточного механізму приводу рівне 57,
м — ККД передаточного
механізму 0,77.
Тоді Текв
=
/uhм=3375/57х0,77=76,896 Нм.
Номінальний
момент, що розвиває двигун, рівний
,
деР — номінальна
потужність двигуна 11000 Вт,
— номінальна кутова швидкість
усталеного руху якоря двигуна
wном=pn/30=3,14х970/30=101,53 1/с.
Таким чином
Тном=Р/wном =11000/101,53=108,34 Нм.
Так як
номінальний момент, розвиваємий двигуном Тном більше еквівалентного
моменту навантаження Текв, тобто
Тном
> Текв,
то двигун не буде
перегріватися.
Вибраний двигун
допускає короткочасне перевантаження при пуску Тпуск/Тном
= 2, що більше ніж по завданню Тпуск = 1,8Т.
Виконання двигуна
по способу монтажу М100, тобто на лапах, по ступеню захисту ІР44, тобто
закритий з зовнішнім обдувом від власного вентилятора. Двигун може працювати
при температурі навколишнього повітря від -40 до +40 оС.
6. Визначення
динамічних показників
Для уточнення
пускового моменту та розрахунку динамічної міцності обертаючихся деталей
приводу, визначаємо момент сил інерції, який необхідно перебороти двигуну при
пуску, за методикою, яка викладена в [5].
Ті = Іпр
e, (6)
де Іпр
— приведений до вала двигуна момент інерції складових частин виконавчого
механізму і приводу, кг
м2,
e — кутове прискорення вала
двигуна, с-2.
Приведений до
вала двигуна момент інерції визначаємо за формулою:
Іпр = Ідв
+
(7)
де Ідв
— момент інерції якоря двигуна та муфти по даним [2] складає 0,12+ 0,32= 0,44
кгм2,
Ізір —
момент інерції стальної зірочки (
= 7800 кг/м3),
шириною а = 0,02 м.
Діаметр зірочки Z/t=10/125:
Ізір=mr²/2=(r/2)a(pD²/4)(D/2)= pD² D²ra/32=0,409 кгм²
Будемо
вважати, що грузонесучий ланцюг та маса вантажу, яка на ньому знаходиться
зосереджена на ободі зірочки, тоді момент інерції ланцюга з вантажем буде
рівний
Іланц =
mланц
rзір2
= mланц(D/2)2,
mланц=F/g; F=Т/( D/2)=2Т/ D; mланц =2Т/ g
D=2х3750/9,81х0,405=1890 кг
D — зовнішній
діаметр ведучої зірочки ланцюгового транспортера,
Таким чином Іланц
=1890х(0,405/2)²=77,5 кгм².
Іпр = 0,44
+(4х0,409+77,5)/50² = 0,472 кгм2.
Для обчислення
кутового прискорення визначаємо час пуску двигуна tп за формулою:
(8)
де Іпр —
приведений до вала двигуна момент інерції 0,472 кгм2,
ном — номінальна кутова
швидкість якоря двигуна
wном=pn/30=3,14х970/30=101,53 1/с.
Тп —
пусковий момент двигуна, рівний двом номінальним моментам Тном по
даним [2].
Тп = 2Тном
= 2Р/wном
=22000/101,53=218,68 Нм.
Тоді
tп = 0,472х101,53/216,68
= 0,22 с
Середнє кутове
прискорення
e=wном / tп = 461,5 с–2.
Підставляючи
отримані значення в формулу (6), отримуємо що
Тu = 0,472х461,5=
217,82 Нм,
менше пускового
моменту, розвиваємого двигуном Тп = 218, 68 Нм.
Враховуючи, що
процес розгону якоря двигуна від
поч = 0 до
ном = 101,53 с-1
можна вважати завершеним за час 2/3 tп, так як на протязі цього часу
кутова швидкість двигуна досягає
0,9
ном, визначимо максимально
можливий момент сил інерції на валу двигуна і порівняємо його з максимальним
моментом, короткочасно розвиваємий двигуном
eмах = 0,9хwном /(2/3 tп)= 623
с-2
Тоді
Тu макс
= 0,472х623= 139,68 Нм
По даним [2]
двигун допускає короткочасне перевантаження
Тмакс =
2,2 Тном = 2,2х108,34= 238,34 Нм
Враховуючи отримані
результати, коли Тu макс <Тмакс, слід в інструкції по
експлуатації на ланцюговий транспортер вказати обмеження на увімкнення
електроприводу
“ Ланцюговий
транспортер можна запускати з навантаженням ”, але щоб уникнути аварійної
ситуації практично завжди його запускають без навантаження.
7. Розрахунки на
довговічність
Аналізуючи
проведені в розділах 5 і 6 розрахунки, необхідно відмітити наступне.
На протязі 0,5
часу циклу t ведуча зірочка ланцюгового транспортера повинна розвивати
обертовий момент
Тзір(0,5t)
= 3750 Нм,
а на протязі часу
0,5t момент
Тзір(0,5t)
= 0,8х4250 = 3000 Нм.
Встановлений в
приводі двигун АИР160S6У3 потужністю Р = 11000 Вт
при номінальній кутовій швидкості
ном = 101,53
с-1 розвиває номінальний момент Тном = 108,34 Нм, що на
ведучій зірочці ланцюгового транспортера складе
Тзір(ном)
= Тномu
= 108,34х57х0,77= 4755 Нм
Таким чином на
протязі 0,5t часу цикла перевантаження двигуна складе
n = 3750/4755=0,79,тобто
перенавантаження не буде.
Перевірка двигуна
за умови нагріву та перевантажувальній здатності дала позитивні результати,
тому вважаємо, що момент корисного опору Тзір(0,5t) = 3750 Нм,
діючий на протязі 0,5 часу циклу t, не буде давати негативного впливу на
працездатність двигуна на протязі необхідного строку служби стрічкового транспортера
Lріч = 8 років по завданню, чого не можна стверджувати про
черв’ячний редуктор моделі Ч250, встановлений у приводі.
Враховуючи
викладене, необхідно виконати розрахунки на довговічність черв’ячної пари, а
також валів редуктора.
7.1 Визначення
довговічності черв’ячної пари
У відповідності з
даними [2] черв’ячний редуктор Ч250 з передаточним числом u = 50 може
передавати наступні обертові моменти Тчр:
¾
при
частоті обертання швидкохідного вала nш = 1000 об/хв Тчр(1000)
= 4120 Нм з ККД
= 0,82;
¾
при
частоті обертання швидкохідного вала nш = 750 об/хв Тчр(750)
= 4820 Нм з ККД
=0,81.
Шляхом
інтерполірування визначаємо, що при nб = 970 об/хв, що відповідає
номінальній частоті обертання вала привідного електродвигуна, черв’ячний
редуктор здатний передавати момент Тчр(970) = 4204 Нм з ККД 
0,819.
Таким чином
перевантаження черв’ячного редуктора на протязі 0,5 часу циклу t складе
nчр =
де Тзір(0,5
t) = 3750 Нм;
ланц — ККД ланцюгової
передачі
0,95;
Тчр(970)
= 4204 Нм.
nчр = 3750/(0,95х4204)=
0,938
Для черв’ячного редуктора
перевантаження не має.У відповідності з даними [7] використаний черв’ячний
редуктор Ч250 з u = 50 має наступне співвідношення основних параметрів:
¾
міжосьова
відстань aw = 250 мм,
¾
передаточне
число u = 50,
¾
число
зубців черв’ячного колеса Z2= 50,
¾
осьовий
модуль m = 8 мм,
¾
коефіцієнт
діаметра черв’яка q = 20,
¾
коефіцієнт
зміщення черв’яка х = 0.
Визначаємо діючі
контактні напруження на зубцях колеса за формулою джерела [9] на протязі
першого та другого періодів циклу:
(9)
де Z2 =
50; q = 20; aw = 250 мм;
Т2 —
обертовий момент на вихідному валі редуктора, має два значення при ККД
ланцюгової передачі
ланц = 0,95.
На протязі 0,5
часу циклу t
Т2(0,5
t) = Тзір(0,5t)/
ланц
=3750/0,95=3947,36 Нм
і на протязі 0,5
часу циклу t
Т2(0,5
t) = Тзір(0,5t)/
ланц
= 3000/0,95=3157,29 Нм
Кн —
коефіцієнт розрахункового навантаження при якісно виготовленій передачі та
коловій швидкості колеса V2 < 3 м/с, що має місце у нашому
випадку
(V2 = pd 2 n 2 /60х1000=0,406 м/с),
приймають рівним
одиниці.
Тоді
sн(0,5t) =(5400/(50/20))Ö( ((50/20 )+1)/250)
³х3947,36х1,2=246,25 МПа
sн(0,5t) =220,25 МПа.
Загальне число
циклів зміни напружень N для черв’ячного редуктора складає
N = 60 n2
Lh,
де n2
— частота обертання тихохідного вала19,4 об/хв,
Lh —
машинний час роботи електропривода
Lh = Lріч
365 Кріч 24 Кдоб ПВ,
де Lріч
— строк служби по завданню 8 років,
365 — число днів
у році,
Кріч —
коефіцієнт річного використання 0,8,
24 — число годин
у добі,
Кдоб —
коефіцієнт добового використання 0,3,
ПВ — відносна
тривалість увімкнення, для неперервного режиму рівна 1.
Таким чином
Lh = 8х365х0,8х24х0,3х1
= 16820 годин
Або
N = 60х19,4х16820
1,95х107 циклів.
Далі визначимо
довговічність черв’ячної пари при діючих контактних напруженнях
sн(0,5t) =246,25МПа, sн(0,5t) =220,25 МПа.
та порівняємо її
з необхідною по завданню.
Перше напруження
діє на протязі
N0,5 t
= 0,5 N = 0,975х107 циклів,
а друге
напруження діє на протязі
N0,5 t
= 0,5 N = 0,975х107 циклів.
По даним
заводу-виробника редукторів вінець черв’ячного колеса виготовлений з бронзи
БрА9Ж3Л відцентровим литвом, яка має
т = 200 МПа та
в = 500 МПа, а черв’як із
сталі 40Х із шліфованою та полірованою поверхнею.
Для коліс із БрА9Ж3Л
при шліфованих та полірованих черв’яках з твердістю поверхні витків НRC > 45
при швидкості ковзання витків Vs по зубцях колеса менше 6 м/с, що
має місце в нашому випадку
Vs = (pmqn 1 /60х1000)хcos(arctg(Z1/q)=5,81 м/с,
допустимі
контактні напруження згідно [7] приймають в межах
(10)
Підставимо
т = 200 МПа та Vs =
5,81 м/с в рівняння (10), отримуємо
[
]н = 300 — 25х5,81
2х200 або [
]н
= 154,75... 400 МПа
Враховуючи, що
для кривих втоми виконується рівність
[
]нmNб =
нmN = const,(11)
де [
]н — допустимі контактні
напруження
375 МПа,
m — показник
степеня 8,
Nб —
базове число циклів навантажень 107,
н — діючі контактні
напруження, величина яких по нашим розрахункам складає
н(0,5 t) =246,25 МПа і
н(0,5
t) = 220,25 МПа,
N — ресурс
бронзового вінця черв’ячного колеса в циклах.
Після підстановки
відповідних значень в рівняння (11) отримуємо, що вінець черв’ячного колеса
може витримати при
н(0,5 t)
N(0,5 t) =
28,29х107,
а при
н(0,5 t)
N(0,5 t) =
71,26х107 циклів.
Так як по
завданню N(0,5 t) = 0,975х107, а N(0,5 t) = 0,975х107
вважаємо, що черв’ячна пара забезпечую необхідну по завданню довговічність
приводу
Lh = 16820
годин.
7.2 Визначення
довговічності вала черв’яка
Для цього в першу
чергу накреслимо черв’ячну пару редуктора Ч250, який встановлений в
передаточному механізмі електроприводу ланцюгового транспортера, в ізометрії
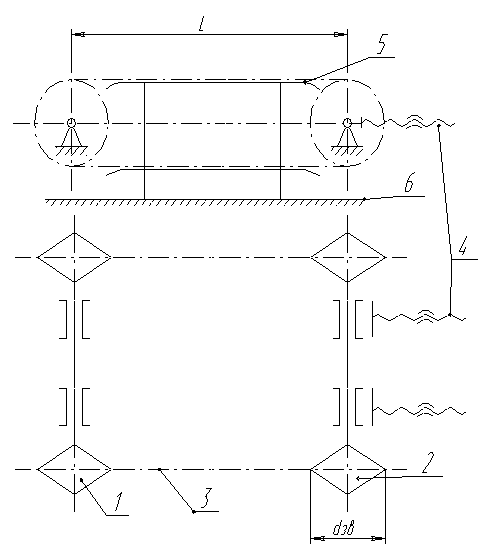
(рис. 5) та визначимо величину сил, що діють в полюсі черв’ячного зачеплення.
Рис. 5. Схема сил
діючих в черв’ячному зачепленні:
1 — колесо
(колесо і черв’як умовно розведені),
2 — черв’як.
Колова сила
черв’яка Ft1, рівна осьовій силі колеса Fa2
Ft1 = Fa2
= 2T1/d1,
де Т1
— обертовий момент на валу черв’яка
Т1 = Рhм/wном = 107,26 Нм
(р — номінальна
потужність електродвигуна 11000 Вт,
— номінальна кутова швидкість вала електродвигуна
101,53 с-1,
м — ККД муфти, яка з’єднує
вал електродвигуна та вал черв’яка,
0,99),
d1 —
ділильний діаметр черв’яка d1 = qm = 20х8= 160 мм = 0,16 м.
Після підстановки
значень маємо
Ft1 = Fa2
= 2х107,26/0,16 = 1340,75 Н
Колова сила
колеса Ft2, рівна осьовій силі черв’яка Fa1
Ft2 = Fa2
= 2T2/d2,
де Т2
— обертовий момент на колесі
Т2 = Т1u
чр = 107,26х50х0,819= 4392,3
Нм
(тут Т1
= 107,26 Нм, u — передаточне число редуктора50,
чр
— ККД редуктора
0,819),
d2 —
ділильний діаметр колеса
d2 = mZ2
= 8х50 = 400 мм = 0,4 м
Тоді
Ft2 = Fa1
= 2х4392,3 /0,4
21961,5 Н
Радіальні сили,
що діють в полюсі зчеплення черв’ячної пари
Fr1 = Fr2
= Ft2 tg
= 21961,5 х tg 20o
=21961,5 х0,36397 = 7992,3 H
Далі
виконуємо ескізну компоновку вала черв’яка в зібраному вигляді та будуємо
розрахункові схеми вала (рис.6). Потім окремо креслимо розрахункові схеми сил,
які діють в вертикальній та горизонтальній площинах (рис. 7 і 8) на вал
черв’яка, і для кожного діючого навантаження будуємо епюри сил та моментів.
Розрахунки реакцій
опор, згинаючих та обертаючих моментів викладаємо нижче в послідовності
розрахункових схем діючих сил, які наведені на рис.7 і 8.
Рис. 6. Ескізна
компоновка вала черв’яка в зібраному виді (а) і розрахункові схеми вала
черв’яка: б — загальна, в,г — сили Ft, Fr i Fa
приведені до осі вала та зображені окремо в вертикальній та горизонтальній
площинах.
Рис. 7.
Розрахункові схеми (а, г), епюри сил (б, д) та епюри згинаючих
моментів (в, е)
для вала черв’яка від навантажень, діючих у вертикальній площині.
Рис.8.
Розрахункові схеми (а, г), епюри сил (б, д) та епюри згинаючих моментів (в, е)
для вала черв’яка від навантажень, діючих в горизонтальнійплощині, та епюра
обертового моменту (ж).
Від радіальної
сили Fr1
Мb = Ra(Fr) хl
– Fr1хb = 0,
Ra(Fr)
= 7992,3х0,19/0,38= 3996,15 H
Rb(Fr)
= 3996,15 H
М(Fr) (d-d)= 759,26 Hм
Від момента Ма
Мb(Ma) = Ra(Ma)
хl — Ma = 0,
Ma = Fa1хd1/2
= = 988,26 Hм
Ra(Ma)
= Ma / l = 988,26/0,38=2600,7 Н
Rb(Ma)
= Ra(Ma) = 2600,7 Н
ММа( d-d )= Ra(Ma) ха =494,13 Hм
Від колової сили
Ft1
Mb = Ra(Ft) l — Ft1
b = 0,
Ra(Ft)
= Ft1 b/ l = 670,35 H
Rb(Ft)
= 670,35 H
М(Ft) (d-d) = 127,37 Нм
Від додаткової
сили Fм = (0,1...0,3)Ft1=200 Н, яка виникає при неспіввісності напівмуфти.
Mb = Ra(Fм)l — FмC
= 0,
Ra(Fм)
= FмC/ l=200х0,14/0,38 = 73,68 H
Ma = –Fм(С + l) +
Rb(Fм)l = 0,
Rb(Fм)
= Fм(С + l)/ l = 200х1,14/0,38=600 H
М(Fм) (d-d )= Ra(Fм) ха=14 Нм
Обертовий момент
Т1
Т1 = Ft1 d1/2 = 1340,75х0,16/2= 107,26
Нм
Сумарний
згинаючий момент в найбільш напруженому перерізі d—d буде дорівнювати:
М(d-d )= 1261,33Нм
Повні
радіальні реакції опор А і В відповідно будуть рівні:
Ra= 6638,67 Н
Rb= 1397,22 Н
Визначаємо
амплітудні значення напружень згину
а в
найбільш напруженому перерізі d—d вала черв’яка за відомою формулою:
,
де
— сумарний згинаючий момент в перерізі
d — d 1261,33 Нм,
W — момент опору
при згині поперечного перерізу вала черв’яка W
0,1 d3
(тут d — діаметр ділильного циліндра черв’яка 0,16 м).
Після підстановки
значень маємо
а=
u= 1261,33/0,0004=3 МПа
Можливий строк
служби вала черв’яка по напруженням згину в найбільш напруженому перерізі d — d
визначаємо використовуючи методику, викладену в джерелі [2] за формулою:
(12)
де
і — діюче згинаюче напруження
в небезпечному перерізі
і =
u = 3 МПа
-1 — границя витривалості при
симетричному циклі навантаження, для сталі 40Х, із якої виготовлений черв’як,
-1 = 350... 420 МПа, приймаємо
-1 = 380 МПа,
Кб —
коефіцієнт концентрації напружень, при змінному навантаженні
1,5,
Nі —
можливий строк служби в циклах,
Nб —
базове число циклів навантаження 107,
m — показник
степеня, змінюється в межах від 6 до 10, приймаємо m = 9, як для деталі малого
діаметру,
Еs —
масштабний кофіцієнт
0,8,
Е
— коефіцієнт, що враховує стан
поверхні, для шліфованої та полірованої поверхні черв’яка
0,9,
Еt —
коефіцієнт, що враховує вплив робочої температури 1,0,
n — коефіцієнт
запасу
1,4.
Підставляючи
прийняті значення в рівняння (12), отримуємо
Ni = 0,434х1018
циклів,
Так як Ni > 25х107 то приймаймо Ni = 25х107 циклів
що складає
довговічність в годинах при частоті обертання вала черв’яка n1=970 об/хв
Lh =
= 2874 годин.
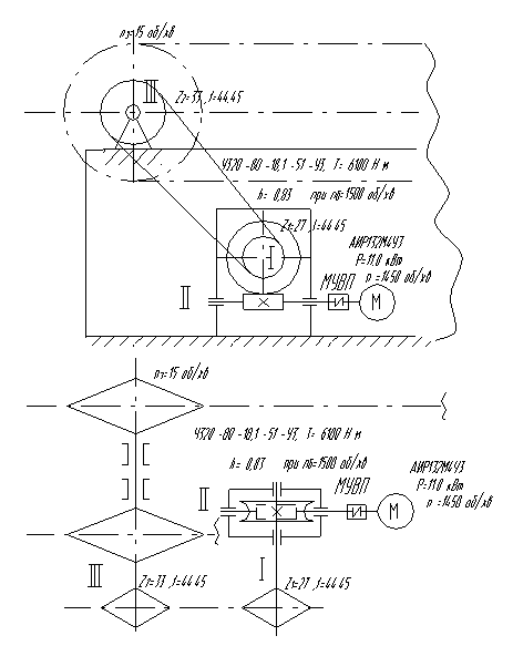
Рис. 10.
Структурна схема електропривода
1 —
електродвигун,
2 — муфта гнучка,
3 — редуктор
черв’ячний,
4 — передача
ланцюгова,
5 — зірочка
ведуча.
8. Розрахунок
ланцюгової передачі
Виконаний у
відповідності з методикою, яка викладена в главі 10 джерела [3].
Вихідні дані:
¾
Частота
обертання ведучої зірочки n1 = 19,4 об/хв.
¾
Передаточне
число u = 1,14.
¾
Середній
момент корисного опору на валу веденої зірочки, який рівний середньому моменту
корисного опору на валу ведучої зірочки ланцюгового транспортера, Т2
= 3375 Нм.
¾
Розташування
лінії центрів передачі — під кутом 30о до горизонту.
¾
Передача
— відкрита, змащування постійне за допомогою крапельниці.
¾
Натягування
ланцюга за допомогою підпружиненого ролика, тобто автоматичне.
У відповідності з
рекомендаціями [3] приймаємо число зубців зірочок:
ведучої Z1
= 29-2u=29–2х1,14=26,72, приймаємо Z1=27 i веденої Z2 = uZ1=1,14 х27=30,78. приймаємо Z2=31;
Визначаємо
коефіцієнт експлуатації Ке, що враховує конкретні умови монтажа та
експлуатації ланцюгової передачі за формулою:
Ке = К1
К2 К3 К4 К5 К6, (15)
де К1
— коефіцієнт, що враховує характер зміни навантаження; при постійному
навантаженні, без різких коливань, що має місце в нашому випадку, К1
= 1,0;
К2 —
коефіцієнт, що враховує вплив міжосьової відстані а; при а = (30...60) t (t — крок
ланцюга), К2 = 1,0;
К3 —
коефіцієнт, величина якого залежить від кута нахилу передачі до горизонту, якщо
кут менше 60о (у нас 30о), то К3 = 1,0;
К4 —
коефіцієнт, що враховує спосіб регулювання натягнення ланцюга, для
автоматичного способу К4 = 1,0;
К5 —
коефіцієнт, що враховує вплив способу змащення передачі, при крапельному
змащуванні К5 = 1,2;
К6 —
коефіцієнт змінності; так як коефіцієнт добового використання стрічкового
транспортера по завданню Кдоб = 0,3, тобто одну зміну, то К6
= 1,0.
Тоді маємо
Ке
=1х1х1х1х1,2х1 = 1,2
Середній момент
корисного опору на валу ведучої зірочки Z1 при ККД ланцюгової
передачі
ланц = 0,95
Т1 = 3375/1,14х0,95=3116,3
Нм
Визначаємо крок
ланцюга типа ПР нормальної точності при розрахунковій довговічності 10000
годин, прийнявши орієнтовно за нормами DІN8195 допустимий середній тиск при
швидкості ланцюга V
1 м/с [P] = 25 МПа, за
наступною формулою:
t =
(16)
деТ1 =
3116,3 Нм = 3116,3 х103 Нмм,
Ке = 1,2;Z1
= 27;
[P] = 25 МПа
(Н/мм2)
Після підстановки
значень маємо
t = 46,38 мм
Приймаємо
найближче стандартне значення t = 44,45 мм.
Визначаємо
швидкість ланцюга
V = Z1
t n1/60000= 0,39 м/с
Перевіряємо
розрахований тиск за формулою (16)
Р = 2,8³х Т1
Ке / Z1 t³ = 34,26 МПа
[P]=34,3 МПа
Умова Р
[P] виконана, тому строк служби ланцюга
електроприводу 16820 годин
До встановлення
приймаємо ланцюг привідний роликовий однорядний з кроком t = 44,45 мм, руйнуюче
навантаження якої Fв = 172,4 кН, маса m = 7,5 кг/м. Умовне
позначення ланцюга
Ланцюг
ПР 44,450-17240 ГОСТ 13568-75.
Визначаємо
геометричні параметри передачі:
Міжосьова
відстань
а = 40t = 40х44,45
= 1778 мм,
число ланок
ланцюга
Lt = 2а/t
+ 0,5(Z1 + Z2) = 2х40 + 0,5(27+31) = 109
розрахункова
довжина ланцюга
L = Lt
t = 109х44,45 = 4845 мм
Перевіряємо
ланцюг на число ударів, використовуючи формулу:
W =
(17)
деZ1 =
27; n1 = 19,4об/хв; Lt = 109
Після підстановки
значень отримуємо
W = 4х27х19,4/60х109=0,32
с-1
Допустиме
значення
[W] = 508/t = 508/44,45
= 11,43 с-1,
умова W
[W] виконується.
Коефіцієнт запасу
міцності ланцюга визначаємо за формулою:
S =
, (18)
де Fв
— руйнуюче навантаження ланцюга 172400 Н,
Ft —
колове зусилля на зірочці
Ft = 2Т1p/ Z1 t= 16,3 кН;
Fц —
навантаження від відцентрових сил
Fц = mV2
= 7,5х0,322 = 1,14 Н;
Ff —
сила від провисання ланцюга
Ff = 9,81
Kf ma (тут Кf — коефіцієнт
4, m =
7,5 кг/м, а = 1,778 м)
Ff = 9,81х4х7,5х1,778
523,27 Н.
Після підстановки
отриманих значень в формулу (18) маємо
S = 17240/(16300+1,14+523,27)=
10,24
При частоті
обертання меншої зірочки n1
20
об/хв для ланцюга з кроком t = 44,45 мм нормативний коефіцієнт запасу міцності
[S] = 7,6. Отже, умова S
[S] виконується.
9. Розрахунок
імовірності безвідмовної роботи електропривода
Розрахунок
виконано у відповідності з методикою, викладеною в главі 18 джерела [2].
Структурна схема
електропривода разом з ведучою зірочкою ланцюгового транспортера показана на
рис.10. Такий склад електропривода зв’язаний з тим, що ведена зірочка
ланцюгової передачі насаджена на вал ведучої зірочки.
Розподіл
імовірності безвідмовної роботи електроприводу експоненційне. По табл. 18.1
знаходимо середні величини параметрів потоку відмов на 105 годин
роботи електроприводу:
¾
асинхронний
електродвигун
1 = 0,86;
¾
муфта
гнучка
2 = 0,07;
¾
редуктор
черв’ячний
3 = 0,02;
¾
передача
ланцюгова
4 = 0,50;
¾
барабан
ведучий
5 = 0,10.
Параметр потоку
відмов всієї системи становить:
= (0,86 + 0,07 + 0,02 + 0,50 + 0,10)х10-5
= 1,55х10-5 1/г.
З урахуванням
реальних умов експлуатації приймаємо по табл. 18.2 значення поправочного
коефіцієнта інтенсивності відмов як для стаціонарного наземного пристрою
Кл = 10.
Тоді розрахункова
середня величина параметра потока відмов буде рівна
=1,55х10-5х10 = 1,55х10-4
1/г.
Імовірність
безвідмовної роботи електропривода на протязі 2000 годин, тобто на протязі
пів-року експлуатації (судячи по даному
строку служби Lh = 8 років та машинному часу роботи електропривода
стрічкового транспортера 16820 годин) складе
Р
(t) = exp (-
розр
t) = exp (-1,55х10-4х2000) = 0,73;
тобто на протязі
пів-року експлуатації
кожний четвертий електропривід
по тим чи іншим причинам буде відмовляти.
Середній час
напрацювання на відмову для електроприводів розробленої конструкції складе:
Т0 =
= 6452 години
Підвищення
показників надійності електроприводу може бути досягнено за рахунок
застосування асинхронних електродвигунів змінного струму уніфікованої серії
Інтерелектро — АИ2, а також передаточних механізмів — механічних редукторів
сучасної конструкції.
|
№
|
Електродвигун
|
Муфта
|
Редуктор
|
Ланцюгова передача
|
Рама
|
|
1
|
АИР132М4У3,
Р=11,0кВт,n=1450
об/хв, =0,875; сos =0,87;
Тп/Тн=2;
Тм/Тн=2,2
mD2=0,04
кг м2
Габаритні розміри 538х302х350
m = 83,5 кг
db=38мм,lb=80мм
|
МУВП
250-38-1.1-38-1.1 - У3
ГОСТ 21424-75
Т=250Нм,
=0,99
mD2=0,054 кг м2
m= 18 кг
|
Ч320-80-51-1-2-Ц-У3 по ТУ2-056-1-
32-75; Т=6100 Нм;
=0,83 при nb=1500
об/хв;
Маса =780 кг
Габ. розміри 590х490х875 мм
Швидкохідний вал db=38 мм,lb=80 мм
Тихохідний вал dm=120 мм,lm=170 мм
Допустиме консольне
навантаження на тихохідний вал 7000 Н
|
t = 44,45 мм
Z1 =
27
Z2 = 29
iл = 1,06
= 0,95
m = 7,5 кг
|
600х180х40
m=
16кг
|
|
2
|
АИР160S6У3,
Р=11,0кВт,n=970 об/хв, =0,88; сos =0,83;
Тп/Тн=2;
Тм/Тн=2,7
mD2=0,12 кг м2
Габаритні.розміри 1312х648х760
m = 100 кг
db=48мм,lb=110мм
|
МУВП
710-48-1.1- У3
ГОСТ 21424-75
Т=710 Нм,
=0,99
mD2=0,32
кг м2
m= 25 кг
|
Ч250-50-51-1-2-Ц-У3
по ТУ2-056-1-
32-75; Т=4120 Нм;
=0,82 при nb=1000
об/хв;
Маса=400,0 кг
Габ. розміри
480х415х705 мм
Швидкохідний вал db=48
мм,lb=80мм Тихохідний вал dm=120 мм,lm=170
мм
Допустиме консольне
навантаження на тихохідний вал 7000 Н
|
t = 44,45 мм
Z1=
27
Z2 = 31
iл = 1,14
= 0,95
m = 7,5 кг
|
600х180х40
m=
16кг
|
Література
1. Кацман М.М. Электрические машины и
электропривод автоматических устройств. — М.: Высш. шк., 1987. — 335 с.
2. Приводы машин: Справочник /В.В.
Длоугий, Т.И. Муха, А.П. Цупиков, Б.В. Януш; Под общ. ред. В.В. Длоугого. — 2-е
изд., перераб. и доп. Л.: Машиностроение, Ленингр. отд., 1982. — 383 с.
3. Проектировние механических передач:
Учебно-справочное пособие для втузов С.А. Чернавский, Г.А. Снесарев, Б.С.
Козинцов и др. — 5-е изд., перераб и доп. — М.: Машиностроение, 1984. — 560 с.
4. Куликов А.А. Основы електропривода. —
Киев, Вища школа, 1977. — 184 с.
5. Прикладная механика: Учеб. пособие
для вузов /Рук.авт.кол.проф. К.И. Заблонский. — 2-е изд, перераб. и доп. —
Киев: Вища школа. Головное изд-во, 1984. — 280 с.
6. Анурьев В.И. Справочник
конструктора-машиностроителя. В трёх т. — 5-е изд., перераб. и доп. — М.:
Машиностроение, 1979.—559 с. т.1 — 728 с., т.2 — 559 с., т.3 — 557 c.
7. Тарабасов Н.Д., Учаев
П.Н.Проектирование деталей и узлов машиностроительных конструкций: Справочник.
— М.: Машиностроение, 1983. — 239 с.
8. ГОСТ 16162-85 Редукторы
общего назначения. Общие технические требования.
9. Павлище В.Т. Основи конструювання та розрахунок деталей машин. — Київ:
Вища школа, 1993. — 556 с.
10. Цехнович Л.И., Петриченко И.Н. Атлас конструкций
редукторов. Учебное пособие. 2-е издание переработанное и дополненное. — Киев,
Высшая школа, 1990 — 151 с.
Додаток 1
Додаток до
завдання на курсовий проект
Рис. 1.
Кінематична схема ланцюгового транспортера
(без
електроприводу та натяжного пристрою):
1 — зірочка
приводна (ведуча),
2 — зірочка
натяжна (холоста),
3 — ланцюг
транспортера
Рис. 2.Графіки
навантаження:
(Т — діючий
момент корисного опору,
t — тривалість
циклу,
Тпуск
— пусковий момент.
Тпуск = к*Т, де к = 2,0.