Дослідження трифазного синхронного генератора
Лабораторна робота
з дисципліни
"Електротехніка"
Розробив Хмара А.О.
Перевірив Апухтін О.С.
Вступ
1. Мета роботи
Ознайомитися з експериментальними способами
зняття характеристик синхронного генератора, особливостями основних
характеристик генератора.
2. Обладнання та прилади.
Трифазний синхронний генератор, привідний АД,
комплект К50, амперметр, трифазний трансформатор (навантаження).
3. Зміст роботи.
1. Зняті характеристики:
· холостого ходу Ea=¦ (I3) при відсутності
навантаження (Іа=0), n=const
· зовнішню U=¦ (I) при I3=const,
n=const.
· регулювальну I3=¦ (I) при U=const,
n=const.
· короткого замикання Ik=¦ (I3) при n=const,
U=0
2. Результати вимірювань та обчислень.
1.
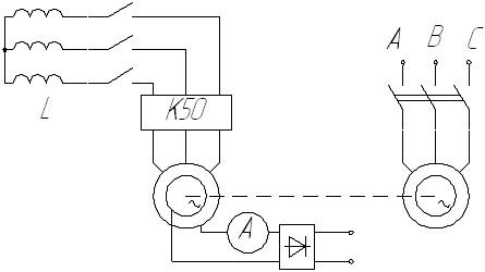
Збираємо схему (рис.1.1)
Рисунок 1.1 - Схема вмикання трифазного
синхронного генератора
2.
Знімаємо характеристику холостого ходу
Характеристика холостого ходу являє собою випадок
навантажувальної характеристики, коли Іа=0. Для одержання
характеристики холостого ходу, обертаючи ротор генератора з номінальною
частотою та змінюючи струм збудження, фіксуємо напругу на вихідних зажимах. Особливістю
зняття характеристики холостого ходу є вимога міняти струм збудження поступово
та тільки в одну сторону.
Таблиця 2.1 - Характеристика холостого ходу при Ia=0
|
0
|
2
|
3
|
4
|
5
|
6
|
7
|
8
|
9
|
|
0
|
45
|
62
|
104
|
124
|
137
|
150
|
158
|
166
|
173
|
Рисунок 2.2 - Характеристика холостого ходу
Таблиця 3.1 - Зовнішня характеристика при Із=const
|
130
|
116
|
113
|
106
|
98
|
89
|
82
|
52
|
43
|
|
0
|
2,1
|
3
|
4,3
|
5,4
|
6,2
|
7
|
8,2
|
9
|

4.
Знімаємо регулювальну характеристику
Регулювальна характеристика - це залежність сили
струму збудження від сили струму навантаження при сталій напрузі на виході.
Таблиця 4.1 - Регулювальна характеристика при U=соnst=173В
|
3
|
3,5
|
5
|
7
|
9
|
|
3
|
3,2
|
4
|
4,5
|
6
|
Рисунок 4.2 - Регулювальна характеристика
5.3
Знімаємо характеристику короткого замикання
Ця характеристика є особливим випадком
регулювальної характеристики при U=0, але зі зміненою залежністю величин
І та Із.
Таблиця 5.1 - Характеристики короткого замикання
|
1 фаза
|
2 фази
|
3 фази
|
|
0
|
0
|
5
|
0
|
5
|
|
0
|
2
|
0
|
1
|
0
|
0,5
|
трифазний синхронний генератор замикання
Рисунок 5.2 - Характеристика короткого замикання
Висновки: При виконанні роботи
ознайомились з основними характеристиками трифазного синхронного генератора.
Зняли основні характеристики та ознайомились з методикою їх отримання, та
схемами необхідними для цього.