Розробка конструкції водовідділювача ВДМ-15
АНОТАЦІЯ
Курсовий проект на тему: «Розробка
конструкції водовідділювача ВДМ-15» складається з пояснювальної записки
виконаної на сторінках, яка містить рисунків, таблиці використано літературних
джерел. Графічна частина складається з 2-х листів формату А1, на яких зображено
загальний вигляд обладнання та кресленик вузла.
Пояснювальна записка складається з
аналітичного огляду існуючих конструкцій обладнання для відділення
транспортерно-миючої води, будови та принципу дії, технологічного процесу
монтажу та ремонту, особливості підбору конструкційних матеріалів. Також
приведені правила експлуатації жомовіджимного пресу, заходи з охорони праці та
навколишнього середовища приведені пропозиції по модернізації обладнання.
В розрахунковій частині приведені
розрахунки потужності та конструктивних елементів обладнання, розрахунки
такелажного оснащення для монтажу обладнання та розрахунок балок.
ВСТУП
Буряк, який подається на переробку
землею, піском, камінням, гичкою, соломою та іншими домішками. Кількість домішок,
залежить від погодних умов і засміченості поля бур’яном, може досягати до
10-12% до маси буряків.
При попаданні в бурякорізку такий
буряк тупить ножі, в результаті чого погіршується якість стружки, знижується
продуктивність дифузійної установки і підвищуються втрати цукру від діяльності
мікроорганізмів.
Для очищення буряку від домішок
використовують соломогичковловлювачі, каменевловлювачі, водовідділювачі та
бурякомийки.
Для відділення води від
буряководяної суміші використовують водовідділювачі. По конструкції їх можна
розділити на дискові та ротаційні. Найбільшого розповсюдження отримали дискові
водовідділювачі. Транспортерно-миюча вода проходить між дисками разом з землею
і піском а буряк проштовхується рухомими дисками до бурякомийки.
Над водовідділювачем після миття
рекомендується встановлювати сопла для ополіскування буряків чистої хлорованою
водою.
1. АНАЛІТИЧНИЙ ОГЛЯД ІСНУЮЧИХ
КОНСТРУКЦІЙ ОБЛАДНАННЯ
Перед подачею до бурякомийки і після
виходу з неї від буряка відділяється вода. Для цієї мети застосовуються
водовідділювачі. У них же відбувається відділення від буряка і мілких домішок
(тріски, уламків і хвостиків буряків і т.п.) На багатьох заводах експлуатуються
водовідділювачі, виконані у вигляді похилого металевого жолоба довжиною 1,5-2
м, дно якого представляє собою грати з металевих прутів або смугової сталі.
Однак вода на таких пристроях повністю відокремитися не може, тому що при
швидкості руху суміші близько 1,5 м/с час перебування суміші на
водовідділювачах близько 1-1,5 с.
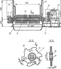
Рисунок 1.1 Водовідділювач ВД-15-65
Як типовий прийнятий дисковий
водовідділювач ВД-15-65. На станині 1 водовідділювача в підшипниках 2
обертаються вали 3, на які надіті фігурні гумові диски 4 у вигляді ромашки, що
обертаються з частотою 85 об/хв в водовідділювачі перед мийкою і 107 об/хв
після мийки (зміна частоти обертання досягається заміною шківа редуктора).
Привід валів здійснюється від електродвигуна 5 потужністю 2,8 кВт через
клинопасову передачу 6, редуктор 7 і зірочки 8. На кожному валу (крім двох
крайніх) встановлено по дві зірочки. Одна з них є відомою для власного вала,
інша - провідною для наступного.
Через зірочки перекинуті
пластинчасті втулково-роликові ланцюги 9. Зірочки і ланцюги поміщені в масляну
ванну 10. Привід водовідділювача встановлений на рамі 11, а електродвигун може
переміщатися з санчатами 12 для натягування клинопасової передачі. Масляні
ванни і передача закриті кожухами 13. Буряк, проходячи через диски
водовідділювача, надходить в бурякомийку, а в зазори між дисками проходить вода
і дрібні домішки, які йдуть через патрубок 14. Для того щоб буряк не
звалювалася в сторони, встановлені борти 15. Водовідділювач має масу близько
2,0 т і розрахований для заводу потужністю 1500 т буряка за добу. Зазори між
дисками і сусідніми валами складають 10,5 мм, а між дисками сусідніх валів - 4
мм.
Під час роботи водовідділювача
необхідно слідкувати за його справністю. Кожухи на масляній ванні і
клинопасовій передачі повинні бути ретельно встановлені. У ванні повинно бути
достатньо масла. Перед пуском водовідділювача потрібно переконатися в надійному
кріпленні вузлів і деталей, а диски змочити водою. Не можна проводити
регулювання, ремонт і змащення механізмів під час роботи. Металева конструкція
водовідділювача повинна бути заземлена. Основні недоліки дискових
водороздільники в тому, що у них диски, підшипники і ланцюгові передачі швидко
зношуються, а буряк у них значно подрібнюється (до 3,5%). У ротаційному
водовідділювачі ВР-20 ці недоліки усунені.
Він складається з горизонтального
пруткового барабана 2 діаметром 1,1 м і довжиною 1,5 м з зазорами між прутами
20 мм і діаметром прутів 24 мм. Буряко-водяна суміш з гідротранспортера 1
надходить у внутрішню частину барабана, де, потрапляючи на спіральні витки 3,
встановлені на внутрішній поверхні барабана, втрачає швидкість, і вільно
проходить через зазори між прутами, потрапляє в бункер 6 . Буряк з допомогою
спіральних витків подається в мийку. Барабан встановлений на стійках 5 під
кутом 5 ° і обертається з частотою 10 об/хв на опорних роликах 9 і
підтримуючому ролику 4 від електродвигуна 7 потужністю 7 кВт через редуктор і
ланцюгову передачу.
Рисунок 1.2 Ротаційний
водовідділювач ВР-20
Для очищення щілин між прутами
барабана збоку його встановлений вал 8 зі скребками. Такий водовідділювач добре
відокремлює від буряка не тільки воду, а й пісок і інші домішки розміром до 20
мм, а також частково відокремлює солому, бадилля. При цьому буряк пошкоджується
незначно (0,6-0,7% до маси буряків). Над водовідділювачем після миття
рекомендується встановлювати сопла для ополіскування буряків чистої хлорованою
водою. Ополіскування зменшує забрудненість до 0,008-0,015%. до маси буряків.
Витрата води на обполіскування 15-20% до маси буряків.
Таблиця
1.1
Технічна характеристика
водовідділювачів
|
Показники
|
Марки
|
|
ВДМ-15
|
ВДФ-3
|
ВДФ-6
|
|
1. Продуктивність т/доб
|
1500
|
3000
|
6000
|
|
2. Загальна кількість валів, шт
|
8
|
12
|
12
|
|
3. Час перебування буряку на водовідділювачі,
с
|
3
|
3
|
3
|
|
4. Зазори між гумовими дисками, мм
|
6
|
6
|
6
|
|
5. Електродвигун, шт
|
1
|
2
|
2
|
|
тип
|
АО-2-41-6
|
|
потужність, квт
|
2,8
|
3
|
3
|
|
частота обертання, об/хв
|
960
|
960
|
960
|
|
6. Редуктор, тип
|
Ц2УН-160
|
|
7. Габаритні розміри, мм довжина
|
2250
|
3435
|
3435
|
|
ширина
|
2171
|
2317
|
2996
|
|
висота
|
1210
|
1317
|
|
8. Маса, кг
|
1875
|
3539
|
4346
|
|
9. Завод виробник
|
Катиринопільський ремонтно-механічний завод
|
2. КОНСТРУКТИВНО-ТЕХНОЛОГІЧНА
ЧАСТИНА
.1 Будова та принцип роботи
обладнання
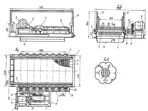
Водовідділювач ВДМ-15, складається з
станини 5 до якої закріплені підшипники 4 в яких обертаються вісім квадратних
валів 14, на які надіті фігурні гумові ступиці 19 з дисками 6, що обертаються з
частотою 1,41 с-1 (85 об/хв). Зміна частоти обертання досягається
заміною шківа редуктора.
Привод валів здійснюється від
електродвигуна 10 потужністю 2,8 кВт через клинопасову передачу 11, редуктор 8,
муфту й зірочки 3. На кожному валу (крім двох крайніх) встановлено по дві
зірочки. Одна з них є ведуча для власного вала, інша - ведена для наступного.
Через зірочки перекинуті пластинчасті втулочно-роликові ланцюги 2 з кроком 25,4
мм. Зірочки і ланцюги поміщені в масляну ванну 1 для змащування. Обертання від
редуктора передається четвертому (зліва на малюнку) валу, а від нього
ланцюгової передачу - до решти валів. Привід встановлений на рамі 7, а
електродвигун може переміщатися санчатами 9 для натягу клинопасової передачі.
Масляна ванна закрита кришкою, а клинопасова передача - кожухом 15. Фігурний
диск, виконаний з гуми, має по шість виступів 16 і западин 17.

Рисунок 2.1 Дисковий водовідділювач
ВДМ-15
Для забезпечення жорсткості диска
глибина западин виконана мінімальною, виходячи з вимог найменших втрат
бурякової маси. На одному з шести робочих виступів є короткий виступ 18
(«чобіток»), призначений для очищення проміжків між дисками та їх ступиць.
Переваги таких дисків в тому, що зазори між дисками та їх ступицями завжди залишаються
чистими, вільними для проходження транспортерної води і домішок, оскільки
«чобіток» безперервно очищає їх, викидаючи уламки буряків вгору.
На одному валу диски встановлюються
так, щоб «чобітки» розташовувалися в ряд, а на суміжних валах - таким чином,
щоб «чобітки» на валу проходили попереду ступиць диска попереднього валу були
здвинуті на 20-30°. Буряк, проходячи по дисках попадає в бурякомийку, а в
зазори між дисками проходять вода і дрібні домішки, які відводяться через жолоб
12. Для того щоб буряк не звалювалася з водовідділювача в сторони, встановлені
борти 13. Тривалість перебування буряків на водовідділювачі 3 с.
Під час роботи дискових
водовідділювачів необхідно слідкувати за його справністю. Кожухи на масляній
ванні повинні бути ретельно встановлені. У ванні повинно бути достатньо масла.
Не можна проводити регулювання, ремонт і змащення механізмів під час роботи.
Металева конструкція повинна бути
заземлена.
.2 Особливості підбору
конструкційних матеріалів
Для відділення від буряководяної суміші
води використовуються дискові водовідділювачі. На водовідділювачах також
відбувається відділення від буряка мілких домішок (соломи, гички, уламків і
хвостиків буряків і т. п.) На багатьох заводах експлуатуються водовідділювачі,
виконані у вигляді похилого металевого жолоба довжиною 1,5-2 м, дно якого
представляє собою грати з металевих прутів або смугової сталі. Однак вода на
таких пристроях повністю відокремитися не може, тому що при швидкості руху
суміші близько 1,5 м/с час перебування суміші на водовідділювачах близько 1-1,5
с.
Водовідділювач складається з станини
до якої закріплені підшипники в яких обертаються вісім квадратних валів, на які
надіті фігурні гумові ступиці з дисками, що обертаються. Зміна частоти
обертання досягається заміною шківа редуктора. Зірочки і ланцюги поміщені в
масляну ванну для змащування. Обертання від редуктора передається четвертому
(зліва на малюнку) валу, а від нього ланцюговою передачею - до решти валів.
Привід встановлений на рамі. Масляна ванна закрита кришкою, а клинопасова
передача - кожухом. Фігурний диск, виконаний з гуми.
Буряк з водою подається на валки які
обертаються і проштовхують буряк вперед а вода проходить між дисками і
відводиться в колектор. Корпус підлягає інтенсивному абразивного впливу за
рахунок тертя буряків та корозійному впливу від води.
Для виготовлення частин
водовідділювача використовуємо такі матеріали:
корпус, огородження, захисні кожухи
- Ст.3сп ГОСТ 16523-70;
вали водовідділювача - Сталь 45 ГОСТ
1050-88;
гумові валки - Гума ТМКЩ ГОСТ 7338-90;
рама із стального прокату - Ст.3сп2
ГОСТ535-88;
трубопроводи води - Ст.3кп ГОСТ
380-94;
.3 Технологічний процес складання
обладнання
Технологічний процес складання
обладнання повинен відповідати вимогам стандартів і технічним умовам.
Технологічний процес складання полягає в поєднанні деталей у вузол, а вузли в
машину. Всі роботи поділяються на окремі послідовні операції, переходи,
прийоми.
Технологічний процес складання машин
складається з наступних основних етапів:
підготовки деталей для складання;
складання вузлів, комплектів;
загального складання машини;
випробування машини і здачі її
відділу технічного контролю;
маркування, комплектування, упаковка
та відправка замовнику.
У процесі виконання складальних
робіт здійснюється також фарбування для захисту деталей від корозії, та гарного
естетичного вигляду.
Підготовка деталей для складання
повинна включати наступні основні роботи:
очистку деталей від бруду, видалення
задирок і забоїн;
гідравлічні випробування деталей та
вузлів і виправлення виявлених дефектів;
очистку і забарвлення внутрішніх
частин масляних ванн.
Перед початком складання обладнання
необхідно перевірити комплектність поставки у відповідності з специфікаціями.
При тривалому зберіганні обладнання на складах всі законсервовані деталі і
складанні одиниці обладнання підлягають контрольному огляду, ревізії і
розконсервації в терміни, передбачені технічними умовами на виготовлення,
комплектування і поставку обладнання.
Під час ревізії запірно-регулюючої
арматури слід впевнитись в наявності маховичка, болтів, гайок. Відсутності
тріщин і раковин у корпусі, глибоких рисок на ущільнених поверхнях запірного
органа і фланців, погнутості шпинделя.
Виявлені під час збирання обладнання
і запірно-регулюючої арматури незначні дефекти усуваються. Потім повторно
перевіряють на легкість відкривання і закривання запірні пристрої арматури.
Трубопровідну арматуру після ремонту випробовують на міцність і щільність.
Корпус арматури випробовують на міцність пробним тиском по ГОСТ 356-80.
При виконанні зварювальних робіт
вказуються методи зварювання та типи зварних швів.
Складання водовідділювача починають
з рами, на якій встановлюють вали в підшипникових вузлах. Підшипникові вузли до
рами кріпляться болтами. На хвостовиках валів закріплюють зірочки, надягають
ланцюги передачі, заповнюють масляну ванну рідким мастилом. Встановлюють
привід, який складається із електродвигуна, клинопасової передачі, редуктора та
з’єднувальної муфти. Встановлюють огородження на всі обертові частини.
Перевіряють напрям обертання валів, вали повинні обертатися по ходу руху
буряководяної суміші.
По закінченню складання проводяться
випробування обладнання, в яке обов’язково включають пробний пуск на неробочому
ході для перевірки правильності напрямку обертання рухомих частин, а також
перевірку зварних швів.
При виявлення в процесі складання
обладнання дефектів, які допущені при проведенні робіт, випробування потрібно
повторити після їх усунення.
3. ЕКСПЛУАТАЦІЙНО-РЕМОНТНА ЧАСТИНА
.1 Правила експлуатації та
обслуговування обладнання
Дискові водовідділювачі призначені
для відділення від буряка транспортерних і мийних вод, бурякових хвостиків,
бадилля і дрібних домішок. Дискові водовідділювачі встановлюють перед і після
бурякомийки.
Підготовка дискових
водовідділювачів.
. Рама водовідділювача перед
бурякомийкою повинна мати регульований підйом хвостовій частині на висоту 150 -
300 мм (залежно від обсягу надходить буряководяної суміші). Підйом здійснюють
гвинтами або підкладками.
. Горизонтальний лоток гідравлічного
транспортера над дисковим водовідділювачами закінчується на рівні осьової лінії
першого валу.
. Бічні стінки водовідділювача
повинні мати висоту, яка виключає розбризкування води і потрапляння
коренеплодів в зазори між ними і дисками.
. Для подовження терміну служби
ланцюгів і зірочок дискового водовідділювача рекомендується обладнати його
закритим масляним картером з горизонтальним роз'ємом.
. Для більш повного відділення води
і домішок водовідділювач до бурякомийки повинен мати дванадцять валків, а після
бурякомийки - шість або вісім валків. Частота обертання валків 80-105 об./хв.
. При складанні дискового
водовідділювача необхідно підтримувати однакові зазори між дисками: бічні - 6
мм, торцеві - 7 мм.
. Над водовідділювачами перед
бурякомийками рекомендується для попереднього відмивання буряка встановити два
соплоаппарата, що формують поперечно потоку буряків плоскі струменя освітленої
води під тиском 1,0 МПа і спрямовані на 5-й і 9-й валки під кутом відповідно 75
і 90°. На соплоаппарати водовідділювача перед бурякомийкою подають освітлену
транспортерно-мийну воду в кількості 50% до маси буряка, а на соплоаппарат
після бурякомийки - чисту воду в кількості 30% до маси буряка.
. Після третього від кінця валка
дискового водовідділювача, встановленого після бурякомийки, рекомендується
змонтувати два ряди бризгалок (у двох трубах діаметром 50 мм розташовані отвори
діаметром 3 - 4 мм, з кроком 20-25 мм) для обприскування буряка 1-процентним
розчином хлорованої води.
. Для додаткового відділення легких
домішок від буряка під останнім валком дискового водовідділювача доцільно
встановити гладкий металевий ролик діаметром 200-250 мм, що обертається в
напрямку, протилежному обертанню дисків. Ролик встановлюють так, щоб його вісь
розташовувалася горизонтально осі останнього валка водовідділювача, на відстані,
рівному радіусу дисків, а просвіт між роликом і дисками останнього валка склав
15-20 мм.
При додатковому відділенні легких
домішок на пересипанню буряка з дискового водовідділювача після бурякомийки
спрямованим потоком стисненого повітря додатковий гладкий ролик слід
встановлювати з просвітом між роликом і дисками останнього валка 200 - 250 мм.
. Відвідний лоток для буряка після
водовідділювача розміщують під кутом не менше 30° до горизонту. Початок лотка
розташовують під віссю додаткового гладкого ролика або останнього вала з
дисками.
. Для запобігання забивання бункера
під водовідділювачами легкими домішками і буряком аси, рекомендується
виконувати днище бункера з ухилом від першого до останнього по ходу руху буряка
валку.
. З обох сторін водовідділювача
обладнають майданчики для його обслуговування. Правила експлуатації. Перед
пуском провертають дискові валки водовідділювача вручну не менше ніж на один
оборот, потім включають двигун і оглядають водовідділювач при роботі на
"холостому" ходу (без подачі на нього води). Зазори між суміжними
дисками встановлюють шляхом зміщення дисків уздовж осі вала і фіксацією їх
бічними регулювальними гайками. Зазор між суміжними валами встановлюють
становищем підшипників на рамі водовідділювача. На соплоаппарати перед
бурякомийкою подають освітлену воду, очищену від механічних зважених часток.
.2 Технологічний процес монтажу
обладнання на місці експлуатації
Перед монтажем проводять ревізію
вузлів водовідділювача. Уважно оглядають стан гумових дисків, розкривають корпусу
шарикопідшипників, перевіряють стан підшипників, зірочок і приводних ланцюгів.
Заливають масло в редуктор, збирають підшипники, заповнюючи корпусу
консистентним мастилом. Встановлюють водовідділювач на передбачене проектом
місце. Різниця висот між дном жолоба гідротранспортера і верхньою кромкою
дисків не повинна бути більше 400 мм. Виготовляють лоток, направляючий вловлені
домішки і відокремлену воду на класифікацію. Нахил лотка повинен бути не менше
25 мм на 1 м довжини. Монтують пристрій для ополіскування, що забезпечує
отримання водяних струменів під тиском 1-1,2 МПа.
Змонтований водовідділювач
випробують вхолосту, закривши перед цим кожухом клиннопасову передачу і
заповнивши маслом ванну приводних зірочок.
При налагодження роботи
водовідділювача слід мати на увазі, що при його установці до бурякомийки
частота обертання дисків повинна бути менше, ніж при установці його після
бурякомийки. У першому випадку її приймають 1,41 с-1 (85 об/хв), у
другому - 1,78 с-1 (108 об/хв).
Потрібно мати на увазі, що за
місцевими умовами швидкість надходження буряководяної суміші з
гідротранспортері на водовідділювачі буває різна. Необхідно, щоб частота
обертання дисків і їх окружна швидкість не були меншими швидкості буряководяної
суміші, а дещо перевищували її. Необхідна частота обертання досягається зміною
діаметра шківа клинопасової передачі на редукторі.
При наборі дисків на вали стежать,
щоб в ряду западини і виступи були на одній лінії. Якщо диски виготовлені з
виступаючим зубом, який очищає зазори між дисками, то виступи на валу
встановлюють в ряд. При складанні валів на наступних валах вони повинні бути
зміщені на 30°.
Водовідділювач, каменевловлювач і
соломоуловлювач встановлюють в одну лінію з розривом для заспокоєння потоку
суміші. При монтажі водовідділювача в транспортній галереї після підйому буряка
довжина гідротранспортера від вихідного отвору нагнітального патрубка
буряконасоса до водовідділювача повинна бути не менше 10 м. Водовідділювач
розташовують на прямій ділянці гідротранспортера перед бурякомийкою.
Для установки водовідділювача
виготовляється опорна металоконструкція з гнутих профілей швелерної сталі, до
якої корпус вловлювача кріпиться болтами, що полегшує її демонтаж при
необхідності заміни.
Монтаж водовідділювача здійснюють за
допомогою кранбалкою в зібраному вигляді.
.3 Технологічний процес ремонту
обладнання
Після закінчення сезону виробництва
цукру, водовідділювач очищують від домішок, миють і вживають заходів до
запобігання корозії деталей.
В ремонтний період основну увагу
звертають на відновлення працездатності дисків, замінюючи зношені та виконуючи
вимоги про правильність установки їх на валах.
Водовідділювач успішно працює, якщо
зазор між дисками не перевищує 10 мм; виходячи з цього, їх вибраковують. Після
набору валів дисками встановлюють на місце вали в зборі і регулюють положення
підшипників так, щоб осі валів були взаємно паралельні і відсутнє заклинювання
дисків.Шарикопідшипники, зірочки, ролико-втулкові ланцюг і деталі клино-пасової
передачі оглядають з метою виявлення зношених. Перевіряють надійність кріплення
всіх вузлів і деталей.
Приводний редуктор і електродвигун
ремонтують у встановленому порядку. Оглядають і перевіряють контур заземлення
металевої конструкції і відновлюють огороджувальні пристрої
В процесі експлуатації
водовідділювач піддається інтенсивному зносу в результаті тертя об стінки і дно
коренів буряка, піску і інших абразивних частинок, що містяться в
транспортерно-мийній воді.
Для забезпечення нормальної роботи
водовідділювача необхідно щодекади перевіряти стан вузлів, підшипників валу,
проводити підтяжку кріпильних деталей, перевіряти систему мастила.
У виробничий сезон після 60 діб
роботи необхідна зупинка водовідділювача на 3-4 год. для проведення поточного
ремонту:
розбирання валів з дисками, очищення
вузлів і деталей від мастила;
відновлення і різьблення кріпильних
деталей та їх підтяжки.
Ці ж роботи виконуються і в період
середнього ремонту. Крім того, здійснюється фарбування.
Після двох сезонів роботи необхідно
проводити капітальний ремонт водовідділювача з виконанням всіх вище перелічених
робіт, а також з заміною всіх підшипників, пружин, вісей, ремонтом
мотор-редуктора, заміною зношених деталей і т.д.
конструкційний
технологічний монтаж водовідділювач
4. РОЗРАХУНОКОВА ЧАСТИНА
.1 Розрахунок потужності та
конструктивних елементів обладнання
Продуктивність дискового
водовідділювача розраховується за формулою:
(4.1.1)
де: b = 0,940 м - ширина
жолоба водовідділювача;= 0,06 м - висота шару буряків;= 0,8 м/с- швидкість
переміщення буряків, м/с;
γ = 0,650
т/м.куб. - об’ємна маса буряків;
φ = 0,6 -
коефіцієнт заповнення з урахуванням нерівномірності подачі буряків;
Підставляємо данні в формулу
(4.1.1) отримаємо
Довжина робочої поверхні
водовідділювача l= 2,3м. Тоді час перебування буряку на водовідділювачі:
(4.1.2)
Для приводу водовідділювача
підбираємо електродвигун АО2-41-6, потужність якого Р=3 кВт, частота обертання
ротора nдв = 955 об/хв.
Частота обертання валів
водовідділювача nвал= 85 об/хв.
Загальне передаточне відношення
приводу:
= nдв/nвал
= 955/85= 11,2 (4.1.3)
Підбираємо двохступеневий
редуктор Ц2УН-160 передаточне число якого uред= 10
Тоді передаточне число
пасової передачі:
п=
u/uред = 11,2/10= 1,12 (4.1.3)
4.2
Розрахунки елементів такелажних пристроїв для монтажу вузлів обладнання
Під такелажними роботами
розуміють горизонтальні і вертикальні переміщення обладнання і деталей за
допомогою спеціальних вантажопідйомних механізмів і пристроїв. Залежно від виду
обладнання такелажні роботи складають від 30 до 60% об'єму монтажних робіт.
Тому механізація робіт такелажів є найважливішою умовою підвищення
продуктивності праці при ремонті і монтажі, скорочення витрати робочої сили,
значного прискорення робіт і зниження їх вартості.
Для розрахунку такелажного
оснащення необхідно вказати кількість строп графічно або аналітично, визначити
максимальні зусилля, які діють в елементах такелажного оснащення.
До такелажного оснащення
відносяться крани всіх видів, лебідки, талі, домкрати, блоки, крюки та ін.
Для піднімання водовідділювача
використовують канати з границею міцності на розтяг 140-180 МПа. Одною із
основних характеристик каната є розривне зусилля. Канати вибираються з
урахуванням коефіцієнту запасу міцності. Коефіцієнту запасу міцності стропи для
піднімання обладнання під час монтажу технологічного обладнання k = 6.
Довжина строп визначається за
формулою:
(4.2.1)
де А = 2000мм - відстань між точками
строповки водовідділювача.
α = 900
- кут між стропами.
Приймаємо довжину стропи l =
300 мм
Рисунок 4.2.1 Схема строповки
водовідділювача
Визначаємо розривне зусилля в
одній стропі по формулі:
(4.2.2)
де: Q = m *g =2000*9,81
=19620 Н =19кН - вага водовідділювача
Тоді:
Звідси: розривне зусилля з
урахуванням коефіцієнту запасу міцності
(4.2.3)
де k = 6, коефіцієнт запасу міцності
По таблиці канатів обираємо
канат
по ГОСТ
2688-80, в якого розривне зусилля
маркувальна група 170 МПа
При визначенні максимального
натягу каната необхідно врахувати навантаження від крюкової підвіски:

(4.2.4)
Максимальний натяг в одній із
гілок каната, що набігає на барабан визначається за формулою:
(4.2.5)
ККД поліспаста
=0,98;
-число робочих ділянок на барабані
=2;
- кратність поліспаста
=2;
Розривне зусилля канату з
врахуванням коефіцієнту запасу міцності визначаємо за формулою:

(4.2.6)
По одержаному розривному
зусиллю вибираємо канат по ГОСТу 2688-80 діаметром d=15,0 мм, маркування групи
канату 170 МПа розривне зусилля 
4.3 Розрахунки балок, колон та
фундаментів для монтажу обладнання
Розрахункова схема балок для
встановлення водовідділювача ВДМ-15. Розрахункова схема
Рисунок 4.3.1 Схема встановлення
водовідділювача на балки
Рисунок 4.3.2 Схема розташування
анкерних болтів
Визначаємо навантаження на балку АБ
від водовідділювача ВДМ-15 масою m = 1875 кг = 1,875тон.
Вага підігрівача Q = m *g =1,875
*9,81 = 1,84 кН.
Водовідділювач встановлений на
металевій рамі, яка опирається на балки в чотирьох точках. Навантаження на
кожну точку опори:
F = Q/4 = 1,84 /4 = 0,46 кН
Необхідно підібрати номер швелера
для статично визначеної балки АВ.
1. Обчислюємо реакції
опор
, так як
зовнішнє навантаження розташовано симетрично, то
;
Будуємо епюри поперечних сил
та згинаючих моментів. QА = RА = 0,46 кН;
Е лів.
= RА = 0,46 кНЕ прав. = RА - F =
0,46 - 0,46 = 0 кНК лів. = RА - F = 0,46 - 0,46 = 0 кНК
прав. = RА - F - F = 0,46 - 0,46 - 0,46 = - 0,46 кНБ
= - RБ = - 0,46 кН;
Рисунок 4.3.3 Епюри
поперечних сил та згинаючих моментів балки АБ
МА = МБ
= 0Е = RА * 1,96 =0,46 * 1,96 = 0,9 кН*мК = RА
* (1,96+2,08) - F * 2,08 = 0,46 * (1,96+2,08) - 0,46 * 2,08 = 0,9
кН*м= MЕ = 0,9
кН*м.
Необхідний момент опору
поперечного перерізу балки АБ
Wx = Mmax/[σ] = 0,9
* 106/150 = 6000мм3 = 6 см3
Враховуючи можливі додаткові
навантаження беремо швелер по ГОСТ 8240-97 №10У, для якої Wx = 34,8 см3
5 ЗАХОДИ З ОХОРОНИ ПРАЦІ ТА
НАВКОЛИШНЬОГО ПРИРОДНОГО СЕРЕДОВИЩА
Процеси мийки
буряків і підготування до сокодобування повинні проводитись в опалюваних
приміщеннях, обладнаних припливно-витяжною вентиляцією.
Ланцюгова передача
водовідділювача повинна укомплектовуватись огородженням з люками, закритими
кришками.
Електроустаткування
водовід дільників повинне відповідати вимогам особливо сирих приміщень:
електродвигуни зі ступенем захисту не нижче УР за ГОСТ 14254-80, апаратура
ланцюгів управління напругою не більше 42В.
Водовідділювачі
перед мийкою розташовують так, щоб останній ряд водовідділювача знаходився над
мийкою.
Якщо від
водовідділювача буряк в мийку поступає за допомогою лотка, то слід у останнього
ряду дисків розміщувати прутковий відсікач, який очистить простір між дисками
від корінців і домішок і буде перешкоджувати затягуванню буряка останнім рядом
дисків під водовідділювач. Щоб уникнути відхилень на експлуатаційні якості і
зношування деталей необхідно дотримуватися зазорів між дисками, зазор між
суміжними валами.
Прорізи у місці
входу гідравлічного транспортера в приміщення мийки, а також у місці виходу
транспортера вилучення відходів необхідно обладнати шлюзами, гумовими
фартухами, які перешкоджають проникненню холодного зовнішнього повітря у
приміщення. Мийне відділення потрібно обладнати каналізацією, що забезпечує
відведення всіх стічних вод. Для відведення води безпосередньо від мийок
повинні бути стічні канави, які закриваються зверху закріпленою решіткою.
Вилучення каміння,
піску, гички, соломи та інших домішок із мийного відділення повинно бути механізоване.
Каменеуловлювачі і піскоуловлювачі бурякомийок треба обладнати дистанційним
управлінням.
Уловлювання, мийка,
сортування та вилучення хвостиків і уламків повинні бути механізовані.
Перед
бурякоелеваторами потрібно установлювати водовідділювачі або інші пристрої, які
забезпечують повне відділення води від буряків. Мийне відділення потрібно
обладнати пультом дистанційного управління приводами всього устаткування і
пульсуючими (регулюючими) шиберами тракту подачі. Пульт дистанційного
управління - робоче місце оператора мийного відділення - потрібно розташувати
на площадці з максимальним оглядом устаткування.
Мийне відділення
потрібно обладнати світловою або звуковою сигналізацією з бурячною, станцією
піднімання буряків і бурякорізками.
Захист навколишнього
середовища. З метою вирішення проблем захисту
навколишнього природного середовища на кожному цукровому заводі повинна бути
створена служба охорони природи. В своїй діяльності служба охорони природи
повинна керуватися нормативними актами, зазначеними вище та посадовими
інструкціями.
Кожне підприємство
повинно мати "Екологічний паспорт цукрового заводу ", складений у
відповідності з ГОСТ 17.0.0.04-90.
Діяльність цукрових
заводів в галузі захисту навколишнього природного середовища повинна
регламентуватися вимогами Закону України «Про охорону навколишнього природного
середовища "ГОСТ 17.23.02-88, СН 245-71», "Санитарных норм
проектирования промышленных предприятий", "Правил охраны
поверхностных вод от загрязнения сточными водами".
Екологічна безпека
при експлуатації об’єктів водопостачання, каналізації, очисних та інших споруд
водного господарства на цукрових заводах повинна забезпечуватися відповідно до
вимог "Інструкції з питань водного господарства цукрових заводів".
На кожному
підприємстві повинні бути розроблені нормативи гранично допустимих викидів
забруднюючих речовин в атмосферу.
Заходи з досягнення
нормативів гранично допустимих викидів підлягають включенню в перспективні та
річні плани економічного та соціального розвитку підприємства. Підприємство,
одержавши повідомлення про затвердження проекту нормативів гранично допустимих
викидів, повинно одержати в регіональній інспекції з охорони атмосферного
повітря дозвіл на викид забруднюючих речовин в атмосферу.
Встановлені
нормативи гранично допустимих викидів повинні переглядатися не менше одного
разу у п'ять років. При необхідності, по сумісному рішенню місцевих рад та
керівних органів з захисту атмосферного повітря, а також Мінздраву, нормативи
гранично допустимих викидів можуть бути переглянуті до закінчення цього
терміну.
Підприємства
незалежно від форм власності повинні забезпечити:
· проведення
санітарно-технічного обстеження приміщень та об'єктів;
· санітарно-хімічний
контроль гранично допустимих викидів та промстоків в навколишнє середовище. Рівнів
шкідливого впливу фізичних та біологічних факторів;
· безпечне
зберігання та утилізацію шкідливих відходів виробництва.
На підприємствах
мають бути опрацьовані поточний та перспективний плани раціонального і
бережливого використання природних ресурсів.
Для додержання
екологічних вимог при використанні природних ресурсів підприємства повинні
впроваджувати:
· нові
маловідходні, енерго- і ресурсозберігаючі технології;
· заходи
щодо бережливого використання води, земельних ділянок, палива;
· заходи
по хімічному та біологічному очищенню води, які забезпечують захист
навколишнього природного середовища та безпеку здоров'я населення;
· обладнання
з підвищеною герметизацією, аспірацією та покриттям, які забезпечують
мінімальне виділення шкідливих речовин в навколишнє середовище;
· вентиляційні
та газоочисні установки, які забезпечують гранично допустимі концентрації
шкідливих викидів в атмосферу;
· обладнання,
споруди та пристосування для об'єктів очищення промстоків, які забезпечують
гранично допустиму концентрацію згідно з санітарними нормами;
· очисне
обладнання та пристосування для утилізації забруднених речовин і переробки
відходів;
· прилади
для контролю за кількістю та складом забруднюючих речовин і характеристиками
шкідливих факторів.
Підприємства зобов'язані
забезпечити екологічно безпечне виробництво, зберігання, транспортування,
використання, знищення, знешкодження і захоронения мікроорганізмів, інших
біологічно активних речовин та предметів біотехнології, установлювати ГДОВ і
виконувати заходи, щодо попередження та ліквідації наслідків шкідливого впливу
біологічних факторів на навколишнє середовище та здоров'я людей.
Промислові стічні
води цукрових заводів різні за своїми фізичними властивостями, хімічним складом
і ступенем забруднення необхідно розрізняти за трьома категоріями.
Води першої і
другої категорії після відповідного очищення використовуються в системах
повторного і оборотного водопостачання.
В залежності від
типу схеми водопостачання і каналізації на заводі перелік компонентів стічних
вод може змішуватись. До стічних вод третьої категорії відносяться також
побутові стічні води, які складаються в суміші стоків головного корпусу
цукрового заводу, ТЕЦ, промплощадки і робітничого селища.
Скиди стічних вод
третьої категорії цукрових заводів у водоймища громадського користування, а
також у заводські ставки дозволяється тільки після повного їх очищення на
спорудах відповідно до складу окремих стоків.
Підприємства
повинні забезпечити добовий лабораторний контроль ефективності очистки
виробничих і побутових стічних вод.
6. ПРОПОЗИЦІЇ ПО МОДЕРНІЗАЦІЇ
ОБЛАДНАННЯ
Водовідділювач встановлюють до та
після бурякомийки. Для того щоб транспортерно-миюча вода не попадала в корпус
бурякомийки рекомендується піднімати задню частину водовідділювача.
Для кращого відділення легких
домішок (соломи, гички) пропонується встановити на водовідділювач додатковий
валок який обертається в зворотному напрямі. Запропонований пристрій дає
можливість очистити буряко-водяну суміш від легких домішок, зменшити
забрудненість буряку.
ВИСНОВКИ
У курсовому
проаналізовано наявні конструкції існуючих водовідділювачів, приведені
рекомендації по підбору конструкційних матеріалів, приведені рекомендації по
монтажу, ремонту та експлуатації водовідділювачів.
В розрахунковій
частині розрахована продуктивність водовідділювача, розраховані та підібрані
балки для монтажу обладнання, елементи такелажних пристроїв.
Приводяться
пропозиції по модернізації обладнання.
СПИСОК ВИКОРИСТАНОЇ ЛІТЕРАТУРИ
1. Гребенюк
С.М. Технологическое оборудование сахарных заводов. 2-е изд., перераб. и доп.
М.: Легкая и пищевая пром-ность, 1983,- 520 с.
2. Справочник
по технологическому оборудованию сахарных заводов. В.Г. Белик, С.А. Зозуля,
Б.Н. Жарик и др. - К.: Техника, 1982.-304 с.
3.
Колесник Б.Г., Лысиков В.П., Парходько А.П. Справочник механіка сахарного
завода.- М: Лег. и пищ. пром-ность, 1983 - 246 с.
.
Мирончик В.Г., Лагода В.А., Пушанко М.М. Вибір та розрахунок обладнання
цукробурякових заводів.- К.: УДУХТ, 1999.- 60 с.
.
Инструкция по ведению технологического процесса свеклосахарного производства.-
М,1985.- 372 с