Расчет режимов резания металла
Содержание
Задание 1.
Расчет режима резания при точении аналитическим способом
.1 Выполнение
эскиза обработки
.2 Выбор
режущего инструмента
.3 Назначение
режимов резания
Задание 2.
Назначение режима резания при сверлении, зенкеровании и развертывании
.1 Выполняем
эскиз обработки
.2 Выбор
инструмента
.3 Выбор
режима резания
Задание 3.
Расчет режима резания при фрезеровании
.1 Выполняем
эскиз обработки
.2 Выбор
инструмента
.3 Выбор
режима резания
Список
литературы
Задание 1. Расчет режима резания при точении аналитическим способом
Исходные данные:
станок - токарно-винторезный 16К20
деталь - вал;
операция - подрезка торца;
обрабатываемый материал - Сталь Ст3; σв = 600 МПа
вид заготовки - обработанная;
шероховатость обработанной поверхности Rа = 12,5 мкм;
диаметр - D= 90 мм;
крепление заготовки - патрон трехкулачковый ГОСТ 2675-80.
.1 Выполнение эскиза обработки
Рисунок 1.1 - Эскиз обработки
1.2 Выбор режущего инструмента
Для подрезания торца вала из стали Ст3 выбираем резец отрезной правый из
быстрорежущей стали Р6М5 по ГОСТ 18874-73. Геометрические параметры резца: φ
= 90° α
= 10° γ
= 15° λ
= 1º по ГОСТ
18874-73.
.3 Назначение режимов резания
Глубина резания
Учитывая исходные данные - поверхность предварительно обработанная и
требуемая шероховатость поверхности Rа = 12,5 мкм, достаточно одного чернового
прохода, с глубиной резания t = 5 мм (исходные данные).
Назначаем подачу
Для черновой обработки при отрезании детали из конструкционной стали и
диаметре от 60 до 100 мм, назначают подачу 0,16-0,23 мм/об [1, табл. 15, стр.
268]. Учитывая паспортные данные станка 16К20 [2, стр. 421] принимаем S = 0,2
мм/об.
Скорость резания рассчитывается по формуле:
резание точение сверление фрезерование
м/мин, (1.1)
где Т - стойкость инструмента, мин. Значение стойкости при
одноинструментальной обработке - 30-60 мин, принимаем Т=50 мин [1, стр. 268];
Сv, Kv - составляющие коэффициенты; значения коэффициента СV и
показателей степени x, y и m выбираем по [1, табл. 17, стр. 269]: учитывая что
материал режущей части - быстрорежущая сталь и вид обработки - отрезание то СV
= 23,7; x = 0,15; y = 0,66; m = 0,25. t - глубина резания, мм;- подача, мм/об;
- произведение поправочных коэффициентов, учитывающих
условия обработки, их рассчитываем по формуле:
, (1.2)
где KMv - коэффициент, учитывающий влияние материала заготовки;-
коэффициент, учитывающий состояние поверхности заготовки;- коэффициент,
учитывающий материал инструмента;
Kφv - коэффициент, учитывающий главный угол
в плане резца;- коэффициент, учитывающий радиус при вершине резца.
=1,0;
=1,0; [1, табл. 5,6, стр. 263];
=0,7;
=0,94 [1, табл. 18, стр. 271]
(1.3)
где Кг - коэффициент, характеризующий группу стали по обрабатываемости;
п - показатель степени, Кг = 1,0; п = 1,75 [1, табл. 2, стр. 262]
Тогда общий поправочный коэффициент
будет равен:
м/мин
Частота вращения шпинделя рассчитывается по формуле:
(1.4)
об/мин.
Принимаем ближайшее меньшее по паспорту станка nв = 63 об/мин.
Пересчитываем V по принятому nв
(1.5)
= 17,8 м/мин.
Рассчитываем силы резания по формуле:
, кН (1.6)
где Cp - коэффициент, учитывающий условия обработки;, y, n - показатели
степени;
Кр - поправочный коэффициент, учитывающий фактические условия резания.
Поправочный коэффициент рассчитываем по формуле:
Кр = КМ · Кφ · Кγ · Кλ · Кr (1.7)
где КМ - коэффициент учитывающий обрабатываемый материал, Кφ
- коэффициент
учитывающий главный угол в плане;
Кγ
- коэффициент
учитывающий передний угол;
Кλ
- коэффициент
учитывающий угол наклона главного лезвия;
Кr - коэффициент учитывающий радиус при вершине.
(1.8)
где n - показатель степени n = 0,35 [1, табл. 9, стр. 264];

для тангенциальной силы Pz - Кφр = 1,08; Кγр = 1,15; Кλр = 1,0; Кr = 0,93.
для радиальной силы Py - Кφр = 0,44; Кγр = 1,6; Кλр = 1,0; Кr = 0,82.
для осевой силы Px - Кφр = 1,82; Кγр = 1,7; Кλр = 1,0; Кr = 1,0.
КрZ = 0,93 · 1,08 · 1,15 · 1,0 · 0,93 = 1,07
КрY = 0,93 · 0,44 · 1,6 · 1,0 · 0,82 = 0,54
КрX = 0,93 · 1,82 · 1,7 · 1,0 · 1,0 = 2,88
Значения коэффициента Ср и показателей степени x, y и n выбираем по [1,
табл. 22, стр. 273]:
При отрезании и подрезании детали согласно справочнику [1, стр. 273]
учитывается лишь тангенциальная сила резания.
для Pz - Ср = 247; x =1,0; y = 1,0; n = 0.
.. = 10· 247· 51,0 ·0,21,0· 17,80· 1,07 = 2643 Н.
Рассчитываем мощность резания по формуле:
(1.9)
Мощность на шпинделе станка Nэ=Nд×η.
Nд = 10 кВт; η = 0,8 (по паспорту станка).э = 10×0,8 = 8 кВт.
Так как Nэ= 8 кВт > N=0,8 кВт, то обработка возможна.
Основное технологическое (машинное) время - время, в течение которого
происходит снятие сружки без непосредственного участия рабочего.
, мин (1.10)
где L - путь инструмента в направлении рабочей подачи, мм;- количество
проходов.
Путь инструмента рассчитываем по формуле:
L = l + l1 + l2, мм (1.11)
где l - размер обрабатываемой поверхности в направлении подачи;- величина
врезания, мм; l1 = 2 - 4 мм [3, карта 65, стр. 165];- величина перебега, мм, l2
= 2 - 4 мм [3, карта 65, стр. 165].= 45 + 2 + 2 = 49 мм.
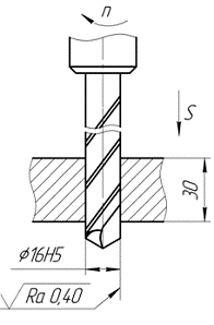
Задание 2. Назначение режима резания при сверлении, зенкеровании и
развертывании
Исходные данные:
обрабатываемый материал - Сталь Ст5; σв = 600 МПа;
диаметр отверстия 16Н5;
шероховатость обработанной поверхности Rа = 0,4 мкм;
длина отверстия l = 30 мм.
станок вертикально - сверлильный 2Н135
.1 Выполняем эскиз обработки
Рисунок 2.1 - Эскиз обработки
.2 Выбор инструмента
Согласно исходных данных, для получения необходимых параметров
обрабатываемого отверстия операцию необходимо разбить на три перехода:
сверление, зенкерование и развертывание.
Диаметральный припуск на развертывание (согласно приложению 3
методических указаний) равен 0,05 мм, припуск на зенкерование - 0,7 мм.
С учетом припуска для сверления стали Ст5 выбираем сверло D=14,5 мм из
стали Р6М5, 2φ=118°; 2φ0=70°; для зенкерования - цельный зенкер D
=15,9 мм из стали Р18; φ =45°; αр=10°; для развертывания - цельную
развертку D=16 мм, φ =5° из стали Р18 [3].
.3 Выбор режима резания
Расчет режимов резания выполним в традиционной последовательности с
использованием данных работы [2].
Первый переход.
Выбор подачи.
Для сверления стали Ст5 сверлом диаметром 14,5 мм выбираем подачу S=0,36÷0,43 мм/об. Так как длина сверления
меньше чем 3·D, то поправочный коэффициент можно не учитывать [1, табл. 25,
стр. 275].
По паспорту станка устанавливаем ближайшую подачу S=0,4 мм/об [2, стр.
422].
Выбор скорости и числа оборотов.
(2.1)
где СV = 9,8 - коэффициент, учитывающий условия обработки; m = 0,2; q =
0,4; y = 0,5 - показатели степени; [1, табл. 28, стр. 278];
СОЖ - 5% эмульсия из эмульсола Укринол-1 ГОСТ 1975-75.
T = 45 - период стойкости инструмента, мин. [1, табл. 30, стр. 279];- обобщенный
поправочный коэффициент, учитывающий изменения условий обработки по отношению к
табличным:
, (2.2)
где KMv - коэффициент, учитывающий влияние материала заготовки;
Коэффициент Км определяем по формуле (1.3)
Кг = 1,0; п = 0,9 [1, табл. 2, стр. 262]
Kuv = 1,0 - коэффициент, учитывающий материал инструмента [1, табл. 6,
стр. 263];= 1,0 - коэффициент, учитывающий глубину сверления.
м/мин.
При настройке станка необходимо установить частоту вращения шпинделя,
обеспечивающую расчетную скорость резания по формуле (1.4):
По паспорту станка принимаем n = 500 об/мин.
Фактическая скорость резания по формуле (1.5):
Рассчитываем крутящий момент по формуле [3] с. 220:
Мкр = 31 · Dс2 · s0,8 · К1 · К2 · К3, (2.3)
К1 = 0,88; К2 = 1,0; К3 = 0,87 [3, карта 8, стр. 242-243];
Мкр = 31 · 152 · 0,40,8 · 0,88 · 1,0 · 0,87 = 26 Н·м.
Рассчитываем осевое усилие по формуле [3] с. 220:
Р = 61,2 · Dс · s0,7 · К1 · К2 · К3, (2.4)
где Dс - диаметр сверла, мм;
К1 - коэффициент, учитывающий обрабатываемый материал;
К2 - коэффициент, учитывающий форму заточки сверла;
К1 = 0,88; К2 = 1,0; К3 = 0,9 [3, карта 8, стр. 242-243].
Р = 61,2 · 15 · 0,40,7 · 0,88 · 1,0 · 0,9 = 382 кг ≈ 3820 Н.
По паспорту станка наибольшее усилие, допускаемое механизмом подачи,
равно 15000 Н.
Проверка выбранного режима по осевому усилию и мощности.
Рассчитываем мощность резания по формуле [3] с. 220:
(2.5)
По паспорту станка мощность на шпинделеэ = Nд× η = 4,5 × 0,8 = 3,6 кВт; Nэ= 3,6 > N =1,3
кВт.
Следовательно, станок не лимитирует выбранного режима резания.
Второй переход.
Глубина резания, мм:
Выбор подачи. Для зенкерования отверстия в стали зенкером диаметром 15,9
мм при последующей обработке отверстия одной разверткой рекомендуется подача
S=0,6÷0,7 мм/об.
Учитываем поправочный коэффициент Kos = 0,7=0,6 × 0,7=0,42
Ближайшая подача по паспорту станка S=0,4 мм/об.
Рассчитываем скорость резания:
СV = 16,3; m = 0,3 q = 0,3; y = 0,5 х = 0,2; [1, табл. 29, стр. 279];
СОЖ - 5% эмульсия из эмульсола Укринол-1 ГОСТ 1975-75.
T = 30 - период стойкости инструмента, мин. [1, табл. 30, стр. 280];
Частота вращения шпинделя, об/мин:
По паспорту станка принимаем n = 500 об/мин.
Фактическая скорость резания равна:
Крутящий момент при зенкеровании определяем по формуле:
(2.6)
Н·м
где СМ=0,09; q=1,0; y=0,8; х=0,9; [1, табл. 32, стр. 281];
Осевая сила при зенкеровании, Н:
. (2.7)
где Ср=67; y = 0,65; х =1,2; [1, табл. 32, стр. 281];
Н
Мощность резания рассчитывают по формуле, кВт:
кВтэ= 3,6 > N =0,16 кВт
Третий переход.
Глубина резания, мм:
Выбор подачи. Для развертывания отверстия в стали Ст5 механической
разверткой D = 16 мм с чистотой поверхности отверстия Ra = 0,4 мкм
рекомендуется подача S = 1,0 мм/об. Учитываем поправочный коэффициент Kos = 0,7
[1, табл. 27, стр. 278];=1,0 × 0,7= 0,7 об/мин
Ближайшая подача по паспорту станка S=0,8 мм/об.
Рассчитываем скорость резания:
СV = 10,5; m = 0,4 q = 0,3; y = 0,65 х = 0,2; [1, табл. 29, стр. 279];
СОЖ - 5% эмульсия из эмульсола Укринол-1 ГОСТ 1975-75.
T = 40 - период стойкости инструмента, мин. [1, табл. 30, стр. 280];
Частота вращения шпинделя, об/мин:
По паспорту станка принимаем n = 250 об/мин.
Фактическая скорость резания равна:
Проверка выбранного режима по осевому усилию и мощности не производится.
Определение основного (технологического) времени.
Величина врезания и перебега инструментов l1 при работе на проход для
сверла равна 12 мм; для зенкера 5 мм и для развертки 30 мм.
При длине отверстия l=30 мм основное (технологическое) время каждого
перехода равно, мин:
Основное время операции, мин:
= T01 + T02 + T03 = 0,21 + 0,17 + 0,3 = 0,68 мин
Задание 3. Расчет режима резания при фрезеровании
Исходные данные:
обрабатываемый материал - Серый чугун СЧ 20; НВ 200
тип обработки - фрезеровать паз;
шероховатость обработанной поверхности Rа = 6,3 мкм;
длина фрезерования l = 75 мм.
станок консольно-фрезерный 6Р82Г
.1 Выполняем эскиз обработки
Рисунок 3.1 - Эскиз обработки
.2 Выбор инструмента
Для получистового фрезерования на консольно-фрезерном станке заготовки из
чугуна выбираем дисковую фрезу с пластинами из твердого сплава ВК6 [1],
диаметром D = 80 мм; В = 10 мм z =6 ГОСТ 28437-90.
Глубина резания. Заданный припуск срезаем за один проход, но два установа
t=8 мм.
Назначение подачи. Для получения шероховатости Ra=6,3 мкм подача на
оборот S0=0,14÷0,24 мм/об [1, табл. 33, стр. 283];
Тогда подача на зуб фрезы, мм/зуб:
(3.1)
Период стойкости фрезы.
Для фрез торцевых диаметром до 110 мм с пластинками из твердого сплава
применяют период стойкости Т=180 мин [1].
Расчет скорости резания для фрезерования ведется по формуле:
(3.2)
где СV - коэффициент, учитывающий условия обработки;, q, y, x, u, p -
показатели степени;- период стойкости инструмента;- подача на зуб фрезы,
мм/зуб;- обобщенный поправочный коэффициент, учитывающий изменения условий
обработки по отношению к табличным:
, (3.3)
где KMv - коэффициент, учитывающий влияние материала заготовки;-
коэффициент, учитывающий материал инструмента;пv - коэффициент, учитывающий
состояние поверхностного слоя заготовки.
СV = 85; m = 0,15, q= 0,2, y = 0,4, x = 0,5, u= 0,1, p = 0,1 [1, табл.
39, стр. 288]; п = 1,25 [1, стр.
262, табл. 2] Kuv = 1,0; Kпv =1,0 [1, табл. 5, 6, стр. 263];
;
Расчет числа оборотов шпинделя по формуле (1.4):
По паспорту станка принимаем n = 100 об/мин.
Фактическая скорость резания:
Минутную подачу определяем по формуле:
Sм = Sz ·z · n; (3.4)
м = 0,4 ·6 · 100 = 24 мм/мин;
Проверка по мощности станка.
Окружная сила резания при фрезеровании, Н:
, (3.5)
где Cp, q, w, x, y, n - коэффициенты, учитывающие нагрузки при
фрезеровании, определяется по [1, табл. 41 стр. 291]:= 30, q = 0,83, w = 0, x =
0,83, y = 0,65, и = 1,0
Н.
Мощность резания рассчитаем по формуле, кВт:
; (3.6)
кВт.
Мощность на шпинделе станка Nэ=Nд×η.
Nд=7,5 кВт; η=0,8 (по паспорту станка).э=7,5×0,8=6 кВт.
Так как Nэ=6 кВт >N=0,63 кВт, то обработка возможна.
Основное (машинное) время определяем по формуле:
, (3.7)
где l - длина обрабатываемой поверхности, l = 75 мм; l1 - длина врезания
и перебега, l1 = 29 мм по [3, карта 69 с. 449]; l2 - длина на взятие пробной
стружки, l2 = 5 мм.
мин.
Список
литературы
1. Справочник
технолога-машиностроителя. В двух томах. Т. 2. Под ред. А.Г. Косиловой и Р.К.
Мещерякова. - М.: Машиностроение, 1985.
. Нефедов
Н.А., Осипов К.А. Сборник задач и примеров по резанию металлов и режущему
инструменту: Учеб пособие - 5-е изд., перераб. и доп. - М.: Машиностроение,
1990. - 448 с., ил.
. Справочник
нормировщика-машиностроителя: в 2 т. / Под ред. Е.М. Стружестраха. - М.:
ГОСИздат, 1961. - Т.2. - 892 с.