|
Механические свойства «Сталь 45ХН»
(Данные взяты из справочника сталей)
|
|
Состояние
поставки
КП 395
|
Сечение
100 – 300 мм.
|
σ0,2 = 395 МПа
|
KCU = 54 Дж/м2
|
|
σВ = 615 МПа
|
ψ = 40 %
|
НВ = 187 – 229
|
Предназначение материала Сталь 40ХН: – коленчатые валы,
шатуны, шестерни, шпиндели, муфты, болты и другие ответственные детали.
Необходимо: выбрать режущий инструмент, назначить режим резания по
таблицам нормативов, определить основное время.
2.1
Выбор инструмента.
Согласно исходных данных, (заданных по заданию), операция выполняется в
два этапа: сверление, и развёртывание.
Для сверления Сталь 45ХН НВ207 согласно [7] выбираем сверло D = 39,5 мм., из стали
Р18, ГОСТ 10903 – 77 заточенное по методу В.И.
Жирова, 2j
= 118°;
2j 0 = 70°; для развертывания – цельную развертку
D = 40 мм, j = 5° из стали Р18.
Рис. 2.2
Геометрические и конструктивные
элементы сверла
с коническим хвостовиком:
1 –
передняя поверхность лезвия; 2 – главная режущяя кромка;
3 –
вспомогательная режущая кромка; 4 – главная задняя
поверхность
лезвия; 5 – вспомогательная задняя поверхность
лезвия; 6
– вершина лезвия; 7 – крепёжная часть инструмента.
Первый этап:
2.2 Выбор режима резания.
Расчет режимов резания выполним в традиционной последовательности с
использованием данных работы [7].
2.2.1
Выбор
подачи. Для
сверления заготовки НВ
2.2.2
207 сверлом диаметром 39,5 мм.,
выбираем подачу (по таблице 25 стр. 277 [2]),
S = 0,48
¸ 0,58 мм./об.
При сверлении отверстия глубиной l ≤ 3D
поправочный коэффициент КlS = 1 из этого следует:
S = 0,48 ¸ 0,58 мм./об.
По паспорту станка устанавливаем ближайшую подачу к расчетной: –
S = 0,56 мм./об.
2.3
Выбор скорости и числа оборотов.
Исходя из диаметра сверла 39,5 мм. (выбранной по таблице
42 стр. 142 [2]) скорость резания для данного случая V = 21 ¸ 24 м./мин.,
(выбираем по таблице 10 стр. 309 [2] том 1), число оборотов шпинделя вычислим
по формуле:
По теоретически найденой частоте вращения шпинделя (принимают ближайшее
меньшее значение) подберём число оборотов шпинделя существующие по паспорту станка,
оно состовляет nН = 125
об./мин.
Учитывая поправочные коэффициенты на заточку сверла по методу В.И. Жирова
(ЖДП) Кфv = 1,05, на длину сверления (l ≤ 3D), Кlv = 1,0 (таблица 31, стр. 280
[2]) и на механические свойства заготовкм НВ 207 Кмv = 1,196 (Поправочный
коэффициент Кмv, вычислим по формуле взятой из таблицы 1 стр. 261 [2] том 2):
получаем расчетное число оборотов в минуту:
n = nн × Кфv × Кlv × Кмv = 125 × 1,05 × 1,0 × 1,196 = 157 об/мин.
Ближайшее число оборотов по паспорту станка n = 125 об/мин. Тогда фактическая скорость резания
будет равна
2.4
Проверка выбранного режима по осевому усилию и мощности.
Для установленных условий сверления D = 39,5 мм, S = 0,56 мм./об. и
n = 125
об./мин., проведём следующие вычисления:
Крутящий момент, Н·м, и осевую силу, Н, при
сверлении расчитаем по формулам:
где коэффициэнты: (из таблицы 32, стр. 281 [2] том 2)
крутящий момент: – СМ = 0,0345; q = 2,0; у = 0,8
осевой силы: – СР = 68; q = 1,0; у = 0,7
Вычислим требуемую мощность затрачиваемую на обработку заготовки детали по
формуле: (взятой из [2] стр. 280 том 2)
Вычислим мощность на шпинделе Nшп. и сопоставим с затрачиваемой
мощностью на обработку заготовки, Nе.
Nшп. = Nдв. · h = 4,5 · 0,8 = 3,6 кВт.
Из данного расчёта режима резания, мы видим что станок оказался на
пределе мощности, но исходя из запаса прочности станка, данное изделие возможно
изготавливать на данном оборудовании, в крайнем случае придётся заменить
станок на более мощный.
Второй этап: Развёртывание
3.1
Выбор подачи.
Для развертывания отверстия в Стали 45ХН НВ > 200 машинной разверткой D = 40 мм., (со вставными
ножами из быстрорежущей стали
ГОСТ 883 – 80 с коническим хвостовиком, табл 49 стр. 156 [2] том 2), с
чистотой поверхности отверстия Ra = 1,6
мкм. рекомендуется подача S = 1,4
¸ 1,5 мм./об. Ближайшая подача
по паспорту станка S = 1,12
мм./об.
3.2
Выбор скорости резания и числа оборотов.
Для развертывания отверстия диаметром 40 мм. с подачей S = 1,12 мм./об.
рекомендуется число оборотов nн = 105
об./мин. С учетом поправочного коэффициента на обрабатываемый
материал Сталь 40ХН НВ>200 Кмn = 0,88. Тогда:
Скорость резания V,
м./мин., при развёртывания вычислим по формуле:
где: (из таблицы 29 стр. 279 [2] том 2)
СV = 10,5; q = 0,3; х = 0,2 y = 0,65; m = 0,4.
где: (из таблицы 30 Стр. 280 [2] том 2)
Т = 80 мин.
Общий поправочный коэффициент KV, влияющий на скорость резания, определим по формуле:

KмV = 1,196 ; KиV = 1,0 ; KlV = 1,0
Число оборотов определим по формуле:
n = nн × Кмn = 105 × 0,88 = 92 об/мин.
Ближайшее число оборотов по паспорту станка n = 90 об/мин.
Фактическая скорость резания:
4. Определение
основного (технологического) времени.
Величина врезания и перебега инструментов l1 при работе на проход для сверла с
двойной заточкой равна 21 мм.; для развертки 30 мм.
При длине отверстия l = 100 мм., основное
(технологическое) время каждого перехода равно:
Основное время операции:
T0 = t01 + t02 = 1,73 + 1,29 = 3,02 мин.
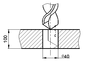
5. Проектирование спирального сверла.
Обоснование использования инструмента.
Спиральное сверло 39,5 предназначено для сверления
сквозного отверстия диаметра 39,5+ мм. на глубину 100
мм. в заготовке детали.
5.1 Обоснование выбора материала
режущей и хвостовой части
сверла.
Для экономии быстрорежущей стали
все сверла с цилиндрическим хвостовиком диаметром более 8 мм и сверла с коническим
хвостовиком более 6 мм изготовляются сварными.
В основном, сверла делают из быстрорежущих сталей. Твердосплавные сверла
делают для обработки конструкционных сталей высокой твердости (45...56
HRC). Исходя из твердости обрабатываемого материала – 207 НВ,
принимаем решение об изготовлении сверла из быстрорежущей стали Р18 ГОСТ
10903 – 77. Крепежную часть сверла изготовим из стали 40Х
(ГОСТ
454
– 74).
5.2 Обоснование выбора геометрических параметров сверла.
Задний угол . Величина заднего угла на сверле зависит от положения
рассматриваемой точки режущего лезвия. Задний угол имеет наибольшую величину у
сердцевины сверла и наименьшую величину – на наружном диаметре. Рекомендуемые
величины заднего угла на наружном диаметре приведены в (2, стр.151, табл.44).
По этим рекомендациям выбираем: .= 8°.
Рис.
5.1 Углы спирального сверла в системе координат
а) –
статической; б) – кинематической.
Передний угол. Также является величиной переменной вдоль режущего лезвия и
зависит, кроме того, от угла наклона винтовых канавок и угла при
вершине 2. Передняя поверхность на сверле не затачивается и величина
переднего угла на чертеже не проставляется.
Угол при вершине сверла. Значение углов 2для свёрл,
используемых для различных обрабатываемых материалов приведены в (2, стр.152,
табл.46). По этим рекомендациям принимаем: 2118°.
Угол наклона винтовых канавок. Угол наклона винтовых канавок
определяет жесткость сверла, величину переднего угла, свободу выхода стружки и
др. Он выбирается в зависимости от обрабатываемого материала и диаметра сверла.
По (6,табл.5) назначаем = 30°.
Угол наклона поперечной кромки. При одном и том же угле
определенному положению задних поверхностей соответствует вполне определенная
величина угла и длина поперечной кромки и поэтому угол служит
до известной степени критерием правильности заточки сверла. По рекомендациям
(2, стр152, табл.46) назначаем: = 45°.
5.3 Расчет и назначение конструктивных размеров
сверла.
Спиральные сверла одного и того же
диаметра в зависимости от серии бывают различной длины. Длина сверла
характеризуется его серией. В связи с тем, что длина рабочей части сверла
определяет его стойкость, жесткость, прочность и виброустойчивость, желательно
во всех случаях выбирать сверло минимальной длины. Серия сверла должна быть
выбрана таким образом, чтобы
lо ГОСТ ≥ lо расч.
Расчетная длина рабочей части сверла lо ,
равна расстоянию от вершины сверла до конца стружечной канавки, может быть
определена по формуле:
lо = lр + lвых
+ lд + lв + lп
+ lк + lф,
где:
lр – длина режущей части сверла lр = 0.3 · dсв
= 0.3 · 39,5 = 11.85 мм.;
lвых – величина выхода сверла из отверстия lвых
= 3 мм.;
lд – толщина детали или глубина сверления, если отверстие
сквозное
lд = 100 мм.;
lв – толщина кондукторной в тулки lв = 0 ;
lп – запас на переточку lп = l · (i
+1), где
l – величина, срезаемая за одну переточку, измеренная
в направлении оси, l = 1 мм.;
i – число переточек i = 40;
lп = 1 · (40 + 1) = 41 мм.;
lк – величина, характеризующая увеличение длины сверла для
возможности свободного выхода стружки при полностью сточенном сверле;
lф – величина, характеризующая уменьшение глубины канавки,
полученной при работе канавочной фрезы:
lк + lф = 1,2
· dсв = 1,2 · 39,5 = 47,4 мм.,
тогда:
l0 = 11,85 + 3 + 100 + 0 + 41
+ 47,4 = 203,25 мм.
В соответствии с ГОСТ 10903 – 77 ("Сверла
спиральные из быстрорежущей стали с коническим хвостовиком") уточняем
значения l0 и общей длины L :
l0 ГОСТ = 200 мм; L = 349 мм.
Положение сварного шва на сверле : lс =
l0 + (2...3) = 203 мм.
Диаметр сердцевины сверла dс выбирается в
зависимости от диаметра сверла и инструментального материала (6, стр.12):
dс = 0,15 · dсв = 0,15 ·
39,5 ≈ 6 мм.
Ширина ленточки fл = (0,45...0,32)
· sqrt(dс) = (0,45…0,32) · 6 = 2,7
мм.
Высота ленточки hл = (0,05...0,025)
· dс = (0,05…0,025 · 6 = 0,3
мм.
Хвостовик сверла выполняется коническим – конус Морзе № 4 АТ8 ГОСТ
2848 – 75 (6, табл.2 и 3).
Центровые отверстия на сверлах изготовляются в соответствии с ГОСТ
14034 – 74 (6, рис.5).
Определение количества переточек.
Общая длина стачивания:
lо = lк – lвых
– Δ – lр,
где:
lвых – величина, характеризующая увеличение длины сверла для
возможности свободного выхода стружки при полностью сточенном сверле;
lр –
длина режущей части сверла lр = 0,3 · dсв
= 0,3 · 39,5 = 11,85 мм.;
lк – длина стружечной
канавки;
D = 17 мм;
lо = 200 – 3 – 17 – 11,85 = 168,15
мм.
Число переточек: n = lo/Dl = 168,15/0,8 = 210
переточек.
Dl – величина стачивания за одну переточку.
6.0
СПИСОК ЛИТЕРАТУРЫ
1.
Аршинов В.А., Алексеев Г.А. Резание металлов и режущий
инструмент. – М.: Машиностроение, 1976.
2.
Справочник технолога-машиностроителя. В двух томах. Т.2. Под ред.
А.Г. Косиловой и Р.К. Мещерякова. – М.: Машиностроение, 1985.
3.
Справочник технолога-машиностроителя. В двух томах. Т.2. Под ред.
А.А. Малова . – М.: Машиностроение, 1972.
4.
Общемашиностроительные нормативы режимов резания для технического
нормирования работ на металлорежущих станках. Часть 1. – М.: Машиностроение,
1967.
5.
Общемашиностроительные нормативы режимов резания для технического
нормирования работ на металлорежущих станках. Часть 2. – М.: Машиностроение,
1967.
6.
Справочник по обработке металлов резанием. Абрамов Ф.Н. и др. – К.:
Техника, 1983.
7.
Справочник нормировщика-машиностроителя: в 2 т./Под ред. Е.М.
Стружестраха. – М.: ГОСИздат, 1961. – Т,2. – 892 с.