Компьютерное сопровождение учебных программ

  • Вид работы:
    Дипломная (ВКР)
  • Предмет:
    Информационное обеспечение, программирование
  • Язык:
    Русский
    ,
    Формат файла:
    MS Word
    1,37 Мб
  • Опубликовано:
    2016-05-26
Вы можете узнать стоимость помощи в написании студенческой работы.
Помощь в написании работы, которую точно примут!

Компьютерное сопровождение учебных программ

УЗБЕКСКОЕ АГЕНТСТВО СВЯЗИ И ИНФОРМАТИЗАЦИИ

ТАШКЕНТСКИЙ УНИВЕРСИТЕТ ИНФОРМАЦИОННЫХ ТЕХНОЛОГИЙ











Выпускная квалификационная работа бакалавра

Компьютерное сопровождение учебных программ


Лян Алексея Эдуардовича







ТАШКЕНТ-2008

Аннотация

В выпускной работе разрабатывается концепция проектирования программ учебных дисциплин, в основу которой положена база знаний дисциплин. База знаний содержит ключевые слова по темам дисциплин, связи между ними, последовательность прохождения тем.

Оглавление

Введение

Глава 1. Обзор области исследования и постановка задачи

.1 Анализ объекта исследования

.2 Цель и постановка задачи

.3 Ведение БД САПР

.4 Описание инфологической модели

.5 Описание концептуальной модели

Глава 2. Проектирование информационной системы

.1 Описание полей базы данных

.2 Программное обеспечение ведения БД

.3 Разработка функциональной части

.4 Программные модули

.5 Реализация системы

Заключение

Литература

Введение

В соответствии с Указом Президента Республики Узбекистан «О дальнейшем развитии компьютеризации и внедрении информационно-коммуникационных технологий», мною была разработана программа по внедрению компьютерных технологий в учебный процесс.

Главной задачей в этом направлении является обозначение и структурирование всех источников учебной информации с постепенным переходом к электронному документообороту.

В связи с этим задача «Компьютерного сопровождения учебных программ» является актуальной.

Проектирование - процесс, заключающийся в преобразовании исходного состояния объекта в окончательное на основе выполнения комплекса работ исследовательского и расчетного характера.

Возможность проектирования различных объектов обусловлено использованием ряда принципов, основными из которых являются декомпозиция и иерархичность описаний объектов.

Проектирование типовых программ по дисциплинам направления информационных и компьютерных технологий должно строиться на основе имеющейся базы знаний дисциплин (темы, ключевые слова, понятия). Таким образом, выявляются связи между дисциплинами позволяющие анализировать последовательность прохождения дисциплин, возможное дублирование тем и занятий.

Компьютерное сопровождение учебных программ - дисциплин, позволила автоматизировать рутинную работу по формированию понятий, ключевых слов и тем связать с уже имеющейся в базе знаний информацией. Задача «Компьютерного сопровождения учебных материалов» - представить в электронном виде все учебные материалы специальности и разместить их в локальной или корпоративных сетях для совместного доступа.

При разработке задачи использовались CASE-технологии, в частности программная оболочка Delphi, позволяющая создавать пользовательские приложения в короткие сроки и эффективно достраивать программные системы в процессе эксплуатации; и инструментальные средства Internet-технологий.

Решение этой задачи особенно актуально для направления «Информатика и Информационные технологии», где учебные материалы постоянно обновляются и перерабатываются, а также существуют тесные логические связи между читаемыми дисциплинами.

Разрабатываемая система представляет особый интерес для преподавателей любых образовательных учреждений занятых разработкой учебных программ и студентов.

Глава 1. Обзор области и постановка задачи

.1 Анализ объекта исследования

Принятие 9 сессией Олий Мажлиса республики Узбекистан закона «Об образовании» и «Национальной программы по подготовке кадров» явилось началом крупномасштабного реформирования всей системы подготовки кадров с учетом проводимых в стране демократических и экономических преобразований. Успешная реализация задач по реформированию системы подготовки кадров, предусматривает в первую очередь своевременную разработку и внедрение нормативных актов, документов, содержащих и обеспечивающих механизмы осуществления реформ, обеспечивающих устойчивое и целенаправленное развитие высшего образования. В целях широкого внедрения современных компьютерных технологий во всех сферах экономики, науки, техники, образования, повышения уровня подготовки специалистов работающих с ПК, Кабинетом Министров от 23 мая 2001 года была принято постановление по разработке Программы развития компьютерных технологий.

Объектом исследования САПР являются типовые программы учебных дисциплин. Данная САПР относится к классу интеллектуальных систем, так как образует пару «человек-компьютер» и работает при неполных источниках знаний и усиливает возможности человека-эксперта.

Учебный процесс в ВУЗе представляет собой совокупность дисциплин логически связанных между собой и перечень видов занятий необходимых для реализации учебного процесса.

Учебный процесс регламентируется Документом «Учебный план».

Согласно «Учебному плану» по каждой дисциплине разрабатывается типовая программа, в которой задаётся объем дисциплины, её цель и задачи и т.п. Рассмотрим типовую программу поподробнее.

Типовая программа является основным документом, на основе которого происходит обучение по каждой дисциплине. Она содержит в себе следующие разделы:

1.    Предисловие.

.1    Цель изучения дисциплины.

1.2     Задачи изучения дисциплины.

.3       Рекомендации по изучению дисциплины.

.4       Необходимые технические средства для выполнения лабораторных работ.

.5       Номер семестра в котором изучается данная дисциплина, количество часов на лекционные и практические занятия, самостоятельные работы.

.6       Общий объем часов

2.    Содержание учебного материала

.1    Курс лекций

2.2     Типовой перечень лабораторных работ

.3       Самостоятельное образование

.4       Самостоятельная работа

3     Информационно-методическое обеспечение

.1    Основная литература

3.2     Дополнительная литература

.3       Технические средства

Разрабатываемая система позволит генерировать типовые программы по любым дисциплинам направления «информатика и информационные технологии» на основе базы знаний всех дисциплин этого направления

.2 Цель и постановка задачи

Разработка системы включает:

·   создание базы данных понятий и ключевых слов;

·   определение связей между ними, отражающих логические связи внутри дисциплины; соотнесение к видам занятий (лекционный материал, практика, лабораторные работы, курсовые проекты, самостоятельная работа);

·   создание удобного интерфейса для преподавателя для обеспечения видимости ключевых слов и понятий БД;

·   создание интерфейса для ввода связей между ключевыми словами в предмете;

·   реализация программы проектирования любой дисциплины на основе тезауруса понятий и ключевых слов предметной области направления дисциплины.

Исходными данными являются вводимые преподавателями знания, включающие в себя следующие пункты:

·   название дисциплины;

·   продолжительность курсов в часах;

·   что должен знать студент, после изучения данной дисциплины;

·   какие навыки студент получит;

·   что он должен уметь использовать;

·   что он должен уметь проектировать;

·   о чем он должен иметь представление;

·   используемая литература.

Также преподаватель должен задать связи ключевых слов в дисциплине. База данных содержит все выше перечисленные поля, а также служебные.

При создании нового предмета преподавателю для начала надо ввести основные понятия, которые он хотел бы иметь в данной дисциплине. Затем программа производит поиск в базе данных на соответствие их другим ключевым словам в разных предметах. Поиск по базе в начале будет осуществляться по названиям тем, а затем по ключевым словам. Если ключевое слово не найдено, то об этом сообщается преподавателю, и затем оно вводится, как тема или ключевое слово, в новый предмет. Ключевые слова и понятия вносятся в новый предмет, и информация о том, откуда они были взяты (эти понятия), вносятся в отдельное поле базы данных “связи с другими предметами”.

По желанию преподавателя база знаний может быть сохранена в общем тезаурусе или нет. Такая система позволит проектировать любые дисциплины по направлению обучения.

Выходными документами является типовая учебная программа, которая должна будет выведена на печать, или просто сохранена в виде физического файла на диске.

Программное и техническое обеспечение.

Программа может эксплуатироваться на IBM совместимом персональном компьютере с тактовой частотой процессора 200 МГц и выше, 16 Мбайтами оперативной памяти.

Минимальный состав аппаратных и программных средств, необходимых для нормального функционирования программы должен включать в себя:

1.  10 Мбайт свободного дискового пространства;

2.       Принтер для распечатки готовых документов;

.         Операционная система Windows 9х или выше;

4.       Microsoft Office 97 и выше, в том числе компоненты:

–          MS Access 97

–        MS Word 97

–        доступ к данным.

.3 Ведение БД САПР

Разработка типовых учебных программ дисциплины включает в себя:

–   создание базы данных понятий и ключевых слов;

–        определение связей между ключевыми словами, отражающие логические связи внутри дисциплины;

–        соотнесение к видам занятий (лекционный материал, практика, лабораторные работы, курсовые проекты, самостоятельная работа);

–        создание учебного интерфейса для преподавателя, для обеспечения видимости ключевых слов и понятий БД;

–        создание интерфейса для ввода связей между ключевыми словами в предмете;

–        реализация программы проектирования любой дисциплины на основе понятий и ключевых слов предметной области направления дисциплины.

Исходными данными являются вводимые пользователем значения, включающими следующие пункты:

–   название дисциплины;

–        продолжительность курса в часах;

–        цель изучения предмета;

–        задачи предмета;

–        что должен будет знать студент после изучения данной дисциплины;

–        какие навыки студент получит;

–        что он будет уметь использовать;

–        что он должен будет научиться проектировать;

–        список используемой литературы;

–        связи ключевых слов в дисциплинах.

Выходными документами является типовая учебная программа, которая должна будет выведена на печать, или просто сохранена в виде физического файла на диске.

1.4 Описание инфологической модели

Основная составная часть информационного обеспечения САПР - банк данных, представляющий собой совокупность средств для централизованного накопления и коллективного использования данных в САПР. Банк данных - это совокупность базы данных и системы управления базой данных.

Проектирование базы данных подразделяется на 3 этапа - концептуальное, логическое и физическое проектирование.

Концептуальное проектирование - это создание концептуального представления базы данных, включающее определение типов важнейших сущностей и существующих между ними связей.

Логическое проектирование - это преобразование концептуального представления в логическую структуру базы данных, включая проектирование отношений.

Физическое проектирование - это принятие решения о том, как логическая модель будет физически реализована (с помощью таблиц) в базе данных создаваемой с помощью будущей СУБД.

На первом этапе проектирования необходимо определить, какие типы сущностей будут использоваться, а также определить атрибуты, и связь (соотношение) их с типами сущностей данного проекта.

В учебной программе фигурируют такие понятия как: дисциплина, тема, лекция, практические занятия, самостоятельная подготовка студента, используемая литература. Это основные сущности, которые необходимо отразить в базе данных. Связи между этими сущностями можно отразить так, как представлено на рис. 1.1.

Теперь необходимо определить атрибуты, которые необходимо отразить в базе данных для каждой сущности.

Для сущности “Дисциплина” необходимо отразить следующие атрибуты: название дисциплины; семестр, в котором изучается данная дисциплина; литература; длительность курса; связи с другими дисциплинами; задачи изучения дисциплины; цель изучения дисциплины.

Сущность “Тема” включает в себя следующие атрибуты: название темы; использованная литература.

Рис. 1.1. Связи между сущностями

Сущность “Лекция” должна содержать следующие атрибуты: наименование лекционного занятия; связь с другими лекциями.

Для сущностей “Самостоятельная работа”, “Практические занятия”, “Лабораторные работы” важен только атрибут “Название”.

В каждой сущности необходим уникальный ключ, для обеспечения идентификации по этому ключу объекта.

Создадим на основе выбранных сущностей и атрибутов диаграмму “Сущность - связь” (или ER - диаграмму (ER - Entity - Relationship)). Она представлена на рис. 1.2.

Рис 1.2. Диаграмма «Сущность-связь»

Перейдем теперь ко второму этапу проектирования БД, т.е. к логическому проектированию БД. Посмотрим на полученную ER - диаграмму. В сущностях «Дисциплина» и «Тема» присутствует атрибут «Литература». Если рассуждать логически, то любая литература, Входящая в сущность «Тема» также должна входить в сущность «Дисциплина». Отсюда можно сделать вывод, что «Литература» должна быть выделена в отдельную сущность, на которую будут в последствии ссылаться сущности «Тема» и «Дисциплина». Для этой сущности «Литература», можно выделить следующие атрибуты: название книги; автор; год издания; издательство.

Теперь для обеспечения связей между сущностями надо ввести вторичные индексы.

После введённых преобразований, построим новую модифицированную диаграмму, представленную на рис. 1.3.

Рис 1.3. Модифицированная диаграмма «Сущность-связь»

Перейдем к третьей фазе проектирования базы данных, т.е. к её физическому проектированию.

В качестве целевой СУБД берём MS Access, т.к. это наиболее распространённая СУБД, которая присутствует на большинстве пользовательских машин. В данной СУБД, база данных хранится в одном файле. В нем находятся все таблицы, а также служебные таблицы, в которых хранятся данные о структуре таблиц, об индексах. Также в нем хранится схема данных, в которой хранятся связи между таблицами.

По приведенной диаграмме, представленной на рис. 1.3 создадим физическое представление базы данных проекта. Все сущности будут представлены в виде таблиц, а их атрибуты в виде полей.

Отсюда можно сразу сделать вывод, что в БД будут существовать 7 таблиц. Необходимо также сразу при создании БД связать таблицы по первичным и вторичным индексам. Теперь определим типы полей для каждого атрибута в таблицах. Для атрибутов “Name” , ”Author” - строковый тип, с размером поля 150. Для атрибутов «Duration», «Semestr», вторичные индексы «No_ds» «No_theme» - тип Integer. Для атрибутов “Relations”, “Task”, “Target” - тип “Memo”. Первичные ключи - тип Counter. Для атрибутов “Date” в таблице “Lister” - тип Date.

.5 Описание концептуальной модели

Информационное обеспечение данной системы автоматизированного проектирования - это банк данных. Банк данных - это совокупность базы данных и системы управления базой данных.

СУБД MS Access может использоваться как автономная система на отдельных персональных компьютерах, так и сетевая СУБД в многопользовательской среде.

В СУБД MS Access все таблицы базы данных хранятся в одном файле с расширением *.mdb. В этом же файле находятся служебные таблицы для работы СУБД.

В программе связь приложения с БД осуществляется с помощью технологии Active Data Objects (ADO). В технологии ADO поддерживаются следующие основные функции (хотя отдельные механизмы без данных могут поддерживать только некоторые из них):

·   независимо создаваемые объекты;

·   поддержка хранимых процедур с входными, выходными и возвращаемыми параметрами;

·   курсоры различных типов (включая возможность поддержки разных специальных курсоров конечных пользователей);

·   пакетное обновление;

·   поддержка ограничений для числа возвращаемых строк или других параметров запроса;

·   поддержка нескольких наборов данных, возвращаемых хранимыми процедурами или пакетными операторами.

Также технология ADO предназначена для выполнения роли простого в использовании интерфейса прикладного уровня с механизмом OLEDB. Методы технологии ADO вызываются с помощью интерфейса OLE - автоматизации, который в настоящее время доступен во многих инструментах разработки и языках программирования. Основными преимуществами технологии ADO являются простота использования, высокая скорость, небольшие потребности в оперативной памяти и незначительные затраты дисковой памяти.

База данных данного проекта содержит 7 таблиц. Каждая таблица представляет собой каждую сущность: дисциплина (таблица Dis), «Тема» (Theme), «Лекция» (Таблица Lect), «Лабораторные работы» (таблица Labs), «Практические занятия» (Таблица Prac), «Самостоятельные занятия» (Таблица SWork), «Литература» (Liter).

Входными данными являются сами типовые программы дисциплин, а также ввод связей между ключевыми словами. Выходными данными являются полученные типовые программы в формате MS Word, с расширением *.doc.

БД САПР программ состоит из нескольких таблиц, список которых можно просмотреть в закладке «таблицы» окна «база данных». В конструкторе таблиц окна «база данных» можно описать поля таблиц: задать имя полей, типы данных, дать краткое описание полям, определить формат и размер поля.

инфологический атрибут программный дисциплина

Глава 2. Проектирование информационной системы

.1 Описание полей базы данных

Таблица 1. DIS

Имя поля

Тип данных

Описание

No_ds

Счетчик

Код дисциплины (индексированное поле)

Name

Текстовый

Название дисциплины

Semestr

Числовой

Семестр, в котором изучается предмет

Curs

Текстовый

Курсовая работа

Target

Поле МЕМО

Цель предмета

Task

Поле МЕМО

Задачи предмета

Relations

Поле МЕМО

Связи с другими предметами


Таблица 2. Labs.

Имя поля

Тип данных

Описание

No_lab

Счетчик

Код лабораторной работы (индексированное поле)

Name

Текстовый

Название лабораторной работы

No_theme

Числовой

Код темы

No_Ds

Числовой

Код дисциплины


Таблица 3. Lect.

Имя поля

Тип данных

Описание

No_lek

Счетчик

Код лекции (индексированное поле)

Name

Текстовый

Название лекции

Relations

Поле МЕМО

Связи с другими ключевыми словами

Числовой

Код темы

No_Dis

Числовой

Код дисциплины


Таблица 4. Liter.

Имя поля

Тип данных

Описание

No_lit

Счетчик

Код книги (индексированное поле)

Name

Текстовый

Название книги

Author

Текстовый

Автор книги

No_theme

Числовой

Код темы

No_Ds

Числовой

Код дисциплины

Таблица 5. Prac.

Имя поля

Тип данных

Описание

No_Prac

Счетчик

Код практического занятия (индексированное поле)

Name

Текстовый

Название практического занятия

No_theme

Числовой

Код темы

No_Ds

Числовой

Код дисциплины


Таблица 6. Swork.

Имя поля

Тип данных

Описание

No_sw

Счетчик

Код самостоятельной работы (индексированное поле)

Name

Текстовый

Название сам. Работы

No_theme

Числовой

Код темы

No_Ds

Числовой

Код дисциплины


Таблица 7. Theme.

Имя поля

Тип данных

Описание

No_Theme

Счетчик

Код темы (индексированное поле)

Name

Текстовый

Название темы

No_Ds

Числовой

Код дисциплины


Так как необходимо синхронное изменение данных по всем таблицам: при изменении данных одной таблицы, необходимо связать между собой поля этих таблиц. В Access их визуально можно связать в окне «схема данных» как показано на рис.2.1.

Программа ведения базы данных выполняет следующие функции:

·   защита от несанкционированного доступа;

·   добавление новых записей;

·   удаление записей;

·   редактирование записей;

·   каскадное удаление записей.

Рис 2. 1. Связи между таблицами.

Как и многие функционально значимые задачи, данная система должна быть защищена от несанкционированного доступа, т.е. при входе будет запрашиваться пароль доступа, который должен быть известен только администратору системы. При несоответствии пароля программа завершает свою работу.

Добавление новых записей - это добавление новых объектов, таких, как дисциплина, тема, лекция, литература, лабораторная работа, практическое занятие, самостоятельная работа.

Основная мысль этой функции заключается в следующем:

·   пользователь выбирает, что именно он хочет добавить, это осуществляется с помощью выбора соответствующего пункта меню;

·   далее он может следовать двумя путями при добавлении записи:

1)   в текущей таблице пользователь нажимает клавишу "↓", появляется новое пустое поле и туда пользователь вводит название объекта;

2)   если на форме имеется кнопка "Добавить", то после нажатия на нее появляется форма ввода. После ввода названия нового объекта можно сохранить эти изменения или отменить;

·   после произведенных изменений пользователем, программа записывает все изменения в файл.

Удаление записи осуществляется по следующему алгоритму:

·   выбирается объект, который необходимо удалить;

·   нажимается кнопка "Удалить" или в подменю "выплывающем" после нажатия правой кнопкой на объекте выбирается пункт "Удалить";

·   подтверждается выбор удаляемого объекта;

·   при подтверждении программа удаляет запись из таблицы, к которой относится объект.

Редактирование записей выполняется по следующему алгоритму:

·   выбирается объект для редактирования;

·   если этот объект табличного типа, то одним нажатием кнопки по полю, оно переводится в режим редактирования. Если объект имеет тип Memo, то для него на форме имеется кнопка, после нажатия которой, выводится форма, в которой можно редактировать запись;

·   после окончания редактирования программа заносит все изменения в таблицу.

Каскадное удаление производится тогда, когда удаляемый объект является темой или дисциплиной, т.е. когда у объекта есть зависящие от него записи.

.2 Программное обеспечение ведения БД

Приложение по ведению базы данных состоит из 10 программных модулей:

1. SDSS.dpr - файл проекта, является основным файлом программы. Здесь описаны глобальные операции работы самого приложения в операционной системе.

2. MainUnit.pas - в этом модуле описана главная форма приложения. В нем производится проверка на истинность пароля, процедуры открытия баз данных, процедур передачи управления модулям, в соответствии с выбранным пунктом меню.

3. Dunit.pas - модуль данных, в нем хранятся процедуры для работы с таблицами.

4. Thems.pas - модуль формы для работы с темами. В нем хранятся процедуры для передачи управления модулю Tables. В соответствии с выбранным пунктом меню в этот модуль посылаются текущие значения.

5. Tables.pas - модуль, отвечающий за работу с таблицами Lect, Labs, Prac, Swork. Он обеспечивает заполнение и редактирование таблиц. При работе с таблицей Lect передает управление модулю Keys по выбору соответствующего пункта меню.

6. Keys.pas - модуль, отвечающий за редактирование ключевых слов в заданной дисциплине и теме.

7. EditUnit.pas - модуль, предназначенный для редактирования Memo полей. Вызывается из модуля MainUnit. В соответствии с выбранным пунктом меню редактируется соответствующее поле в базе данных.

8. Liter.pas - модуль, содержащий форму для ввода и редактирования литературы. Если он вызывается из модуля MainUnit.pas, то таблица доступна только для чтения. Если он вызывается из модуля Tems, то тогда разрешается полный доступ к редактированию таблицы.

9. Edit.pas - вспомогательный модуль, содержащий форму для ввода новой литературы.

10.TblsEdUn.pas - вспомогательный модуль для ввода нового объекта, редактирующегося в модуле Tables.pas.

Связь модулей представлена на рис.2.2

Рис.2.2. Связь модулей БД дулей

.3 Разработка функциональной части

Основные задачи, которые выполняет программа:

·   добавление новых записей по всем составляющим типовой программы;

·   формирование выборки ключевых слов тем из базы данных;

·   работа с Word по редактированию предложенного варианта типовой программы.

При составлении новой типовой программы пользователю представляется возможность сохранения данных, т.е. добавление их в БД.

При работе с пунктом “Должен знать” необходимо вводить ключевые слова, составляющие основу лекционного материала.

В этом случае идет проверка. Если в базе имеется тема с таким названием, то выбирается тема и ключевые слова к этой теме из БД, и готовая совокупность слов переносится как тема в новую дисциплину.

Если в базе имеется ключевое слово как “понятие”, то анализируются его связи с другими понятиями и полученная совокупность понятий записывается в раздел “тема”.

При работе с пунктом “Должен уметь” необходимо ввести ключевые слова, соответствующие теме практического занятия. При этом формируется запись одного занятия.

При работе с пунктом “Должен иметь навыки” необходимо ввести ключевые слова, соответствующие теме лабораторной работы. При этом формируется название одной лабораторной работы.

Аналогично с наименованиями тем самостоятельных работ.

Работа с Word заключается в вызове из Delphi редактора Word, который обладает такими возможностями как сохранение и распечатка.

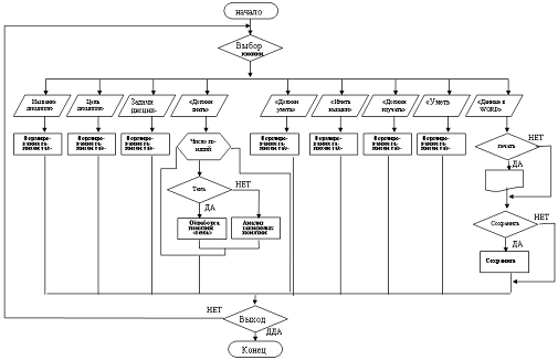
Представим блок-схему данного алгоритма решения задачи (рис. 3)

Рис.2.3. Алгоритм решения задачи.

Программное обеспечение функциональной части типовых программ учебных дисциплин реализовано на Delphi с использованием обращения к базе данных, составленной в MS Access.

2.4 Программные модули

Показанная ниже структура модулей (рис.4) представляет последовательность и взаимосвязь модулей. Представленная здесь структура является обобщенной и укрупненной и не содержит мелких модулей. В следующей части будут рассмотрены поподробнее каждый модуль из этой структуры.

Рис 2..4. Структура программных модулей САПР.

Рассмотрим программные модули показанные выше в структуре модулей.

·   Unit2 - модуль вызова главного окна программы, в котором пользователь может выбрать доступ либо к БД дисциплин, либо к САПР новых типовых программ.

·   RSAPR - модуль вызова окна с кнопками, где пользователь выбирает кнопки для дальнейшего заполнения входными данными некоторых полей.

·   Rdisz - модуль программы, в котором пользователь указывает название новой дисциплины

·   RZel - модуль программы, в котором указываются цели дисциплины

·   RZad - в этом модуле программы задаются задачи дисциплины

·   RProekt, RLit, RUmet, RNav, RSam - похожие по структуре модули, но работают с разными данными

·   RZnat - модуль, в котором задается то, что должен студент, т.е. понятия связанные с лециями. Далее производится поиск в базе идентичных понятий

·   AutoImp - модуль, необходимый для работы с WORD.в данном модуле описываются процедуры для работы с редактором WORD.

·   WORDAuto - модуль, использует процедуры предыдущего модуля, необходим для переноса данных из БД в WORD.

.5 Реализация системы

Ниже приведены фрагменты реализации программного обеспечения. Главная форма САПР программ учебных дисциплин приведена на рис. 2.5.

Сама программа начинается с небольшого анимационного ролика - заставки.

Далее появляется главная форма, на которой можно выбрать одну из кнопок, нажав на нее.

Кнопка «Выход» - позволяет осуществить выход из программы.

Кнопка «О программе» предназначена для вызова отдельного окна «О программе», в которой пользователь может прочитать информацию о данном проекте.

Кнопка «База данных» позволяет вызвать базу данных дисциплин.

Рис. 2.5. Главная форма САПР.

Кнопка «САПР» предоставляет пользователю генерировать новую учебную программу.

При выборе режима САПР появляется меню позволяющее вводить данные информации в различные разделы типовой программы (рис. 2.6)

На рис. 2.7 показана возможность заполнения одного из пунктов предыдущего меню.

Рис 2.6. Основные пункты типовой программы.

Рис.2.7. Составление типовой программы.

После нажатия на кнопку «должен знать» пользователь вводит несколько понятий, после чего программа осуществляет поиск похожих (идентичных) понятий среди данных имеющихся в базе данных дисциплин. При нахождении похожего понятия в списках тем, в выборке будут участвовать все лекции по данной теме, а если таковое понятие было найдено среди лекций, то в выборке будут участвовать только эта лекция и те которые с ней связаны. В процессе выборки пользователь сможет отобрать из имеющихся данных те, которые необходимы для составления новой типовой программы. С выбранными темами и лекциями будет подцеплена и их литература.

После того как документ готов, то есть записан в БД в качестве новой дисциплины, его можно просмотреть в текстовом редакторе MS Word , для чего необходимо нажать на кнопку «Просмотр в Word» (рис.2.8)

Далее появляется окно в котором можно нажимая кнопки открыть Word, создать новый документ, набрать текст из данных новой дисциплины, закрыть Word (документ не сохраняется), и вообще выйти из данного окна (рис.2.8).

Рис.2.8. Окно текстового редактора.

Рис.2.9 Окно просмотра.

При нажатии на кнопку «набрать текст» в окно Word`а загружаются те данные, которые были только что набраны в процессе формирования новой дисциплины и шаблонная часть самой типовой программы (рис. 2.9). На этом рисунке представлен фрагмент типовой программы по дисциплине «Информационные сети и каналы».

Пользователь может корректировать документ, добавить некоторые свои данные, например список дополнительной литературы, необходимые технические средства для обучения данной дисциплине.

Пользователь также может изменить сам вид документа, т.е. изменить его шрифт, размеры и т.п.

Word, будучи приложением с огромными возможностями, позволяет пользователю сохранить документ в одном из многочисленных форматов, в том числе и для представления в Internet - html-формате.

После необходимого редактирования документ можно распечатать, получив тем самым готовую типовую программу по данной дисциплине.

Рассмотрим пользовательский интерфейс при выборе пункта меню «База Данных».

СУБД MS Access имеет в себе возможности для аутентификации и идентификации пользователя. Для каждого пользователя можно настроить различные представления базы данных.

Но в нашем случае необходимо только, чтобы имел доступ к редактированию и заполнению базы данных администратор. Он может изменять все поля и таблицы в БД.

После запуска программы на экран выводится окно запроса пароля (рис.2.10). Программа проверяет соответствие пароля и, если он совпадает, то загрузка программы продолжается, иначе программа заканчивает работу.

После удачного входа в программу появляется главная форма (рис.11).

Рис. 2.10.Окно ввода пароля.

Рис. 2.11. Окно редактирования Дисциплин.

После выбора какой-либо кнопки, в правой части формы ("Цель изучения предмета", "Задачи изучения дисциплины", "Связи с другими предметами") появляется форма (рис.12) для ввода данных, в соответствии с выбранным полем. Все данные вводятся в текстовом виде. При заполнении поля "Связи с другими предметами" следует учитывать, что каждый новый предмет (дисциплина) должен вводиться с новой строки.

Рис 2.12 Окно ввода задач изучения предмета.

После нажатия на кнопку "Редактирование тем" появляется форма для ввода и редактирования тем (рис.13).

Рис. 2.13 Окно редактирования тем.

По выбору любой из этих кнопок выводится форма ввода, представленная на рис. 2.14.

Рис.2.14. Окно редактирования практических занятий.

В нем вводится или редактируется информация, вводимая в соответствии с выбранным пунктом меню. Единственное отличие, при выборе пункта "Лекции" на форме становится видна кнопка "Связи ключевых слов", при нажатии на которую появляется форма редактирования ключевых слов (рис.2.15).

Рис. 2.15. Окно реализации связи ключевых слов.

В левой части находятся введенные ключевые слова, в правой части находится область, в которую вносятся ключевые слова, от которых зависит данное ключевое слово. После окончания редактирования ключевых слов изменения можно сохранить или отменить все изменения, для этого внизу формы имеются две кнопки: "Сохранить" и "Отменить" (рис. 2.15).

Литература редактируется выбором кнопки "Литература" на форме, представленной на рис.2.13. Литературу, относящуюся к данной дисциплине можно только просмотреть. Редактировать ее можно только из формы редактирования тем (рис.2.13). Для каждой темы литература редактируется отдельно (рис.2.16).

Рис 2.16. Окно редактирования литературы.

После нажатия кнопки "Добавить" на форме, представленной на рис.16, появляется форма ввода данных, представленная на рис.17. Здесь вводятся данные о вводимой книге: ее название, автор, год издания.

Рис 2.17. Окно ввода названий книги и автора.

Заключение

В период выполнения выпускной - квалификационной работы на тему «Компьютерное сопровождение учебных программ» были получены следующие результаты :

. Разработаны концепции проектирования программ учебных дисциплин, в основу которой положена база знаний дисциплин:

·   база знаний дисциплин имеет структуру типовой программы;

·        база знаний содержит информацию по всем дисциплинам направления;

·        база знаний содержит ключевые слова по темам дисциплин, связи между ними, последовательность прохождения тем;

·        процесс формирования программы новой дисциплины ведётся в интерактивном режиме с пользователем в виду неполной или неточной информации;

·        поиск в базе знаний осуществляется по ключевым словам, вводимым в диалоговом режиме пользователем по видам занятий (лекции, практические занятия, лабораторные работы, курсовой проект, самостоятельная подготовка);

·        сформированная типовая программа предлагается пользователю на предмет утверждения или корректировки.

2. Сформирована структура базы знаний по дисциплинам направления. Она учитывает структуру типовой программы учебного курса, содержание дисциплины по темам и ключевым словам. Кроме словаря ключевых слов дисциплины, структура базы знаний отражает и связи между понятиями внутри дисциплины. Это позволяет раскрыть темы и понятия темы глубже при проектировании новых курсов, а также учесть последовательность прохождения понятий во времени.

. Разработаны алгоритмы по обработке данных и проектированию новых учебных программ на основе базы знаний направления обучения, учитывающий обработку данных при неполной или неточной информации.

. Реализовано программное обеспечение учебных программ. В качестве языка программирования выбрана система быстрого программирования Delphi, относящаяся к CASE-технологиям.

. Разработаны методы защиты информации, содержащейся в БД (типовые программы, материалы лекций, материалы практических и лабораторных работ). В качестве меры защиты предусмотрено введение паролей, с предоставлением разных прав доступа (для гостей, для разработчиков учебных программ и разработчиков программного обеспечения).

Разработанный комплекс программ предназначен для преподавателей образовательных учреждений, разрабатывающих учебные программы дисциплин; позволяет создать электронную базу знаний по направлениям обучения; система компьютерного сопровождения учебных документов дает возможность и преподавателям и студентам получать информацию по всем материалам учебного плана специальности в сетевой среде.

Список использованных источников литературы

1. Норенков И.П. «САПР, книга 1, Принципы построения и структура, высшая школа» Москва, 1986 г.

.   Чичварин Н.В. «Экспертные компоненты САПР, Машиностроение» Москва, 1991 г.

3.       Вейскас Д. «Эффективная работа с MS Access 2», СПб Питер, 1995 г.

.         Вендров А.М. «Один из подходов к выбору средств проектирования баз данных и приложений СУБД» 1995, №3

.         Зиндер Е.З. «Бизнес-реинжиниринг и технологии системного проектирования. Учебное пособие» М., Центр Информационных Технологий, 1996 г.

.         Калянов Г.Н. «CASE. Структурный системный анализ (автоматизация и применение)» М., «Лори», 1996 г.

.         Марка Д.А., МакГоуэн К. «Методология структура анализа и проектирования» М., “МетаТехнология”, 1993 г.

.         «Международные стандарты, поддерживающие жизненный цикл программных средств» М., МП “Экономика”, 1996 г.

.         Нормативные документы по реформированию системы высшего образования Республики Узбекистан. Ташкент, 1998 г.

10.     Создание Windows-приложений в среде Delphi. М., 1995 г.

Похожие работы на - Компьютерное сопровождение учебных программ

 

Не нашли материал для своей работы?
Поможем написать уникальную работу
Без плагиата!
Без нейросетей!