Разработка технологического процесса изготовления вала и конструкции технологической оснастки
Министерство Образования Республики
Беларусь
Учреждение образования
Белорусский Государственный
Университет
Информатики и Радиоэлектроники
Пояснительная записка
к курсовому проекту
на тему
Разработка технологического процесса
изготовления вала и конструкции технологической оснастки
Выполнила ст. гр. 711101
Е.А. Тарасевич
Принял Г.М. Шахлевич
МИНСК 2014
Введение
Ведущее место в росте экономики любой страны принадлежит отраслям
машиностроения. Цель проектирования технологических процессов изготовления
деталей машин - установить наиболее рациональный и экономный способ обработки,
при этом обработка деталей на металлорежущих станках должна обеспечивать
выполнение требований, предъявляемых к точности и чистоте обрабатываемых
поверхностей, правильности контуров, форм и т.д.
На данном этапе развития аппаратостроения при проектировании
технологических процессов стремятся к максимально возможной механизации и
автоматизации, применению малоотходных способов получения заготовок
механической обработки без снятия слоя металла, уменьшению трудоемкости
изготовления деталей.
Одной из самых распространенных и достаточно ответственных деталей машин
и механизмов является вал. К изготовлению валов предъявляются высокие
требования: по точности, по прочности и по эксплуатационным данным. Поэтому
требуется серьезная комплексная проработка на всех стадиях процесса
производства.
Валы в основном изготавливают из конструкционных и легированных сталей,
обладающих высокой прочностью, хорошей обрабатываемостью, малой чувствительностью
к концентрации напряжений. А для повышения износостойкости эти материалы
подвергают термической обработке.
Рассмотрен вал, изготовленный из стали марки 12Х18Н10Т - нержавеющей
стали. Минимальное содержание хрома в ней составляет 12%. Именно наличием
хрома, точнее, его тончайшей оксидной пленки, обусловлены антикоррозионные
свойства данного материала. Добавление в сплав некоторых других элементов
позволяет получить различные виды кристаллических решеток, что, в свою очередь,
позволяет добиться повышения защитных свойств нержавеющей стали.
В данной курсовой работе изложены методы обработки, технология
изготовления вала с подборкой необходимого оборудования. Программа выпуска -
5000 штук, т.е. производство мелкосерийное.
Цель курсового проектирования - научится правильно применять
теоретические знания, полученные в процессе учебы, использовать свой
практический опыт работы на машиностроительных предприятиях для решения
профессиональных технологических и конструкторских задач.
1 Обзор методов изготовления деталей, аналогичных данной
Выбор наиболее рационального способа получения заготовки в каждом
отдельном случае определяется комплексно с учетом технико-экономической
целесообразности. С увеличением масштабов выпуска особое значение приобретают
эффективность использования металлов и сокращение трудоемкости механической
обработки. Поэтому в крупносерийном и массовом производстве преобладают методы
получения заготовок с коэффициентом использования металлов от 0,7 и выше
(отношение массы детали к норме расхода металла), доходящим в отдельных случаях
до 0,95. Валы, в основном, изготовляют из конструкционных и легированных
сталей, к которым предъявляются требования высокой прочности, хорошей
обрабатываемости, малой чувствительности к концентрации напряжений, а также
повышенной износостойкости. Этим требованиям, в определенной степени, отвечают
стали марок 35, 40, 45, 40Г, 40ХН и др. Достаточно редко валы отливают из
чугуна.
В технических требованиях на изготовление валов, прежде всего,
указывается твердость материала или необходимость соответствующей термической
обработки. Если значение твердости не превышает НВ 200...230, то заготовки
подвергают нормализации, отжигу или термически не обрабатывают. Для увеличения
износостойкости валов повышают твердость их рабочих поверхностей. Часто это
достигается поверхностной закалкой токами высокой частоты, обеспечивающей
твердость HRС 48...55. Поверхности валов из малоуглеродистых марок стали
подвергают цементации на глубину 0,7...1,5 мм с последующей закалкой и отпуском.
Таким способом можно достичь твердости НRС 55...60.
Производительность механической обработки валов во многом зависит от вида
заготовки, ее материалов, размера и конфигурации, а также от характера
производства. Заготовки получают отрезкой от горячекатаных или холоднотянутых
нормальных прутков и непосредственно подвергают механической обработке.
Прокат круглого сечения поступает на машиностроительные заводы в виде
многометровых прутков, из которых в заготовительных цехах нарезаются заготовки
необходимой длины.
К наиболее производительным методам относятся рубка прутков на прессах и
резка ножницами. Существенным недостатком этих методов, ограничивающим их
применение, является смятие концов заготовок.
На машиностроительные заводы прокат поступает с заметными отклонениями от
прямолинейности оси. Для устранения кривизны прутки перед резкой подвергают
правке. Для этой цели служат правильно-калибровочные станки. Нарезанные
заготовки перед началом обработки, а иногда и в процессе дальнейшей обработки
также приходится подвергать правке. Такую правку обычно проводят на прессах.
Заготовки такого вида применяют в основном в мелкосерийном и единичном
производстве, а также при изготовлении валов с небольшим количеством ступеней и
незначительными перепадами их диаметров.
В производстве с более значительным масштабом выпуска, а также при
изготовлении валов более сложной конфигурации с большим количеством ступеней,
значительно различающихся по диаметру, заготовки целесообразно получать методом
пластической деформации.
Эти методы (ковка, штамповка,периодический прокат, обжатие на
ротационно-ковочных машинах, электровысадка) позволяют получать заготовки, по
форме и размерам наиболее близкие к готовой детали, что значительно повышает
производительность механической обработки и снижает металлоемкость изделия.
Штучную заготовку из прутка заменяют штамповкой, если К повышается не
менее чем на 5%. Заготовка, полученная радиальным обжатием, наиболее близка по
конфигурации и размерам к готовой детали, при этом С=0,85...0,95.
В мелкосерийном и единичном производствах применяются отрезные ножовочные
станки. Тонкие ножовочные полотна дают узкий пропил, но вследствие малой
жесткости не обеспечивают высокой перпендикулярности торцов заготовок.
Заготовки небольших ступенчатых валов диаметром до 25 мм изготовляют
холодной высадкой в сочетании с прессованием (экструдинг-процесс), а именно: из
штучной прутковой заготовки за несколько переходов высаживают ступенчатую
часть, имеющую диаметр больший, чем исходная заготовка, а затем вытягивают ту часть,
диаметр которой меньше размера исходной прутковой заготовки. Механической
обработке поверхностей вала предшествует образование единой базы для установки
обрабатываемой заготовки вала на всех операциях. Этой базой вала являются
торцевые поверхности и центровые отверстия, от точности выполнения которых
зависит и точность исполнения последующих операций. Основной технологической
задачей, решаемой в процессе механической обработки ступенчатых валов, является
обеспечение расположения осей всех обрабатываемых ступеней вала на одной
геометрической линии в целях уменьшения радиального биения.
Заготовки коленчатых валов получают горячей штамповкой и литьём. Кованые
коленчатые валы изготовляются из углеродистых и легированных сталей, а литые
валы - из высокопрочных глобулярных чугунов, из ковких перлитных чугунов и
легированных сталей. Литьё выполняется в земляные и оболочковые формы.
Последний метод является более прогрессивным, т.к. он обеспечивает более
высокую точность заготовки, снижает припуски на механическую обработку, а в
некоторых случаях полностью её устраняет.
Изготовление заготовок коленчатых валов горячей штамповкой отвечает
требованиям поточно-массового производства, т.к. этот метод приближает форму и
размеры заготовки к форме и размерам готовой детали за счёт применения
специальной технологической оснастки и специального оборудования, что снижает
отход металла в стружку при механической обработке. При этом обеспечивается
выгодное расположение волокон в металле, что повышает прочностные показатели деталей.
Полые валы целесообразно изготавливать из труб.
Возможно изготовление валов литьем по выплавляемым моделям. Сущность
процесса заключается в изготовлении отливок заливкой расплавленного металла в
тонкостенные, неразъемные, разовые литейные формы, изготовленные из специальной
огнеупорной смеси по разовым моделям. Разовые выплавляемые модели изготовляют в
пресс-формах из модельных составов. Перед заливкой модель удаляется из формы
выплавлением, выжиганием и т.д. Для устранения остатков модельного состава и
упрочнения форма нагревается и прокаливается. Заливка осуществляется в
разогретые формы для улучшения наполняемости. Этим способом можно отливать валы
из различных сплавов любой конфигурации 1…5 групп сложности массой от
нескольких грамм до 250кг с толщиной стенок от 1мм. Припуск на механическую
обработку составляет 0.2-0.7мм. Применяется в различных областях
машиностроения.
токарный
заготовка деталь режим
2 Анализ задания на проектирование и оценка технологичности изделия
.1 Конструкция
Данная деталь - вал - относится к классу деталей типа вращения с длиной L, превышающей три диаметра D (L>3D).
Деталь предназначена для передачи крутящего момента от двигателя к другим
узлам.
Вал нежесткий, т.е. отношение его длины L к диаметру D
больше 12. По конфигурации вал ступенчатый, диаметр наибольшей ступеньки - 22
мм. Конструктивной базой вала является его наружная цилиндрическая поверхность.
Отклонение от соосности относительно нее составляет 0,03 мм. Масса детали 42 г.
.2 Материал
Вал изготовлен из нержавеющей стали 12Х18Н10Т (высоколегированая,
коррозионно-стойкая аустенитного класса). Эта сталь обладает высокой химической
стойкостью, прочностью и теплостойкостью при температурах до 700°С, хорошо поддаётся сварке и
деформации. Поскольку в данном случае производство мелкосерийное (5000 штук),
то заготовки получают отрезанием от холоднотянутых прутков и сразу подвергают
механической обработке.
Химический состав данной марки стали представлен в таблице 2.1.
Таблица 2.1
|
Химический элемент
|
%
|
|
Кремний (Si), не более
|
0.8
|
|
Медь (Cu), не более
|
0.30
|
|
Марганец (Mn), не более
|
2.0
|
|
Никель (Ni)
|
9.0-11.0
|
|
Титан (Ti)
|
0.6-0.8
|
|
Фосфор (P), не более
|
0.035
|
|
Хром (Cr)
|
17.0-19.0
|
|
Сера (S), не более
|
0.020
|
Свойства данной стали представлены в таблице 2.2.
Таблица 2.2
|
σв, МПа
|
σТ, МПа
|
δ,%
|
KCU, МДж/м2
|
200
|
40
|
1,25
|
Плотность данной стали 7900 г/см3.
Технологические свойства данной стали отражены в таблице 2.3.
Таблица 2.3
|
Температура ковки
|
Т начала равна 1200°С, Т
конца равна 850°С. Сечения до 350 мм охлаждаются на воздухе.
|
|
Свариваемость
|
Сваривается без
ограничений. Способы сварки: РДС (электроды ЦТ-26), ЭШС и КТС. Рекомендуется
последующая термообработка.
|
|
Обрабатываемость резанием
|
В закаленном состоянии при
НВ 169 и σB = 620 МПа Kσ тв.спл. = 0,85, K б.ст. = 0,35.
|
|
Флокеночувствительность
|
не чувствительна
|
.3 Методы обработки
При изготовлении данной детали рациональнее всего использовать метод
обработки резанием.
Обработка резанием основана на срезании лезвийным или абразивным
инструментом с поверхности заготовки слоя материала (припуска) для получения
требуемой формы, размеров, взаиморасположения и шероховатости поверхности
детали. Рабочие органы станка должны обеспечивать согласованные движения
заготовки и инструмента, называемые движениями резания.
Движений резания должно быть не менее двух - главное (с максимальной
скоростью) и подачи. За главное принимают движение, определяющее деформацию и
отделение стружки. Движения подачи обеспечивают непрерывность врезания
инструментов в заготовку.
При обработки резанием используют 4 основных метода формообразования:
. Копирование - режущая кромка инструмента является реально образующей, а
направляющая - движение заготовки. Подача необходима для получения требуемого
размера. Метод используется при получении фасонных поверхностей точением,
фрезерованием, шлифованием и др.
. Следов - образующая линия является траекторией движения, вершиной
режущей кромки инструмента, а направляющая - траекторией движения заготовки.
Это один из самых распространенных методов (точение, растачивание и др.).
. Касания - образующей является режущая кромка инструмента, а
направляющей - касательная к траекториям этой режущей кромки.
. Обкатка - направляющая образуется вращением заготовки, а образующая -
это огибающая ряда последовательных положений режущей кромки инструмента при
согласовании υ и υs.
К обработке резанием относятся токарная обработка, сверление и
растачивание, фрезерование, строгание и долбление, зенкерование и
развертывание, резьбонарезание, протягивание и прошивание, шлифование,
полирование, притирка и доводка, хонингование, суперфиниширование и др.
Кратко рассмотрим технологические особенности основных методов обработки
резанием.
Рис. 1. Схема токарной обработки
Токарная обработка - наиболее распространенный способ изготовления
деталей типа тел вращения. На токарных станках можно обтачивать и растачивать
цилиндрические, конические, шаровые и профильные поверхности, подрезать торцы,
вытачивать канавки, нарезать наружные и внутренние резьбы, накатывать рифление,
сверлить, зенкеровать и развертывать отверстия и др.
Рис. 2. Варианты фрезерования
Фрезерование - один из самых высокопроизводительных методов
формообразования плоских и фасонных поверхностей по методу касания и копирования
многолезвийными фрезами. Непрерывное главное вращательное движение совершает
многолезвийный режущий инструмент - фреза, а заготовка - поступательное
движение подачи. Процесс резания прерывистый - каждый зуб фрезы находится в
контакте с заготовкой только часть оборота.
Рис. 3. Схемы шлифования заготовки
Шлифование - основной вид высокопроизводительной, чистовой и тонкой
абразивной обработки поверхностей различного профиля. Главное вращательное
движение резания со скоростями > 15 м/с совершает инструмент, вращательное
или поступательное движение заготовки является продольной подачей. Поперечную
прерывистую (или круговую) и прерывистую вертикальную подачу на глубину резания
совершает круг или заготовка.
2.4 Расчет показателей технологичности
Главными факторами технологичности являются вид изделия, объем выпуска,
тип производства. В нашем случае видом изделия является деталь, объем выпуска -
5000 штук в год, тип производства - мелкосерийное.
Данные для расчета показателей технологичности приведены в таблице 2.4.
Таблица 2.4
|
Квалитет
|
6
|
7
|
8
|
9
|
10
|
11
|
12
|
|
Число поверхностей
|
1
|
2
|
1
|
1
|
0
|
1
|
3
|
1. Коэффициент использования стандартных конструктивных элементов
детали

,
где

-
количество стандартных конструктивных элементов,

- общее
количество элементов.
В
нашем случае Kст.э=1.
2. Коэффициент точности обработки
,
где
Аср - средний квалитет точности,
n12, n11, n10 -
количество конструкционных элементов соответственно 12, 11, 10 квалитетов.
Для
данной детали
.
Тогда
Kточн=0,3.
3. Коэффициент использования прогрессивных методов формообразования
где

-
количество ТП, связанных с прогрессивным формообразованием,

- общее
количество методов ТП.
4. Коэффициент повторяемости стандартных конструктивных элементов
где

-
количество типов размеров конструктивных элементов,

- общее
количество конструктивных элементов.
5. Коэффициент шероховатости
,
где
m1, m2, m3 - количество поверхностей соответственного класса
шероховатости.
Для
данного вала
.
Значит,
Kшер =0,6.
6. Коэффициент использования унифицированных ТП
где

-
количество унифицированных ТП,

- общее
количество ТП.
7. Коэффициент использования материала
где

- масса
детали,

- масса
заготовки.
В
нашем случае Kисп =0,3.
Рассчитаем
коэффициент технологичности:
, К=0,58,
что соответствует объему производства: мелкосерийное, К=0,5 - 0,6.
3. Проектирование технологического маршрута
Конструкторско-технологический анализ детали: деталь представляет собой
цилиндр длиной 125 мм и максимальным диаметром ступеньки 22 мм. По обоим концам
вала имеются внутренние отверстия. К точности размеров поверхности 1
предъявляются требования 6 квалитета, поверхности 2 - 7 квалитета, поверхности
3 - 8 квалитета, поверхности 4 - 7 квалитета, поверхности 5 - 9 квалитета,
поверхности 6 - 11 квалитета; остальные - по 12 квалитету. Шероховатость
поверхности 7 равна 12,5 мкм (5 класс шероховатости). Поверхность ступеньки
диаметра 22 не обрабатывается, ее шероховатость остается по состоянию поставки
(6 класс шероховатости). Шероховатость остальных поверхностей - 1,6 мкм (6
класс шероховатости).
В качестве исходного материала используется пруток из стали 12Х18Н10Т,
обладающей высокой прочностью и хорошей обрабатываемостью.
.1 Операции технологического маршрута
Методы окончательной обработки всех поверхностей заготовки (вала) и
промежуточных операций выбирают исходя из требований, предъявляемых к точности
размеров и качеству поверхностей, с учетом характера исходной заготовки,
свойств обрабатываемого материала и условий производства. При назначении метода
обработки следует стремиться к тому, чтобы число переходов при обработке каждой
поверхности было минимальным. При составлении технологического маршрута
необходимо учитывать тип производства данной детали. При единичном и
мелкосерийном производстве план операций строят по принципу групповой
технологии, при серийном - используя групповые поточные линии, при массовом -
организуя обработку на непрерывных поточных линиях. Разработанный
технологический процесс должен обеспечивать требуемое качество изготавливаемого
изделия.
Данная деталь поступает в виде заготовки из прутка. На первом этапе нужно
обработать наружную поверхность вала с точностью по 12-квалитету и с параметром
шероховатости Ra=1,6 мкм. Для получения данной
шероховатости проведем последовательно черновое точение, затем чистовое
точение.
На втором этапе вытачиваем отверстия диаметрами 3+0,06 мм и 4+0,6 мм и
длиной 11 мм и 21 мм соответственно, снимаем фаски. Отверстие диаметром 3+0,06
имеет 6 квалитет, отверстие диаметром 4+0,6 - 7 квалитет.
Последовательность изготовления вала имеет общую закономерность:
) обработка торцов и зацентровка;
) черновая обработка наружных поверхностей вращения;
) обработка шлицев;
) обработка отверстий;
) термообработка;
) правка центров;
) чистовая обработка наружных поверхностей вращения;
) окончательная обработка шлицев, при необходимости и шпоночных канавок;
) окончательная обработка резьбы;
) окончательная обработка основных рабочих поверхностей.
При составлении технологического маршрута будем использовать карту
эскиза, на которой поверхности пронумерованы. Таким образом, маршрут обработки
данного вала включает следующие операции и переходы:
Заготовительная
.1. Отрезка заготовки длиной 125 мм+2Zmin
.2. Торцевание поверхности 3 и 4
.3. Сверление центровых отверстий с одного установа
Токарная 1
.1. Точение черновое поверхности 5 в 3 хода в размер d=7-0,1 мм
.2. Точение чистовое поверхности 5 в 3 хода в размер d=7-0,1 мм
Токарная 2
.1. Точение черновое поверхности 6 в 3 хода в размер 7+0,25 мм
.2. Точение чистовое поверхности 6 в 3 хода в размер 7+0,25 мм
Токарная 3
.1. Точение черновое поверхности 8 в 3 хода в размер d=6-0,1 мм
.2. Точение чистовое поверхности 8 в 3 хода в размер d=6-0,1 мм
Токарная 4
.1. Точение черновое поверхности 9 в 3 хода в размер d=5-0,06 мм
.2. Точение чистовое поверхности 8 в 3 хода в размер d=5-0,06 мм
Токарная 5
.1. Точение черновое поверхности 10 в 3 хода
.2. Точение чистовое поверхности 10 в 3 хода для получения
шероховатости Rа=1,6
Токарная 6
.1. Точение черновое поверхности 11 в 3 хода
.2. Точение чистовое поверхности 11 в 3 хода для получения
шероховатости Rа=1,6
Зенкерование фасок в размер1*45°
Термическая
.1. Закалка до 28…32 HRC
.2. Высокий отпуск
Токарная 7
.1. Торцевание поверхности 3
.2. Сверление отверстия 2 в размер d=4+0,6 мм
.3. Торцевание поверхности 4
.4. Сверление отверстия 1 в размер d=5-0,06 мм
Фрезерная
.1. Формообразование паза 7 в размер 2 мм с шероховатостью Ra=12,5
.2 Выбор оборудования
Для отрезания заготовок от прутка используется сегментная дисковая пила.
Для токарных операций целесообразно использовать токарно-винторезный
станок с ЧПУ 1К62ПУ, параметры которого приведены в таблице 3.1. При этом, для
обработки применяются различные виды резцов. Так, при торцевании поверхностей 3
и 4 используется резец токарный отрезной, ГОСТ 18874-73, обозначение -
2130-0509, с параметрами Н×В, равными 16×10 мм, длиной L, равной 100 мм. Черновое точение
остальных поверхностей вала производится резцом проходным отогнутым, ГОСТ
18866-73, обозначение - 2102-0501, с параметрами с параметрами Н×В, равными 16×10 мм, длиной L, равной 100 мм. Для чистового
точения поверхностей вала используют резец токарный подрезной, ГОСТ 18871-73,
обозначение - 2112-0031, с параметрами Н×В, равными 16×10 мм, длиной L, равной 100 мм.
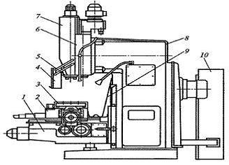
Рис. 4. Схема токарно-винторезного станка 16К20
- передняя бабка, 2 - суппорт, 3 - задняя бабка, 4 - станина, 5 и 9 -
тумбы, 6 - фартук, 7 - ходовой винт, 8 - ходовой валик, 9 - коробка подач, 10 -
гитары сменных шестерен, 11 - электро-пусковая аппаратура, 12 - коробка
скоростей, 13 - шпиндель.
Таблица 3.1
|
Параметр станка модели
16К20
|
Значение
|
|
Наибольшая длина
обрабатываемого изделия, мм
|
1000
|
|
Высота оси центров над
плоскими направляющими станины, мм:
|
215
|
|
Пределы оборотов, об/мин
|
12,5-1600
|
|
Пределы подач, мм/об
|
|
|
Продольных
|
0,05-2,8
|
|
Поперечных
|
0,002-0,11
|
|
Мощность электродвигателя
главного привода, кВт
|
11
|
|
Наибольший диаметр изделия,
устанавливаемого над станиной, мм
|
400
|
|
Наибольший диаметр
обработки над поперечными салазками суппорта, мм
|
220
|
|
Наибольший диаметр прутка,
проходящего через отверстие в шпинделе, мм
|
50
|
|
Габаритный размеры станка,
мм
|
|
|
Длина
|
2795
|
|
Ширина
|
1190
|
|
Высота
|
1500
|
|
Масса станка, кг
|
3005
|
Сверление отверстий 1 и 2, а также фрезерование паза поверхности 7 и
снятие фасок производится на вертикально - фрезерном станке с ЧПУ модели
ГФ2171Р, параметры которого приведены в таблице 3.1.
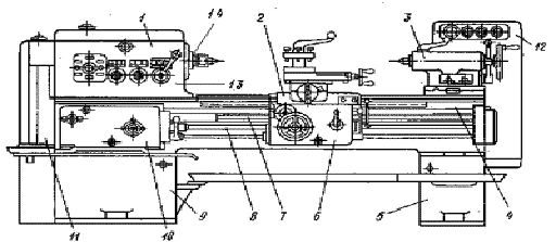
Рис. 4. Схема вертикально-фрезерного станка с ЧПУ: 1 - консоль; 2 -
салазки; 3 - стол; 4 - защитный щиток; 5 - шпиндель; 6 - фрезерная бабка; 7
ползун; 8 - станина; 9 - кожух; 10 - шкаф.
Таблица 3.2
|
Параметр станка модели
ГФ2171Р
|
Значение
|
|
Размеры рабочей поверхности
стола, мм
|
400х1600
|
|
Наибольшая масса детали,
устанавливаемой на столе станка (вместе с приспособлением), кг
|
400
|
|
Наибольшее перемещение
стола, мм:
|
|
продольное (координата X)
|
1010
|
|
поперечное (координата Y)
|
400
|
|
вертикальное (установочное)
|
430
|
|
Перемещение ползуна
(координата Z), мм
|
260
|
|
Скорость быстрого
перемещения узлов по координатам:
|
|
X, Y, Z, мм/мин
|
7000
|
|
A, мин-1
|
-
|
|
Пределы подач по
координатам:
|
|
Х, Y, Z, мм/мин
|
3-7000
|
|
А, мин-1
|
-
|
|
Частота вращения шпинделя,
мин -1
|
50-2500
|
|
Мощность двигателя главного
движения, кВт
|
11
|
-
|
|
Наибольший диаметр
инструмента, мм
|
250
|
|
Время смены инструмента,
сек
|
-
|
|
Расстояние от оси
координаты А до поверхности стола, мм
|
-
|
|
Конус шпинделя
|
50
|
|
Отклонение от круглости при
контурном фрезеровании цилиндрической поверхности, мм
|
0,05
|
|
Максимальная масса
инструмента, кг
|
15
|
|
Количество одновременно
управляемых координат:
|
|
при линейной интерполяции
|
3
|
|
при круговой интерполяции
|
2
|
|
при линейно-круговой
интерполяции
|
3
|
|
Габаритные размеры станка с
электро- и гидрооборудованием, мм
|
|
длина
|
3100
|
|
ширина
|
3135
|
|
высота
|
2850
|
|
Масса станка с электро- и
гидрооборудованием, кг
|
5700
|
|
Класс точности
|
Н
|
|
Установленная мощность, кВт
|
18
|
Центровые отверстия сверлятся сверлом спиральным с цилиндрическим
хвостовиком, короткая серия ГОСТ 4010-77 (d=3,00-14,00 мм, L=46-107 мм, l=16-54 мм).
Фрезерная операция выполняется дисковой фрезой, обозначение 2240-0351, с
толщиной 1,5мм. Для снятия фасок используется зенковка цилиндрическая со
сменной направляющей цапфой по ОСТ 425-2-0. Термическая операция проходит в
термопечи.
4. Расчет припусков под обработку и технологических режимов
.1 Расчет припусков под обработку
Основными базами большинства валов являются поверхности его опорных шеек.
Однако использовать их в качестве технологических баз для обработки наружных
поверхностей, как правило, затруднительно, особенно при условии сохранения
единства баз. Поэтому при большинстве операций за технологические базы
принимают поверхности центровых отверстий с обоих торцов заготовки, что
позволяет обрабатывать почти все наружные поверхности вала на постоянных базах
с установкой его в центрах. При этом может возникать погрешность базирования,
влияющая на точность взаимного расположения шеек, равная величине несовпадения
оси центровых отверстий и общей оси опорных шеек.
Для исключения погрешности базирования при выдерживании длин ступеней от
торца вала необходимо в качестве технологической базы использовать торец
заготовки. С этой целью заготовку устанавливают на плавающий передний центр. В
нашем случае база одна - это наружная поверхность вала.
Припуски рассчитывают расчетно-аналитическим методом, основанном на
следующем положении: необходимая величина припуска на данном переходе или
операции должна обеспечить удаление погрешности предыдущего. При определении
припуска следует учитывать конфигурацию и размеры заготовки, методы обработки,
характер оборудования, техническое состояние.
Формула расчёта припуска под обработку поверхностей вращения:
Здесь
Rz - высота неровностей, H - глубина
дефектного поверхностного слоя, β - суммарное значение пространственных отклонений для элементарной
поверхности на предыдущем переходе, ε - погрешность установки. Поскольку в нашем случае вал
обрабатывается с одного установа, то погрешность установки на всех операциях
равна нулю. Значения Rz, H, β берем из таблицы.
Формула
для расчёта припуска под обработку плоских поверхностей:
min = Rz i-1 + Hi-1 + βi-1 + εi.
Т.к.
поверхность наибольшего диаметра не обрабатывается, найдем только припуски на
торцы.
Минимальный
припуск:
Под
заготовительную операцию
Zmin1 = 2 · (150
+ 250 + 1820) = 2 · 2220 мкм;
Под
черновое торцевание
Zmin1 = 2 · (50
+ 50 + 109) = 2 · 209 мкм;
Под
чистовое торцевание
Zmin1 = 2 · (30
+ 30 + 73) = 2 · 133 мкv
Графа
«расчетный размер» (D расчет.), заполняется, начиная с конечного (в данном
случае чертежного) размера последовательным прибавлением расчетного
минимального припуска каждого технологического перехода.
Таким
образом, имея расчетный (чертежный) размер после последнего перехода для
остальных переходов получаем:
Dрасчет
торц.черн. = 5,9 + 0,266 = 6,166
Dрасчет. загот.
= 6,166 + 0,418 = 6,584
Записав
в соответствующей графе расчетной таблицы значение допусков на каждый
технологический переход и заготовку, в графе «Наименьший предельный размер Dmin»
определим их значения для каждого технологического перехода. Наибольшие
предельные размеры вычисляем прибавлением допуска к наименьшему предельному
размеру:
Dmax загот. = 6,584 + 0,75 = 7,334
Dmax торц.черн.
= 6,166 + 0,12 = 6,286
Dmax торц.чист.
= 5,9 + 0,012 = 5,912
Предельные
значения припусков Zmax определяем как разность как разность наибольших
предельных размеров и Zmin - как разность наименьших предельных размеров
предыдущего и выполняемого переходов:
Zmax торц.чист.
= 6,286 - 5,912 = 0,374 мм
Zmax торц.черн.
= 7,334 - 6,286 = 1,048 мм
Zmin торц.чист.
= 6,166 - 5,9 = 0,266 мм
Zmin торц.черн.
= 6,584 - 6,166 = 0,418 мм
Общие
припуски Z0min, Z0max определяем, суммируя промежуточные припуски:
Z0min =
418 + 266 = 684 мкм
Z0max =
1048 + 374 = 1422 мкм
Рассчитанные
составляющие припусков, допусков на припуски и промежуточных размеров занесем в
таблицу 4.1.
Таблица
4.1
Элементы припуска
|
2Zmin, мкм
|
D расчет, мм
|
δ, мкм
|
D
|
|
Rz, мкм
|
H, мкм
|
ρ, мкм
|
|
|
|
Dmin
|
Dmax
|
Zmin, мкм
|
Zmax,мкм
|
|
Заготовительная
|
150
|
250
|
1820
|
2 · 2220
|
6,584
|
750
|
6,584
|
7,334
|
|
|
|
Торцевание черновое
|
50
|
50
|
109
|
2 · 209
|
6,166
|
120
|
6,166
|
6,286
|
418
|
1048
|
|
Торцевание чистовое
|
30
|
30
|
73
|
2 · 133
|
5,9
|
12
|
5,9
|
5,912
|
266
|
374
|
.2 Обоснование сортамента заготовки или метода ее изготовления
На выбор метода получения заготовки влияют: материал детали, ее размеры,
форма, назначение и технические требования на изготовление, объем выпуска.
Внимание при выборе заготовки уделяется обеспечению заданного качества готовой
детали при ее минимальной себестоимости.
Материал детали сталь 12Х18Н10Т.
В нашем случае данный вал имеет небольшое число ступеней, однако разница
между наименьшим и наибольшим диаметрами велика. Производство мелкосерийное.
Будем использовать холодный нормальный прокат.
Виды поставляемой продукции данной стали следующие: прокат круглого (Ø8-160 мм), квадратного (кв.28-200 мм)
сечений, прутки обточенные и со специальной отделкой поверхности, полоса
кованая и катаная, сутунка.
Длина прутков выбирается из ряда: 600, 1200, 1800,…мм. Поэтому для
изготовления данного вала, с учетом рассчитанных припусков и ширине отрезного
резца, целесообразно выбрать пруток Ø22 мм и длиной 1800 мм. В этом случае
будет наиболее экономично использован материал. Данный пруток будет разрезаться
на 14 заготовок.
.3 Расчет режимов резания при торцевой обработке
К режимным параметрам этого вида обработки относятся глубина резания t, подача S и скорость резания V.
Глубина резания t
(мм), как правило, определяется припуском на обработку. При черновой обработке
весь припуск снимается за один проход, а при выполнении чистовых операций общий
припуск делится на промежуточные: предварительный и окончательный припуск. На
предварительном снимается до 70% общего припуска.
В нашем случае глубина резания t<3 мм.
Подача S (мм/об) зависит от материала
обрабатываемой детали, схемы обработки, глубины резания, заданной шероховатости
обработанной поверхности, геометрии режущей части инструмента, типа резца и т.
п. Значение подачи может быть найдено по рекомендациям и расчетным путем с
использованием эмпирических формул.
Значение S рассчитаем по
формуле:
= 0,14.
Скорость
резания вчисляем по формуле:
,
где Cv, Kv - коэффициенты;
m, x, у - показатели степени;
Т - стойкость инструмента, мин;
t -
глубина резания, мм;
S -
подача, мм/об.
В нашем случае значения коэффициентов Cv, х, у, и m
составляют:
Cv =
110; у = 0,45; х = 0,2; m =
0,15; Т = 60 мин.
Коэффициент Кv является
произведением ряда коэффициентов:
Кv = Кmv Кпv Киv Кjv Кj1v Кrv Кqv,
где Кmv - коэффициент, учитывающий влияние
материала заготовки (в нашем случае равен 1,0); Кпv - коэффициент, учитывающий состояние поверхностного слоя
(0,9); Киv - коэффициент, учитывающий влияние
материала инструмента (1,0); Кjv - коэффициент, учитывающий влияние угла в плане резца (0,7); Кj1v - коэффициент, учитывающий влияние вспомогательного угла в
плане резца (0,85); Кrv -
коэффициент, учитывающий влияние радиуса при вершине резца (1,03); Кqv - коэффициент, учитывающий сечение
державки (0,97).
Кv =1,0·0,9·1,0·0,7·0,85·1,03·0,97 =
0,54.
Тогда

.
К технологической оснастке относятся вспомогательные сменные устройства,
устанавливаемые на станках с целью расширения их технологических возможностей,
установки и закрепления заготовок и инструмента, облегчения условий работы
токаря, повышения производительности труда и точности обработки.
В процессе обработки режущий инструмент совершает движение относительно
заготовки, поэтому требуемое расположение поверхностей детали можно обеспечить
только в том случае, если заготовка будет занимать определенное положение в
рабочей зоне станка - это положение достигается в процессе установки ее в
приспособление, т.е. включает базирование - придание заготовке требуемого
положения относительно выбранной системы координат и закрепление - приложение
сил или пар сил для обеспечения постоянства и неизменности положения заготовки,
достигнутого при базировании.
Основные требования к закреплению заготовок:
• закрепление должно обеспечить надежный контакт заготовки с опорами
приспособлений и гарантировать надежное положение заготовки в процессе
обработки;
• силы закрепления не должны вызывать больших деформаций и смятия баз;
• закрепление должно выполняться с минимальными затратами времени и сил
токаря;
• необходимо применять такую схему базирования, которая обеспечивает наименьшую
погрешность закрепления;
• в качестве баз следует использовать простые по форме поверхности.
Конструктивными элементами приспособлений являются установочные и
зажимные устройства.
Установочные элементы называют опорами. Они делятся на основные, координирующие
обрабатываемую заготовку в трех взаимно-перпендикулярных плоскостях, и
вспомогательные, которые подводят к детали в точках приложения сил резания или
сил зажима после того, как заготовка займет определенное положение. Основные
опоры бывают постоянные - спорные пальцы или пластины; регулируемые - домкраты
и плавающие. Последние два вида опор используются, если заготовка занимает
неустойчивое положение.
Зажимные устройства предназначены для доведения заготовок до установочных
элементов приспособления или для их отведения, а также они создают силы зажима,
противодействующие силам резания. Зажимное устройство обычно состоит из
силового механизма и привода. Приводы могут быть механические, пневматические,
гидравлические, электрические, магнитные и т.д. По степени специализации
приспособления подразделяются на универсальные, специализированные и
специальные.
Универсальные приспособления применяют для закрепления заготовок, размеры
которых в значительной степени различаются между собой (например, универсальный
трехкулачковый патрон). Специализированные приспособления (цанговые и
мембранные патроны, оправки и др.) применяются при обработке группы деталей,
сходных по размерам, конфигурации и технологии изготовления. Специальные
приспособления применяются при обработке определенных деталей или при
выполнении определенной операции.
Универсальные приспособления используют в единичном и мелкосерийном
производствах, а специализированные и специальные - в крупносерийном и
массовом.
При выполнении схемы закрепления заготовки на токарном станке обычно
указывают и схему базировании. Примеры выполнения схем установок и базирования
представлены на рис. 6.
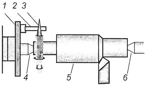
Рис. 6 . Схемы установа и базирования вала: а - установка вала в центрах,
б - базирование вала в центрах, в - установ вала в трехкулачковом патроне,
1,2,3,4,5,6 - опорные точки
Рис. 5. Поводковый патрон (Их применяют при обработке деталей в центрах 4
и 6 станка. Передача вращения осуществляется поводковым патроном 1 через
палец-поводок 2 хвостовику 3 хомутика, который крепится на детали 5 винтом)
В нашем случае при обработке заготовки будем применять поводковые патроны
(см. рис. 5). Они используются на токарных станках при обработке заготовок
деталей типа вала в центрах станка. За счет применения подобных станочных
приспособлений исключается необходимость перестановки заготовки, что
обеспечивает сокращение времени на операцию, повышает производительность и
точность обработки. Кроме того, появляется возможность смены деталей без
остановки станка.
Поводковый патрон через палец-поводок и хвостовик хомутика, который
крепится на заготовке винтом, передает вращение заготовке.
Универсальный поводковый патрон предназначен для базирования заготовок типа
вала и передачи им крутящего момента при обработке в центрах на токарных
станках, в том числе с ЧПУ.
В отверстии корпуса хвостовика установлен плавающий центр и пружина,
расположенная между резьбовыми втулками. В задний торец центра установлена
штанга. Корпус патрона имеет выточку под диск, в котором закреплены через 120°
три неподвижных пальца. На диске установлены также три пальца, на которых
закрепляют сменные эксцентриковые кулачки с зубчатыми поверхностями и
поворотный кожух. Диск, поворачиваясь, увлекает за собой кулачки, которые
пазами охватывают неподвижные пальцы и, перемещаясь вместе с диском,
поворачиваются относительно пальцев, в результате чего кулачки равномерно
зажимают заготовку, передавая ей крутящий момент. При повороте кожуха против
часовой стрелки кулачки раскрываются и фиксируются подпружиненным фиксатором.
6. Нормирование технологического процесса
Техническое нормирование - установление нормы времени на выполнение
определенной работы. Величина затрат времени на изготовление детали при
заданном качестве - один из основных критериев оценки совершенства
технологического процесса. Наиболее распространены
аналитически-исследовательский и аналитически-расчетный методы оценки. Первый
основан на хронометрировании работ и применяется в массовом и крупносерийном
производстве, второй - на математическом расчете норм времени и применяется в
индивидуальном и серийном производстве.
Норма времени на одну деталь определяется по формуле:
Тшк = Тшт +Тпз/N, (мин)
где Тшк - штучно-калькуляционное время, мин; Тшт -
штучное время, мин; Тпз - подготовительно-заключительное время, мин; N- количество деталей в партии, шт.
Подготовительно-заключительное время устанавливается на всю партию
деталей и затрачивается на изучение рабочего чертежа детали, получение заготовок
и сдачу деталей, подготовку рабочего места и т. п. Принимают его в зависимости
от сложности детали и партии обрабатываемых заготовок.
Тшт
= Топ + (1 +
), (мин),
где
К - коэффициент, учитывающий время на техническое и организационное
обслуживание рабочего места, отдых и личные надобности рабочего в процентах к
оперативному времени:
К
= (Тоб + Тп) / Топ·100
где
Тоб - время на организационное и техническое обслуживание рабочего места;
Тп
- время на отдых и личные надобности.
К=(20+30)/5
·100 =0,1
Тшт=5+(1+0,1/100)=6,001
мин
Тшк=6,001+60/5000=6,013
мин
Таким образом, техническая норма времени составляет 6,013 мин.
Заключение
В курсовом проекте разработаны технологические процессы на механическую
обработку детали «Вал» в условиях мелкосерийного производства. Описаны
назначение детали, конструкторские и технологические особенности.
Проведена оценка технологичности конструкции детали. Проанализирован и
выбран метод получения заготовки, произведен расчет минимальных припусков под
обработку.
На основании расчета предложен технологический маршрут обработки детали.
Произведены расчеты режимов резания.
В проекте подобрана и спроектирована технологическая оснастка.
Литература
1. Справочник
конструктора-машиностроителя в 3-ёх томах. Т.1 - 5-е изд., перераб. и доп. -
М.: Машиностроение, 1979.
. Справочник
конструктора-приборостроителя. Проектирование. Основные нормы/В. Л. Соломахо,
Р. И. Томилин, Б. В. Цитович, Л. Г. Юдовин. - Мн.: Выш. шк., 1988.
3. Технология
обработки материалов. Курсовое проектирование. В 2 ч. Ч.1: Выбор инструмента и
назначение режимов резания.: Учебное пособие/ Сост: Г. М. Шахлевич и др. - Мн.:
БГУИР, 2001.
. Технологические
процессы изготовления типовых деталей электронной аппаратуры. В 2 ч. Ч.1:
Технология изготовления осей, валов, втулок, зубчатых колес и многоосных
деталей: Учебное пособие/ А. А. Костюкевич, Г. М. Шахлевич. - Мн.: БГУИР, 2002.
. Машиностроение.
Энциклопедия. Т. III -3. Технология
изготовления деталей машин/ Под общ. ред. А. Г. Суслова - М.: Машиностроение,
2000.
. Типовые
технологические процессы изготовления деталей машин: Учебное пособие/ Ткачев
А.Г., Шубин И.Н. - Тамбов: ТГТУ, 2004.