Разработка изделия 'Стакан гофрированный'
Введение
Сегодня очень востребованы технологические
процессы, обеспечивающие высокое качество изделий при минимальной себестоимости
продукции. Обработка металлов давлением в состоянии сверхпластичности является
одним из технологических способов, которые относительно широко используются не
только в промышленном производстве, но и для изготовления изделий быта, изделий
декоративно - прикладного назначения, имеющих различные геометрические размеры,
форму и требуемые эксплуатационные характеристики.
Сверхпластическая формовка - это совокупность
способов изготовления деталей из тонкостенных плоских или полых заготовок под
небольшим давлением формообразующего газа в оптимальных температурно-скоростных
условиях сверхпластичности.
В основе данной курсовой работы лежит разработка
изделия «Стакан гофрированный», а так же технологический процесс его
изготовления с использованием метода СПФ.
1. Описание детали художественного изделия
«Стакан гофрированный»
Художественное изделие «Стакан гофрированный»
является предметом дизайна , используется в качестве подсвечника или
декоративного украшения помещения.
Стакан гофрированный - это красивый аксессуар,
который способен преобразить дизайн накрытого стола. Модельный ассортимент
современных подсвечников богат и разнообразен. . Сувенирные подсвечники, как
правило, изысканны и аристократичны. Они изготавливаются из различных
материалов: из хрусталя, из чугуна, из стали. Украшаются нанесенными узорами,
искусной гравировкой, декорируются золотом или серебром. Всегда можно найти компромисс
между эстетичностью и практичностью - выберите, к примеру, подсвечники из
цветного металла. Они не менее декоративны , украшаются необычными деталями,
имеют фантазийную форму, при этом они достаточно прочные.
В качестве материала изделия выбирается латунь
Л63. Широкое распространение латуни Л63 объясняется низкой стоимостью и
хорошими физическими свойствами: механическая прочность, легко поддается
обработке, резке, деформации и воздействию давления. Кроме того она имеет
эстетическую ценность, изделия из нее хорошо полируются. Все это делает латунь
Л63 идеальной для изготовления латунных лент, плит, прутков, листов, труб и
латунной проволоки, применяемых в авиапромышленности, в кораблестроении и
автомобилестроении, а также для декоративных элементов в дизайне и архитектуре
и других изделий.
Рисунок 1 - Эскиз детали.
. Определение размеров исходной заготовки для
СПФ, подбор стандартного латунного листа или полосы требуемой толщины
Согласно рисунку 1, художественное изделие
небольшой высоты, значит, его можно изготовить из листового материала. Размер
исходной заготовки вычисляется с учетом припуска на фланец для закрепления
заготовки в матрице.
= Dдет + (2×6)
(1) D
= 110 + (2×6) = 122 мм
Для изготовления декоративного элемента выбран
лист ДПРНМ 0,8 × 600 × 1500
Л63 ГОСТ 931-90 (лист из латуни Л63, толщиной 0,8 мм, шириной 600 мм, длиной
1500 мм): лист холоднокатаный (Д) , прямоугольного сечения (ПР) , нормальной
точности изготовления по ширине и длине (Н) , мягкий (М), временное
сопротивление разрыву от 290 до 400 МПа, относительное удлинение не менее 38%,
твердость 70 НВ.
3. Расчет технологических параметров для
изготовления заготовки для СПФ с приведением схем резки и вырубки
Для детали «Стакан гофрированный» выбран
следующий материал - лист ДПРНМ 1,6×300×1500 Л63 ГОСТ
931-90. Со свойствами: 
в = 380-450 МПа, 
= 40-50%.
Схема резания материала гильотинными
ножницами представлена на рисунке 2.
φ - угол створа ножниц, ƴ -
задний угол, δ
- угол
резания
Рисунок 2 - схема резания гильотинными ножницами.
Усилие резания при резке листового
материала гильотинными ножницами находится по формуле /3, с. 17/:
где Ϭср - сопротивление срезу,
МПа; S -толщина материала, мм;
φ - угол створа ножниц, град. φ=2°…5°.
В технологических расчетах при
разделении металла принимается условная величина Ϭср - сопротивление
срезу, определяемая по формуле /3, с. 22/:
Ϭср = 0,7 × Ϭв ;
(3)
Ϭср = 0,7 × 450 = 315
МПа.
Тогда по формуле (2) получается:
= 
= 1923 Н.
Учитывая наличие изгиба при резке, а
также неравномерность толщины металла и притупление ножей, усилие обычно
увеличивают на 30% и полное усилие резания принимают равным
PH = 1,3 × P; (4)PH =
1,3 ×
1923
= 2,5 кН.
По этому усилию выбираются
электромеханические ножницы гильотинные НД 3312Б с усилием резания 22,4 кН.
Ширина полосы определяется диаметром
D и величиной перемычек а и б, в соответствии с рисунком 3.
В - ширина полосы; а - перемычка
между вырезами; б - боковая перемычка.
Рисунок 3 - стандартная латунная
полоса для заготовок
При толщине материала 0,8 мм а=б=1,2
мм /3, с. 424/. Ширину полосы определяется по формуле /3, с. 424/:
В = D + 2б; (7)
В = 122 + 2 × 1,2
= 124,4
мм
Расчетное усилие вырубки
определяется по формуле /4, с.23/:
Pср = LSσср ,
(8)
где L - длина периметра реза, мм.
L = πD;
(9)
= 3,14 × 124,4
= 390, 81 мм.
Рср = 390,81 × 0,8
× 315
= 98485 Н = 98,5 кН.
Полное усилие среза должно учитывать
поправку на неоднородность материала и затупление режущих кромок введение
поправочного коэффициента k=1,2. Так как применяется прижим заготовки, к
расчетному усилию прибавляется усилие сжатия буферов или пружин. Тогда полное
усилие среза будет определяться по формуле /5, с. 23/:
Р = 1,2Рср + Qб ,
(10)
где Qб - усилие прижима, Н,
определяется по формуле /1, с. 23/:
Qб = k×Pср ,
(11)
где k - коэффициент, зависящий от
типа штампа, для однопуансонного штампа при
S=0,8 мм,
k=0,06 /3, с.28/.б =
0,06 × 98,5
= 5,91 кН. =
1,2 × 98,5
+ 5,91 = 124,11 кН.
По этому усилию выбирается
однокривошипный открытый пресс простого действия, чье усилие составляет 250 кН,
модели КД2124К.
. Определение условий и режимов
сверхпластичности для сверхпластичной латуни Л63
деталь стакан заготовка
латунь
Сверхпластическая формовка (СПФ) -
это совокупность способов изготовления деталей из тонкостенных плоских или
полых заготовок под небольшим давлением формообразующего газа в оптимальных
температурно-скоростных условиях сверхпластичности.
В состояние сверхпластичности
материалы переводятся при следующих условиях:
мелкозернистая структура. Металлы и
сплавы с мелкозернистой структурой с размером зерна до 10-12 мкм (чем меньше
размер зерна, тем выше деформационная способность и ниже напряжение течения
металла). Такое состояние металлы и сплавы переводятся специальной
термохимической и термомеханической обработкой. Одним из основных условий
является то, чтобы зерна имели округлую форму, а их размеры не увеличивались бы
существенно при нагреве и пластической деформации.
низкая скорость деформации. Скорость
деформации должна быть относительно небольшой для того, чтобы в материале могли
полностью пройти диффузионные процессы, с другой стороны, имеются ограничения
по ее максимальному значению, так как чем больше скорость деформации, тем
больше возможности для роста зерен, а значит для снижения пластических свойств
и увеличения напряжения течения. В реальных технологических процессах скорость
деформации в пределах ε
= 10-2..10-4
(с-1)
Относительная деформация 
;
Логарифмическая деформация 
;
Скорость деформирования
(c-1); 
10-3 (с-1).
высокая температура
формообразования. Температура, при которой материалы переходят в
сверхпластическое состояние, колеблется в достаточно широких диапазонах от 0,4
Тплавления до Тплавления и зависит от многих факторов. Основное условие, чтобы
температура распределялась равномерно по всему объему деформируемого металла.
Для установки нужной температуры, её регулировки используются различные типы
температурных датчиков, а сама заготовка устанавливается в формообразующий
инструмент только после полного и равномерного нагрева матрицы до требуемой
температуры.
Тформ. ≈ 0,7 Тпл.;
давление формообразующего газа
отличается на разных этапах СПФ. На первом этапе оно незначительно р1 = 0,2
МПа, а на завершающем этапе оно максимальное р2 = 2 МПа.
В таких условиях для
сверхпластичного формообразования требуется значительно меньшее напряжение,
необходимое для деформирования, чем при обычном деформировании, а значит,
значительно меньшее усилие или давление формообразующего газа, который
используется при сверхпластической формовке деталей из тонколистовых
материалов.
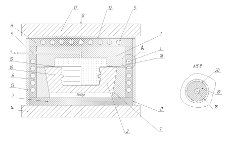
. Разработка схемы конструкций
технологического блока для СПФ заданной детали и описание его работы
Процесс изготовления данного изделия
производится формовкой плоской заготовки в жесткую матрицу.
Рисунок 4 - Схема технологического
блока для СПФ
-универсальная коническая обойма,
используемая для СПФ определенной номенклатуры изделий;
-сменная матрица;
-прижим, обеспечивающий герметичное
защемление фланца заготовки между зубцами матрицы и крышки. Через крышку
подается формообразующий газ;
,5-тепло-электронагревательные
элементы (ТЭНы), состоящие из нагревательного элемента 18, изоляции 19 и
металлической трубки 20;
,7,8- теплоизоляция;
-трубопровод для подачи формующего
газа;
-выход термопары, измеряющей
температуру в области матрицы;
,12,13-кожуха, выполненные гибкой из
тонкого листа, с последующей сваркой;
-опорная плита;
-исходная плоская заготовка;
-заготовка после СПФ.
- подвижная плита;
- нагревательный элемент;
- изоляция;
Заключение
В процессе выполнения курсовой
работы были рассчитаны параметры для изготовления заготовки для СПФ, приведены
схемы резки и вырубки, определены условия и режимы сверхпластичности для
сверхпластичной латуни Л63, разработана схема конструкции технологического
блока для СПФ заданной детали, описана работа блока, также разработан
технологический процесс.
В процессе выполнения данной
курсовой работы были приобретены и закреплены знания по курсу обработки
материалов методом СПФ и освоена методика составления техпроцессов.
Библиографический список
СТП
ВятГУ 101-2004. Общие требования к оформлению текстовых документов. - Киров,
2004.
СТП
ВятГУ 102-2004. Общие требования к структуре, оформлению и представлению
курсовых проектов и работ. - Киров, 2004.
Романовский
В.П. Справочник по холодной штамповке. - Л.: Машиностроение, 1979. - 520с.
Земцов
М.И., Сергеев Д.Г. Разделительные операции холодной листовой штамповки.
Основные виды, расчет технологических параметров. Методические указания/ВятГУ,
ФАМ, каф. ТХОМ - Киров: [б.и.], 2009.-с.
Земцов
М.И., Сергеев Д.Г. Расчет технологических параметров и разработка
технологического процесса вытяжки осесимметричных тонкостенных заготовок.
Методические указания / ВятГУ, ФАМ, каф. ТХОМ - Киров: [б.и.], 2009.- с.
Кайбышев
О.А. Сверхпластичность промышленных сплавов - М.: Металлургия, 1984. - 264 с.
Новиков
И.И., Портной В.К. Сверхпластичность сплавов с ультрамелкозернистым зерном /
под общ. ред. М.Л. Бернштейна, И.И. Новикова. - М.: Металлургия, 1981. - 167
с.: ил. - Библиогр.: с. 159-167.
Смирнов
О.М. Обработка металлов давлением в состоянии сверхпластичности. -
Машиностроение, 1979. - 184 с.: ил. - Библиогр.: с. 181-183.
ГОСТ
931-90 Листы и полосы латунные.