Исследование особенностей информационного обеспечения принятия решений (на примере высшего учебного заведения)

  • Вид работы:
    Курсовая работа (т)
  • Предмет:
    Менеджмент
  • Язык:
    Русский
    ,
    Формат файла:
    MS Word
    580,8 Кб
  • Опубликовано:
    2014-10-11
Вы можете узнать стоимость помощи в написании студенческой работы.
Помощь в написании работы, которую точно примут!

Исследование особенностей информационного обеспечения принятия решений (на примере высшего учебного заведения)

Содержание

Введение

1. Информационное обеспечение принятия решения

1.1 Понятие и природа управленческого решения

1.2 Роль информации при принятии управленческих решений

1.3 Информационные системы и технологии поддержки принятия решений

2. Информационное обеспечение принятия управленческого решения в образовательном процессе ВУЗа

2.1 Проблемная ситуация

2.2 Особенности условий для принятия управленческого решения

2.3 Направления внедрения информационного обеспечения

Заключение

Список используемых источников

Приложения

Введение

Актуальность. Современный этап развития общества характеризуется возрастающей ролью информационной среды, представляющей собой совокупность информации, информационной инфраструктуры, субъектов, осуществляющих сбор, формирование, распространение и использование информации, а также системы регулирования возникающих при этом общественных отношений.

Сегодня информация рассматривается как глобальный процесс, связанный с кардинальными изменениями структуры и характера мирового экономического и социального развития, с переходом к новым поколениям наукоемких технологий, системам техники и материалов и новым видам информационного обмена, решающим образом меняющих характер труда и условия жизни человека.

Составная часть любого управленческого действия руководителя или специалиста - принятие решений. Во всех случаях они должны основываться на результатах анализа той информации, которой он располагает. Если имеющаяся информация полная и достоверная, а ее анализ проведен качественно и оперативно, то, как правило, решения оказываются верными, и тогда цель достигается.

Принятие решений представляет собой сложный процесс, на который оказывает воздействие целый ряд внутренних и внешних факторов. Часто руководителям, менеджерам предприятий приходится принимать быстрые решения, при этом возникает необходимость в получении оперативной информации.

Уровень развития средств вычислительной техники на сегодня позволяет эффективно решать эту проблему: использование информационных систем за счет применения современных средств сбора, передачи и обработки информации, дает возможность оптимизировать и рационализировать управленческую функцию принятия решений.

Состояние изученности проблемы. Будучи одним из центральных процессов управления, принятие решений стало объектом пристального внимания исследователей. Вопросам исследования проблем управленческих решений, связанных с принятием управленческих решений в своих работах уделяли внимание А.С. Алексеев, К.А. Багриновский, В.Д. Бройдо, В.В. Глущенко, И.И. Глущенко, Л.Г. Евланов, И.Б. Загайтов, А.К. Камалян, Н.Л. Карданская, А.А. Козырев, М.А. Королев, В.П. Косарев, А.П. Курносов, И.Д. Ладанов, С.В. Ломакин, М.Ф. Мизинцева, Я.Р. Рельян, С.В. Симонович, Е.Ю. Хрусталев, Л.П. Яновский и др.

В исследование проблем формирования информационной среды управленческой деятельности существенный вклад внесли специалисты разных направлений: основополагающие положения о сущности информации, информатизации и управленческой информации содержатся в работах В.А. Козбаненко, П.Ф. Иванова; проблемы информационной безопасности рассматриваются в работах И.К. Корнеева, Е.А. Степанова, Е.Е. Степановой; информационное обеспечение в системах управления рассматривается в работах М.Я. Клепцова, О.П. Ильиной; в разработку критериев эффективности информационного обеспечения управления значительный вклад внес Э.В. Афанасьев.

В качестве объекта исследования выступает система информационного обеспечения, предметом - процесс информационного обеспечения разработки и принятия управленческих решений.

Целью данной курсовой работы является исследование особенностей информационного обеспечения принятия решений (на примере высшего учебного заведения).

При этом решены следующие задачи:

дано понятие управленческого решения;

изучены теоретические основы разработки управленческих решений;

выявлена роль информации в принятии управленческих решений;

охарактеризованы информационные системы и технологии поддержки принятия решений;

исследованы особенности информационного обеспечения в сфере управленческих решений в образовании (на примере ВУЗа).

Теоретико-методологической основой для исследования явились труды вышеназванных и других авторов, учебная и методическая литература по теме исследования.

Также в работе использованы результаты практических исследований, авторефераты, аналитические статьи, посвященные проблемам информационного обеспечения принятия управленческих решений, опубликованные в СМИ и в Интернет.

Методы исследования: теоретический анализ литературных источников; обработка информации; сравнение и обобщение.

Структура курсовой работы включает в себя: введение, основную часть из двух глав, заключение, список используемых источников и приложений.

1. Информационное обеспечение принятия решения

1.1 Понятие и природа управленческого решения

Среди множества проблем современного менеджмента одной из важнейших является разработка, принятие и осуществление управленческого решения, представляющего собой основной инструмент управляющего воздействия.

Обычно в процессе какой-либо деятельности возникают ситуации, когда человек или группа сталкиваются с необходимостью выбора одного из нескольких возможных вариантов действия. Такая ситуация объясняется действием двух основных факторов:

наличием цели, т.е. желательным или наиболее предпочтительным состоянием в будущем;

наличием выбора, т.е. несколькими путями или способами ее достижения.

Результат этого выбора и будет являться решением. Таким образом, управленческое решение - это сознательный выбор из имеющихся вариантов и альтернатив направления действий, осуществленный лицом, принимающим решение (ЛПР), в рамках его полномочий и компетенции и направленный на достижение целей организации.

В литературе по менеджменту понятия принятия решений и управленческой деятельности настолько тесно переплетены и взаимосвязаны, что часто употребляются как синонимы. И это не случайно. Процессы принятия управленческих решений занимают центральное, иерархически главное место в структуре управленческой деятельности, т.к. именно они в наибольшей мере определяют как содержание этой деятельности, так и ее результаты. Следовательно, управленческое решение - вид управленческого труда, совокупность взаимосвязанных, целенаправленных и логически последовательных управленческих действий, обеспечивающих реализацию управленческих задач. Т.е., принятие решений - это составная часть любой управленческой функции.

Любая теория включает классификацию объекта исследования, т.е. выделения однотипных групп. Классификация решений возможна по различным критериям. В Приложении 1 приведен пример некоторых критериев классификации.

Процесс принятия решений довольно точно отражает реальные проблемы, отношения и связи, сложившиеся в организации, а их (решений) непрерывная последовательность характеризует непрерывность процесса управления. Более того, только изучение процесса разработки и реализации решений дает возможность оценить содержательную сторону управления, т.к. содержание управления раскрывается в содержании принимаемых решений. Поэтому так важно понять природу и сущность решений.

Понимание характера управленческих решений зависит от точки зрения на место и роль процесса принятия решений в системе менеджмента. С позиций системного анализа процесс управления является - процессом решения проблем организации, возникающих по мере ее функционирования и развития. Цикл управления всегда начинается с постановки целей и выявления проблем, продолжается разработкой и принятием необходимого решения и заканчивается организацией и контролем его выполнения. Цель управленческого решения - обеспечение движения к поставленным перед организацией задачам.

Анализ полученного результата служит источником выявления новых проблем и принятия новых решений, возобновляя, таким образом, управленческий цикл. Принципиальная схема процесса представлена на рис. 1.

Схема наглядно показывает, что всякое управление реализует вполне определенную последовательность трех основных этапов:

определяет состояние управляемого объекта (идентификация проблемы);

вырабатывает для данного состояния оптимальное воздействие (разработка и принятие решения);

реализует его (реализация решения).

Необходимость принятия решений возникает на всех этапах процесса управления и связана со всеми участками и аспектами управленческой деятельности.

Рисунок 1 - Схема процессов управления и формирования решения

Таким образом, смысл управленческой деятельности состоит в обеспечении достижения организацией поставленных целей. Содержание же управления заключается в выработке определенных мер, направленных на реализацию этих целей. В практике управления разработка таких мер осуществляется в форме принятия и исполнения управленческих решений.

Для руководителя принятие решений не является самоцелью. Основное, что должно заботить менеджера, - выбор альтернативы, а не разрешение определенной управленческой проблемы. Для разрешения же проблемы очень часто требуется не единичное решение, a определенная последовательность решений и, главное, их осуществление. Поэтому решение - это не одномоментный акт, а результат процесса, развивающегося во времени и имеющего определенную структуру.

Исходя из этого, можно дать следующее определение этого процесса: «процесс принятия решений - циклическая последовательность действий субъекта управления, направленных на разрешение проблем организации и заключающихся в анализе ситуации, генерации альтернатив, принятии решения и организации его выполнения».

Наиболее целостное и наглядное представление о процессе принятия решений (ППР) дает схема, отражающая его основные стадии и порядок их следования (рис. 2).

Рисунок 2 - Состав и последовательность процедур процесса принятия управленческих решений

Процедура принятия управленческого решения всегда опирается на первоисточник - имеющуюся в распоряжении руководителя, информацию. Наличие достоверной и оперативной информации является необходимым условием для принятия обоснованных управленческих решений. При этом, основополагающая база процесса принятия управленческих решений - информация.

Принимаемые управленческие решения в современных условиях должны удовлетворять совокупности конкретных требований, которые могут быть выполнены при определенном содержании информации (табл. 1).

Таблица 1 - Соответствие информационного обеспечения требованиям качества управленческих решений

Требования к качеству управленческих решений

Содержание информации

Соответствие действующему законодательству и уставным документам

Наличие информации об изменениях в нормативном регулировании

Четкая целевая направленность и адресность

Данные о центрах ответственности, возникновении проблем, детализации генеральной цели

Своевременность Обоснованность

Доступность и качественность информации, гибкость, подвижность системы информационного обеспечения

Реальность (возможность выполнения)

Непротиворечивость ранее принятым решениям

Сведения о ранее принятых решениях по соответствующим вопросам

Учет возможных отрицательных последствий

Наличие банка данных об анализе последствий ранее принятых решений на основе проведения комплексного анализа

Соблюдение функциональных ограничений

Перечень должностных обязанностей и полномочий руководящих работников

Ориентир на возможное влияние внешних факторов

Сведения о динамике цен, конъюнктуре рынка и др. сведения, касающиеся внешнего воздействия

Учет перспектив развития организации

Сведения о потенциальных возможностях организации, тенденциях развития отрасли, экономики в целом


Таким образом, для принятия обоснованных управленческих решений важно уметь использовать именно ту информацию, которая уменьшит неопределенность развивающихся тенденций и событий и поможет принять оптимальное решение.

.2 Роль информации при принятии управленческих решений

Современный менеджер должен обладать незаурядными аналитическими способностями, которые позволяли бы ему адекватно оценивать текущую и специально собранную информацию, касающуюся всей гаммы внешних и внутренних факторов. Это необходимо для того, чтобы ставить реальные цели, разрабатывать, принимать и реализовывать соответствующие управленческие решения. Важно постоянно контролировать выполнение принятых решений, вовремя корректировать цели и, как следствие, корректировать средства их достижения. Другими словами, управление является фундаментом общего подхода к управлению всей компанией.

Одним из наиболее мощных инструментов в руках менеджера является информация (факты, оценки, прогнозы, обобщение связи, слухи и т.д.), т.е. информация является предметом управленческого труда, и средством обоснования управленческих решений.

Основные требования к качеству информации: комплексность информационной системы; своевременность; достоверность (с определенной вероятностью); достаточность; надежность; адресность; правовая корректность; многократность использования; высокая скорость отбора, обработки и передачи; возможность кодирования; актуальность.

Ценность и своевременность управленческого решения в огромной степени зависят от способности менеджера в нужный момент произвести сбор, анализ и толкование информации (табл. 2).

Таблица 2 - Потребность информации в зависимости от стадии управления

Стадии управления

Потребность в информации

1. Выявление проблем и возможностей, у становление критериев

Контроль деятельности. отображение изменившихся условий и новых возможностей

2. Точное определение проблем и возможностей

Оценка факторов, влияющих на результаты, прогнозы, оценки

3. Принятие решения

Прогнозирование результатов для разработки альтернативных вариантов деятельности

4. Исполнение

-

5. Контроль исполнения

Оценка деятельности


Итак, эффективное управление и принятие управленческих решений, невозможно без достоверной и объективной информации, без сбора информации и ее обработки. В целом, для принятия решений в организации необходима информация, содержащая следующие сведения:

цели и задачи управляемого объекта;

критерии деятельности и границы управляемого объекта;

состояние объекта управления;

механизм функционирования, закономерности тенденции развития объекта;

возможные изменения условий деятельности организации;

альтернативные стратегии деятельности;

возможные альтернативные решения;

последствия реализации альтернатив;

механизм выбора лучшей альтернативы.

Таким образом, информация представляет собой совокупность сведений об объекте, ситуации, проблеме, которая дает возможность принимать эффективные решения. В управленческом процессе информация играет первостепенную роль. Это обусловлено тем, что без наличия информации о субъекте и объекте управления, внешней среде, изменениях во внутренней среде невозможно управление организацией. Особую актуальность информация приобретает в процессе принятия управленческих решений, так как ее присутствие наблюдается на всех стадиях, начиная с анализа и заканчивая принятием самого решения. Именно от наличия и качества информации, которой подкреплен процесс разработки, и принятия решений зависит правильность, достоверность и эффективность принятого решения.

Информационное обеспечение - важнейший элемент информационной системы и информационной технологии - предназначено для отражения информации, характеризующей состояние управляемого объекта и являющейся основой для принятия управленческих решений.

Информационное обеспечение включает совокупность единой системы показателей, потоков информации - вариантов организации документооборота; систем классификации и кодирования экономической информации, унифицированную систему документации и различные информационные массивы (файлы), хранящиеся в машине и на машинных носителях и имеющие различную степень организации.

Информационное обеспечение управления осуществляется с помощью информационной системы. Информационная система - это средство организации информационного обеспечения процесса управления, способствующее своевременному поступлению необходимой и достоверной информации во все звенья системы управления, нуждающиеся в ней.

Для целевого распределения информации по адресатам необходима интегрированная информационная система, направленная на решение задач, стоящих перед предприятием, и являющаяся отражением протекающих бизнес процессов. Преимуществами подхода к управлению (в противоположность свободной импровизации, интуиции или бездеятельности) на основе интенсивного использования информационных систем являются:

обеспечение направленности идей организации на ключевой вопрос стратегии «что мы собираемся делать и чего добиваемся?»

необходимость для менеджеров более четко реагировать на появляющиеся перемены, новые возможности и угрожающие тенденции;

возможность для менеджеров оценивать альтернативные варианты капитальных вложений и расширения персонала, т.е. разумно переносить ресурсы в стратегически обоснованные и высокоэффективные проекты;

возможность объединить решения руководителей всех уровней управления, связанных со стратегией.

Информационное обеспечение - одна из важнейших обеспечивающих функций, качество которой является определяющим фактором обоснованности принимаемого решения и эффективности функционирования системы менеджмента. В практике менеджмента используется техника управления, представляющая собой взаимоувязанный комплекс технических средств, предназначенный для механизации и автоматизации информационных процессов в системе управления организацией с целью выработки рациональных решений.

Выделяют средства сбора и регистрации, передачи, ввода, накопления, обработки, вывода, отображения и размножения информации.

) Средства сбора и регистрации информации осуществляют фиксацию первичной информации в месте ее возникновения на документальный или машинный носитель (ленты, диски) с одновременным получением машинного документа на печатающем устройстве или дисплее (мониторе).

) Средства передачи информации осуществляют передачу информации от источника сообщения до получателя по каналам почтовой, телефонной, телеграфной, мобильной, оптической, радио- или космической связи на значительное расстояние. Они позволяют существенно сократить время и скорость передачи информации по сравнению с курьерской и почтовой связью.

) Средства ввода-вывода информации предназначены для ввода исходных данных в ЭВМ с голоса человека, ручных документов, магнитоносителей и экранов дисплеев, а также для вывода результативной информации в виде речевой информации, машинных документов на бумаге, экране дисплеев или тех же магнитоносителях.

) Средства накопления информации предназначены для хранения документальной информации или систематизированной закодированной информации на машинных носителях со стирающейся записью (магнитные диски, дискеты, ленты, кассеты).

) Средства обработки информации производят арифметические и логические операции над входной информацией по заранее составленным человеком программам. Программа обработки может изменяться и совершенствоваться, за исключением программы обработки информации в калькуляторах, в которых она жестко определена конструкцией машины.

) Средства отображения информации осуществляют представление алфавитно-цифровой и графической информации на мнемосхеме, экране дисплея или в виде чертежа на графопостроителе. Отображение информации производится по командам ЭВМ или с накопителя на магнитных дисках.

) Средства размножения информации производят изготовление копий документов и чертежей с возможным изменением их геометрических размеров. Средства предусматривают размножение информации с использованием специальных свето-, фото- и термочувствительных бумаги или пленки.

Таким образом, все процессы преобразования информации в информационной системе осуществляются с помощью информационных технологий, которые реализуются в рамках информационной системы.

1.3 Информационные системы и технологии поддержки принятия решений

Разработка и принятие решений в процессе управления организацией при постоянно меняющихся внешних и внутренних условиях ее функционирования требуют использования адекватных методов информационного обеспечения и возможностей, предоставляемых современными информационными технологиями.

Информационная технология - это система методов и способов сбора, передачи, накопления, обработки, хранения, представления и использования информации. Т.е., информационная технология - это способ преобразования информации.

В информационной системе (ИС) можно использовать много таких технологий. Большинство систем управления является многоуровневыми, или иерархическими. Тип информационной системы зависит от того, чьи интересы она обслуживает и на каком уровне управления. На рис. 3 показан один из возможных вариантов классификации информационных систем по функциональному признаку с учетом уровней управления и уровней квалификации персонала.

Из рисунка видно, что чем выше по значимости уровень управления, тем меньше объем работ, выполняемых специалистом с помощью информационной системы, но при этом возрастают сложность и интеллектуальные возможности информационной системы и ее роль в принятии решений.

Однако, в информации нуждается любой уровень управления из всех функциональных систем, но в разных объемах и с разной степенью обобщения.

Рисунок 3 - Типы информационных систем в зависимости от функционального признака с учетом уровней управления и квалификации персонала (пирамида)

Основание пирамиды составляют информационные системы, с помощью которых сотрудники-исполнители занимаются операционной обработкой данных, а менеджеры низшего звена оперативным управлением.

На верху пирамиды, на уровне стратегического управления информационные системы изменяют свою роль и становятся стратегическими, поддерживающими деятельность менеджеров высшего звена по принятию решений в условиях плохой структурированности поставленных задач.

Информационная система оперативного (операционного) уровня поддерживает специалистов-исполнителей, обрабатывая данные о сделках и событиях (счета, накладные, зарплата, кредиты, поток сырья и материалов).

Назначение ИС на этом уровне - отвечать на запросы о текущем состоянии и отслеживать поток сделок в фирме, что соответствует оперативному управлению. Чтобы с этим справляться, информационная система должна быть легкодоступной, непрерывно действующей и предоставлять точную информацию.

Информационная система оперативного уровня является связующим звеном между фирмой и внешней средой. Если система работает плохо, то организация либо не получает информации извне, либо не выдает информацию. Кроме того, система - это основной поставщик информации для остальных типов информационных систем в организации, так как содержит и оперативную, и архивную информацию. Отключение этой ИС привело бы к необратимым негативным последствиям.

К ИС оперативного уровня относятся: бухгалтерская; банковских депозитов; обработки заказов; регистрации авиабилетов; выплаты зарплаты и т.д.

Информационные системы специалистов помогают специалистам, работающим с данными, повышают продуктивность и производительность работы инженеров и проектировщиков. Задача подобных ИС - интеграция новых сведений в организацию и помощь в обработке бумажных документов.

По мере того как индустриальное общество трансформируется в информационное, производительность экономики все больше будет зависеть от уровня развития этих систем. Такие системы, особенно в виде рабочих станций и офисных систем, наиболее быстро развиваются сегодня в бизнесе. В этом классе информационных систем можно выделить две группы:

) информационные системы офисной автоматизации;

) информационные системы обработки знаний.

Информационные системы офисной автоматизации, вследствие своей простоты и многопрофильности, активно используются работниками любого организационного уровня. Наиболее часто их применяют работники средней квалификации: бухгалтеры, секретари, клерки. Основная цель - обработка данных, повышение эффективности их работы и упрощение канцелярского труда.

ИС офисной автоматизации связывают воедино работников информационной сферы в разных регионах и помогают поддерживать связь с покупателями, заказчиками и другими организациями. Их деятельность в основном охватывает управление документацией, коммуникации, составление расписаний и т.д. Эти системы выполняют следующие функции:

обработка текстов на компьютерах с помощью текстовых процессоров;

производство высококачественной печатной продукции;

архивация документов;

электронные календари и записные книжки для ведения деловой информации;

электронная и аудиопочта; видео- и телеконференции.

Информационные системы обработки знаний, в том числе и экспертные системы, вбирают в себя знания, необходимые инженерам, юристам, ученым при разработке или создании нового продукта. Их работа заключается в создании новой информации и нового знания. Так, например, существующие специализированные рабочие станции по инженерному и научному проектированию позволяют обеспечить высокий уровень технических разработок.

Информационные системы для среднего управленческого звена используются для мониторинга (постоянного слежения), контроля, принятия решений и администрирования. Основные функции этих ИС:

сравнение текущих показателей с прошлыми; составление периодических отчетов за определенное время;

выдача отчетов по текущим событиям, в том числе на оперативном уровне; обеспечение доступа к архивной информации и т.д.

Некоторые ИС обеспечивают принятие нетривиальных решений. В случае, когда требования к информационному обеспечению определены не строго, они способны отвечать на вопрос: «что будет, если ...?».

На этом уровне можно выделить два типа информационных систем: управленческие (для менеджмента) и системы поддержки принятия решений.

) Управленческие информационные системы имеют крайне небольшие аналитические возможности. Они обслуживают управленцев, которые нуждаются в ежедневной, еженедельной информации о состоянии дел. Основное их назначение состоит в отслеживании ежедневных операций в фирме и периодическом формировании строго структурированных сводных типовых отчетов. Информация поступает из информационной системы операционного уровня. Характеристики управленческих ИС:

используются для поддержки принятия решений структурированных и частично структурированных задач на уровне контроля за операциями;

ориентированы на контроль, отчетность и принятие решений по оперативной обстановке;

опираются на существующие данные и их потоки внутри организации;

имеют малые аналитические возможности и негибкую структуру.

) Системы поддержки принятия решений обслуживают частично структурированные задачи, результаты которых трудно спрогнозировать заранее. Они имеют более мощный аналитический аппарат с несколькими моделями. Информацию получают из управленческих и операционных информационных систем. Используют эти системы все, кому необходимо принимать решение: менеджеры, специалисты, аналитики и пр., например, их рекомендации могут пригодиться при принятии решения покупать или взять оборудование в аренду.

Характеристики систем поддержки принятия решений:

обеспечивают решение проблем, развитие которых трудно прогнозировать;

оснащены сложными инструментальными средствами моделирования и анализа;

позволяют легко менять постановки решаемых задач и входные данные;

отличаются гибкостью и легко адаптируются к изменению условий по несколько раз в день;

имеют технологию, максимально ориентированную на пользователя.

Стратегические информационные системы. Развитие и успех любой организации (фирмы) во многом определяются принятой в ней стратегией - набором методов и средств решения перспективных долгосрочных задач.

В настоящее время, в связи с переходом к рыночным отношениям, вопросу стратегии развития и поведения фирмы стали уделять большое внимание, что способствовало и коренному изменению во взглядах на информационные системы. Они стали расцениваться как стратегически важные системы, которые влияют на изменение выбора целей фирмы, ее задач, методов, продуктов, услуг, позволяя опередить конкурентов, а также наладить более тесное взаимодействие с потребителями и поставщиками. Появился новый тип информационных систем - стратегический.

Стратегическая информационная система - компьютерная информационная система, обеспечивающая поддержку принятия решений по реализации стратегических перспективных целей развития организации. Известны ситуации, когда новое качество информационных систем заставляло изменять не только структуру, но и профиль фирм, содействуя их процветанию.

Информационные системы стратегического уровня помогают высшему звену управленцев решать неструктурированные задачи, осуществлять долгосрочное планирование. Основная задача - сравнение происходящих во внешнем окружении изменений с существующим потенциалом фирмы. Они призваны создать общую среду компьютерной и телекоммуникационной поддержки решений в неожиданно возникающих ситуациях. Используя самые совершенные программы, эти системы, как средство оперативного предоставления менеджеру необходимой информации для принятия решений, способны в любой момент предоставить информацию из многих источников.

Одним из научных направлений, связанных с расширением возможностей интеллектуальной деятельности человека, являются исследования, направленные на усиление аналитических возможностей человека в процессе выработки и принятия решений, и приводящие к созданию интеллектуальных систем, под которыми понимают системы, созданные, в основном, для расширения возможностей интеллектуальной деятельности человека в процессах принятия решений.

Во многом благодаря их применению стал возможен качественный скачок в развитии управленческих технологий. Всеобщая компьютеризация, сделавшая доступным использование научных методов разработки и обоснования решений, позволяет создавать автоматизированные информационные системы, обеспечивающие качественно новые подходы к пониманию и осуществлению управленческой деятельности. А поскольку управленческая деятельность - это, прежде всего, принятие решений на уровне государства, региона, отрасли, концерна, организации, структурного подразделения и, наконец, отдельного работника, становится понятным, насколько широк диапазон возможного применения интеллектуальных систем.

Назначение их довольно разнообразно. Это могут быть сравнительно простые системы массового применения, основная задача которых - предоставить доступ к знаниям и опыту экспертов специалистам менее высокой квалификации. А могут быть и весьма сложные, предназначенные для проведения коллективной экспертизы при решении нестандартных проблем, требующих тщательного профессионального анализа и прогнозирования ситуации.

В зависимости от назначения и предоставляемых пользователю возможностей можно выделить три типа интеллектуальных систем:

экспертные системы (ЭС);

системы поддержки принятия решений (СППР);

автоматизированные системы экспертного оценивания (АСЭО).

Экспертные системы относятся к числу интеллектуальных систем, предназначенных для массового использования, и выполняют две основные функции: консультанта, помогающего в решении той или иной задачи, и эксперта, непосредственно эту задачу решающего. Они содержат значительный объем знаний в какой-либо предметной области - базу данных. Эти знания хорошо организованы, т.е. структурированы, закодированы, сопровождены системой правил логического вывода и готовы для использования в условиях конкретной ситуации, представляющей интерес для пользователя. В ответ на его запрос ЭС выдает диагноз ситуации, рекомендации и советы, по своему качеству вполне соответствующие уровню эксперта высокой квалификации. Таким образом, опыт, знания, логически объяснимые заключения, которые делает высококвалифицированный эксперт в определенной области деятельности, благодаря экспертным системам становятся достоянием широкого круга специалистов. Такие системы нашли применение в медицине и геологии, экономике и технике, сельском хозяйстве и т.д.

Важной особенностью ЭС является то, что любая рекомендация, выработанная ею, любое суждение, могут быть объяснены при запросе пользователя. Успешность применения любой системы во многом зависит от степени доверия к результатам ее работы. Поэтому экспертная система в любой момент должна быть готова объяснить, почему сделано то или иное заключение, тот или иной вывод, и представить логическую цепочку рассуждений и фактов, приводящих к нему. Желание пользователя понимать то, что делает ЭС и иметь возможность контролировать ход рассуждений вполне естественно и должно быть удовлетворено. Поэтому очень большое значение при создании экспертных систем, кроме базы данных, придается другому важнейшему их элементу - интерфейсу - организации диалога «пользователь - компьютер». Кроме того, структура ЭС содержит также подсистему накопления и обновления знаний.

Таким образом, экспертная система - эффективный инструмент повышения обоснованности и качества решений менеджера за счет обращения к знаниям и опыту высококвалифицированных экспертов.

Системы поддержки принятия решений предназначена для информационной поддержки ЛПР (менеджера) в процессе принятия решений и может быть определена как интерактивная, реализованная на компьютере система, обеспечивающая простой доступ к моделям и информации, используемым для разработки альтернатив и выбора решений. Область применения СППР, прежде всего, нестандартные ситуации и слабоструктурированные проблемы. Для них характерно наличие неопределенности, делающей практически невозможным отыскание единственной объективно наилучшей альтернативы решения. Процедура принятия решений в таких ситуациях требует механизма определения системы предпочтений ЛПР и более глубокого сравнительного анализа альтернативных вариантов. К основным принципам формирования и использования СППР можно отнести:

обеспечение ЛПР необходимой информацией в максимально возможном объеме;

возможность оперативного поиска информации;

генерирование альтернативных вариантов решений;

предоставление прогнозных оценок результатов реализации возможных альтернатив;

постоянная эволюция системы за счет наращивания ее возможностей.

Системы поддержки принятия решений могут использоваться для различных задач и на различных уровнях принятия решений. Так, например, они могут быть полезны при анализе и прогнозировании динамики конъюнктуры рынка, при разработке стратегии развития организации, при оценке потенциала предприятия и проектов его реконструкции или технического перевооружения, повышения качества выпускаемой продукции и т.д. Нередки ситуации, когда принимать решения приходится в условиях активного взаимодействия нескольких ЛПР, каждый из которых помимо общей, стремится к достижению собственных целей. Они характерны, например, при кооперации производства в рамках нескольких предприятий, при реализации сложных многосторонних коммерческих проектов или научно-технических программ и т.п. В этих случаях приходится принимать компромиссные решения с учетом интересов отдельных участников. Поэтому при создании СППР большое внимание уделяется не только проведению диалога «человек - компьютер», но и возможности организации диалога между различными участниками процесса выработки решения. Для этого применяются так называемые распределенные человеко-машинные системы, реализованные в виде локальной либо общей сети персональных компьютеров. Это позволяет сблизить различные точки зрения ЛПР, участвующих в процессе, и прийти к согласованному решению.

Особое значение имеют распределенные системы принятия решений при управлении крупномасштабными объектами, такими, как, например, энергетические или транспортные системы. В таких случаях компетенция, функции и ответственность оказываются разделенными между несколькими ЛПР, находящимися на разных уровнях иерархии. Это означает необходимость использовать процедуры параллельной подготовки, обоснования и корректировки решений, а также обмена информацией, которой обладают различные участники данного процесса.

Еще одной отличительной особенностью СППР в сравнении с ЭС является более значительная и активная роль менеджера. Ему принадлежит право запрашивать информацию, относящуюся к любой области его деятельности, определять ее объем и глубину анализа, учитывать мнения и оценки тех экспертов, которые представляют для него наибольший интерес. Разумеется, за ним и окончательный выбор.

Автоматизированные системы экспертного оценивания - системы, предназначенные для автоматизации сложных экспертных процедур и повышения эффективности использования высококвалифицированных специалистов в качестве экспертов при выработке управленческих решений.

Основная задача АСЭО - решение сложных управленческих проблем на основе надежной, профессионально обработанной и корректно примененной информации. Основные свойства АСЭО, отличающие ее от других типов интеллектуальных систем - ЭС и СППР:

АСЭО - сложная иерархическая система, позволяющая организовать весь цикл проведения экспертизы от формирования целей исследуемого объекта до анализа полученного результата. При этом в АСЭО предусмотрено взаимодействие экспертов, аналитической группы и операторов.

в АСЭО предусмотрена оценка качеств каждого эксперта, в том числе оценка степени его профессионального знакомства с объектами экспертизы.

обязательным элементом АСЭО является развитая оценочная система с возможностью ее настройки на конкретный объект экспертизы. Так, например, для оценки эффективности деятельности фирмы используются одни критерии, для отдельного ее подразделения - другие, а для сотрудников - третьи.

в АСЭО предусматривается возможность коллективной оценки сравниваемых альтернатив при использовании различных методов организации и проведения экспертиз.

АСЭО предусматривает анализ результатов экспертизы, в частности, возможность определения результирующей экспертной оценки, а также степени согласованности мнений экспертов.

Вывод по первой главе

Таким образом, разработка, принятие и реализация решений являются концентрированным выражением самой сущности управления.

Решение - это выбор альтернативы.

Необходимость принятия решений объясняется сознательным и целенаправленным характером человеческой деятельности, возникает на всех этапах процесса управления и составляет часть любой функции менеджмента.

Принятие решения - это результат процесса, имеющего определенную продолжительность и структуру.

Процесс принятия решений - циклическая последовательность действий субъекта управления, направленных на разрешение проблем организации и заключающихся в анализе ситуации, генерации альтернатив, выборе из них наилучшей и ее реализации. Основными характеристиками качества управленческих решений являются: обоснованность, своевременность, непротиворечивость, адаптивность, реальность.

На характер принимаемых управленческих решений огромное влияние оказывает степень полноты и достоверности информации, которой располагает менеджер. Получение информации - сущность информационного обеспечения.

Информационное обеспечение - одно из важнейших обеспечивающих функций, качество которой является определяющим фактором обоснованности принимаемого решения и эффективности функционирования организации.

Цель информационного обеспечения организации состоит в том, чтобы на базе собранных исходных данных получить обработанную, агрегированную информацию, которая должна служить основой для принятия управленческих решений. Достижение этой цели складывается из решения ряда частных задач, таких как сбор первичной информации, ее хранение, распределение между структурными подразделениями организации и их работниками, подготовка к переработке, собственно переработка, предоставление органу управления в переработанном виде, анализ, обеспечение прямых и обратных связей в ее циркуляции и т.д.

Таким образом, руководитель любого уровня, осуществляет свои функции, основываясь лишь на доступной ему информации об объекте управления. Он проводит текущие мероприятия, организует контроль, анализ состояния организации, оценивает тенденции ее развития и т.п., - все это требует организации информационного обслуживания (предоставления нужной информации в нужные время и место), создания информационной среды, способствующей выполнению поставленных целей. Осуществление таких действий и есть информационное обеспечение управленческой деятельности для принятия эффективного решения.

2. Информационное обеспечение принятия управленческого решения в образовательном процессе ВУЗа

.1 Проблемная ситуация

Управленческая деятельность в образовании в последнее десятилетие является приоритетным направлением в развитии общества.

Осуществление функций управления во многом зависит от внедрения строго продуманной системы внутренней информации учреждения и отчетности, единых форм учебно-педагогической документации. Только на основе ритмично действующей прямой и обратной связи, достоверной информации руководитель может ставить конкретные задачи, принимать правильные решения, обеспечить их практическую реализацию. Одним из перспективных средств повышения качества управления образовательным учреждением на современном этапе является создание информационных стандартов, удовлетворяющих информационные потребности всех субъектов управления, оказывающих информационную поддержку, обеспечивая процесс принятия решений большим объемом полезной информации, позволяющих оптимизировать информационные потоки и привести трудоемкость в соответствие с функционалом руководителей и всех участников учебно-воспитательного процесса в образовательном учреждении.

Современное положение дел в высших учебных заведениях (ВУЗах) характеризуется, прежде всего, переходом от управления учреждениями и людьми к управлению информационными потоками. В условиях динамично меняющейся социально-экономической ситуации принятие эффективных решений невозможно без использования своевременной и достоверной информации. Проблематику информационного обеспечения разработки и реализации управленческих решений, рассмотрим на примере информационного обеспечения управления образованием и модели ее использования на уровне ВУЗа, разработанной в Юридическом институте СФУ.

Учебно-воспитательный процесс в высшем учебном заведении предполагает высокое качество принятия управленческих решений по основным направлениям деятельности в учебной, воспитательной, научной и методической работе, для этого требуется разработка и создание новых информационных технологий.

Сегодня практически во всех учебных заведениях существуют собственные программы использования информационных потоков в процессе управления и внедрения информационных технологий в образовательный процесс. В большинстве этих программ на первом этапе ставились задачи по созданию учебных компьютерных классов и внедрения обучающих и контролирующих задач. Одновременно шло накопление компьютерной техники в административных службах вузов на рабочих местах администраторов: деканатах, кафедрах, учебном отделе и т.д., которые в основном используются как оргтехника; в отдельных случаях используются локальные базы данных MS Access, например, составление расписания учебных занятий, учет результатов научной деятельности учебных заведений; часто применяются электронные таблицы Excel с элементами программирования, например, планирование и учет учебной нагрузки кафедры и отдельного преподавателя.

В контексте рассматриваемой проблематики традиционная культура обладает следующими характеристиками:

собирается много различных одноразовых данных; данные, собранные под конкретный запрос, остаются в дальнейшем без внимания и не используются для других целей, а в случае необходимости соответствующая информация собирается заново;

способы сбора данных не гарантируют их достоверности: используются малопонятные (для опрашиваемых) и неунифицированные формы для получения информации, часто необходимая информация собирается «по звонку»;

есть числовые данные, нет аналитики: полученным данным редко дается аналитическая интерпретация на понятном для управленца языке, в результате решения принимаются без учета существующих закономерностей и тенденций;

решения принимаются по принципу «из опыта работы»: низкая квалификация управленческих кадров в работе с аналитикой и ее нехватка приводят к тому, что решения принимаются управленцами на основе собственного опыта, в уверенности, что они и так все хорошо знают про систему образования, в которой работают.

Можно уверенно сказать, что существует явное противоречие между традиционной культурой принятия управленческих решений и происходящими изменениями в сфере образования. Требуют рассмотрения изменения:

в связи с процессами информатизации рост числа электронных ресурсов, когда они становятся общедоступными;

в рамках процедур оценки качества образования появление объективных и сопоставимых данных;

появление идеологии управления, ориентированного на результат (бюджетирование, ориентированное на результат);

подготовка управленцев образования по специальным образовательным программам.

Все перечисленные условия определяют необходимость работы со сложными, разноуровневыми и постоянно меняющимися информационными потоками. И потому информационно-аналитическое обеспечение становится одним из главных сервисов в организации управленческой деятельности ВУЗа.

Для этого необходимо информационное обеспечение в процессе принятия управленческих решений на основе создания программного продукта, позволяющего вести учёт результатов различных видов образовательной деятельности, получения статистических сводок и т.д., которая бы удовлетворяла следующим требованиям:

соответствующая база данных должна быть достаточно универсальной и позволять вводить в случае необходимости новые разделы;

предусматривать удобные (для органов управления ВУЗа) процедуры предоставления данных и получения итоговой информации;

автоматически осуществлять обработку стандартизированных информационных запросов и представлять данные в динамике с использованием визуальных объектов (графики, диаграммы, карты);

даже слабо подготовленным в области информационных технологий управленцам должно быть удобно использовать в своей работе итоговые (обработанные) данные, генерируемые системой.

Последнее требование является ключевым, поэтому в качестве технологического решения может быть выбрана СУБД ORACLE или SQL Server.

.2 Особенности условий для принятия управленческого решения

Учебный процесс в высших учебных заведениях обладает определенной цикличностью и основывается на достаточно формализованных и структурированных нормативных документах. Данные факты являются основанием для использования компьютерных информационных технологий при разработке планирующей, отчетной и справочной документации при организации учебного процесса.

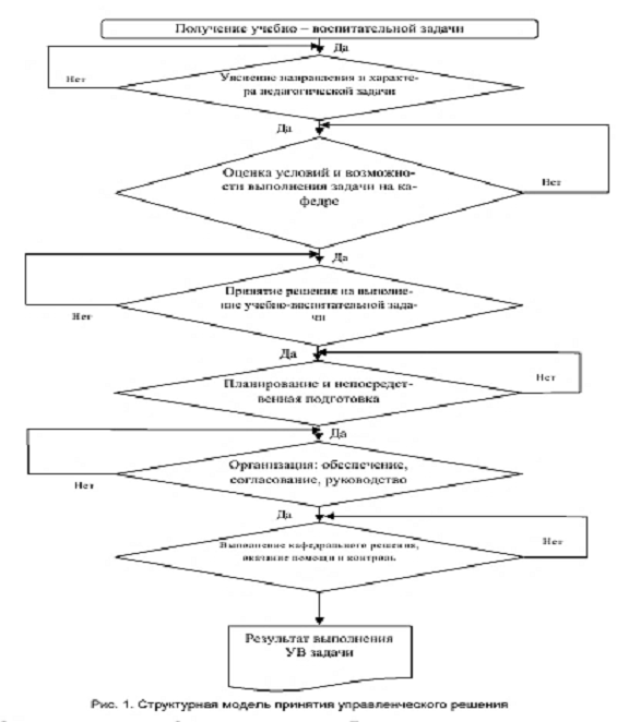
Отметим, что при традиционной (бумажной) форме работы с документами приходится многократно воспроизводить одни и те же данные. Например, названия предметов встречаются в учебных планах, расписании, экзаменационных ведомостях, справках о текущей успеваемости, методическом обеспечении и других документах. Информационные же технологии позволяют многократно использовать единожды введенные данные. При этом кроме повышения эффективности процесса подготовки документов за счет исключения дублирования создается и единое пространство данных. Качество учебного процесса зависит также и от кадрового состава преподавательского коллектива, методического и технического обеспечения учебных занятий, а также воспитательных мероприятий. Информационные технологии могут быть использованы и при решении данных задач. Таким образом, одним из решений является ведение информационных технологий обеспечивающих принятие управленческих решений в образовательном процессе. Основой такого подхода является разработка алгоритма принятия управленческих решений в образовательном процессе, который включает:

. Получение научной, методической, кадровой, учебно-воспитательной задачи (проблемы).

. Уяснение учебно-воспитательной задачи.

. Оценка условий и возможности выполнения учебно-воспитательной задачи (проблемы).

. Принятие решения на учебно-воспитательной задачу.

. Планирование выполнения учебно-воспитательной задачи.

. Непосредственная подготовка к выполнению учебно-воспитательной задачи (проблемы).

. Выполнение учебно-воспитательной задачи.

. Оценка полученного результата решения учебно-воспитательной задачи.

Порядок уяснения учебно-воспитательной задачи следующий: «замысел руководства - цель деятельности - своя задача (действия) - задачи структурных подразделений - место и роль - время на подготовку».

Уяснение начинается с понимания замысла руководства и существующих требований, далее уточняется личная цель, она должна быть социально-значимая (учитывать интересы и потребности личности, государства и общества), а также её результаты должны быть социально значимыми (польза себе, другим людям и обществу). Уясняя свои действия, необходимо оптимизировать, учитывая предыдущий опыт, свою роль и место в решении задачи, а также время на подготовку.

Оценка условий и возможности выполнения учебно-воспитательной задачи включают:

объективные факторы: материально-техническая база, состояние учебно-методического фонда, наличие технических средств обучения, информационное обеспечение;

субъективные факторы: свои возможности, квалификация профессорско-преподавательского состава, время, условия.

Методика принятия решения следующая: «определение противоречий - выявление проблемы - выдвижение гипотезы - разработка вариантов - выбор оптимального - формулирование решения».

Рассмотрим содержание управленческого решения в образовательном процессе ВУЗа:

. Замысел: «основное звено, усилия - силы и их распределение - способ действия (метод) - взаимодействие с другими - результат - время готовности».

. Задания подчинённым: «кому - когда - что делать - средства - метод (способ, приём)».

. Порядок выполнения: «этапы - последовательность - особенности».

. Организация взаимодействия: «с кем - когда - как - где».

. Организация управления: «ответственность - особенности».

. Организация обеспечения: «кто - виды - способы - особенности».

Рассмотренные подходы и алгоритм наглядно раскрыты в структурной модели принятия управленческого решения, изображенной в Приложении 2.

Процесс принятия управленческого решения предполагает создание специального программного обеспечения объединяющий все процессы управления учебным процессом, организации методической работы и т.д. Организация локальных вычислительных сетей, повышение надежности их работы позволят при соответствующем программном обеспечении перейти на качественно новый уровень организации документооборота и, как следствие, подготовки управленческих решений и контроля их исполнения.

.3 Направления внедрения информационного обеспечения

Основными направлениями внедрения новых информационных технологий в организацию управления деятельностью учебного заведения являются создание: локальных и глобальных баз данных и автоматизированных рабочих мест.

Наибольшее применение в процессе автоматизации управленческой деятельности нашли программы обслуживания баз данных:

в первую очередь это списки сотрудников, списки студентов с их персональными данными;

вторую группу составляют базы данных материально-финансового учета;

к третьей группе относятся базы данных служебной, вспомогательной информации, например, расписание учебных занятий, база контроля исполнения решений административных и совещательных органов ВУЗа и т.д.

Развитие локальных вычислительных сетей, повышение мощности персональных компьютеров и современные программные средства управления базами данных позволяют ставить и решать задачи объединения локальных баз. Объективной предпосылкой создания глобальных баз данных в учебных заведениях является тот факт, что практически все документы подготавливаются с применением ЭВМ и имеют свою электронную версию.

Объединение локальных баз данных учебного заведения позволяет решить следующие задачи:

. Оперативно получать интегрированные сведения об участниках образовательного процесса и учебном заведении в целом.

. Исключить дублирование ввода и хранения однотипных данных в различных базах.

. Ускорить и автоматизировать процесс обмена данными между различными подразделениями учебного заведения.

Реализация указанных задач приведет к повышению качества принимаемых управленческих решений, ускорит процесс подготовки и согласования нормативных документов, приказов. Кроме того, объединение локальных баз института в глобальную позволяет не только расширить доступ к данным отдельных пользователей, но и создать автоматизированные рабочие места с принципиально новыми возможностями.

Глобальная база данных позволит автоматизировать процесс подготовки документов. Появляются новые возможности при построении аналитических справок и обзоров. Так, совместное использование нескольких баз данных которая являлся инструментом как для планирования и расчета распределения учебной нагрузки по кафедрам, так и между преподавателями. Созданные для решения этой задачи таблицы макетов учебных программ и тематических планов учебных дисциплин в дальнейшем могут быть использованы для создания базы данных учета методического обеспечения, как в целом учебных курсов, так и отдельных тем.

Интеграция локальных баз данных в единую информационную среду, обеспечивающую достаточный уровень защиты, возможна на основе таких средств управления базами данных, как ORACLE или SQL Server. В Красноярском университете применяются для различных учетов базы данных SQL Server: это и решения «Ученого совета» и «Методического совета», библиотечный фонд, текущая успеваемость студентов, материалы для студентов заочного факультета, тестовые задания для проверки остаточных знаний.

Специфика работы с отдельными информационными ресурсами накладывает определенные ограничения и на инструментальную среду пользователя. Так, например, доступ к материалам заочного факультета, тестовым заданиям должен быть возможен с любого удаленного компьютера без установки какого-либо дополнительного программного обеспечения. В нашем случае эта задача решена при помощи сценариев на языке PHP для клиентских программ Интернет, например, www.buimvd.ru.

Работа с учебными планами, базами материальных ресурсов производится, как правило, с фиксированных рабочих мест, что позволяет создавать для клиентов специальное программное обеспечение работы с базами данных.

После выбора программных средств, для ведения баз данных учебного подразделения необходимо принятие нормативного документа, закрепляющего либо уже сложившуюся практику кодирования различных информационных данных, либо определяющего, там, где это необходимо, новые правила. Например, на всех факультетах учебного заведения должна применяться единая нумерация учебных групп и курсов. Это может быть сделано и в рамках принятия программы информатизации управленческой деятельности учебного заведения.

Структура локальных баз данных и их взаимосвязь определяются задачами, для решения которых собственно и создается информационная система.

На рис. 4 приведена примерная схема взаимодействия локальных баз ВУЗа.

) Во-первых, описание объектов материальных носителей. Указанные базы на схеме отмечены флажком. К этой группе относят также сведения о кадровом составе, контингенте обучаемых.

) Во-вторых, решения совещательных и исполнительных органов ВУЗа. К ним относят также протоколы заседаний кафедр.

Рисунок 4 - Оценка условий для принятия управленческого решения ВУЗа

) В-третьих, всевозможные планы и программы, формируемые на базе решений совещательных, исполнительных органов и других нормативных документов.

) В-четвертых, базы данных, отражающие реализацию различных планов и видов деятельности. К ним относятся, например, расписание учебного процесса, сведения об успеваемости и дисциплинарной практике, результаты научных исследований и т.д. К данной группе тесно примыкают динамически формируемые запросы, например, паспорт кафедры.

Для иллюстрации взаимодействия баз данных приведем содержание информационного обеспечения основных направлений управленческой деятельности на кафедре. Так, при составлении годового отчета по кафедре или институту глобальная база данных позволяет сделать выборку и сформировать фрагмент документа, содержащий:

сведения о выполнении нагрузки отдельными преподавателями и кафедрами - запрос из базы «расписание»;

сведения об успеваемости и качестве знаний - запрос из базы «успеваемость»;

сведения о методической работе - запрос из базы «методические материалы кафедр», которая формируется на основе баз «протоколы заседаний кафедры» и «протоколы методического совета»;

сведения о научной работе - из базы «научные разработки»;

сведения о повышении квалификации - из базы данных сотрудники.

В настоящее время в Юридическом институте СФУ разработана и эксплуатируется программа «Электронный журнал». Данный программный продукт позволяет вести учет результатов всех видов контроля учебного процесса и дисциплинарной практики, а также получения различных статистических сводок, используя в том числе Интернет-технологии. Кроме того, созданный инструментарий адаптирован для работы совместно с базой данных учебных планов, а также дополнен сведениями из зачетных книжек.

Для получения различных статистических сводок создан специальный программный модуль, который устанавливается со служебными файлами на компьютере пользователя. Данный модуль позволяет выводить на печать сводки о текущей успеваемости, пропусках занятий, итоговом и рубежном контроле как по заранее разработанным формам, так и создавать новые формы отчетов в процессе эксплуатации программы.

В современных условиях развития общества объем информации удваивается менее чем за десять лет и поэтому требования, как к совершенствованию самого процесса образования, так и управления им постоянно возрастают.

Предлагаемая модель принятия управленческих решений в образовательном процессе способствует решению многих основных проблем. Особенностями Юридического института является специфика подготовки высокопрофессиональных кадров в государственной, правоохранительной и юридической сферах, следовательно применение информационных технологий, на сегодняшний день, является актуальным аспектом, необходимым для принятия управленческих решений в учебно-воспитательном процессе ВУЗа.

Вывод по второй главе

Таким образом, эффективность управленческой деятельности ВУЗа зависит, прежде всего, от эффективности системы сбора, обработки и анализа информации для выбора оптимальных управленческих решений.

Предлагаемая модель принятия управленческих решений в образовательном процессе способствует решению многих основных проблем. Информатизация управления образовательного процесса позволяет распределить информационные потоки прямой и обратной связи с точки зрения необходимости, но достаточности, а значит, оптимизировать управленческую деятельность ВУЗа.

Построенная модель показала, что она позволяет обеспечить руководителя и другие центры формирования управленческих решений ВУЗа достоверной, актуальной и достаточной информацией. Активное её использование оказывает положительный эффект при осуществлении управленческих действий: планирования, организации, руководства и контроля.

Кроме того, процесс создания и внедрения данной модели управления показал, что сама процедура введения и ее активного использования позволяет руководителям повысить свою ИКТ-компетентность, переосмыслить и оценить возможности современных средств обработки информации, получить новые знания из теории управления базами данных и информационных систем, более детально изучить приоритетные направления информатизации образования и увидеть перспективы развития.

Заключение

Таким образом, в первой главе нами изучены теоретические основы информационного обеспечения принятия решений: дано понятие управленческого решения; изучены аспекты разработки управленческих решений; выявлена роль информации в принятии управленческих решений; охарактеризованы информационные системы и технологии поддержки принятия решений.

Управленческое решение - это выбор, который должен сделать руководитель, чтобы выполнить обязанности, обусловленные занимаемой им должностью (выбор альтернативы, осуществлённый руководителем в рамках его должностных полномочий и компетенции и направленный на достижение целей организации).

Последнее десятилетие характеризуется не только радикальным изменением социально-экономической среды, но и устойчивой тенденцией развития информатизации процессов управления. Необходимость действовать в условиях рыночной экономики, все обостряющейся конкуренции обуславливает повышенные требования к профессиональным качествам и ответственности руководителей за результаты и последствия принимаемых решений.

Принятие решений является основой управления. Поэтому чрезвычайно актуальным становится внедрение в управленческую деятельность - современных достижений в области информационных технологий, обеспечивающих полноту, своевременность информационного отображения управляемых процессов, возможность их моделирования, анализа, прогнозирования.

Информационное обеспечение системы управления - это снабжение органов управления достоверной, своевременной и полезной информацией, необходимой и достаточной для эффективного осуществления процесса управления, т. е. прогнозирования, планирования, принятия решений, учета контроля, анализа и регулирования.

Достижение этого складывается из решения ряда частных задач, таких как сбор первичной информации, ее хранение, распределение между структурными подразделениями организации и их работниками, подготовка к переработке, собственно переработка, предоставление органу управления в переработанном виде, анализ, обеспечение прямых и обратных связей в ее циркуляции и т.д. При современных потоках информации эффективное решение этих задач невозможно без использования информационных технологий.

Вторая глава посвящена исследованию особенностей информационного обеспечения в сфере управленческих решений в образовании, на примере Юридического института СФУ.

Современное положение дел в высших учебных заведениях характеризуется переходом от управления учреждениями и людьми к управлению информационными потоками.

В условиях динамично меняющейся социально-экономической ситуации принятие эффективных решений невозможно без использования своевременной и достоверной информации.

Эффективность управленческой деятельности ВУЗа зависит, прежде всего, от эффективности системы сбора, обработки и анализа информации для выбора оптимальных управленческих решений. Одним из решений является введение информационных технологий, обеспечивающих принятие управленческих решений в образовательном процессе, на основе создания программного продукта, объединяющего все процессы управления учебным процессом, организации методической работы и позволяющего вести учёт результатов различных видов образовательной деятельности, получения статистических сводок и т.д.

Основными направлениями внедрения информационных технологий в организацию управления учебного заведения являются объединение локальных и глобальных баз данных и автоматизированных рабочих мест:

первая группа - это списки сотрудников, списки студентов с их персональными данными;

вторую группу составляют базы данных материально-финансового учета;

к третьей группе относятся базы данных служебной, вспомогательной информации, например, расписание учебных занятий, база контроля исполнения решений административных и совещательных органов ВУЗа и т.д.

Информатизация управления образовательного процесса позволяет распределить информационные потоки прямой и обратной связи с точки зрения необходимости, но достаточности, а значит, оптимизировать управленческую деятельность ВУЗа.

Построенная модель показала, что она позволяет обеспечить руководителя и другие центры формирования управленческих решений ВУЗа достоверной, актуальной и достаточной информацией. Активное её использование оказывает положительный эффект при осуществлении управленческих действий: планирования, организации, руководства и контроля.

Предлагаемая модель принятия управленческих решений в образовательном процессе способствует решению многих основных проблем. Особенностями Юридического института является специфика подготовки высокопрофессиональных кадров в государственной, правоохранительной и юридической сферах, следовательно применение информационных технологий, является актуальным аспектом, необходимым для принятия управленческих решений в учебно-воспитательном процессе ВУЗа.

Таким образом, руководитель любого уровня, осуществляет свои функции, основываясь лишь на доступной ему информации об объекте управления. Он проводит текущие мероприятия, организует контроль, анализ состояния организации, оценивает тенденции ее развития и т.п., - все это требует организации информационного обслуживания (предоставления нужной информации в нужные время и место), создания информационной среды, способствующей выполнению поставленных целей. Осуществление таких действий и есть информационное обеспечение управленческой деятельности для принятия эффективного решения.

управление образовательный информатизация

Список используемых источников

1.    Аницына Т.М. Единое информационное пространство образовательного учреждения / Т.М. Аницына // Методист. - 2007. - № 7. - С.10-13.

.      Балдин К.В. Управленческие решения. Учебник / К.В. Балдин, С.Н. Воробьев, В.Б. Уткин. - М.: Дашков и К, 2012. - 496 с.

3.      Башкатова Ю.И. Управленческие решения: Учебно-методический комплекс / Ю.И. Башкатова. - М.: ЕАОИ, 2008. - 114 с.

.        Годин В.В. Информационное обеспечение управленческой деятельности: Учеб. / В.В. Годин, И.К. Корнеев. - М.: Мастерство, 2001. - 240 с.

.        Голиков А.А. Уместность информации как фактор повышения эффективности управленческих решений / А.А. Голиков, О.Г. Танашева, А.В. Селиверстова. - Челябинск: Челяб. гос. ун-т., 2012. - 55 с.

.        Голубков Е.П. Технология принятия управленческих решений / Е.П. Голубков. - М.: Дело и сервис, 2005. - 544 с.

.        Григорьев С.Г. Информатизация образования. Фундаментальные основы. Учебник для студентов педагогических вузов и слушателей системы повышения квалификации педагогов / С.Г. Григорьев, В.В. Гриншкун. - Томск: ТМЛ-Пресс, 2008. - 286 с.

.        Злобина Н.В. Управленческие решения: учебное пособие / Н.В. Злобина. - Тамбов: ТГТУ, 2007. - 80 с.

.        Информационные технологии управления. Учебный курс / Сост. А.Л. Дзюбенко, И.М. Казеев. - М.: МИЭМП, 2013. - 192 с.

.        Информационные технологии управления: Учебное пособие / Под ред. Г.А. Титаренко. - М.: ЮНИТИ-ДАНА, 2003. - 439 с.

.        Карданская Н.Л. Управленческие решения: Учебник / Н.Л. Карданская. - М.: ЮНИТИ-ДАНА, 2009. - 439 с.

.        Кнорринг В.И. Основы государственного и муниципального управления: учебник / В.И. Кнорринг. - М.: Экзамен, 2010. - С. 107-120.

.        Ковалев В.В. Финансовый учет и анализ: концептуальные основы / В.В. Ковалев. - М.: Финансы и статистика. 2010. - 720 с.

.        Колпаков В.М. Теория и практика принятия управленческих решений: Учеб. пособие / В.М. Колпаков. - К.: МАУП, 2004. - 504 с.

.        Краснов П.С. Управление образовательным учреждением на основе информационно-коммуникационных технологий / П.С. Краснов // Современные проблемы науки и образования. - 2012. - № 2. - С. 11.

.        Кузибецкий, А. Информационно-коммуникационные технологии в управлении образованием / А. Кузибецкий, Т. Смыковская // Народное образование. - 2008. - № 1. - С.105 - 112.

.        Литвак Б.Г. Управленческие решения: Учебник / Б.Г. Литвак. - М.: МФПА, 2011. - 344 с.

.        Литвинов В.А. База данных учебные планы / В.А. Литвинов // Вестник МВД России. - 2006. - №10. - С. 12.

.        Мазур Л.Н. Информационное обеспечение управления: Основные тенденции развития: Учеб. пос / Л.Н. Мазур. - Екатеринбург: УрГУ, 2000. - 188 с.

.        Машунин Ю.К. Разработка управленческого решения: Учебное пособие / Ю.К. Машунин. - Владивосток: ТИДОТ ДВГУ, 2011. - 111 с.

.        Михалева Е.П. Менеджмент. Конспект лекций / Е.П. Михалева. - Тула: ТГУ, 2011. - 145 с.

.        Орлов А.И. Теория принятия решений. Учебное пособие / А.И. Орлов. - М.: Март, 2004. - 656 с.

.        Петров А.В. Подготовка и принятие управленческих решений / А.В. Петров. - М.: РАГС, 2007. - 241 с.

.        Поддержка принятия управленческих решений: инструментально-информационное обеспечение / Под. ред. А.Ф. Рогачёва. - Волгоград: ВГУ, 2001. - 124 с.

.        Ременников В.Б. Управленческие решения. Учебное пособие / В.Б. Ременников. - М.: МИЭП, 2012. - 351 с.

.        Сайков Б.П. Организация информационного пространства образовательного учреждения / Б.П. Сайков. - М.: БИНОМ, 2005. - 406 с.

.        Степанова Е.Е. Информационное обеспечение управленческой деятельности / Е.Е. Степанова Н.В. Хмелевская. - М.: Форум, 2013. - 191 с.

.        Трофимова Л.А. Методы принятия управленческих решений: учеб. пособие / Л.А. Трофимова, В.В. Трофимов. - СПб.: СПбГУЭФ, 2012. - 101 с.

.        Фатхутдинов Р.А. Управленческие решения. Учебник / Р.А. Футхутдинов. - М.: ИНФРА-М, 2011. - 352 с.

.        Ценности и смыслы современного образования: материалы Всероссийской научно-практической конференции 10-11 декабря 2008 года / Отв. ред. В.Э. Черник. - Мурманск: МГПУ, 2009. - 298 с.

.        Чашников Л.А. Использование информационных технологий в управлении образовательным учреждением. Курс лекций / Л.А. Чашников, А.А. Полушкина, С.А. Бартева. - Омутнинск: изд-во филиал УГУ, 2013. - С. 67.

.        Чудновская С.Н. Управленческие решения: учебник / С.Н. Чудновская. - М.: Эксмо, 2007. - 368 с.

.        Чуйкин А.М. Разработка управленческих решений: Учебное пособие / А.М. Чуйкин. - Калининград: Калинингр. ун-т., 2000. - 150 с.

.        Шишкова Г.А. Менеджмент (Управленческие решения): учебно-методический модуль / Г.А. Шишкова. - М.: Изд-во Ипполитова, 2012. - 352 с.

.        Юкаева B.C. Принятие управленческих решений: Учебник / B.C. Юкаева. - М.: Дашков и К, 2011. - 324 с.

Приложение 1

Классификация управленческих решений по различным критериям


Приложение 2

Структурная модель принятия управленческого решения

Похожие работы на - Исследование особенностей информационного обеспечения принятия решений (на примере высшего учебного заведения)

 

Не нашли материал для своей работы?
Поможем написать уникальную работу
Без плагиата!
Без нейросетей!