Производственная линия приготовления хлеба

  • Вид работы:
    Курсовая работа (т)
  • Предмет:
    Другое
  • Язык:
    Русский
    ,
    Формат файла:
    MS Word
    456,06 Кб
  • Опубликовано:
    2015-04-12
Вы можете узнать стоимость помощи в написании студенческой работы.
Помощь в написании работы, которую точно примут!

Производственная линия приготовления хлеба

СОДЕРЖАНИЕ

Введение

1. Хранение и обработка сырья

2.      Ассортимент выпускаемой продукции

.        Показатели качества муки

.        Технологическая схема производства

.        Аппаратурная схема приготовления жидких дрожжей

.        Технологическая инструкция по изготовлению ржаного хлеба

.        Требования к качеству готовой продукции

.        Оборудование для производства хлеба

.        Датчики

Заключение

Литература

ВВЕДЕНИЕ

Система управления является систематизированным набором средств сбора сведений о подконтрольном объекте и средств воздействия на его поведение, предназначенный для достижения определённых целей.

Объектом системы управления могут быть как технические объекты, так и люди. Объект системы управления может состоять из других объектов, которые могут иметь постоянную структуру взаимосвязей.

Системы управления с участием людей как объектов управления зачастую называют системами менеджмента.

С помощью устройства Технической структуры управления можно манипулировать поведением других устройств или систем.

Объектом управления может быть любая динамическая система или её модель. Состояние объекта характеризуется некоторыми количественными величинами, изменяющимися во времени.

В естественных процессах в роли таких переменных может выступать температура, плотность определённого вещества в организме, курс ценных бумаг и т.д.

1. Хранение и обработка сырья

Любое хлебопекарное предприятие имеет сырьевой склад, где хранится определенный запас основного и дополнительного сырья. Широкое распространение получил бестарный способ доставки и хранения многих видов сырья (муки, сахара, дрожжевого молока, жидких жиров, соли, молочной сыворотки, патоки, растительного масла). При бестарной доставке и хранении сырья резко снижается численность работающих в складе улучшается санитарное состояние складов, повышается культура производства, сокращаются потери сырья, достигается значительный экономический эффект по сравнению с тарным хранением сырья

Сырье, которое хранится на складе, перед замесом полуфабрикатов должно пройти определенную подготовку, в результате которой улучшаются его санитарное состояние и технологические свойства. При этом сырье очищают от примесей, жиры растапливают, дрожжи, соль и сахар растворяют в воде Полученные растворы фильтруют и перекачивают в сборные емкости, откуда они поступают в дозаторы.

Прием и хранение муки

Муку, доставленную на хлебозавод с мельницы или базы, хранят в отдельном складе, который должен вмещать семисуточный ее запас, что позволит своевременно подготовить ее к пуску в производство.

Мука поступает на хлебозавод отдельными партиями (партия - определенное количество муки одного вида и сорта, изготовленное одновременно и поступившее по одной накладной и с одним качественным удостоверением).

Анализируя поступившую муку, работники лаборатории сличают данные анализа с данными удостоверения. При значительных расхождениях вызывают представителя организации, поставляющей муку, и анализ проводят повторно.

Муку доставляют на хлебозавод тарным (в мешках) и бестарным (в цистернах) способами. Масса нетто (масса продукта без тары) сортовой муки в мешке составляет 70 кг, обойной - 65 кг (массу устанавливают при выборе муки). Каждый мешок с мукой имеет ярлык, на котором указывают мукомольное предприятие, вид и сорт муки, массу нетто, дату выработки.

Если при помоле было добавлено некондиционное зерно, на ярлыке делают соответствующую отметку.

Мука при бестарном способе хранится в силосах. Для хранения каждого сорта муки предусматривают не менее двух силосов, один из которых используется для приема муки, второй - для ее подачи в производство. Общее число силосов в складе зависит от производительности завода и потребности его в разных сортах муки. Загрузка бункеров мукой осуществляется сверху. Транспортирующий муку воздух удаляется через фильтр, установленный над бункерами, мучная пыль задерживается и ссыпается в бункер.

Транспортирование муки из складских емкостей на просеивание, взвешивание и в производственные бункеры могут осуществляться механическим транспортом посредством норий и шнеков или пневмо- и аэрозольтранспортом. Последний способ имеет значительные преимущества за счет насыщения муки воздухом, который повышает температуру муки и способствует ее созреванию. На каждом складе должно быть не менее двух линий для очистки, взвешивания и транспортирования муки в производственные бункеры.

Хранение и подготовка дополнительного сырья

Дрожжи. В хлебопекарной промышленности применяют прессованные дрожжи, а также сушеные, жидкие дрожжи, дрожжевое молоко.

Прессованные дрожжи представляют собой скопление дрожжевых клеток, выделенных из культурной среды, промытых и спрессованных. Культурная среда - это жидкая питательная среда, в которой выращивают микроорганизмы.

Прессованные дрожжи рекомендуется хранить при температуре 0-4°С. Гарантийный срок хранения дрожжей в таких условиях 12 сут.

При подготовке прессованных дрожжей для замеса полуфабрикатов их разводят водой температурой 29-32°С в бачках с мешалками в соотношении 1: (2-4).Замороженные дрожжи хранят при температуре 0-4°С, оттаивать их следует медленно при температуре не выше 8°С.

Сушеные дрожжи получают высушиванием измельченных прессованных дрожжей теплым воздухом до остаточной влажности 8-9%. Сушеные дрожжи упаковывают и хранят в жестяных банках, бумажных пакетах или ящиках, выстланных пергаментом при температуре выше 15°С. Гарантийный срок хранения дрожжей высшего сорта 12, а I сорта - 6 мес. Дрожжи высшего сорта упаковывают герметически. При упаковке в негерметическую тару срок их хранения сокращается вдвое. При хранении допускается ежемесячное ухудшение подъемной силы на 5%.

Сушеные дрожжи перед употреблением следует замачивать в теплой воде до образования однородной смеси. На многих хлебозаводах проводится активация прессованных и сушеных дрожжей. Сущность активации состоит в том, что дрожжи разводят в жидкой питательной среде, состоящей из муки, воды, солода или сахара, а иногда других добавок, и оставляют на 30-90 мин. В процессе короткой активации дрожжевые клетки не размножаются, однако становятся более активными. В результате активации улучшается подъемная сила дрожжей, что позволяет несколько снизить их расход на приготовление теста (на 10-20%) или, не уменьшая расход, сократить длительность брожения полуфабрикатов. Применение активированных дрожжей улучшает качество хлеба. Кислотность изделий, приготовленных на активированных дрожжах, на 1° выше обычной. Варианты активации дрожжей различны.

Дрожжевое молоко - это жидкая суспензия дрожжей в воде, полученная сепарированием культурной среды после размножения в ней дрожжей. Дрожжевое молоко поступает на хлебозавод охлажденным до температуры 3-10°С в автоцистернах с термоизоляцией, откуда перекачивается в стальные емкости с водяной рубашкой и электромешалкой, которую включают через каждые 15 мин па 30 с для обеспечения однородной концентрации дрожжей по всей массе продукта. Продолжительность хранения дрожжевого молока при температуре 3-10°С 2 сут., при температуре 0-4°С-до 3 сут.

Соль и сахар. Соль поступает на хлебопекарные предприятия малой мощности в мешках и хранится в отдельном помещении насыпью или в ларях. Соль ввиду гигроскопичности нельзя хранить вместе с другими продуктами. Соль добавляют в тесто в виде раствора концентрацией 23-26% по массе. Насыщенный раствор готовят в солерастворителях, который затем фильтруют и подают в производственные сборники.

Большинство хлебозаводов используют хранение соли в растворе . Соль, доставленную на хлебозавод самосвалом, ссыпают в железобетонный бункер, который для удобства выгрузки соли углублен на 2,8 м от отметки пола. Бункер имеет приемный отсек и 2-3 отстойных отделения. В приемный отсек проведены трубопроводы с холодной и горячей водой. Раствор соли самотеком через отверстия в перегородках заполняет все отсеки отстойника и фильтруется.

Для контроля концентрации раствора, которая должна быть постоянной, периодически проверяют его плотность ареометром. Чем выше концентрация соли в растворе, тем выше значение плотности раствора. Определив плотность, находят концентрацию.

Обычно готовят раствор 25%-ной концентрации (плотность раствора 1,1879) или 26%-ной концентрации (плотность раствора 1,1963). Если плотность раствора в последнем отсеке растворителя окажется недостаточной, то раствор перекачивают насосом в приемный отсек. Изменение установленной плотности раствора соли нарушает дозировку соли.

Сахар-песок, доставленный в мешках, хранят в чистом сухом помещении с относительной влажностью воздуха 70%. Сахар гигроскопичен, поэтому в сыром помещении он увлажняется. Мешки с сахаром укладывают (на стеллажах) в штабеля по 8 рядов в высоту.

Если сахар-песок предназначен для сдобного теста низкой влажности, он используется в сухом виде и его просеивают через сито с ячейками 3 мм и пропускают через магнитные уловители. Как правило, сахар добавляют в тесто в виде раствора 51-62%-ной концентрации плотностью 1,23-1,3. Раствор готовят в бачках, снабженных мешалкой и фильтром. Сироп из бачков перекачивается в сборные емкости. Температура раствора около 32-35°С. Растворимость сахара значительно зависит от температуры раствора. Если приготовить раствор более высокой концентрации, то при его охлаждении в трубопроводах может произойти кристаллизация сахарозы.

В последние годы многие хлебозаводы хранят сахар в виде сахарно-солевого раствора. Установка для хранения состоит из устройства для разгрузки мешков с сахаром, двух металлических емкостей, дозаторов воды и раствора соли, фильтров и насосов. Емкости для приготовления раствора сахара снабжены паровыми рубашками и мешалками. Добавление поваренной соли в раствор (2-2,5% массы сухого сахара) задерживает кристаллизацию сахарозы и позволяет готовить 65- 70%-ные растворы, которые требуют меньшую емкость.

Молочные продукты. В хлебопечении применяются следующие молочные продукты: молоко, сливки, сметана, творог и сыворотка. Натуральные молочные продукты относятся к скорпортящемуся сырью, поэтому их хранят при пониженной температуре. Чем ниже температура, тем продолжительнее может быть срок хранения

Молоко, сливки и сметану замораживать нельзя, так как при этом нарушается консистенция и изменяется вкус. Эти продукты хранят в металлических бидонах при температуре 0-8°С. Сметану при такой температуре хранят до 3 сут. Молоко температурой 8-10°С хранят 6-12 ч, а темпе­ратурой 6-8°С-12- 18 ч. Срок хранения творога при температуре 0 °С-7 сут., в замороженном состоянии-4- 6 мес.

Сгущенное молоко в негерметичной таре хранят при температуре 8°С до 8 мес. Замораживать его нельзя. Сухое молоко в негерметичной таре хранят до 3 мес.

Сухое молоко постепенно разводят в воде температурой 28-30°С до влажности натурального молока (700-800 мл воды на 100 г сухого молока) при постоянном перемешивании массы, после чего его оставляют набухать в течение 1 ч. Хорошие результаты получаются, когда готовят эмульсию из сухого молока, воды и жира в специальной установке или сбивальной машине. В эмульсии молоко хорошо набухает, а жир измельчается. Кроме того, эмульсия положительно влияет на качество изделий. Эмульсию следует пропускать через сито с ячейками диаметром не более 2 мм.

Все жидкие молочные продукты при подготовке к использованию переливают из бидона в производственную посуду и процеживают через сито с ячейками диаметром до 2 мм.

Молочная сыворотка - это побочный продукт производства творога или сыра. Это однородная жидкость зеленоватого цвета, со специфическими запахом и вкусом.

Молочная натуральная сыворотка поступает на хлебозаводы в автоцистернах, откуда затем, перекачивается в специальные емкости с охладительной рубашкой.

Жиры. В хлебопекарной промышленности наиболее широко применяется коровье масло, маргарин, специальные хлебопекарные жиры и растительное масло.

Коровье масло разделяется на сливочное и топленое. Сливочное масло готовится способом сбивания или поточным из пастеризованных сладких сливок или из сливок, предварительно сквашенных. Влажность сливочного масла 16-20%, содержание жира 72,5-82,5 (в том числе влажность сливочного несоленого-16, крестьянского-20%). Влажность топленого масла 1%; содержание жиров 98%. Топленое масло получают перетапливанием сборного сливочного масла при температуре 75-80°С.

Сливочное масло следует хранить в холодном темном помещении. Под действием света, кислорода воздуха и повышенной температуры масло прогоркает. Сливочное масло хранят при температуре не выше 8°С до 3 мес., замороженное масло - до 12 мес.

Маргарин - специально приготовленный жир, который по химическому составу, энергетической ценности и усвояемости напоминает сливочное масло. Маргарин готовят из соответствующей жировой основы (набора жиров), заквашенного молока, эмульгаторов, красителей, ароматизаторов и других вспомогательных материалов.

Жировая основа маргарина состоит из саломаса (65-75%) и природных жиров (растительных и животных).

Для хранения твердого маргарина установлены следующие сроки:

Жидкий маргарин хранят в баках из нержавеющей стали овальной формы с водяной рубашкой при температуре 35-48°С не более 2 сут. В каждом баке предусматриваются пропеллерные мешалки, периодическое вращение которых предупреждает расслаивание маргариновой эмульсии.

Жиры кондитерские, хлебопекарные и кулинарные - это безводные жиры, в основном состоящие из саломаса с добавлением (или без него) небольшого количества натуральных жиров и эмульгаторов. В хлебопечении применяются жир с фосфатидами (твердой консистенции) и жидкий жир, имеющий подвижную консистенцию, при температуре 15-20°С.

Жиры кондитерские и хлебопекарные хранят 1-9 мес. в зависимости от температуры (от -10 до +15°С) и наличия антиоксидантов (антиокислитель) в рецептуре.

При подготовке твердые жиры освобождают от тары, осматривают, очищают поверхность от загрязнений. Затем жиры разрезают на куски и проверяют внутреннее состояние жира.

Растительные масла получают из семян масличных растений посредством прессования и экстракции, а чаще - комбинированным способом.

Растительные масла хранят в темном прохладном помещении, в закрытой таре (бочках или цистернах) при температуре 4-6°С. Под влиянием кислорода воздуха, света и повышенной температуры растительные масла портятся.

2. Ассортимент выпускаемой продукции

Хлебобулочные изделия в зависимости от вида используемой муки могут быть ржаные, пшеничные, ржано-пшеничные и пшенично-ржаные.

По рецептуре изделия бывают простые, улучшенные и сдобные (только пшеничные). В рецептуру простых изделий входят мука, вода, дрожжи и соль. В рецептуру улучшенных изделий вводят дополнительное сырье - молочные продукты, сахар, патоку, солод и др.

В сдобных изделиях содержится много жира и сахара, кроме того, могут быть добавлены орехи, изюм, цукаты, яйца, сахарная пудра и др.

По способу выпечки различают изделия подовые и формовые.

Хлеб ржаной выпекают из сеяной, обдирной и обойной муки.

Хлеб ржаной простой выпекают из обойной муки формовым массой 0,5-1,0 кг, из обдирной и сеяной муки формовым или подовым массой 0,7-1,6 кг.

Хлеб ржаной улучшенный готовят на заварках с добавлением солода, патоки, тмина, кориандра и др. Хлеб ржаной заварной формовой штучный массой 0,75-1,0 кг - из обойной муки с добавлением ржаного ферментированного солода и тмина; хлеб Московский формовой штучный массой 0,5-1,1 кг - из обойной муки, ржаного ферментированного солода, патоки и тмина. Хлеб ржано-пшеничный и пшенично-ржаной в зависимости от преобладания вида муки всех сортов выпекают простым и улучшенным по рецептуре. Хлеб ржано-пшеничный простой выпекают формовым и подовым из муки ржаной обойной и пшеничной обойной, массой 0,75-1,45 кг. Хлеб Украинский выпекают из ржаной обдирной и пшеничной обойной муки, массой 0,75-1,0 кг, формовым и подовым (соотношение муки может изменяться соответственно от 80:20 до 20:80). Хлеб Украинский новый - из ржаной обдирной и пшеничной муки 2-го сорта в соотношении от 60:40 до 40:60, выпекают подовым, массой 0,75-1,25 кг, и формовым - 0,70-1,10 кг. Хлеб Дарницкий из ржаной обдирной и пшеничной муки 1-го сорта - подовый и формовой массой 0,5-1,25 кг. Староневский подовый хлеб из ржаной муки и пшеничной 1-го сорта вырабатывают по классической технологии на густых ржаных заквасках.

Хлеб ржано-пшеничный улучшенный. Хлеб ржано-пшеничный массой 0,7-1,0 кг заварной из ржаной обойной и пшеничной обойной муки с добавлением ржаного ферментированного солода вырабатывают заварным способом. Хлеб Столичный - из ржаной обдирной и пшеничной муки 2-го сорта с добавлением сахара, массой 0,5-1,1 кг, формовой и подовый, штучный, круглой или продолговато-овальной формы. Хлеб Российский массой 0,5-1,1 кг - из муки ржаной обдирной и пшеничной 1-го сорта с добавлением патоки, формовой и подовый, штучный, круглой или овально-продолговатой формы. Хлеб Питерский массой от 300 г и более - из муки ржаной обдирной и пшеничной 1-го сорта, формовой.

3. Показатели качества муки

Сорт муки

Зольность %

Крупность помола

Содержание клейковины %,

Цвет

Установлены документами



остаток на сите %

проход через сито %




Пшеничная хлебопекарная: крупчатка  высший    первый    второй обойная

0,60    0,55    0,75    1,25 не менее чем на 0,007 %

23/2    43/5    35/2    27/2 067/2

35/10    -    43/80    38/65 38/35

30  28  30    25    20

белый или кремовый с желтоватым оттенком белый или белый с кремовым оттенком белый или бежевый с желтоватым отттенком белый с желтоватым или сероватым оттенком белый с желтоватыми или сероватыми оттенками с заметными частицами оболочек зерна

ГОСТ 26574-85 Мука пшеничная хлебопекарная. Технические условия  то же  то же    то же

Ржаная хлебопекарная: сеяная обдирная обойная   второй сорт из твердой пшеницы

0,75   1,45 2,0   1,75

27/2   045/2 067/2   27/2

38/90   38/60 38/30   38/65

28

белый   серовато-белый серовато-белый с заметными частицами оболочек зерна кремоватый с желтоватым оттенком

ГОСТ 7045-54   ГОСТ 7045-54   ГОСТ 7045-54 ГОСТ 16439-70

ржано-пшеничная обойная

не менее чем на 0,007% ниже зольности зерна до очистки

067/2

38/30


серовато-белый с заметными частицами оболочек

ГОСТ 12183-66


Запах должен быть свойственным пшеничной муке, без посторонних запахов, не затхлый, не плесневый. Вкус свойственный пшеничной муке, не кислый, не горький; без кисловатого, горьковатого привкусов для ржаной и ржано-пшеничной муки и других посторонних привкусов. Содержание минеральных примесей при разжевывании муки не должно ощущаться хруста на зубах; влажность хлебопекарной муки не более 15,0%, а муки пшеничной второго сорта, выработанной из твердых пшениц не более 15,5%.

Влажность пшеничной хлебопекарной муки, вырабатываемой для длительного хранения, а также для отгрузки в районы Крайнего Севера и труднодоступные районы, должна быть не более 14,5%. Качество сырой клейковины в пшеничной муке не ниже второй группы (первая группа клейковина с хорошей эластичностью, по растяжимости длинная или средняя; вторая группа клейковина с хорошей эластичностью, по растяжимости короткая, а также с удовлетворительной эластичностью, короткая, средняя и длинная по растяжимости; третья группа - клейковина малоэластичная, сильно тянущаяся, провисающая при растягивании, разрывающаяся на весу под собственной тяжестью, плывущая, а также неэластичная, крошащаяся).

Зараженность вредителями хлебных запасов или наличие следов заражения не допускается.  Массовая доля металлопримеси на 1 кг муки не более 3 мг; величина отдельных частиц металлопримеси в наибольшем линейном измерении не должна превышать 0,3 мм, а масса отдельных крупинок руды или шлака не должна быть более 0,4 мг.

Хлебопекарные улучшители

Ферментные препараты вырабатывают в виде порошков светло-серого или светло-бежевого цвета с массовой долей влаги не более 13% (глюкоамилазы очищенной - не более 8%). Препараты растворимы в воде. При растворении допускается выпадение незначительного количества осадка. Количество бактериальной микрофлоры не должно превышать 1·10 колоний на 1 г препарата.

Препараты фасуют в чистые двойные мешки из полиэтиленовой пленки по ГОСТ 10354-82или мешки полиэтиленовые по ГОСТ 17811-78 массой нетто до 10 кг с последующей упаковкой в ящики дощатые для товаров пищевой промышленности по ГОСТ 13360-84 массой нетто до 15 кг. Полиэтиленовые мешки сваривают.

Амилоризин П10х (ОСТ 64-037-87) получают при поверхностном культивировании гриба Aspergillus oryzae. Амилолитическая активность (Ас) амилоризина П10х - не менее 2000 ед., осахаривающая (ОС) - не менее 10000 ед., протеолитическая (ПС) - не более 30 ед. на 1 г препарата. Оптимальные условия действия: рН 4,7-5,4 и температура - 40-45°С.

Амилосубтилин Г10х (ОСТ 59-11-72) получают при глубинном культивировании Bacillus subtilis. Ферментативная активность, ед/г препарата, не менее АС-3000, ПС-9 ед. Оптимальные условия действия препарата - рН - 6,0-6,3, температура - 50-55°С.

Глюкоамилаза очищенная (ТУ 59.01.003.65-83). Препарат получают при глубинном культивировании Aspergillus awamory с ферментативной активностью для первой группы качества: ГлС - не менее 2000 (+300, -100), АС - не менее 30, ПС - не более 15, для второй группы соответственно - 1000 (+200, -100), 15 и 10. Оптимальные условия действия: рН - 3,0-5,0, температура - 55-60°С.

Улучшители комплексные хлебопекарные, УКХ (ТУ 64-13-01-86) выпускают двух типов - УКХ-2 и УКХ-4. УКХ-2 содержит ферментный препарат амилоризин П10х и аммоний сернокислый, УКХ-4 - амилоризин П10х и натрия триполифосфат. Амилолитическая активность, ед/г, не менее: УКХ-2-1000, УКХ-4-330.

Эфиры моноглицеридов и диацитилвинной кислоты, ДВК - эфиры твердые (ТУ 18-2/29-78) вырабатывают в виде таблеток диаметром 10 мм и толщиной 2 мм от желтого до коричневого цвета, обладающих запахом уксусной кислоты. Массовая доля винной кислоты (свободной и связанной) - 15-25%, свободной уксусной кислоты - 1-2,5%, жирных кислот - не менее 54%, число омыления - 460-500 мг KОН. ДВК - эфиры твердые упаковывают в картонные короба N 1 по ГОСТ 13515-80 вместимостью не более 10±0,3 кг. Внутри короба выстилают полиэтиленовыми вкладышами или мешками из пергамента. Транспортирование ДВК-эфиров производят в рефрижераторах при температуре 10-20°С.

Улучшитель "Волжский-2" (ТУ 18-2-2/55-84) состоит из смеси пищевых поверхностно-активных веществ и жиров в водном растворе сахара. Представляет собой однородную пастообразную массу от светло- до интенсивно-кремового цвета со слабым запахом уксусной кислоты. Массовая доля влаги и летучих веществ не более 19,5%; сахара не менее 31,5%, жировых веществ не менее 31,5, уксусной кислоты не более 2%. "Волжский-2" упаковывают в барабаны картонные по ГОСТ 17065-77* вместимостью до 50 л с двойным полиэтиленовым вкладышем по ОСТ 49-129-78 или бочки фанерно-штампованные по ГОСТ 5958-79.

Транспортирование улучшителя при температуре воздуха не выше 20°С производят в крытых вагонах и автомашинах; при температуре воздуха выше 20°С - в изотермических вагонах и авторефрижераторах. На территории Российской Федерации документ не действует. Действует ГОСТ 17065-94. - Примечание изготовителя базы данных.

Калий бромноватокислый, бромат калия KВrО (ГОСТ 4457-74) мелкокристаллический порошок белого цвета, растворимый в воде. Массовая доля основного вещества не менее 99,5%, нерастворимых в воде веществ не более 0,01%. Аскорбиновая кислота СНО (ГФХ ст.6 - фармакопея) кристаллический порошок белого цвета, кислого вкуса и без запаха. Легко растворима в воде.

Натрия тиосульфат, гипосульфит, NaSO (CT СЭВ 223-75) - мелкокристаллический порошок белого цвета, хорошо растворимый в воде. Массовая доля основного вещества не менее 99,5%. Ортофосфорная кислота, НРО (ГОСТ 6552-80) бесцветная прозрачная жидкость с массовой долей основного вещества не менее 73%. Карбамид CHON (ГОСТ 6691-77) кристаллический порошок белого цвета с массовой долей основного вещества не менее 99%. Карбамид используют совместно с ортофосфорной кислотой. Крахмал окисленный для хлебопечения, модифицированный - МДК (ТУ 10-04-08-61-87) в зависимости от применяемого сырья выпускают двух марок. Марка А - крахмал, окисленный броматом калия; Марка В - крахмал, окисленный гипохлоритом кальция.

4. Технологическая схема производства

·   Приёмка

·   Зачистка, просеивание

·   Замес

·   Порционирование

·   Формование

·   Расстойка

·   Выпечка

·   Охлаждение

·   Сортировка

·   Хранение

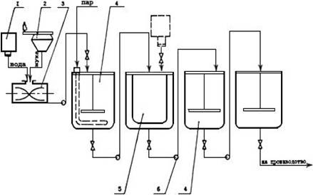
5. Аппаратурная схема приготовления жидких дрожжей

В зависимости от варианта производства жидких дрожжей (без разбавления водой и с разбавлением водой) аппаратурно-технологическая схема бывает двух типов.

Аппаратурная схема приготовления жидких дрожжей без разбавления водой включает заварочную машину марки ХЗ-2М-300, бачок водосолеподготовительный Ш2-ХДИ, дозатор сыпучих компонентов Ш2-ХД2-А и четыре чана марки РЗ-ХЧД-1400, предназначенные для заквашивания заварки, для охлаждения заквашенной заварки, для выращивания дрожжей и расходный чан, из которого жидкие дрожжи поступают на производство.

Чан для охлаждения заквашенной заварки снабжен теплообменником МЭС-079. С целью поддержания высокой температуры в чане для заквашивания размещается змеевик, по которому пропускается пар. Чаны для заквашивания и выращивания дрожжей снабжены тихоходными мешалками (рис. 1).

Рис. 1. Аппаратурная схема приготовления жидких дрожжей

- бачок водосолеподготовительный Ш2-ХДИ; 2 - дозатор сыпучих компонентов Ш2-ХД2-А; 3 - заварочная машина ХЗ-2М-300; 4 - чан дрожжевой РЗ-ХЧД-1400; 5 - чан РЗ-ХЧД с водяной рубашкой; 6 - насосная установка ШНК-18,5

Заваривание муки и осахаривание заварки осуществляются в заварочной машине, из которой осахаренная заварка с помощью насосных установок ШНК-18,5 поступает в чан для заквашивания.

Из чана для заквашивания заварка перекачивается в чан для охлаждения заквашенной заварки. Здесь заквашенная заварка охлаждается и поступает в чан для выращивания жидких дрожжей. Далее жидкие дрожжи перекачиваются в расходный чан и поступают на производство.

В отличие от аппаратурной схемы производства жидких дрожжей без разбавления водой в схеме приготовления жидких дрожжей с разбавлением водой, помимо указанных единиц оборудования, дополнительно включен еще один водосолеподготовительный бачок Ш2-ХДИ, который располагается непосредственно над чаном для охлаждения заквашенной заварки (для приготовления питательной смеси).

Заваривание муки, осахаривание и заквашивание заварки производится так же, как и при приготовлении жидких дрожжей без разбавления водой, далее заквашенная заварка перекачивается в чан для охлаждения заквашенной заварки (для приготовления питательной смеси) и из водомерного бачка сливается определенным количеством холодной воды в зависимости от степени разбавления заквашенной заварки.

При проектировании дрожжевых цехов желательно исходить из возможно более простого устройства цеха, с минимальной затратой механической энергии, с таким размещением чанов, чтобы избежать лишних перекачиваний осахаренной, заквашенной заварки и жидких дрожжей. В обязательном порядке цех должен быть оборудован вытяжной вентиляцией для удаления большого количества углекислого газа и водяных паров, которые выделяются в процессе выращивания жидких дрожжей (1 м жидких дрожжей за 8 ч выделяет до 7,5 м углекислого газа).

Помещение цеха должно быть светлым, относительно просторным, оснащенным отдельным отсеком или комнатой, где размещается необходимое оборудование для текущего контроля за качеством жидких дрожжей. Кроме того, здесь должны быть расположены раковины с подводкой холодной и горячей воды, отдельным водосливом непосредственно в полу (для мойки помещения цеха). Стены цеха желательно выложить белой плиткой, на окнах должны быть размещены металлические сетки во избежание проникновения в цех в летнее время насекомых.

. Технологическая инструкция по изготовлению ржаного хлеба

Тесто для хлеба из ржаной и смеси ржаной и пшеничной муки можно приготовлять на густой закваске; на жидкой закваске без заварки; на жидкой закваске с заваркой; на концентрированной бездрожжевой молочнокислой закваске.

По полному разводочному циклу закваски приготовляют 1-2 раза в год по установленному на каждом предприятии графику или по мере необходимости при ухудшении подъемной силы, замедлении кислотонакопления, изменении вкуса, запаха и других дефектов из-за вынужденных простоев или нарушений установленного технологического режима.

Приготовление теста на густой закваске

Данный способ рекомендуется применять при приготовлении теста из ржаной обойной и обдирной муки, а также из смеси разных сортов ржаной и пшеничной муки.

Густая закваска должна иметь влажность 48-50%, кислотность 13-16 град. из ржаной обойной или 11-14 град. из ржаной обдирной муки и подъемную силу "по шарику" до 25 мин.

В разводочном цикле ее готовят из муки, воды, чистых культур заквасочных дрожжей и молочнокислых бактерий, или закваски прежнего приготовления с добавлением в I фазе прессованных дрожжей.

В производственном цикле густую закваску поддерживают в активном состоянии путем освежений по достижении требуемой кислотности.  В таблицах расход сырья в заквасках по фазам разводочного цикла показан из расчета на 100 кг муки в III фазе, в производственном цикле - на 100 кг муки в закваске.

При замесе теста с густой закваской вносят 25-33% муки с последующим выбраживанием в течение 75-120 мин или 40-60% муки (на "большой" густой закваске) с сокращением продолжительности выбраживания до 30-60 мин.

Разделка, расстойка и выпечка

Деление и формовка теста производится тестоделительными машинами. Массу тестовой заготовки определяют по установленной массе готового хлеба с учетом упека и усушки. Куски теста после делителя проходят через закаточную машину и формуются продолговато-овальными с посыпкой мукой.

Продолжительность расстойки 50-70 мин при температуре 35-400С.

Выпечку производят в печах в увлажненной пекарной камере при температуре 210-2500С в течение 20-24 мин.

При выходе из печи готовые изделия рекомендуется опрыскивать водой. Температурный режим, продолжительность расстойки и выпечки могут изменяться в зависимости от типа, конструктивных особенностей оборудования и условий эксплуатации.

Незаменимые факторы питания

Суточная потребность человека

Хлеб ржаной из обдирной муки (200 г)

Степень удовлетворения суточной потребности, %

Белок, г

85

12,2

23.1

Жир, г

102

2,4

5,2

Полиненасыщенные жирные кислоты <#"810531.files/image002.jpg">

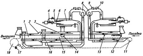
Рисунок 2 - Машинно-аппаратурная схема линии производства подового хлеба

В специальных устройствах готовят растворы соли и сахара, дрожжевую разводку и расплав жира (маргарина). Эти полуфабрикаты хранят в расходных емкостях, из которых через дозирующие устройства они поступают на замес. На рис, 2. показаны емкости и для хранения раствора соли и дрожжевой разводки.

При работе линии муку из силосов выгружают в бункер с применением системы аэрозольтранспорта, который кроме труб включает в себя компрессор, ресивер и воздушный фильтр. Расход муки из каждого силоса регулируют при помощи роторных питателей и переключателей. Для равномерного распределения сжатого воздуха при различных режимах работы перед роторными питателями устанавливают ультразвуковые сопла.

Программу расхода муки из силосов задает производственная лаборатория хлебозавода на основе опытных выпечек хлеба из смеси муки различных партий. Такое смешивание партий муки позволяет выравнивать хлебопекарные качества рецептурной смеси муки, поступающей на производство. Далее рецептурную смесь муки очищают от посторонних примесей на просеивателе, снабженном магнитным уловителем, и загружают через промежуточный бункер и автоматические весы в производственные силосы.

В данной линии для получения хорошего качества хлеба используют двухфазный способ приготовления теста. Первая фаза - приготовление опары, которую замешивают в тестомесильной машине. В нее дозируют муку из производственного силоса, а также оттемперированную воду и дрожжевую разводку через дозировочную станцию. Для замеса опары используют от 40 до 70% муки. Из машины опару загружают в шестисекционный тестоприготовительный агрегат.

После брожения в течение 3,0...4,5 ч опару из агрегата дозируют во вторую тестомесильную машину с одновременной подачей оставшейся части муки, воды, растворов соли и сахара, расплава жира. Вторую фазу приготовления теста завершают его брожением в емкости в течение 1...2 ч. Плотность пшеничного теста после замеса составляет 1200 кг/м3, в конце брожения - 500 кг/м3.

Готовое тесто стекает из емкости в приемную воронку тестоделительной машины, предназначенной для получения порций теста одинаковой массы. После обработки порций теста в округлительной машине образуются тестовые заготовки шарообразной формы, которые с помощью маятникового укладчика раскладывают в ячейки люлек расстойного шкафа.

Расстойка тестовых заготовок проводится в течение 35...50 мин. При относительной влажности воздуха 80...85% и температуре 35...40°С в результате брожения структура тестовых заготовок становится пористой, объем их увеличивается в 1,4... 1,5 раза, а плотность снижается на 30...40% . Заготовки приобретают ровную гладкую эластичную поверхность. Для предохранения тестовых заготовок от возникновения при выпечке трещин-разрывов верхней корки в момент перекладки заготовок на под печи их подвергают надрезке или наколке.

На входном участке пекарной камеры заготовки в течение 2...3 мин подвергаются гигротермической обработке увлажнительным устройством при температуре 100...160°С и относительной влажности воздуха 70...85%. Выпечка производится при переменном температурном режиме печи 150...250°С в течение 10...60 мин, в зависимости от рецептуры и массы порции выпекаемого хлеба Выпеченные изделия с помощью укладчика загружают в контейнеры и направляют через остывочное отделение в экспедицию.

Общая продолжительность приготовления хлеба от подачи муки до получения готовой продукции обычно составляет 9...10 ч.

Рисунок 3. Тестоприготовительный агрегат И8-ХТА-12

Тестоприготовительный агрегат И8-ХТА-12 (рис. 3.) предназначен для приготовления пшеничного теста двухфазным способом на большой густой опаре. Оборудован стационарным шестисекционным бункером для опары вместимостью 12 м3 и наклонным корытом для брожения теста вместимостью 2,8 м3, которое установлено так, чтобы тесто из него поступало самотеком в тестоделительную машину.

Тесто замешивается в машинах И8-ХТА, а транспортируется по трубам лопастным насосом-дозатором. Бункер 3 агрегата установлен на опорах 2.

Тестомесильные машины 10 для замеса опары и теста расположены так, что под ними размещаются лопастный дозатор опары 9 и аналогичный по конструкции нагнетатель теста, а рядом установлена дозировочная станция 17.

Замешанная опара поступает в бункер по транспортной трубе 8 и с помощью распределительного поворотного лотка 14 направляется в определенную секцию бункера. Лоток закреплен на общем валу с поворотным днищем, размещенным в конусе 4.

В поворотном днище имеется вырез для выгрузки опары из одной секции бункера. Приводное устройство 15 периодически по мере загрузки секции опарой поворачивает лоток и поворотное днище на один шаг и переводит загрузку на следующую секцию.

Выброженная опара с помощью насоса-дозатора 5 транспортируется по трубе 6 к тестомесильной машине. Замешенное тесто подается лопастным насосом по трубе 7 в наклонное корыто 18, установленное на четырех опорах 1, и отводится по тесто-спуску 19.Бункер снабжен лестницей 12 и площадкой для обслуживания 17 с ограждением 16. Рядом размещен пульт управления 13. Отличительной особенностью агрегата является то, что на нем применены лопастные дозаторы опары и аналогичные по конструкции нагнетатели теста, работающие более надежно, чем шнековые, и не вызывающие заметного нагрева теста.

Для брожения теста применено наклонное корыто без механического побудителя перемещения теста. Объем корыта уменьшен в связи с сокращением длительности брожения теста из-за более интенсивной его проработки в тестомесильной машине и транспортных устройствах.

Рисунок 4. Печь ПХС-25

Печь ПХС-25 Состоит из пекарной камеры, в которой имеются восемь секций длиной по 1,5 м каждая, ленточного конвейерного пода и каналов с двумя самостоятельными замкнутыми газовыми трактами. У ленточного конвейерного пода имеются ведущий барабан диаметром 710мм и барабан ведомый диаметром 320мм, на которые натянута плетеная сетка.

Конвейер оборудован устройством для корректирования положения сетчатой ленты путем изменения степени натяжения ее правой или левой половины. Кроме того, конвейер оборудован сигнализатором, который включается, когда нарушаются установленные зазоры между кромками сетчатой ленты и боковыми стенками пекарной камеры. Привод печи осуществляется от электродвигателя через вариатор скорости, зубчатые передачи и редуктор.

Конструкцией приводного механизма предусмотрен ручной привод. Наличие вариатора позволяет регулировать продолжительность выпечки от 12 до 72 мин. На нижней части сетки расположен щеточный механизм для очистки. Печь обогревается дымовыми газами, циркулирующими по каналам при помощи двух вентиляторов.

В топочных устройствах можно сжигать газ или мазут (нефть). Воздух к форсункам подводится отдельным вентилятором. Продукты сгорания направляются в верхние и нижние каналы и омывают верхние гофрированные и нижние стальные листы, отдавая теплоту выпекаемым изделиям.

Для осмотра конвейера и наблюдения за выпечкой в боковых стенах печи установлены смотровые лючки, а для контроля температуры среды пекарной камеры предусмотрено три термометра манометрического типа. Площадь пекарной камеры печи 25 м2.

Принципиальная схема печи представлена на (рис. 4). Обогрев пекарной камеры 1 осуществляется продуктами сгорания, получаемыми в двух топках 7. Топки оборудованы смесительными камерами и инжекционными горелками 6. Продукты сгорания движутся по металлическим каналам 2 и 16, ограждающим пекарную камеру сверху и снизу. Через пекарную камеру проходит ленточный конвейер 15, огибающий приводной 18 и натяжной 11 барабаны. Сетка ленточного конвейера очищается металлической круглой щеткой 17.

Для уменьшения вентиляции внутри пекарной камеры предусмотрены два поворотных фартука 13, а в торцевых проемах - подъемные дверцы 12. Для удаления излишней влаги пекарная камера соединена двумя вытяжными отверстиями и каналами 14 с вентиляционной системой предприятия.

Печь оборудована двумя обогревательными системами, которые обслуживают две зоны выпечки. Все конструкции обогревательной системы, находящиеся по действием газов высокой температуры, изготовлены из жаростойких сталей.

Для сжигания газа применяются инжекционные горелки 6 среднего давления с ручным регулированием расхода газа и автоматическим дозированием первичного воздуха. Горелки состоят из корпуса с четырьмя соплами и самостоятельными смесителями. Газ подается в корпус горелки через регулировочный кран 4, его давление контролируется манометром. В центре горелки размещен запальник 5 с обособленным подводом газа.

Горячие газы, образующиеся в топках, под влиянием тяги, создаваемой дымососами 8, проходят по металлическим каналам 3 и через их стенки передают теплоту обеим зонам пекарной камеры. В конце системы охлажденные газы разделяются на два потока: один направляется в дымовую трубу через клапан 10, а другой - в смесительную камеру топки для охлаждения ее стенок и снижения температуры топочных газов.

Обе обогревательные системы оборудованы тягомерами для контроля тяги в топках, термопарами и гальванометрами для замера температуры газов в конце смесительных камер топок, взрывными клапанами и электромагнитным клапаном для прекращения подачи газа к горелкам в случаях остановки работы дымососов или при снижении давления в газоподаче ниже допустимого предела.

Перед розжигом печи системы продувают свежим воздухом. Для этого клапан 9 перекрывает канал движения газов, и через патрубок они выбрасываются наружу, а свежий воздух через топки поступает в систему и проходит по всем каналам.

. Датчики

Датчики уровня - это устройства, позволяющие отслеживать количество жидкого или сыпучего вещества по уровню его поверхности в некоторой ёмкости.

Датчики уровня могут выдавать дискретный (по достижении некоторого уровня) или непрерывный сигнал (абсолютная высота текущего уровня) в зависимости от принципа действия, что сказывается на их технической сложности, а также на цене. Кроме того, датчики уровня могут быть контактными и бесконтактными, что также сказывается на стоимости и на области их применения.

По принципу действия датчики уровня могут быть:

Емкостными

Поплавковыми

Радарного типа

Ультразвуковыми

Емкостной датчик уровня

В основу работы данного типа датчика положено свойство конденсатора изменять свою ёмкость при изменении состава и распределения материала диэлектрика, разделяющего пластины конденсатора. Это свойство применяется во многих емкостных детекторах, например в емкостных датчиках влажности.

Предположим, имеется коаксиальный конденсатор, помещённый в жидкость, которая может свободно проникать в пространство между пластинами. Если известна диэлектрическая проницаемость жидкости, то можно составить следующее равенство:

С=С0+Сl=ε0*G0+εl*Gl

С - Общая ёмкость конденсатора

С0 - Ёмкость участка конденсатора, не содержащего жидкость

Сl - Ёмкость участка конденсатора, содержащего жидкость

ε0 - Диэлектрическая проницаемость газовой среды

εl - Диэлектрическая проницаемость жидкой среды- Геометрический коэффициент участка конденсатора, не содержащего жидкость- Геометрический коэффициент участка конденсатора, содержащего жидкость

При изменении уровня жидкости величина суммарной ёмкости конденсатора также изменятся. Если конденсатор включен в электрическую цепь, не составляет труда отследить изменение ёмкости, по которому можно однозначно судить об изменении уровня жидкости.

Емкостные датчики лишены подвижных элементов, поэтому достаточно надёжны и долговечны. К их недостаткам следует отнести значительную температурную зависимость (которая, впрочем, может быть скомпенсирована), а также необходимость погружения в жидкость.

Температурный датчик

Температурный датчик имеет автоматический принцип работы

Терморезистивные температурные датчики работают по принципу изменений электросопротивления при температурных изменениях. Рабочим электрическим элементом служит резистор, который меняет свое сопротивление в зависимости от изменений температуры вокруг. Их большим преимуществом является то, что они достаточно износостойкие, а потому работают достаточно долго, стабильно. Данные датчики сверхчувствительны, при этом просты в обращении.

Полупроводниковые температурные датчики производят регистрацию изменения характеристик работы, которые происходят под влиянием изменения температур. Довольно дешевы, при этом их работоспособность достаточно высокая, погрешность их данных является очень низкой. Все приведенные характеристики делаю эти температурные датчики довольно востребованными на сегодняшний день.

Термоэлектрические температурные датчики, иначе называемые термопарами, работают по принципу относительных устройств, то есть напряжение на выходе напрямую зависит от разницы температур двух частей, а практически не зависит от их абсолютных значений.

Температурные пирометры, датчики, которые бесконтактным способом регистрируют излучаемое телами тепло. Главным качеством данного температурного датчика является то, что необходимости соприкосновения с контролируемой средой нет. Данные датчики так же подразделяются на три вида и бывают флуоресцентными, интерферометрическими и на основе меняющих цвет специальных растворов.

Акустические температурные датчики при изменениях температур изменяют скорость, при которой звук распространяется в газах. Работает на основе излучателя, пускающего сигнальные звуки и приемника, который считывает скорость звука. Данные устройства так же работают бесконтактным образом.

Датчик давления

Местоположение реле уровня

Реле (датчик) уровня не имеет фиксированного местоположения, но, как правило, располагается в верхней части машины. Оно представляет собой большое цилиндрическое реле с подсоединенными проводами и пластиковой трубкой, которая ведет к резервуару высокого давления. Имеется несколько видов резервуаров высокого давления. Он может быть неотъемлемой частью корпуса пластикового фильтра, расположенного за передней панелью стиральной машины, или представлять собой автономное устройство, которое находится в задней части машины возле бака.

Вдобавок имеются напорные шланги, которые действуют так же, как резервуар высокого давления. Эти шланги подсоединяются к нижней части бака или прикрепляются непосредственно к сливному патрубку бака. Несмотря на то, что расположение и тип реле и резервуара высокого давления могут меняться, основной принцип их действия остается неизменным.

Как работает реле уровня

Реле (датчик) давления не вступает в прямой контакт с водой, но использует давление воздуха, которое образовывается в резервуаре высокого давления или напорном шланге. Когда вода попадает в бак, и уровень воды поднимается, оно задерживает определенное количество воздуха в резервуаре высокого давления. По мере повышения уровня воды в баке повышается давление воздуха, который удерживается в резервуаре высокого давления. Это давление затем передается в регулятор давления через небольшую гибкую трубку.

Реле (датчик) давления представляет собой устройство цилиндрической формы, в котором находится тонкая резиновая мембрана, увеличивающаяся под давлением воздуха. Мембрана располагается возле группы переключателей, количеством до трех штук, каждый из которых настраивается для функционирования на разных уровнях давления. Реле полностью изолировано от воды для обеспечения максимальной безопасности.

Расходометр

Расходомер - прибор, измеряющий расход вещества, проходящего через данное сечение трубопровода в единицу времени. Если прибор имеет интегрирующее устройство со счетчиком и служит для одновременного измерения и количества вещества, то его называют расходомером со счетчиком.

Расходомеры разделены, как правило, на четыре типа по принципу действия: электромагнитные, ультразвуковые, вихревые и механические, кориолисовые, тепловые.

Механические расходомеры

Принцип действия механических расходомеров (крыльчатых, турбинных, винтовых) основан на преобразовании поступательного движения потока жидкости во вращательное движение измерительной части. Механические расходомеры чувствительны к наличию крупных механических примесей в воде. Этот дефект легко убирается установкой перед счетчиком магнитомеханического фильтра.

Механический расходомер (1 - муфта; 2 - инжектор; 3 . турбина; 4 - фильтр)

Электромагнитные расходомеры

В настоящее время твердую позицию среди устройств измерения расхода жидких веществ (в частности, воды) занимают электромагнитные расходомеры с поперечным полем. Он обладает высокой точностью измерения, имеет широкий линейный динамический диапазон и не имеет механических частей, соприкасающихся с жидкостью.

Работа электромагнитных измерителей расхода жидкости основана на законе Фарадея. В проводнике, пересекающем силовые линии поля, индуцируется ЭДС, пропорциональная скорости движения проводника. При этом направление тока, возникающего в проводнике, перпендикулярно к направлению движения проводника и направлению магнитного поля. Если заменить проводник потоком проводящей жидкости, текущей между полюсами магнита, и измерять ЭДС, наведённую в жидкости по закону Фарадея, можно получить принципиальную схему электромагнитного расходомера, предложенную ещё самим Фарадеем


Схема и принцип действия электромагнитного расходомера с поперечным магнитным полем: 1 - трубопровод; 2 - полюса магнита; 3 - электроды для съема ЭДС; 4 - электронный усилитель; 5 - отсчетная система; 6 - источник питания магнита

Принцип действия и применение датчиков потока EGE-Elektronik

Принцип действия

В основу работы датчиков положен термодинамический принцип. Температура нагрева датчика на несколько градусов выше температуры измеряемой среды - потока жидкости - в которую он помещен. При наличии протока теплота, направленная на подогрев датчика, отводится потоком измеряемой среды и датчик охлаждается. Установившаяся в датчике температура измеряется и сравнивается с температурой измеряемой среды. При этом измеренная разность температур пропорциональна скорости потока, а, следовательно, и расходу измеряемой среды.

Чувствительность термодинамических датчиков зависит от теплотехнических свойств измеряемой среды. Так, чувствительность стандартного датчика вследствие меньшей теплопроводности, для масла, например, должна быть в 3 раза, а для воздуха в 30 раз выше, чем для воды. Термодинамические датчики потока работают без использования подвижных частей, поэтому отсутствует опасность коррозии подшипников, надлома крыльчатки или деформации обтекателей. Это обстоятельство обусловило их высокую надежность, что высоко ценится во всех отраслях промышленности.

Контроль в охлаждающих системах

Параметры потока охлаждающей воды в сварочных установках контролируются при помощи компактных приборов, чувствительные элементы которых изготовлены из нержавеющей стали. При этом необходимое охлаждение обеспечивается даже при высоком темпе сварочных операций. При отказе системы охлаждения сварочный робот автоматически отключается.

Для защиты металлорежущих инструментов и продления срока их службы, в металлообрабатывающих центрах непрерывно контролируется поток хладагентов.

Валки прокатных станов и ролики в волочильных машинах должны постоянно охлаждаться. Этот процесс также контролируется термодинамическими датчиками, которые могут применяться и при экстремальных - до + 160ºC - температурах окружающей среды. При этом регулирование требуемых параметров обеспечивается дистанционно специальными, установленными в нормальных условиях эксплуатации приборами.

Контроль транспортировки жидких сред

Защита от работы всухую различных насосов является широко распространенным видом применения компактных датчиков с встроенными функциями задержки времени выключения.

В дозирующей технике большое значение имеет контроль потока дозируемых материалов. Прохождение даже самых малых доз может быть воспринято при помощи проточных датчиков. При этом датчики встраиваются непосредственно в трубопровод как часть его участка.

Засорение различного рода фильтрующих и просеивающих установок также может осуществляться при помощи контроля протока. При достижении характеристиками потока граничных значений выдается сигнал на замену фильтрующего материала. Если замены не происходит, то, во избежание работы всухую, отключается насос в следующей стадии процесса. Для решения этой задачи применяются датчики с двумя точками срабатывания

Контроль протекания процессов

Контроль хода процессов различного рода очистки или промывки, в том числе с применением агрессивных сред, может быть обеспечен датчиками, изготовленными из таких специальных материалов как сплав Хастеллой или тантал.

Работа устройств вытяжки опасных для здоровья человека паров с рабочих мест в лабораториях, а также систем вентиляции помещений в производствах, перерабатывающих гексан, контролируется при помощи датчиков потока воздуха.

Также при помощи датчиков потока могут контролироваться и документироваться процессы очистки и стерилизации оборудования по месту.

Особенности конструкции

На острие штифта датчика находится температурно зависимый измерительный элемент. Измерительное острие и крепежная часть с нарезанной на ней резьбой являются одним целым и у многих датчиков изготовлены из нержавеющей стали. Этим достигается абсолютная герметичность и высокая стойкость по отношению к избыточному давлению.

Для вызывающих коррозию, особенно окисляющих, измеряемых сред применяются особые материалы, поскольку нержавеющая сталь по отношению к ним стойкой является лишь условно. При стандартном использовании, способ монтажа датчиков может не зависеть от направления движения измеряемой среды. Принципиально важно следить за тем, чтобы штифт датчика в каждом случае был погружен в нее полностью. Необходимо учитывать, что острие датчика уменьшает сечение трубы, в которой он устанавливается. При небольших диаметрах это вызывает увеличение скорости протока. Во избежание нарушений в работе датчика, возникающих за счет нестабильности динамических характеристик потока, не допускается установка непосредственно, ближе, чем на расстоянии 4...8 диаметров трубы, перед или после датчика каких-либо устройств, влияющих на их качество.

Измерительные датчики исполнений STK... с короткой резьбой предназначены для монтажа только на тройниках. Их монтажная длина определена таким образом, чтобы острие датчика было полностью окружено средой измерения, касаясь при этом противоположной стенки трубопровода. Измерительные датчики исполнений ST... с длинной резьбой предназначены для труб большого диаметра или для присоединения через длинные резьбовые штуцеры. Все стандартные резьбы измерительных датчиков являются цилиндрическими трубными резьбами типа G в соответствии с международным стандартом DIN ISO 228 и соответствуют нормам BSP.

Промышленный рефрактометр ПР-1М

Назначение

Промышленный рефрактометр ПР-1М предназначен для непрерывного измерения концентрации растворов различных жидкостей в промышленных технологических процессах.

Область применения.

Рефрактометр может применяться в пищевой, целлюлозно-бумажной, химической, нефтехимической и других отраслях промышленности.

Принцип действия исключает влияние цвета раствора, пузырьков воздуха, твердых частиц.

Конструктивно рефрактометр ПР-1М выполнен в виде единого модуля. Погружаемый узел изготовлен из нержавеющей стали. Оптическая призма изготовлена из лейкосапфира.

Технические характеристики:

Рабочие пределы показателя преломления среды (для модификаций НК и ВК):

,320-1,435

,400-1,525

Диапазон измерения концентрации в рабочих пределах 35 %

Погрешность измерения показателя преломления ± 0,0005

Абсолютная погрешность измерения концентрации ± 0,25 %

Температурная компенсация автоматическая

Допустимые пределы изменения рабочей температуры 0 - 150°С

Погрешность измерения рабочей температуры, не хуже 1°С

Время выхода на рабочий режим после включения, не более 1 мин

Период обновления сигнала (устанавливается программно) 0,05-3,25 сек

Выходные сигналы аналоговые 4-20 mA

Выходные сигналы цифровые (по заказу) RS232/RS485

Масса рефрактометра в сборе 8.2 кг

Наибольшие габаритные размеры 200х200х374 мм

Питание 220 В, 50 Гц

ЗАКЛЮЧЕНИЕ

Итак, на основании изложенного выше, вывод: в настоящее время в хлебопекарном производстве применяют два вида поточных линий, отличающихся по степени механизации. Выработка хлебобулочных изделий в ассортименте осуществляется на механизированных линиях, позволяющих в пределах ассортиментных групп переходить с производства одного вида продукции на производство другого. Массовые виды продукции (батоны, формовой и круглый подовый хлеб) вырабатывают на специализированных комплексно-механизированных линиях и автоматизированных линиях.

Основными процессами хлебопекарного производства являются замес и брожение рецептурной смеси теста. При замесе перемешиваются компоненты, смесь подвергается механической обработке и насыщению пузырьками воздуха, происходит гидролитическое воздействие влаги на сухие компоненты смеси, формируется губчатый каркас теста. Брожение теста вызывается жизнедеятельностью дрожжей, молочно-кислых и других бактерий. При брожении в тесте протекают микробиологические и ферментативные процессы, изменяющие его физические свойства. Образуется капиллярно-пористая структура, удерживаемая эластично-пластичным скелетом, поры которого заполнены газом, состоящим из диоксида углерода, паров воды, спирта и других продуктов брожения. Происходит накопление ароматических и вкусовых веществ, определяющих потребительские свойства хлеба.

Продукция хлебопекарного производства выпускается в законченном товарном и потребительском виде. Срок хранения хлеба без специальной упаковки не превышает 1-2 суток, поэтому его производство организуют в местах непосредственного потребления. Для транспортирования хлеб укладывают на деревянные лотки, размещают последние на стеллажах или тележках и перевозят специализированными автомобилями.

Похожие работы на - Производственная линия приготовления хлеба

 

Не нашли материал для своей работы?
Поможем написать уникальную работу
Без плагиата!
Без нейросетей!