Проектирование узла крепления

  • Вид работы:
    Курсовая работа (т)
  • Предмет:
    Другое
  • Язык:
    Русский
    ,
    Формат файла:
    MS Word
    236,15 Кб
  • Опубликовано:
    2015-02-02
Вы можете узнать стоимость помощи в написании студенческой работы.
Помощь в написании работы, которую точно примут!

Проектирование узла крепления

Курсовой проект

Проектирование узла крепления

 

 


Задание





Введение

Как известно, в летательных аппаратах широко используются такие элементы конструкции, как узлы крепления, и, в частности, кронштейны. Так как к основным требованиям к конструкции элементов ЛА относятся прочность конструкции и весовой фактор. Исходя из вышесказанного в данном курсовом проекте, предлагается спроектировать узел крепления с учётом вышеприведённых требований. Разрабатывается три варианта кронштейна, для производства штамповкой, литьём и сваркой. Необходимо выбрать материалы узла крепления в зависимости от технологического исполнения конструкции.

1. Проектирование узла крепления. Штамповка

В качестве материала узла крепления для штамповки примем сплав АМГ6, для которого .

Принимаем , отсюда следует


 

Расчёт проушины шарнирного соединения типа «ухо-вилка»

В конструкциях ЛА проушины выполняются в следующих вариантах: с подшипником, с втулкой, без подшипника или втулки. Рассмотрим отдельно каждый из них.

Проушины с подшипником

Проушины с подшипниками качения применяются, как правило, в элементах соединений типа «ухо-вилка» в кронштейнах с подвижными, шарнирными соединениями, в которых действуют небольшие нагрузки. При этом соединение болта с внешними подшипниками за счёт его затяжки и большего трения, чем в подшипнике, можно считать неподвижным.

Рисунок 1 - Шарнирное соединение типа «ухо-вилка»

Установка подшипника в проушине уха исключает возможность заклинивания навески элементов ЛА и уменьшает трение в этих узлах. Установка подшипников в двух проушинах вилки препятствует ориентации соединения и поэтому не применяется.

В шарнирных соединениях ЛА обычно используются шарикоподшипники радиальные сферические одно- или двухрядные с двумя защитными шайбами и выступающим внутренним кольцом. Подшипник подбирается по каталогу.

Исходя из величины нагрузки , для нашего случая подойдёт шарикоподшипник радиальный однорядный с канавкой для ввода шариков с двумя защитными шайбами без сепаратора №980800. Характеристики подшипника приведены ниже.


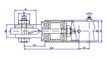
Рисунок 2 - Конструкция проушины с подшипником

Выбранный подшипник определяет диаметр болта, который в этом случае на срез и смятие не проверяется, а также другие размеры проушины. Так толщина проушины «уха» в соответствии с выбранным подшипником устанавливается как


где  - высота внешней обоймы подшипника,

 - расстояние от края проушины до внешней обоймы подшипника. Эта величина определяется ОСТ 03841-76 для диаметра 20…30 мм , для диаметра 30…40 мм .

Внутренний диаметр проушины определяется диаметром внешней, наружной обоймы подшипника

сварной шарнирный кронштейн шов

.

Наружный диаметр проушины  зависит от материала кронштейна и определяется по следующей зависимости

,

где  - величина перемычки, которая учитывает действующую нагрузку, внутренние напряжения от запрессовки подшипника, технологию заделки, а также возможную овальность отверстия под подшипник.

На смятие проушина под подшипником не проверяется.

В шарнирных соединениях, допускающих ориентирование уха по отношению к вилке, необходимо обеспечивать с помощью втулок на вилке или иных средств размер зазора на перекос.

Проушины с втулками

Проушины с втулками применяются в двух случаях: при передаче больших сил, когда применение подшипников нерационально, из-за их большого размера, и для уменьшения размеров проушины кронштейнов из алюминиевых и магниевых сплавов.

Втулка (с буртиком или без буртика) устанавливается в тело проушины по прессовой посадке, образуя неподвижное соединение, у которого допустимое напряжение смятия больше, чем у подвижного. Кроме того, повышается давление по поверхности трения «втулка - стальной болт». В случае разработки отверстия втулка без труда может быть заменена.

Втулки с буртиком применяются в случаях, когда по плоскости контакта проушин происходит перемещение. Для предотвращения заклинивания, материал втулки должен иметь меньший предел прочности по сравнению с материалом болта.

При использовании в шарнирном соединении втулок с точки зрения схем нагружения не имеет значения, какое соединение делать подвижным - относительно внешних или внутренних проушин. В первом случае применяется болт или ось, зафиксированные в средней проушине. Втулки устанавливаются в проушины вилки. Во втором более технологическом случае неподвижность соединения достигается затяжкой болта, втулка при этом устанавливается в проушине уха. Рассмотрим этот случай подробнее.

Диаметр отверстия втулки  назначается по диаметру болта , который определяется исходя из условия его среза по двум плоскостям

,

где  - число плоскостей среза болта ();

 - расчётное напряжение среза болта.

Высота или толщина проушины  берётся, как правило, равной высоте одной или двух стандартных втулок, запрессованных с обеих сторон проушины. Тогда наружный диаметр втулки определится как (в качестве материала втулки принимаем сталь 30ХГСА, для которой )


втулку назначаем исходя из конструктивных соображений, т.к. ,

где  - количество плоскостей смятия (для «уха» , вилки )

,  - пределы прочности на смятие соответственно материалов втулки и проушины.

При проведении проектировочного расчёта принимаем для алюминиевых и магниевых сплавов , для сталей

По рассчитанным размерам , ,  из отраслевых стандартов подбирается ближайший типоразмер втулки, и проводится проверка её прочности. Так, в случае установки в проушину двух втулок необходимо выполнение следующих неравенств


В случае если по расчётам получается, что , то при применении в конструкции кронштейна высокопрочных материалов и при отсутствии ремонта соединения втулку можно не ставить; при малых нагрузках на соединение при необходимости ремонта размеры втулки назначают, исходя из конструктивных соображений.

Рисунок 3 - Проушина со втулкой

Высоту проушины ,

 - высота проушины из условия смятия материала болта;

 - высота проушины из условия смятия проушины,  - диаметр отверстия проушины;

 - высота проушины из условия смятия материала по внутренней поверхности.



Остальные размеры назначают, исходя из конструктивных и технологических соображений.

Расчёт проушины без подшипников и втулок

Расчёт ведётся в следующей последовательности.

Диаметр соединительного болта определяется выражением

,

где  - число плоскостей среза;

 - расчётное напряжение среза болта.

Принимаем .

Рисунок 4 - Плоскости среза и разрыва

Толщина проушины определяется как максимальная из величин  и :

 - толщина проушины из условия смятия материала болта, принимаем, что ;

Рисунок 5 - Конструкция тяги

 - толщина проушины из условия смятия материала проушины, принимаем, что .

Ширина перемычек проушины определяется как максимальная из условия среза проушины от силы  и разрыва от силы :

 - ширина перемычки из условия разрыва проушины по плоскости разрыва;

 - ширина перемычки из условия среза проушины по плоскости среза;

,  - расчётные напряжения разрыва и среза материала проушины;

 - коэффициент концентрации, в общем случае зависит от вида нагружения соединения, числа проушин, размеров самого соединения.

Ширина перемычки  определяется аналогичным образом.


Остальные размеры назначаются исходя из конструктивных и технологических соображений.

Проектировочный расчёт корпуса балочного кронштейна

Корпус балочного кронштейна имеет, как правило, двутавровое сечение. Он включает в себя два пояса, заключённую между ними стенку, основание. Пояса двутавра воспринимают осевые усилия, возникающие от изгибающего момента и силы , а стенка - касательные усилия от сил  и .

Проектировочный расчёт начинается с расчёта сечения в зоне перехода проушины к телу кронштейна. Это сечение устанавливается на расстоянии  от точки приложения нагрузки.

Тогда


Должно выполняться условие

В выбранном сечении от усилий  и  действуют напряжения


Условие  выполняется.

Рисунок 6 - Корпус кронштейна

Далее переходим к расчёту толщины стенки. Стенка воспринимает перерезывающую силу. Её толщина рассчитывается из условия среза по формуле


где  - угол наклона пояса кронштейна к продольной оси;

 - высота стенки в рассматриваемом сечении;

 - допускаемое касательное напряжение.

При выборе толщины стенки в качестве расчётного сечения кронштейна принимают сечение, где стенка включается в работу и имеет наименьшую высоту (сечение 2-2).

В расчётах принимаем, что сечение 2-2 находится на расстоянии  от точки приложения силы .

Из технологических соображений толщина стенки кронштейна делается постоянной по всей длине кронштейна. Следует иметь ввиду, что напряжения в стенке по направлению к основанию кронштейна уменьшаются, так как перерезывающая сила остаётся постоянной по длине кронштейна, а высота стенки увеличивается.

Для снижения массы кронштейна или для размещения какой-либо коммуникации в стенке делают вырезы. Высота выреза делается не более половины высоты стенки кронштейна.

Расчёт толщины и ширины поясов проведём сначала для сечения 2-2, а затем для сечения 3-3. Здесь стенка имеет наименьшую строительную высоту, и сплошное сечение кронштейна переходит в сечение двутавра. Ширину пояса  в данном сечении примем ширине проушины .

По направлению к основанию кронштейна ширина пояса, как правило, увеличивается, а толщина  остаётся постоянной из технологических соображений.

Как уже отмечалось, пояса кронштейна воспринимают осевые усилия. Разрушение растянутого пояса происходит при напряжениях, равных критическим напряжениям потери устойчивости. Размеры пояса определим исходя из его площади, которую найдём из условия сохранения им большей устойчивости. В этом случае площадь пояса определится по следующей методике.

Напряжения, действующие в поясе, равны

,

,

условие  выполняется.

Расчёт ширины пояса для сечения 3-3 производится по условию

.

 

Расчёт болтов крепления

Болты крепления кронштейна подбираются из условия работы на разрыв и на срез. На срез работают все болты, и усилия между ними распределяются пропорционально их жесткостям среза.

Диаметр болта  по условию расчёта его на разрыв определяем из равенства

.



где - количество болтов крепления вверху или внизу основания.

Из условия работы болта на срез по одной плоскости можно записать

,

где  - общее количество болтов крепления;

 - напряжение среза болта.

Тогда


Из двух значений диаметров болтов выбираем наибольший и для него определяем действующее в нём суммарное напряжение от среза и растяжения  и сравниваем его с .


В конструкциях элементов ЛА используется, в основном, точечное крепление кронштейнов. Точечное крепление кронштейна производится в двух - шести точках, и только в этих точках крепление является контактным. Технологический перепад может составлять от одного до трёх миллиметров.

Расчёт толщины подошвы

Толщина подошвы из условия смятия её под болтом от силы определяется как


где  - коэффициент, учитывающий различные виды нагружения подошвы;

;

 - предел прочности материала кронштейна.

Толщина подошвы из условия местного изгиба основания в зоне крепления кронштейна определится из условия

.

Из условия технологичности выбираем .

2. Проектирование узла крепления. Литьё

В качестве материала узла крепления для литья примем сплав АЛ9, для которого . Литьё будем производить в кокиль.

Расчёт проушины без подшипников и втулок

Расчёт ведётся в следующей последовательности.

Диаметр соединительного болта определяется выражением

,

где  - число плоскостей среза;

 - расчётное напряжение среза болта.

Принимаем .

Толщина проушины определяется как максимальная из величин  и :

 - толщина проушины из условия смятия материала болта, принимаем, что ;

 - толщина проушины из условия смятия материала проушины, принимаем, что .

Ширина перемычек проушины определяется как максимальная из условия среза проушины от силы  и разрыва от силы :

 - ширина перемычки из условия разрыва проушины по плоскости разрыва;

 - ширина перемычки из условия среза проушины по плоскости среза;

,  - расчётные напряжения разрыва и среза материала проушины;

 - коэффициент концентрации, в общем случае зависит от вида нагружения соединения, числа проушин, размеров самого соединения.

Ширина перемычки  определяется аналогичным образом.


Остальные размеры назначаются исходя из конструктивных и технологических соображений.

Проектировочный расчёт корпуса балочного кронштейна

Расчёт проводим аналогично расчёту корпуса балочного кронштейна при щтамповке.

 от точки приложения нагрузки.

Тогда


Должно выполняться условие

В выбранном сечении от усилий  и  действуют напряжения


Условие  выполняется.

Далее переходим к расчёту толщины стенки. Стенка воспринимает перерезывающую силу. Её толщина рассчитывается из условия среза по формуле


где  - угол наклона пояса кронштейна к продольной оси;

 - высота стенки в рассматриваемом сечении;

 - допускаемое касательное напряжение.

При выборе толщины стенки в качестве расчётного сечения кронштейна принимают сечение, где стенка включается в работу и имеет наименьшую высоту (сечение 2-2).

В расчётах принимаем, что сечение 2-2 находится на расстоянии  от точки приложения силы .

Из технологических соображений толщина стенки кронштейна делается постоянной по всей длине кронштейна. Следует иметь ввиду, что напряжения в стенке по направлению к основанию кронштейна уменьшаются, так как перерезывающая сила остаётся постоянной по длине кронштейна, а высота стенки увеличивается.

Напряжения, действующие в поясе, равны

,

,

Расчёт ширины пояса для сечения 3-3 производится по условию

.

 

Расчёт толщины подошвы

Толщина подошвы из условия смятия её под болтом от силы определяется как


где  - коэффициент, учитывающий различные виды нагружения подошвы;

;

 - предел прочности материала кронштейна.

Толщина подошвы из условия местного изгиба основания в зоне крепления кронштейна определится из условия

.

Из условия технологичности выбираем .

3. Проектирование узла крепления. Сварка

В качестве материала узла крепления для сварки примем сплав АМГ6, для которого . Узел крепления будет состоять из следующих элементов: проушины под подшипник (штамповка), подошвы (фрезерование) и трех пластин. Так как для этого материала сечение уже подобрано (смотри Раздел I) воспользуемся уже готовыми размерами сечения.

Расчёт сварных швов

Рассмотрим шов проушины. В этом сечении шов работает на отрыв


Шов в месте соединения верхней пластины с подошвой работает на отрыв. Спроектируем  на ось верхней пластины


Шов в месте соединения нижней пластины и подошвы работает на сдвиг от силы


Таким образом, видим, что швы удовлетворяют условиям прочности.

Заключение

 

Проушины с втулками применяются в двух случаях: при передаче больших сил, когда применение подшипников нерационально, из-за их большого размера, и для уменьшения размеров проушины кронштейнов из алюминиевых и магниевых сплавов.

Втулка (с буртиком или без буртика) устанавливается в тело проушины по прессовой посадке, образуя неподвижное соединение, у которого допустимое напряжение смятия больше, чем у подвижного. Кроме того, повышается давление по поверхности трения «втулка - стальной болт». В случае разработки отверстия втулка без труда может быть заменена.

Втулки с буртиком применяются в случаях, когда по плоскости контакта проушин происходит перемещение. Для предотвращения заклинивания, материал втулки должен иметь меньший предел прочности по сравнению с материалом болта.

В курсовой работе спроектирован узел крепления с подбором сечения с учётом технологичности. Проектирование проведено для трёх случаев: штамповка, литьё и сварка. Спроектированы и подобраны размеры таких элементов узла крепления, как подошва, сечение кронштейна, подшипник, болты крепления. На чертежах, прилагаемых к пояснительной записке, в соответствии с технологичностью проставлены допуски на размеры и частоты поверхностей. Для сварного варианта произведён расчёт сварных швов.

 


Библиография


1. «Авиационные подшипники качения» Р.В. Коростышевский - М: Государственное научно-техническое издательство ОБОРОНГИЗ, 2010 г., 240 с.

2.      «Основы конструирования в самолётостроении» А.Л. Гиммельфарб - М: Машиностроение, 2011 г.

.        «Проектирование узлов летательных аппаратов» Л.Г. Лукашёв, В.Т. Тимшин - Куйбышев, КУАИ, 1988 г.

.        «Рекомендации по технологичности самолётных конструкций» под редакцией В.В. Бойцова - М: ОБОРОНГИЗ, 2009 г.

.        «Проектирование узлов летательных аппаратов» В.М. Булатов, О.Н. Корольков, В.Н. Хивинцев - Методическое пособие, Куйбышев, КУАИ, 2009 г., 64 с.

.        «Краткий справочник конструктора» Р.И. Гжиров - М: Машиностроение, 1983 г.

.        «Справочник по авиационным материалам» - М: Машиностроение, 2009 г.

.        «Сборник нормалей для проектирования узлов» - Учебное пособие, Куйбышев, КУАИ, кафедра КиПЛА.

.        «Основы конструирования Кн. 1» Орлов П.И. - М: Машиностроение, 2007 г.

Похожие работы на - Проектирование узла крепления

 

Не нашли материал для своей работы?
Поможем написать уникальную работу
Без плагиата!
Без нейросетей!