Проектирование технологических операций обработки детали
1. Назначение и краткое техническое описание
детали
Деталь представляет собой ступенчатое тело
вращения, что достаточно технологично, так как позволяет обработать
множественные поверхности. Отношение длины детали к ее диаметру меньше пяти,
следовательно, деталь достаточно технологична. Конструкция детали обеспечивает
достаточную жесткость при механической обработке на металлорежущем
оборудовании.
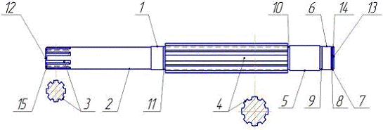
Рис. 1. Деталь - вал
Деталь имеет элементы, удобные для закрепления
заготовки при обработке. Формы поверхностей, подлежащих обработке, не
представляют сложности (в основном - поверхности вращения); имеется возможность
максимального использования стандартизованных и нормализованных режущих и
измерительных инструментов.
С точки зрения обеспечения заданной точности и
шероховатости поверхностей деталь не представляется сложной.
В конструкции детали имеются 2 шлицевых паза:
центральный Ø38f7
и на конце вала Ø28f7,
что требует специальной настройки станка и специальных режущих инструментов,
что не технологично.
. Конструктивно-технологический анализ детали
Деталь «Вал» изготовлена из
легированной конструкционной стали 40Х гост 4543-71, которая хорошо
обрабатывается всеми видами лезвийного и абразивного инструмента. Применяется
для изготовления валов, шестерен, муфт, пальцев и других улучшаемых деталей
небольших размеров, к которым предъявляются высокие требования высокой
прочности, упругости и износостойкости, а также допускается замена на сталь
марок сталь 45Х <#"810412.files/image002.gif">
Рис. 2 Эскиз детали
Деталь имеет несложную конфигурацию.
Деталь требует создания искусственных
технологических баз. Что не технологично.
Конструкция детали позволяет применять
рациональные формы и размеры заготовок. Коэффициент унификации конструктивных
элементов:
где:
- число унифицированных элементов
детали, шт.
- общее число конструктивных
элементов детали, шт.
Таблица 3
|
№
п/п
|
Обозначение
поверхностей
|
Квалитет
|
Шероховатость
Ra. мкм
|
Унифицированные
элементы
|
Базы
|
|
|
|
|
У
|
Т
|
|
|
1.
|
Цилиндр
Ø 30
|
k6
|
1.25
|
1
|
1
|
Поверхность
1
|
|
2.
|
Цилиндр
Ø 28
|
f7
|
3.2
|
1
|
1
|
Поверхность
2
|
|
3.
|
Цилиндр
шлицевой Ø 28
|
js6
|
1.25
|
1
|
1
|
Поверхность
3
|
|
4.
|
Цилиндр
шлицевой Ø 38
|
f7
|
1.25
|
1
|
1
|
Поверхность
4
|
|
5.
|
Цилиндр
Ø 32
|
f7
|
1.25
|
1
|
1
|
Поверхность
5
|
|
6.
|
Цилиндр
Ø 30
|
k6
|
1.25
|
1
|
1
|
Поверхность
6
|
|
7.
|
Цилиндр
Ø 30
|
k6
|
1.25
|
1
|
1
|
Поверхность
7
|
|
8.
|
Канавка
1,4
|
h14
|
6,3
|
1
|
1
|
Поверхность
8
|
|
9.
|
Канавка
3,0
|
h14
|
6.3
|
1
|
3
|
Поверхность
9
|
|
10.
|
Канавка
3,0
|
h14
|
6.3
|
1
|
3
|
Поверхность
10
|
|
11.
|
Канавка
3,0
|
h14
|
6,3
|
1
|
3
|
Поверхность
11
|
|
12.
|
Торец
Ø 28
|
h14
|
3,2
|
1
|
1
|
Поверхность
12
|
|
13.
|
Торец
Ø 30
|
h14
|
3,2
|
1
|
1
|
Поверхность
13
|
|
14.
|
Фаска
1,6×45º
|
h14
|
6,3
|
1
|
1
|
Поверхность
14
|
|
15.
|
Фаска
1,6×45º
|
h14
|
6,3
|
1
|
1
|
Поверхность
15
|
Ку.э.=15/21=0,71
так как Куэ >0,6, то деталь
по данному показателю технологична.
. Коэффициент точности
обработки:
Ктч=1-(1/Аср)
где Аср. - средний квалитет
точности,
Аср. = (п1+2п2+3п3+...+19п19)/Σп,
где n1,2…
число поверхностей детали с точностью соответственно с 01 по 19 квалитет.
Аср. = 4×6+3×7+8×14/21=7,47
Ктч=1-(1/7,47) = 0,86
так как Ктч > 0,5, то
изделие не точное и поэтому по данному показателю деталь технологична.
. Коэффициент шероховатости:
Кш=1/Бср,
где Бср - средняя шероховатость
поверхности, определяемая в значениях параметра Ra, мкм
Бср=(0,01п,+0,02п2+...+40п,з+80п14)/
Σni
где n1,n2-.-количество
поверхностей, имеющих шероховатость соответственно данному числовому значению
параметра.
Бср=1,25×6+3,2×3+6,3×6
/21=2,6
Кш=1/2,6 = 0.38
так как Кш = 0.38 ˃
0,16, то деталь сложная, не технологичная.
Вывод: На основании качественного и
количественного анализа на технологичность можно сделать следующий вывод:
деталь вполне технологична, нет необходимости вносить в ее конструкцию
какие-либо изменения.
. Выбор типа производства (единичное, серийное,
массовое)
Объем выпуска характеризует примерное количество
машин, сборочных единиц, деталей, заготовок подлежащих выпуску в течение
планируемого периода времени (год, квартал, месяц).
Годовой объем выпуска деталей «Вал» можно
определить по формуле:
NД = NСЕ∙n∙(1+
)
где NСЕ
= 15000 - годовой объём выпуска детали «Вал»,
n = 1 - количество
деталей «Вал»;
β = 0% - процент
запасных деталей.
NД = 15000∙1∙(1+
)
= 15000
Принимаем NД
= 15000 шт.
Такт выпуска деталей можно определить по
формуле:
τВ.Д. =
где FД
= 2010 ч - действительный годовой фонд времени работы оборудования в часах,
мин
Приближенно коэффициент закрепления
операций можно вычислить по формуле:
КЗО =
,
где tШТ.СР. -
среднее штучное время.
По заводскому технологическому
процессу для операций механической обработки:
t ШТ.СР. =
2,05 мин
Согласно рекомендациям ГОСТ 3.1108 -
74, в массовом и крупносерийном производстве:
.
КЗО = 3,9 соответствует массовому
типу производства.
В связи с этим определяем тип
производства как массовый, который характеризуется достаточно большим объёмом
выпуска с широкой номенклатурой изделий, изготовляемых повторяющимися партиями,
что вызывает необходимость применения оборудования с высокой степенью
механизации и автоматизации, но обладающего гибкостью, применения специальной
технологической оснастки.
Размер партии деталей можно
определить по формуле:
nД =
где tЗ
= 21 день - срок, в течение которого должен храниться на складе запас деталей;
Ф = 250 дней - число рабочих дней в году.
Принимаем размер партии деталей nД
= 1260 шт.
Число запусков деталей в месяц:
iрасч =
,
Принимаем число запусков изделий в
месяц i = 1.
4. Выбор и обоснование размеров заготовки и
способа их получения
Для современных требований, предъявляемых к
изготовлению заготовок деталей изделий, характерны следующие технологические
тенденции: максимальное приближение заготовок по формам и размерам к деталям,
требующимся по чертежу; экономия материала; применение прогрессивных способов
получения заготовок.
Для изготовления детали большую роль играет
выбор рационального вида исходной заготовки и способа её получения. Способ
получения заготовки должен быть обусловлен ее стоимостью и дальнейшей
обработкой. Наиболее широко для получения заготовок применяют следующие методы:
литьё, обработка металлов давлением и сварка, а также их комбинации.
Каждый из методов содержит большое число
способов получения заготовок. Так, например отливки можно получать в
песчано-глинистых формах, кокиль, по выплавляемым моделям, под давлением и т.
д.; поковки и штамповки - ковкой на молотах, гидравлических прессах; штамповкой
на штамповочных машинах, кривошипных горячештамповочных прессах,
горизонтально-ковочных машинах и т. д. Способ получения заготовки определяется
типом производства, материалом, формой и размерами детали.
В данном проекте деталью, для которой необходимо
выбрать метод получения заготовки, является вал. Учитывая, что тип производства
- массовый, качество материала должно быть равномерным, наиболее рациональна
поковка, полученная в закрытом штампе методом прямого выдавливания. При этом
структура материала заготовки получается более однородной, её размеры
стабильны, а конфигурация - близка к конфигурации изделия. Оборудование -
кривошипный горячештамповочный пресс.
При проектировании технологических процессов
механической обработки заготовок необходимо установить оптимальные припуски,
которые обеспечили бы заданную точность и качество обрабатываемых поверхностей.
Определение припусков на механическую обработку проведём опытно-статистическим
методом. Назначим припуски на механическую обработку по ГОСТ7505-74 . Для этого
необходимо определить массу заготовки, класс точности, группу стали, степень
сложности заготовки .
Проектирование и расчет заготовки из горячей штамповки:
Масса детали 2,56 кг.
Материал : сталь 40Х ГОСТ4543-71.
Масса поковки :
Мп =Мд *Кр
где Мд -масса детали , Кр -расчётный
коэффициент , Кр =1,3;
Мп = 2,56*1,3= 3,33 кг .
Класс точности -Т2 .
Группа стали - М2 .
Степень сложности - С3 .
Конфигурация поверхности штампа П (плоская) ;
Исходный индекс 13 ;
Назначим припуски и кузнечные напуски.
Основные припуски на размеры :
Ø38 - 1,5 мм,
Длина 410 - 3,0 мм,
Ø30 - 1,5 мм,
Ø32 - 1,5 мм,
Дополнительные припуски учитывающие :
смещение по поверхности разъёма штампа - 0,3 мм,
отклонение от плоскостности - 0,3 мм.
Размеры поковки и их допускаемые отклонения
Размеры поковки ,мм:
Ø38+(1,5+0,3)*2=41,6
принимаем Ø42;
+(3,0+0,3)*2=417,2 принимаем 417,0 ;
Ø30+(1,5+0,3)*2=33,6
принимаем Ø34,0;
Ø32+(1,5+0,3)*2=35,6
принимаем Ø36,0;
Допускаемые отклонения размеров:
Ø
,
, Ø
, Ø
Неуказанные предельные отклонения
размеров мм. Допускаемое смещение по
поверхности штампа 0.7мм.
При получении заготовок на
кривошипных прессах по сравнению со штамповкой на молотах припуски и допуски
уменьшаются на 15-20%, расход металла снижается на 10-15%, что повышает
коэффициент использования материала, снижает себестоимость самой заготовки и
стоимость её обработки.
Рис. 3. Чертеж заготовки
Выполним расчет экономической эффективности
выбора получения заготовки.
Стоимость заготовки, получаемой методом горячей
штамповки:
где
- базовая стоимость 1т заготовок;
- коэффициент, учитывающий класс
точности заготовки;
- коэффициент, учитывающий группу
сложности заготовки;
- коэффициент, зависящий от массы
заготовки;
- коэффициент, зависящий от марки
материала заготовки;
- коэффициент, зависящий от объема
выпуска заготовок;
- цена 1т отходов;
Для заготовки, получаемой горячей штамповкой:
= 26600 руб. (#"810412.files/image024.gif"> = 1,00 для поковки нормальной
точности ([2], стр37);
= 0,87 для поковки второй группы
сложности ([2], табл.2.12);
= 0,72 ([2], табл.2.12);
= 1,13([2], стр.37);
= 1,00 ([2], стр.38);
= 8300 руб.
(<#"810412.files/image030.gif">
Проектирование и расчет заготовки из проката
Программа КОМПАС 3D v13 подсчитала
массу заготовки получаемой из проката. Масса заготовки получается
Рис.4 Чертеж заготовки
Выполним расчет экономической эффективности
выбора получения заготовки.
Стоимость заготовки, получаемой из проката:
,
где
- базовая стоимость 1т заготовок;
- коэффициент, учитывающий класс
точности заготовки;
- коэффициент, учитывающий группу
сложности заготовки;
- коэффициент, зависящий от массы
заготовки;
- коэффициент, зависящий от марки
материала заготовки;
- коэффициент, зависящий от объема
выпуска заготовок;
- цена 1т отходов;
Для заготовки, получаемой из
проката:
= 26600 руб.
(#"810412.files/image024.gif"> = 1,05 для заготовки второго класса
точности ([2], стр33);
= 0,7 для заготовки второй группы
сложности ([2], табл.2.8);
= 1 ([2], табл.2.8);
= 1,04 ([2], табл.2.8);
= 1,00 ([2], табл.2.8);
= 8300 руб.
(#"810412.files/image034.gif">
Так как заготовка, полученная
горячей штамповкой, стоит дешевле заготовки, полученной из проката, то
принимаем способ получения заготовки горячая штамповка в закрытом штампе.
5. Выбор и обоснование баз, способов закрепления
для заготовки
Перед разработкой ТП необходимо получить и
изучить информацию, которая делится на базовую, руководящую и справочную.
Базовая - сведения, содержащиеся в
конструкторской документации на изделие, объем выпуска, сроки подготовки
производства. Рабочий чертеж детали содержит все размеры, технические
требования к качеству и шероховатости, марку и твердость материала.
Руководящая - сведения, по развитию отрасли,
план выпуска материала, средств технологического оснащения стандарты на ТП.
Справочная - сведения, о прогрессивных методах
обработки, каталоги, номенклатурные справочники оборудования и оснастки.
Материалы по выбору технологических нормативов (режимы обработки, припуски,
расход материала и др.) и др. справочные материалы.
Всю механическую обработку разбивают по
операциям и таким образом выявляют последовательность выполнения операций, их
число для каждой операции выбирают оборудование и определяют конструктивную
схему приспособлений.
Задачей каждого предыдущего перехода является
подготовка поверхности заготовки под последующую обработку и каждый последующий
метод (операция или переход) должен быть точнее предыдущего т. е. обеспечивать
более высокое значение показателей качества детали. Поэтому механическая
обработка делится на:
черновую обработку, когда удаляется большая
часть припуска, что позволяет обнаружить возможные дефекты заготовки; на первых
одной-двух операциях. При базировании по черновым базам обрабатываются основные
технологические базы;
чистовую обработку, когда в основном обеспечивается
требуемая точность:
далее идут операции местной обработки, по ранее
обработанным поверхностям, отделочные операции, когда достигается требуемая
шероховатость поверхности и окончательно обеспечивается точность детали.
Контроль в ТП предусмотрен с целью
технологического обеспечения заданных параметров качества, обработанной детали.
Разработанный ТП должен содержать общий план
обработки детали и описание содержания операций ТП и выбор типа оборудования.
Он должен быть прогрессивным, обеспечивать повышение производительности труда и
качества детали, сокращать материальные и трудовые затраты и быть экологически
безопасным. Построение технологического маршрута обработки во многом
определяется конструктивно-технологическими особенностями детали. Выбор маршрутной
технологии существенно зависит от типа производства, уровня автоматизации и
применяемого оборудования.
При массовом производстве применяют станки с
ЧПУ, автоматы, полуавтоматы, агрегатные специализированые и специальные станки.
Перспективным в массовом производстве является применение гибких
производственных систем (линий, участков, цехов), особенно при наличии условий
для групповой организации производства.
Выбор станка на операцию определяется
возможностью изготовления на нем деталей необходимой конфигурации и размеров,
обеспечения качества ее поверхности, производительности оборудования, а также
экономическими параметрами.
Рис. 5. Вал
При проектировании проектного технологического
процесса необходимо соблюдать принцип совпадения конструкторских,
технологических, и измерительных баз. Только при его соблюдении, возможно
говорить о правильности составления техпроцесса. Для деталей типа «Вал» с
внутренним отверстием рекомендуется изначально базировать по наружней поверхности
с последующем базированием на центровые отверстия.
Последовательность технологических переходов
должна обеспечивать заданные чертежом детали параметры точности.
Для рассмотрения данного вопроса воспользуемся
чертежом детали, изображенным на рис. 5. Для наглядности сведем результат в
таблицу.
Таблица 4
Выбор технологических баз и последовательности
переходов
|
Номер
оп.
|
Операция
|
Обрабатываемые
поверхности
|
Базирование
|
|
015
|
Токарная
с ЧПУ
|
1,2,15,16,19
|
Поверхность
7,центр.отв.6
|
|
020
|
Токарная
с ЧПУ
|
3,7,9,8,18
|
Поверхность
1, центр.отв.6
|
|
030
|
Шлицефрезерная
|
1,10
|
Поверхность
7, центр.отв.6
|
|
035
|
Шлицефрезерная
|
3,14
|
Поверхность
7, центр.отв.6
|
|
040
|
Круглошлифовальная
|
4
|
Поверхность
7, 17
|
|
045
|
Круглошлифовальная
|
4
|
Поверхность
7, 17
|
|
070
|
Круглошлифовальная
|
2,7,9
|
Поверхности
1, центр.отв.6
|
6. Проектирование
технологических операций обработки детали
Разработку техпроцесса начинаем
с выбора методов обработки каждой поверхности в зависимости от точности и
шероховатости. Данные по методам обработки сведем в таблицу.
Таблица 5. Технологический процесс изготовления
дет. «Вал»
|
№
операции
|
Наименование
операций
|
Карта
эскизов
|
Станок
(оборудование), приспособление
|
|
005
|
Заготовительная
Штамповка на КГШП
|
|
Заготовительный
цех. Штамп
|
|
010
|
Фрезерно-центровальная.
Фрезеровать торцы одновременно; центровать торцы одновременно
|
|
Фрезерно-центровальный
полуавтомат модели МР-71. Приспособление специальное: призмы, прихваты.
|
|
015
|
Токарная
ЧПУ. Точить заготовку с одной стороны, точить 3 канавки
|
|
Токарно-винторезный
с ЧПУ 16К20Ф30 Приспособление: патрон поводковый, центр вращающийся.
|
|
020
|
Токарная
ЧПУ. Точить заготовку с другой стороны, точить канавку.
|
|
Токарно-винторезный
с ЧПУ 16К20Ф30. Приспособление: патрон поводковый, центр вращающийся
|
|
025
|
Шлицефрезерная
Фрезеровать шлицы.
|
|
Шлицефрезерный
горизонтальный полуавтомат модели 5350А. Приспособление: патрон поводковый,
центр вращающийся. Фреза червячная чистовая с прямобочным профилем 2520-0738
ГОСТ 8027-86
|
|
030
|
Шлицефрезерная
Фрезеровать шлицы.
|
|
Шлицефрезерный
горизонтальный полуавтомат модели 5350А. Приспособление: патрон поводковый,
центр вращающийся. Фреза червячная чистовая с прямобочным профилем 2520-0745
ГОСТ 8027-86
|
|
035
|
Слесарно-опиловочная.
|
Верстак
|
Слесарный
верстак.
|
|
040
|
Моечная.
|
Моечная
машина
|
Ванна.
|
Контрольная.
|
Верстак
|
Контрольный
стол
|
|
050
|
Термическая.
Закалить деталь HB 210…260
|
Термический
цех
|
Печь
термическая
|
|
055
|
Круглошлифовальная.
Шлифовать Ø 32f7 выдержав
технические требования
|
|
Круглошлифовальный
станок модели 3А110В. Приспособление: центр жесткий, центр вращающийся,
хомут.
|
|
060
|
Круглошлифовальная.
Шлифовать Ø 30к6 с
двух сторон выдержав технические требования чертежа
|
|
Круглошлифовальный
станок модели 3А110В. Приспособление: центр жесткий, центр вращающийся,
хомут.
|
|
065
|
|
|
|
|
070
|
Моечная.
|
Моечная
машина
|
Ванна.
|
|
075
|
Контрольная.
|
Верстак
|
Контрольный
стол
|
. Расчет припусков на обработку и определение
размеров заготовки
Припуск - слой материала, удаляемый с
поверхности заготовки в целях достижения заданных свойств обрабатыв аемой
поверхности детали. Припуск на обработку поверхностей детали может быть
назначен по справочным таблицам или на основе расчетно-аналитического метода.
Расчетным значением припуска является
минимальный припуск на обработку, достаточный для устранения на выполняемом
переходе погрешностей обработки и дефектов поверхностного слоя, полученных на
предшествующем переходе, и компенсации погрешностей, возникающих на выполняемом
переходе.
Определяем последовательность обработки заданной
поверхности
, Ra 1,25 по [8. табл. 4. стр. 8]
черновое точение Ø 34,5h12-0,25, Ra
6,3
чистовое точение Ø 32,3 h10-0,1, Ra
3,2
шлифование окончательное
, Ra 1,25
Все расчеты сведем в таблицу 6.
Таблица 6. Расчет припусков и
промежуточных размеров
|
Переходы
обработки поверхности Ø 72IS7±0,015
|
Точность
обработки
|
Шероховатость
Ra, мкм
|
Табличное
значение припуска 2Z, мм
|
Принятый
размер, мм
|
|
1
|
2
|
3
|
5
|
7
|
|
Заготовка
(штамповка)
|
14/0,87
|
25
|
-
|
36h14
|
|
Черновое
точение
|
12/0,25
|
6,3
|
1,5
|
34,5
h12
|
|
Чистовое
точение
|
10/0,1
|
3,2
|
2,2
|
32,3h10
|
|
шлифование
|
7/0,025
|
1,25
|
0,3
|
|
На основании расчета строим схему
расположения промежуточных припусков, полей допусков и промежуточных размеров
на обработку размера
.
Рис.8
Схема расположения полей допусков
8. Расчёт режимов резания и нормирование
штучного времени
Операция № 020. Комплексная с
ЧПУ. Токарный станок с ЧПУ 1В340Ф30.
Содержание перехода:
1. Точить с Ø36Is14
на Ø32,3h10,
Ra - 6,3 мкм методом продольной подачи.
Марка обрабатываемого материала - сталь 40Х
ГОСТ4543-71 (σв = 530МПа). С
охлаждением эмульсией. СПИД - средняя.
. Выбор режущего инструмента
Принимаем токарный проходной упорный правый
резец 2140-0059 ГОСТ 18879 - 83. Материал пластинки - твердый сплав ВК8;
[2, табл.3. 116]
Материал державки - сталь 45,
сечение державки 25×16, длина
резца 280 мм. Геометрические параметры резца: форма передней поверхности -
плоская с фаской тип IIб,
. Назначаем режимы резания:
Устанавливаем глубину резания.
При снятии припуска за один проход t
= 1,85 мм
. Назначаем подачу Sтабл.=1,2 мм/об:
[2.,табл. 11, стр.266]
. Назначаем период стойкости резца,
мин., Т = 60 мин [5.,стр.30]
. Определяем скорость главного
движения резания, допускающую режущими свойствами резца м/мин.
,
Где
- коэффициент, является
произведением коэффициентов, учитывающий влияние материала заготовки
состояние поверхности (поковка ):
;
материала инструмента (ВК8):
[2.табл.6.,стр.263]
учитывающий вид токарной обработки:
Кv = Кmv× Кnv×Кuv = 1,54 ×0,8×0,83 = 1,02
м/мин.
Принимаем
м/мин
6. Частота вращения шпинделя, соответствующая
рассчитанной скорости резания:
= 1000×130/(3,14×36) = 1150
об/мин
Устанавливаем nст. = 1150 об/мин, тогда
фактическая скорость резания:
д = π×
D ×nст./1000
= 3,14×36×1150/1000
= 129,9 м/мин
. Мощность, затрачиваемая на резание:
рез = Pz×Vд/(102×60),
кВт
Где
Для заданных условий обработки
(Сталь 40Х):
;
;
;
,
Учитывая поправочные коэффициенты на
силу резания, определяем силу резания по формуле:
Находим:
;[2.,табл. 9, стр.264]

;
рез = Pz×Vд/(102×60) = 38,46×129,9/6120 =
0,8 кВт [2.,стр.271]
Проверяем достаточна ли мощность
привода станка. У станка мод.1В340Ф30 мощность на шпинделе станка:шп =Nдв×η = 22 ×0,8 = 17,6
кВт,
Обработка возможна.
. Определим основное время:
Длина рабочего хода резца :
Врезание
Перебег принимаем равным
мм;
мм
Число рабочих ходов принимаем i=1.
Тогда
Основное время:
Расчет норм штучного времени.
. Нормирование вспомогательного времени:
, мин
где Туст - время на установку и
снятие детали, мин;пер - время, связанное с переходом, состоит из времени на
приемы: подвод инструмента, установка инструмента на размер, включение подачи и
вращения шпинделя, отвод инструмента и т. д., мин;доп - вспомогательное время
на дополнительные приемы, мин;конт - вспомогательное время на
контрольные измерения, которые производятся после окончания обработки
поверхности.
. Нормирование времени на
обслуживание рабочего места:
, мин
где Ттех - время на техническое
обслуживание рабочего места, мин;
Торг - время на
организационное обслуживание рабочего места, мин
В условиях среднесерийного
производства время на обслуживание рабочего места выражают в процентах от
оперативного времени в зависимости от группы станка.
от оперативного времени.
. Нормирование времени на отдых и
личные надобности:
Время на отдых и личные надобности
зависит от условий труда, которые в свою очередь, определяются факторами
утомляемости и определяют в процентах от оперативного времени.
от оперативного времени.
. Нормирование
подготовительно-заключительного времени:
Содержание подготовительных работ
зависит от типа производства, применяемых форм организации производства и
труда, а также характера нормируемой операции.
Нормирование производится по нормативам.
Расчет нормы штучного времени:
, мин
где То - основное время на
обработку, мин;
Тв - вспомогательное время на
операцию
К - время на обслуживание рабочего
места и время на отдых и личные надобности, в процентах от оперативного
времени, %:
К = аоб + аотл, % = 8,4 %
где:
- время на установку, мин;
- время связанное с операцией, мин;
- время на измерения, мин;
- время на смену инструмента
К- время на обслуживание рабочего
места, отдых и личные надобности, % от оперативного времени, мин.
Определим вспомогательное время,
связанное с операцией.
а)
= 0,15 мин [5, карта 3, лист 1,
поз.7],
б) на операцию:
б) время на контроль:
[5, карта 15, лист 5],
мин.
г) время на смену инструмента
= 0,08 мин. [5, карта 25, лист 4],
мин.
Время на обслуживание и отдых и
личные надобности.
К=7% [5, карта 16],
Определим штучное время:
мин.
Аналогично рассчитываем режимы
резания на остальные операции и результаты сводим в таблицы 1.
Таблица 7 - Сводная таблица режимов резания для
принятого техпроцесса
|
Но-
мер операции
|
Наименование
операции, переход
|
Глубина
резанияt,мм
|
Длина
резания lрез, мм
|
Подача
Sо,
мм/об
|
СкоростьV, м/мин
|
Частота
вращения, мин-1
|
Минутная
подача SM, мм/мин
|
Основное
время Тo,мин
|
|
|
|
|
|
расчетная
|
принятая
|
расчетная
|
принятая
|
расчетная
|
принятая
|
|
|
|
1
|
2
|
3
|
4
|
5
|
6
|
7
|
8
|
9
|
10
|
11
|
12
|
|
010
|
Фрезерно-центровальная
1. Фрезеровать торцы 2. Сверлить центровые отверстия
|
1
2,0
|
66
13,8
|
1
0,12
|
1
0,12
|
120
29
|
101 25
|
579
1453
|
500
1250
|
180
150
|
0,15
0,1
|
|
015
|
Токарная
с ЧПУ 1. Черновое точение поверхностей Ø38
|
1
|
245
|
1,2
|
1,2
|
130,4
|
130
|
1150
|
1150
|
|
0,18
|
|
Но-
мер операции
|
Наименование
операции, перехода
|
Глубина
резанияt,мм
|
Длина
резания lрез, мм
|
Подача
Sо,
мм/об
|
СкоростьV, м/мин
|
Частота
вращения, мин-1
|
Минутная
подача SM, мм/мин
|
Основное
время Тo,мин
|
|
|
|
|
|
расчетная
|
принятая
|
расчетная
|
принятая
|
расчетная
|
принятая
|
|
|
|
1
|
2
|
3
|
4
|
5
|
6
|
7
|
8
|
9
|
10
|
11
|
12
|
|
Ø32
|
1
|
66
|
0,6
|
0,6
|
125
|
120
|
1150
|
1150
|
378
|
0,12
|
|
Ø30
|
1,3
|
20
|
0,6
|
0,6
|
125
|
120
|
1150
|
1150
|
480
|
0,2
|
|
2.
Чистовое точение поверхностей Ø38
|
0,6
|
245
|
0,3
|
0,3
|
163
|
160
|
944
|
900
|
240
|
0,152
|
|
Ø32
|
0,5
|
66
|
0,3
|
0,3
|
140
|
140
|
919
|
900
|
240
|
0,09
|
|
Ø30
|
0,8
|
20
|
0,3
|
0,3
|
150
|
150
|
995
|
900
|
240
|
0,08
|
|
3.
Точить 2 канавки b=3 Ø38, Ø32,0
|
0,25
|
3
|
0,2
|
0,2
|
77
|
65
|
776
|
700
|
80
|
0,15
|
|
4.
Точить канавку b=1,4 Ø30
|
0,95
|
1,4
|
0,2
|
0,2
|
77
|
65
|
472
|
700
|
80
|
0,05
|
|
020
|
Токарная
с ЧПУ 1. Чистовое точение поверхностей Ø30
|
2,0
|
170
|
0,1
|
0,12
|
130
|
130
|
1150
|
1150
|
115
|
0,45
|
|
Ø28
|
1,0
|
150
|
0,1
|
0,1
|
130
|
130
|
1150
|
1150
|
115
|
0,29
|
|
Точить
канавку b=3 Ø30
|
0,25
|
3,0
|
0,1
|
0,1
|
80
|
80
|
850
|
850
|
85
|
0,08
|
|
025
|
3,0
|
8
|
0,3
|
0,3
|
25
|
25
|
569
|
500
|
150
|
9,9
|
|
030
|
Фрезеровать
щлицы на Ø28
|
2,5
|
6
|
0,3
|
0,3
|
25
|
25
|
569
|
500
|
150
|
2,3
|
|
055
|
Шлифовать
поверхность Ø32f7
|
0,125
|
46
|
0,05
|
0,05
|
78
|
75
|
1200
|
1200
|
60
|
3,8
|
|
060
|
Шлифовать
поверхность Ø30k6 с 1
стороны
|
0,125
|
20
|
0,05
|
0,05
|
78
|
75
|
1450
|
1450
|
72,5
|
1,7
|
|
Шлифовать
поверхность Ø30k6 с 2
стороны
|
0,125
|
20
|
0,05
|
0,05
|
78
|
75
|
1450
|
1450
|
72,5
|
1,7
|
|
|
|
|
|
|
|
|
|
|
|
|
|
|
|
|
|
. Выбор станков и режущего инструмента,
обеспечение точности обработки
Инструментальная оснастка представляет собой
совокупность инструментов, предназначенных для обработки резанием или
пластическим деформированием, а также устройств для закрепления инструмента.
Выбор режущих инструментов при оснащении
технологической операции механической обработки заготовок производится, исходя
из условий обработки с учетом вида станка, материала обрабатываемой заготовки,
ее размеров и конфигурации, требуемой точности обработки, шероховатости
поверхности, типа производства.
Вспомогательный инструмент (оправки, резцовые
блоки и т.п.) должен обеспечивать надежное закрепление режущего инструмента,
быструю и легкую его смену, возможность регулировки на станке, а также наладки
и подналадки его на заданный размер вне станка.
Измерительный инструмент выбирается в
зависимости от вида обрабатываемой поверхности и требуемой точности. В массовом
производстве применяется универсальный измерительный инструмент.
Таблица 8
|
Операция
|
Оборудование
|
Инструмент
|
|
010
Фрезерно-центровальная.
|
Фрезерно-центровальный
полуавтомат модели МР-71
|
Фреза
торцевая Ø80 ГОСТ
26596-91, сверло центровочное Ø 4,0 ГОСТ 14952
|
|
015
Токарная с ЧПУ
|
Токарно-револьверный
с ЧПУ 16К20Ф30
|
Резец
2103-0671 Т15К6 ГОСТ 5348-69 Корпус C5-PCLNR/L-17090-12 Пластина CNMG 3,0 04
08-PF 1525 Пластина CNMG 1,4 04 08-PF 1525
|
|
020
Токарная с ЧПУ
|
Токарно-револьверный
с ЧПУ 16К20Ф30
|
Корпус
C5-PCLNR/L-17090-12 Пластина CNMG 12-08-PF 4225 Пластина CNMG 1,4 04 08-PF
1525
|
|
025
Шлицефрезерная.
|
Шлицефрезерный
горизонтальный полуавтомат модели 5350А
|
Фреза
червячная чистовая с прямобочным профилем 2520-0738 Ø 80 ГОСТ
8027-86
|
|
030
Шлицефрезерная.
|
Шлицефрезерный
горизонтальный полуавтомат модели 5350А
|
Фреза
червячная чистовая с прямобочным профилем 2520-0745 Ø70 ГОСТ
8027-86
|
|
055
Шлифовальная
|
Круглошлифовальный
станок модели 3А110В.
|
2П
300 75 4A 50-М28 С1 6 К А 35м/с ГОСТ17123-79
|
|
060
Шлифовальная
|
Круглошлифовальный
станок модели 3А110В.
|
2П
300 75 4A 50-М28 С1 6 К А 35м/с ГОСТ17123-79
|
. Выбор контрольно-измерительных инструментов
для оценки точности обработки
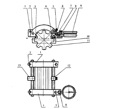
На рис. 3 показано устройство для контроля
взаимного расположения шлицев вала, состоящее из двух полуколец 1, жестко
соединенных между собой двумя стяжками 2 с помощью четырех винтов 5. К каждому
полукольцу слева неподвижно крепятся опорные контакты 3, а справа - подвижные
измерительные Контакты 4, установленные на рычагах 6. Последние могут
поворачиваться на осях и своими плоскими контактами 7 взаимодействовать с
контактами ИГ 9, фиксируемых в полукольцах винтами Для устойчивого расположения
измерительного устройства на Рабочих поверхностях измеряемых шлицев 11 на
правой стяжке установлен рычаг 12 с третьим опорным контактом, а на левой
-противовес 13, масса которого равна массе двух измерительных средств 9,
находящихся в правой части полуколец.
Рис. 3. Приспособление для контроля шлицев вала:
1 - полукольцо, 2 - стяжка. 3 - опорный контакт, 4 - контакт, 5 - винт, 6 -
рычаг, 7 - контакт, 8 - винт, 9 - ИГ, 10 - образец. 11 - шлиц, 12 рычаг. 13
противовес
Перед измерением устройство устанавливают тремя
опорными контактами на плоскость образца 10, а оба измерительных средства
настраивают на нуль. Затем устройство переносят на рабочую поверхность измеряемых
шлицев и по шкалам измерительных средств считывают отклонения расположения
рабочей поверхности правого шлица относительно поверхности левого шлица, на
которой расположены два опорных контакта, фиксируя отклонения расположения
шлицев в плоскости.
Для наглядности расположения шлицев
воспроизводится графически, а чтобы получить более достоверные результаты,
установку устройства на нуль и измерение шлицев повторяют несколько раз.
заготовка штучный припуск деталь
Библиографический список
1.
Афонькин М.Г., Магницкая М.В. Производство заготовок в машиностроении. - Л.:
Машиностроение, 1987. - 256 с.
.
Балабанов А.Н. Краткий справочник технолога-машиностроителя. - М.:
Машиностроение, 1992. - 420 с.
.
Горбацевич А.Ф., Шкред В.А. Курсовое проектирование по технологии
машиностроения. - Мн.: Выш.школа, 1983. - 256 с.
.
Обработка металлов резанием: Справочник технолога /Под общ.ред. А.А.Панова. -
М.: Машиностроение, 1988. - 736 с.
.
Справочник технолога-машиностроителя. В 2 т. Т.1 / Под ред. А.М.Дальского,
А.Г.Косиловой, Р.К.Мещерякова, А.Г.Суслова. - М.: Машиностроение, 2001. - 912
с.
.
Справочник технолога-машиностроителя. В 2 т. Т.2 / Под ред. А.М. Дальского,
А.Г. Косиловой, Р.К. Мещерякова, А.Г. Суслова. - М.: Машиностроение, 2001. -
944 с.
.
Технология машиностроения: В 2 кн. Кн.1. Основы технологии машиностроения / Под
ред. С.Л.Мурашкина. - М.: Высш.школа, 2003 278 с.
.
Технология машиностроения: В 2 кн. Кн.2. Производство деталей машин Под ред.
С.Л.Мурашкина. - М.: Высш. школа, 2003. - 295 с.