Проектирование кондуктора для обработки отверстий
Министерство образования и науки
Российской Федерации
Федеральное государственное бюджетное
образовательное учреждение высшего профессионального образования
Казанский национальный
исследовательский технический университет им. А.Н. Туполева - КАИ
Лабораторная работа по дисциплине:
«Технологическая оснастка»
Тема:
Проектирование кондуктора для
обработки отверстий
Н.Н. Ухватов, П.И. Кувшинов
г.
Образование отверстий в сплошном металле сверлением обеспечивает точность
11, 12 квалитета и шероховатость поверхности 2-3 класса.
Дальнейшая обработка полученного отверстия в зависимости от требуемой
точности и шероховатости поверхности производится зенкерованием,
развертыванием, растачиванием, протягиванием.
Точность при каждом последующем переходе обработки данной элементарной
поверхности обычно повышается на 2-4 квалитета при обдирочной и черновой
обработке и на 1-2 квалитета - при чистовой и отделочной обработке.
Данные по точности обработки отверстий в сплошном металле и рекомендуемый
набор инструмента приведены в таблице 1. (Справочник Косиловой А.Г. и др.
«Точность обработки, заготовки и припуски в машиностроении»).
Класс шероховатости при обработке отверстий можно найти из таблицы 2 в
зависимости от метода обработки.
Таблица 1
Точность обработки отверстий в сплошном металле и рекомендуемый набор
инструмента
|
Номинал отверстий
|
Н 7
|
Н 8
|
Н 11
|
Н 12
|
|
сверло
|
Получистовой зенкер
|
развертка
|
сверло
|
Получистовой зенкер
|
развертка
|
сверло
|
Получистовой зенкер или
развертка
|
сверло
|
|
первое
|
второе
|
|
черновая
|
чистовая
|
первое
|
второе
|
|
|
первое
|
второе
|
|
первое
|
второе
|
|
1
|
2
|
3
|
4
|
5
|
6
|
7
|
8
|
9
|
10
|
11
|
12
|
13
|
14
|
15
|
|
5
|
4,8
|
-
|
-
|
4,96
|
5Н7
|
4,8
|
-
|
-
|
5Н8
|
4,8
|
-
|
5Н11
|
5Н12
|
-
|
|
6
|
5,8
|
-
|
-
|
5,96
|
6Н7
|
5,8
|
-
|
-
|
6Н8
|
5,8
|
-
|
6Н11
|
6Н12
|
-
|
|
7
|
6,7
|
-
|
-
|
6,96
|
7Н7
|
6,7
|
-
|
-
|
7Н8
|
6,7
|
-
|
7Н11
|
7Н12
|
-
|
|
8
|
7,8
|
-
|
-
|
7,95
|
8Н7
|
7,8
|
-
|
-
|
8Н8
|
7,8
|
-
|
8Н11
|
8Н12
|
-
|
|
9
|
8,7
|
-
|
-
|
8,95
|
9Н7
|
8,7
|
-
|
-
|
9Н8
|
8,7
|
-
|
9Н11
|
9Н12
|
-
|
|
10
|
9,5
|
-
|
-
|
9,95
|
9Н7
|
9,7
|
-
|
-
|
9Н8
|
9,7
|
-
|
9Н11
|
9Н12
|
-
|
|
11
|
10,7
|
-
|
-
|
10,94
|
11Н7
|
10,7
|
-
|
-
|
11Н8
|
10,7
|
-
|
11Н11
|
11Н12
|
-
|
|
12
|
10,7
|
-
|
11,82
|
11,94
|
12Н7
|
10,7
|
-
|
11,82
|
12Н8
|
10,7
|
-
|
12Н11
|
12Н12
|
-
|
|
13
|
11,7
|
-
|
12,82
|
12,94
|
13Н7
|
11,7
|
-
|
12,82
|
13Н8
|
11,7
|
-
|
13Н11
|
13Н12
|
-
|
|
14
|
12,7
|
-
|
13,82
|
13,94
|
14Н7
|
12,7
|
-
|
13,82
|
14Н8
|
12,7
|
-
|
14Н11
|
14Н12
|
-
|
|
15
|
13,7
|
-
|
14,82
|
14,94
|
15Н7
|
13,7
|
-
|
14,82
|
15Н8
|
13,7
|
-
|
15Н1
|
15Н12
|
-
|
|
16
|
14,25
|
-
|
15,82
|
15,94
|
16Н7
|
14,25
|
-
|
15,82
|
16Н8
|
14,25
|
-
|
16Н11
|
16Н12
|
-
|
|
17
|
15,25
|
-
|
16,82
|
16,94
|
17Н7
|
15,25
|
-
|
16,82
|
17Н8
|
15,25
|
-
|
17Н11
|
17Н12
|
-
|
|
18
|
16,25
|
-
|
17,82
|
17,94
|
18Н7
|
16,25
|
-
|
17,82
|
18Н8
|
16,25
|
-
|
18Н11
|
18Н12
|
-
|
|
19
|
16,5
|
-
|
18,75
|
18,93
|
19Н7
|
16,5
|
-
|
18,75
|
19Н8
|
16,5
|
-
|
19Н11
|
19Н12
|
-
|
|
20
|
17,5
|
-
|
19,75
|
19,93
|
20Н7
|
17,5
|
-
|
19,75
|
20Н8
|
17,5
|
-
|
20Н11
|
20Н12
|
-
|
|
21
|
18,5
|
-
|
20,75
|
20,93
|
21Н7
|
18,5
|
-
|
20,75
|
21Н8
|
18,5
|
-
|
21Н11
|
21Н12
|
-
|
|
22
|
19,5
|
-
|
21,75
|
21,93
|
22Н7
|
19,5
|
-
|
21,75
|
22Н8
|
19,5
|
-
|
22Н11
|
22Н12
|
-
|
|
23
|
20,5
|
-
|
22,75
|
22,93
|
23Н7
|
20,5
|
-
|
22,75
|
23Н8
|
20,5
|
-
|
23Н11
|
23Н12
|
-
|
|
24
|
21,5
|
-
|
23,75
|
23,93
|
24Н7
|
21,5
|
-
|
23,75
|
24Н8
|
-
|
24Н11
|
24Н12
|
-
|
|
25
|
22,5
|
-
|
24,75
|
24,93
|
25Н7
|
22,5
|
-
|
24,75
|
25Н8
|
22,5
|
-
|
25Н11
|
25Н12
|
-
|
Таблица 2
Класс шероховатости поверхности в зависимости от метода обработки
|
Метод обработки отверстий
|
Класс шероховатости
поверхности по ГОСТ 2789-73
|
|
1
|
2
|
|
Сверление и рассверливание
|
3-5
|
|
Зенкерование:
|
|
|
черновое
|
3-4
|
|
чистовое
|
4-5
|
|
Развертывание:
|
|
|
нормальное
|
6
|
|
точное
|
7
|
Режимы
сверления, зенкерования, развертывания
При сверлении отверстий глубина резания t=0,5D, при
рассверливании, зенкеровании и развертывании t=0,5(D-d).
Подача. При сверлении отверстий без ограничивающих факторов выбирают
максимально допустимую по прочности сверла подачу (табл.3). при рассверливании
отверстий эта подача может быть увеличена в 2 раза. Приведенные в таблице
подачи применяют .при сверлении отверстий глубиной l£3D с точностью не
выше 12 квалитета при жесткой системе СПИД.
Таблица 3
Подача, мм/об., при сверлении стали, чугуна, медных и алюминиевых сплавов
сверлами из быстрорежущей стали.
|
Диаметр сверла D
мм
|
сталь
|
Серый и ковкий чугун,
медные и алюминиевые сплавы
|
|
НВ<160
|
НВ160-240
|
НВ240-300
|
НВ>300
|
НВ£170
|
НВ>170
|
|
1
|
2
|
3
|
4
|
5
|
6
|
7
|
|
2-4
|
0,09-0,13
|
0,08-0,10
|
0,06-0,07
|
0,04-0,06
|
0,12-0,18
|
0,09-0,12
|
|
4-6
|
0,13-0,19
|
0,10-0,15
|
0,07-0,11
|
0,06-0,09
|
0,18-0,27
|
0,12-0,18
|
|
6-8
|
0,19-0,26
|
0,15-0,20
|
0,11-0,14
|
0,09-0,12
|
0,27-0,36
|
0,18-0,24
|
|
8-10
|
0,26-0,32
|
0,20-0,25
|
0,14-0,17
|
0,12-0,15
|
0,36-0,45
|
0,24-0,31
|
|
10-12
|
0,32-0,36
|
0,25-0,28
|
0,17-0,20
|
0,15-0,17
|
0,45-0,55
|
0,31-0,35
|
|
12-16
|
0,36-0,43
|
0,28-0,33
|
0,20-0,23
|
0,17-0,20
|
0,55-0,66
|
0,35-0,41
|
|
16-20
|
0,43-0,49
|
0,33-0,38
|
0,23-0,27
|
0,20-0,23
|
0,66-0,76
|
0,41-0,47
|
|
20-25
|
0,49-0,58
|
0,38-0,43
|
0,27-0,32
|
0,23-0,26
|
0,76-0,89
|
0,47-0,54
|
При глубине отверстия l£5D - умножают
табличное значение на КlS = 0,9
При глубине отверстия l<7D - КlS = 0,8
При глубине отверстия l£10D - КlS = 0,75.
При сверлении отверстий под последующие операции развертывания, нарезание
резьбы - КOS = 0,5.
При средней жесткости системы СПИД - КЖS = 0,75.
При малой жесткости системы СПИД - КЖS = 0,5.
На инструментальный материал - КНS = 0,6 для сверла с режущей частью из твердого сплава.
Подачи для зенкерования приведены в таблице 4.
Таблица 4
Подача, мм/об., при обработке отверстий зенкерованием из быстрорежущей
стали и твердого сплава
|
Обрабатываемый материал
|
Диаметр зенкера Dмм
|
|
До 15
|
15-20
|
20-25
|
|
Сталь
|
0,5-0,6
|
0,6-0,7
|
0,7-0,9
|
|
Чугун, НВ£200 и медные сплавы
|
0,7-0,9
|
0,9-1,2
|
1,0-1,2
|
|
Чугун, НВ>200
|
0,5-0,6
|
0,6-0,7
|
0,7-0,8
|
Табличные величины подач применяются для обработки отверстий с допуском
не выше 12 квалитета. Для 9-11 квалитета, а также при подготовке отверстий под
последующую обработку применять коэффициент КOS = 0,7. При зенкеровании глухих
отверстий подача не должна превышать 0,3-0,6 мм/об.
При развертывании отверстий величину подачи можно взять из таблицы 5.
Таблица 5
Подачи, мм/об., при предварительном развертывании отверстий развертками
из быстрорежущей стали.
|
Обрабатываемый материал
|
Диаметр зенкера Dмм
|
|
До 10
|
10-15
|
15-20
|
20-25
|
|
Сталь
|
0,8
|
0,9
|
1,0
|
1,1
|
|
Чугун, НВ£200 и медные сплавы
|
2,2
|
2,4
|
2,6
|
2,7
|
|
Чугун, НВ>200
|
1,7
|
1,9
|
2,0
|
2,2
|
Табличные величины подач следует уменьшить:
1) при чистовом развертывании в один
проход по 9-11 кв. и Ra=3,2 - 6,3мм, умножая на КOS = 0,8.
2) при чистовом развертывании после
чернового с точностью по 7-му квалитету и Ra=0,4-0,8мм, умножая на КOS = 0,7.
3) при твердосплавной рабочей части КНS = 0,7.
При развертывании глухих отверстий подача не должна превышать 0,2-0,5
мм/об.
Скорость резания.
Скорость резания в м/мин при сверлении:
СV
х Dq
V = х КV
,
Tm x Sy
при рассверливании, зенкеровании, развертывании:
СV
х Dq
V = х КV,
Tm х tx x Sy
Значения коэффициентов приведены для сверления в таблице N 6.
Таблица 6
Значение коэффициента СV и показателей степени в формуле скорости резания при
сверлении
|
Обрабатываемый материал
|
Материал режущей части
инструмента
|
Подача S
мм/об
|
коэффициент и показатели
степени
|
Охлаждение
|
|
|
|
СV
|
q
|
y
|
m
|
|
|
Сталь конструкционная
углеродистая sв =750 МПа
|
Р6М5
|
£0,2 >0,2
|
7,0 9,8
|
0,4
|
0,70 0,50
|
0,20
|
Есть
|
|
Сталь жаропрочная 12Х18Н9Т
НВ 141
|
|
-
|
3,5
|
0,50
|
0,45
|
0,12
|
|
|
Чугун серый, НВ 190
|
|
£0,3 >0,3
|
14,7 17,1
|
0,25
|
0,55 0,40
|
0,125
|
Нет
|
|
ВК8
|
-
|
34,2
|
0,45
|
0,30
|
0,20
|
|
|
Чугун ковкий, НВ 150
|
Р6М5
|
£0,3 >0,3
|
21,8 25,3
|
0,25
|
0,55 0,40
|
0,125
|
Есть
|
|
ВК8
|
-
|
40,4
|
0,45
|
0,3
|
0,2
|
Нет
|
|
Медные гетероленные сплавы
средней твердости (НВ100-140)
|
Р6М5
|
£0,3 >0,3
|
28,1 32,6
|
0,25
|
0,55 0,40
|
0,125
|
Есть
|
Значения коэффициентов для рассверливания, зенкерования, развертывания
приведены в таблице 7, а значения периода стойкости в таблице 8.
Общий поправочный коэффициент на скорость резания будет: КV = КMV х КHV х
КlV,
где КMV - коэффициент на обрабатываемый материал (таблица 9);
КНV - коэффициент на инструментальный материал (таблица 10);
КlV - коэффициент, учитывающий глубину сверления (таблица 11).
Таблица 7
Значения коэффициента СV и показателей степени в формуле скорости резания при
рассверливании зенкеровании и развертывании
|
Обрабатываемый материал
|
Вид обработки
|
Материал режущей части
инструмента
|
коэффициент и показатели
степени
|
Охлаждение
|
|
|
|
СV
|
q
|
x
|
y
|
m
|
|
|
Конструкционная
углеродистая сталь sв=750 МПа
|
Рассверливание
|
Р6М5 - ВК8
|
16,2 - 10,8
|
0,4 - 0,6
|
0,2
|
0,5 - 0,3
|
0,2 - 0,25
|
Есть
|
|
Зенкерование
|
Р6М5 - Т15К6
|
16,3 - 18,0
|
0,3 - 0,6
|
0,2
|
0,5 - 0,3
|
0,3 - 0,25
|
|
|
Развертывание
|
Р6М5 - Т15К6
|
10,5 - 100,6
|
0,3 - 0,3
|
0,2
|
0,65 - 0,65
|
0,4
|
|
|
Конструкционная закаленная
сталь sв³1600:1800 МПа, HRC49-54
|
Зенкерование
|
Т15К6
|
10
|
0,6
|
0,3
|
0,6
|
0,45
|
|
|
Развертывание
|
|
14,0
|
0,4
|
0,75
|
1,05
|
0,85
|
|
|
Чугун серый, НВ 190
|
Рассверливание
|
Р6М5 - ВК8
|
23,4 - 56,9
|
0,25 - 0,5
|
0,1 - 0,15
|
0,4 - 0,45
|
0,125 - 0,4
|
Нет
|
|
Зенкерование
|
Р6М5 - ВК8
|
18,8 - 105,0
|
0,2 - 0,4
|
0,1 - 0,15
|
0,4 - 0,45
|
0,125 - 0,4
|
|
|
Развертывание
|
Р6М5 - ВК8
|
15,6 - 109,0
|
0,2 - 0,2
|
0,1
|
0,5 - 0,5
|
0,3 - 0,45
|
|
Таблица 8
Средние значения периода стойкости сверл, зенкеров, разверток
|
Инструмент
|
Обрабатываемый материал
|
Материал режущей части
инструмента
|
Стойкость Т, мин. при
диаметре инструмента
|
|
|
|
до 5
|
6-10
|
11-20
|
21-30
|
|
Сверло
|
Конструкционная
углеродистая и легир. сталь
|
Быстрорежущая сталь
|
15
|
25
|
45
|
50
|
|
|
Твердый сплав
|
8
|
15
|
20
|
25
|
|
Коррозионно-стойкая сталь
|
Быстрорежущая сталь
|
6
|
8
|
15
|
25
|
|
Серый, ковкий чугун медные
и алюмин. сплавы
|
Быстрорежущая сталь
|
20
|
35
|
75
|
|
|
Твердый сплав
|
15
|
25
|
45
|
50
|
|
Зенкеры
|
Сталь, чугун
|
Быстрорежущая сталь
|
-
|
-
|
30
|
40
|
|
|
Твердый сплав
|
|
|
|
|
|
Развертки
|
Сталь
|
Быстрорежущая сталь
|
-
|
25
|
40
|
80
|
|
|
Твердый сплав
|
-
|
20
|
30
|
50
|
|
Чугун
|
Быстрорежущая сталь
|
-
|
-
|
60
|
120
|
|
|
Твердый сплав
|
-
|
-
|
45
|
75
|
Таблица 9
Значения коэффициента КMV:
|
Обрабатываемый материал
|
Расчетная формула
|
|
Сталь
|
750 КMV = КГ (nv sв)
|
|
Серый чугун
|
190 КMV = КГ (nv НВ)
|
|
Ковкий чугун
|
150 КMV = КГ (nv НВ)
|
Коэффициент Кг характеризует группу стали по обрабатываемости. Для
углеродистой стали с содержанием С £ 0,6% коэффициент Кг=1.
Показатель степени nV = -0,9 при обработке стали с sв < 550 МПа и nV =
0,9 при sв > 550 МПа.
Таблица 10
Коэффициент, учитывающий материал режущего инструмента, KHV
|
Обрабатываемый материал
|
Значения коэффициента КМV в
зависимости от марки инструментального материала
|
|
Сталь конструкционная
|
Т5К10 - 0,65
|
Т14К8 - 0,8
|
Т15К6 - 1,15
|
Т30К4 - 1,4
|
ВК8 - 0,4
|
|
|
Чугун
|
ВК6 - 1,0
|
ВК4 - 1,1
|
ВК3 - 1,15
|
|
ВК8 - 0,83
|
|
|
Медные, алюм. сплавы
|
Р6М5 - 1,0
|
ВК4 - 2,5
|
ВК6 - 2,7
|
9ХС - 0,6
|
ХВГ - 0,6
|
У12А - 0,5
|
Таблица 11
Коэффициент, учитывающий глубину обрабатываемого отверстия. КlV
|
Параметр
|
Сверление
|
Рассверливание,
зенкерование, развертывание
|
|
Глубина отверстия
|
3D
|
4D
|
5D
|
6D
|
8D
|
|
|
КlV
|
1,0
|
0,85
|
0,75
|
0,7
|
0,6
|
1,0
|
Крутящийся момент, Н.М и осевую силу, Н, рассчитывают по формулам:
·
при сверлении
Мкр = 10 х См х Dq х Sy х Кр;
Ро = 10 х Ср х Dq х Sy х Кр
·
при
рассверливании и зенкеровании
Мкр = 10 х См х Dq х tx х Sy х Кр;
Ро = 10 х Ср х Dq х tx х Sy х Кр.
Таблица 12
Значение коэффициентов и показателей степени в формулах Мкр и Ро
|
Обрабатываемый материал
|
Наименование операции
|
Режущий материал
|
Коэффициент и показатели
степени в формулах
|
|
|
|
Мкр
|
Ро
|
|
|
|
См
|
q
|
x
|
y
|
Ср
|
q
|
x
|
y
|
|
Конструкционная
углеродистая сталь, sв=750, МПа
|
сверление
|
Быстрорежущая сталь
|
0,034
|
2,0
|
-
|
0,8
|
6,8
|
1,0
|
-
|
0,7
|
|
рассверливание и зенкер.
|
|
0,09
|
1,0
|
0,9
|
0,8
|
6,7
|
-
|
1,2
|
0,65
|
|
Серый чугун
|
сверление
|
Твердый сплав
|
0,012
|
2,2
|
-
|
0,8
|
42
|
1,2
|
-
|
0,75
|
|
|
Быстрорежущая сталь
|
0,021
|
2,0
|
-
|
0,8
|
42,7
|
1,0
|
-
|
0,8
|
Коэффициент, учитывающий фактические условия обработки, зависит только от
материала заготовки
,
,
где
n = 0,75 - для конструкционной стали и n =
0,6 - для чугуна.
Мощность
резания, кВт определяют по формуле:
V
где
частота вращения инструмента, об/мин n = p D
Разработка
схемы базирования и выбор типа установочных элементов
При установке детали (заготовки) в приспособлении необходимо обеспечить,
чтобы исходная база детали (поверхность, относительно которой координировано
положение обрабатываемой поверхности) занимала определенное положение
относительно его корпуса.
Таблица 13
Схемы установки и погрешности базирования:
|
Базирование
|
Схема установки
|
Выдерживаемый размер
|
Погрешность базирования eб
|
|
По 2 плоским поверхностям
|
|
А
|
О
|
|
|
Б
|
TL
|
|
|
С
|
O
|
|
|
Е
|
TH
|
|
|
Н1
|
|
|
|
Н2
|
1 0,5 TD sina
|
|
|
Н3
|
|
|
|
Н4
|
0
|
|
|
Н5
|
0,5 TD
|
|
|
Н6
|
0,5 TD
|
|
|
Н1
|
Td+Tdy+TD+Smin
|
|
|
Н2
|
Td+Tdy+Smin
|
|
|
Н3
|
Td+Tdy+TD+Smin
|
|
По отверстию в гнездо
приспособления
|
|
Н1
|
Td+Tdy+TD+Smin
|
|
|
Н2
|
Td+Tdy+Smin
|
В таблице 13 приводятся погрешности базирования для нескольких схем
установки деталей при обработке отверстий.
При выборе схемы базирования нужно стремиться к варианту, дающему меньшее
значение eб при совмещении базовой и
измерительной поверхности.
Погрешность обработки детали, связанную с установкой, можно определить из
выражения:
где
eз -
погрешность установки, связанная с закреплением детали в приспособлении (для
жестких деталей eз = 0).
В
этом разделе лабораторной работы нужно проделать следующую работу:
1. Начертить контур обрабатываемой
детали тонкими линиями.
2. Пририсовать к детали установочные
элементы приспособления (пальцы, гнезда, штыри, призмы).
3. Указать исходную базу детали
(поверхность, линия или точка, от которой координировано положение
обрабатываемой поверхности).
4. Указать установочную базу детали (это
поверхность детали, которая в приспособлении создает определенное положение детали).
5. Указать исходный размер детали с
заданным допуском.
Разработка схемы зажима детали и определение усилия зажима Q
Сила и направление ее действия должны быть такие, чтобы в процессе
обработки деталь оставалась в положении установки.
Методика определения силы зажима следующая:
1. На ранее нарисованной схеме указать
приложенные к детали силы в процессе обработки. Это силы резания, силы зажима,
силы трения и реакции опор.
2. Из шести уравнений статики выбрать
те, которые применимы для данного случая и найти искомые силы.
3. Определить коэффициент запаса по
формуле:
К = 1,5 (К1 х К2 х К3 .…. Кn ),
где К1 = 1,0-2 - учитывает колебание сил резания.
К2 = 1,0-1,5 - учитывает динамичность приложения сил резания
(прерывистость резания, изменение режимов и др.)
Зажимное устройство должно обеспечивать необходимую силу зажима и
сохранять ее даже при отключении источника энергии. Следовательно, в зажимном
устройстве должна быть предусмотрена самотормозящаяся зажимная пара. В таблице
14 приведены примеры схем закрепления при сверлении и формулы для расчета сил
закрепления.
Определив усилие зажима Q,
нужно выбрать устройство и привод для обеспечения расчетной силы.
сверление
отверстие металл инструмент
Выбор
зажимного устройства и расчет усилия привода
Зажимные устройства предназначены для закрепления и раскрепления деталей
на приспособлении. Широко используются в промышленности простые зажимные
устройства: винтовые, клиновые, эксцентриковые, пружинные, рычажные, а также
комбинированные зажимы состоящие из нескольких простых.
Винтовой
зажим
Закрепление заготовок при ручном зажиме может осуществляться гайкой,
торцевой частью винта (рис.1) с помощью ключа или рукояток.
Таблица 14
Формулы для расчета зажимных усилий при закреплении заготовок на
сверлильных станках
|
Эскиз
|
Зажимное устройство
|
|
|
КМкр Q = fa
|
|
|
КМкр sina Q = fD
|
|
|
КМкр n Q = 1 D13- D3 f () 3
D12- D2
|
В формулах таблицы:
К - коэффициент запаса;
Мкр - крутящий момент от сил резания;
f -
коэффициент трения,
f =
0,1-0,15; n - число одновременно работающих
инструментов
Если зажим осуществляется гайкой, то сила зажима определяется из
уравнения:
Р l
Q = (a)
dcр f D3 - D3о
где Р - сила, приложенная к гаечному ключу;
l -
расчетная длина ключа (рукоятки);
l - угол подъема винтовой линии резьбы (2°30¢-3°30¢);
r¢ = arctg » 6°40¢ - приведенный угол трения в резьбе
Cosa
f -
коэффициент трения = 0,1 и a - угол профиля резьбы);
dср - средний диаметр резьбы.
Сила зажима торцевой частью винта (рис. 1) определяется по следующим
формулам:
Для винтов типа II:
Pl
Q = (б)
rср tg ((l + r¢) + f (D:3)
Для винтов типа III
пригодна формула а.
Для винтов типа IV
применяют формулу:
Pl
Q =(в)
rср tg ((l + r¢) + r f Ctg r|e
Для винтов типа V:
Pl
Q =(г)
rср tg ((l + r¢)
Торцы винтов II, III проверяются на напряжения смятия, а
торцы винтов IV, V по контактным напряжениям. В лабораторной работе эти расчеты
не выполняются.
В клиновом
зажиме (рис.2) зависимость силы зажима Q и исходной силы Р, без учета сил трения, определяется
уравнением:
P
Q =
tg a
где Р - исходная сила,
a - угол клина (»12°).
В этом механизме увеличение силы Q производят за счет уменьшения угла клина. При a = 12° механизм самотормозящийся, то есть
происходит заклинивание. На практике часто применяют a < 12° для увеличения надежности закрепления
В работе для выбранного клинового зажимного устройства приспособления
провести расчет исходной силы зажима.
Рис. 2
Клиновой зажим
Определение
размеров и допусков кондуктора в зависимости от заданных размеров детали
Размеры
кондуктора,
и
влияющие
на точность изготавливаемых на нем деталей, непосредственно зависят от заданных
размеров детали по чертежу L1изд, L2изд
и требуемой точности Тизд.
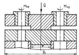
Точность сверления в кондукторах обусловлена следующими основными
факторами (рис. 3):
Рис. 3. Кондуктор для обработки отверстий
- корпус, 2 - штыри, 3 - втулка, 4 - съемная втулка, 5 - сверло, 6 -
деталь, 7 - втулка, 8 - съемная втулка.
1. Отклонением расстояния между центрами
отверстий в кондукторной плите (с запрессованными втулками) заданного допусками
ТLк.
2. Величиной зазора S2 при посадке сменной рабочей втулки 4 в отверстие
втулки 3.
3. Величиной зазора в направляющем
отверстии рабочей втулки под сверло S1.
4. Погрешностью базирования заготовки eб
5. Эксцентриситетом рабочей втулки e р.в. (0,005-0,01мм).
6. Глубиной сверления b.
7. Длиной направляющего отверстия l рабочей втулки 4.
8. Расстоянием h [h = (0,3 - 1,0) d] в зависимости от глубины сверления
и условий удаления стружки.
Четвертый пункт зависит от точности установки детали (рассматривался
выше), а остальные пункты зависят от точности изготовления и сборки кондуктора.
Определение координаты оси отверстия кондукторной втулки
относительно номинального положения исходной базы Lк
Размер координирующий обрабатываемую часть детали относительно
необрабатываемой части называется исходным размером. Обеспечение этого размера
зависит от точности расположения исходной базы детали от места обработки
(сверления, зенкерования, развертывания). То есть при конструировании и
изготовлении кондуктора должно быть обеспечено точное расположение установочных
элементов и осей отверстий кондукторных втулок Lк рис. 3.
Возможны несколько случаев связанных с установкой детали рис. 4.
Рис. 4
На рисунке жирные точки изображают номинальное положение исходной базы.
Из схем рис.4 видно, что если установочные элементы обеспечивают eб = 0 или симметричное расположение поля допуска eб (схемы а и б) то размер Lк должен быть взят равным исходному размеру детали Lизд. При одностороннем расположении
погрешности базирования äб относительно исходной базы размер кондуктора
вычисляется по формулам Lк = Lизд. + 0,5 eб или Lк = Lизд. - 0,5 eб (см. рис. 4 в,г), т.есть в этом случае происходит
располовинивание погрешности, связанной с установкой.
Определение
допусков Тк на размеры кондуктора Lк1 и Lк2.
При расчете допусков на межцентровые расстояния кондукторных втулок, а
также на положение кондукторных втулок относительно установочных элементов
приспособления Lк учитывают весь
комплекс погрешностей обработки с тем, чтобы суммарная погрешность по своей
величине не превосходила соответствующего заданного допуска детали.
Например, для кондуктора, изображенного на рис.3, допуски на размеры
детали, кондуктора и погрешность установки связаны выражениями:
или
допуск на размер кондуктора, обеспечивающий исходный размер детали будет
,
а
величина допуска на размер кондуктора, не связанного с установкой детали будет
где,
ТL1у -
допуск на установку детали (ТL1у = eб),
Тк
- допуск на размер кондуктора Lк,1 - зазор посадки инструмента 5 в сменной
втулке 4 (рис.3),2 - зазор посадки сменной втулки 4 в постоянной 3
eрв1 - эксцентриситет втулок (повышенной точности
0,0025-0,005; пониженной точности 0,0075-0,009),12 -
зазор посадки сменной втулки 8 во втулке 7,
S11 - зазор
посадки инструмента в сменной втулке 8.
e1 = (dвн - dсв) (h + в) : l - погрешность от перекоса инструмента 5 во втулке 4,
e2 = (dвн - dсв) (h + в) : l - погрешность от перекоса инструмента во втулке 8,
dвн - диаметр отверстий во втулках,
dсв - диаметры инструментов.
На
практике значения ТLк, S1,
S2, S11 , S12, eрв, e1, e2, ТL1у, уменьшают, умножая их на коэффициент F, K, M, P
(см. приложения). Таким образом учитывают наиболее вероятную величину
погрешности.
К определению
зазора между сверлом и отверстием кондукторной втулки
Инструменты, (сверла, зенкеры и чистовые развертки) помещаются своей
рабочей частью в отверстия сменной или постоянной кондукторных втулок с
посадкой F8 G7
Или h9 h9
для обычных исполнений и F8 G7
или h8 h8
при точном исполнении. Величину зазора S1 можно найти в таблицах 15 и 16.
Отверстия кондукторных втулок для чистовых разверток выполняют по G6, G7.
Таблица 15
Зазоры между втулкой и сверлом
|
Посадка отверстий
|
Диапазон отверстий, мм
|
Нижнее отклонение диаметра
инстр., МКМ при исполнении
|
Отклонение диаметра
отверст. мкм
|
Зазор S1, мкм
|
|
|
|
|
S1 max
|
S1 min
|
S1 cp
|
|
|
обычном h9
|
Точном h8
|
верхнее
|
нижнее
|
исполнение инструмента
|
|
|
|
|
|
|
Обычн.
|
Точн.
|
Обычн.
|
Точн.
|
Обычн.
|
Точн.
|
|
F8
|
Св 6 до 10
|
-36
|
-22
|
35
|
13
|
71
|
57
|
13
|
13
|
42
|
|
Св 10 до 18
|
-43
|
-27
|
43
|
16
|
86
|
70
|
16
|
16
|
51
|
43
|
|
Св 18 до 30
|
-52
|
-33
|
53
|
20
|
105
|
86
|
20
|
20
|
62,5
|
53
|
|
Св 30 до 50
|
-62
|
-39
|
64
|
25
|
126
|
103
|
25
|
25
|
75,5
|
64
|
|
G7
|
Св 6 до 10
|
-36
|
-22
|
21
|
5
|
57
|
43
|
5
|
5
|
31
|
24
|
|
Св 10 до 18
|
-43
|
-27
|
25
|
6
|
68
|
52
|
6
|
6
|
3
|
29
|
|
Св 18 до 30
|
-52
|
-33
|
30
|
8
|
82
|
63
|
8
|
8
|
45
|
35,5
|
|
Св 30 до 50
|
-62
|
-39
|
35
|
10
|
97
|
74
|
10
|
10
|
53,5
|
42
|
|
G6
|
Св 6 до 10
|
-36
|
-22
|
14
|
5
|
50
|
36
|
41
|
27
|
45,5
|
31,5
|
|
Св 10 до 18
|
-43
|
-27
|
17
|
6
|
60
|
44
|
49
|
44
|
54,5
|
38,5
|
|
Св 18 до 30
|
-52
|
-33
|
20
|
7
|
72
|
53
|
59
|
40
|
65,5
|
46,5
|
|
Св 30 до 50
|
-62
|
-39
|
25
|
9
|
87
|
64
|
71
|
48
|
79
|
56
|
Таблица 16
Зазоры между втулкой и зенкером
|
Посадка отверстий
|
Размеры, мм
|
Нижнее отклонение диаметра
зенкера, мкм
|
Отклонение диаметра
отверстия мкм
|
Величина зазора S1, мкм
|
|
|
|
Верхнее
|
Нижнее
|
S1 max
|
S1 min
|
S1 cp
|
|
F8
|
Св 10 до 18
|
-24
|
40
|
16
|
64
|
16
|
40
|
|
Св 18 до 30
|
-30
|
50
|
20
|
80
|
20
|
50
|
|
Св 30 до 50
|
-36
|
60
|
25
|
96
|
25
|
60,5
|
|
G7
|
Св 10 до 18
|
-24
|
19
|
0
|
43
|
0
|
21,5
|
|
Св 18 до 30
|
-30
|
23
|
0
|
53
|
0
|
26,5
|
|
Св 30 до 50
|
-36
|
27
|
0
|
63
|
0
|
31,5
|
|
G6
|
Св 10 до 18
|
-24
|
17
|
6
|
41
|
6
|
23,5
|
|
Св 18 до 30
|
-30
|
20
|
7
|
50
|
7
|
28,5
|
|
Св 30 до 50
|
-36
|
25
|
9
|
61
|
9
|
35
|
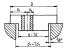
К определению величины зазора между сменной втулкой и
постоянной
Для устранения упругих отжатий инструмента и придания ему определенного
положения относительно заготовки применяют кондукторные втулки.
Конструкция и размеры кондукторных втулок стандартизированы.


Рис. 5
В мелкосерийном производстве при обработке отверстий одним инструментом
применяют постоянные втулки (рис.5 а). Их делают гладкими и с буртами. При
обработке отверстий в массовом, крупносерийном производствах применяют сменные
втулки (рис.5 б) (ГОСТ 15362-73 и 18431-73).
При обработке отверстий несколькими последовательно сменяемыми
инструментами сменные втулки вставляют в постоянные, которые запрессованы в
корпусе приспособления.
Материалом для кондукторных втулок при сверлении отверстия до 25 мм
служат У10А, У12А, 9ХС (Закалка HRC
62-65).
Втулки для сверления отверстий больше 25 мм изготовляют из сталей 20, 20Х
с цементацией на глубину h =
(0,8 - 1,2) мм.
В таблице 17 приведены значения допусков на изготовление отверстий
кондукторных втулок и их износ.
Таблица 17
Допуски на
изготовление и износ кондукторных втулок, мкм
|
Допуск
|
номинальный диаметр сверла,
мм
|
|
1-3
|
3-6
|
6-10
|
10-18
|
18-30
|
30-50
|
|
На изготовление
|
14
|
17
|
20
|
24
|
30
|
35
|
|
На износ
|
10
|
15
|
20
|
25
|
30
|
35
|
Примеры компоновки кондукторов показаны в приложении 1.
В отчете к лабораторной работе нарисовать эскиз спроектированного
приспособления с указанием элементов установки, зажима детали и направления
инструмента. На эскизе указать размеры приспособления, влияющие на точность
получения заданных операционных размеров детали.
Приложение 1
Расчет допусков при различных способах установки заготовок в кондукторах
|
Тип кондуктора и формула
для расчета величины допуска, обеспечиваемого кондуктором
|
|
|
|
|
|
|
|
 
|
|
|
Обозначения: ТLкон -
предельное отклонение размеров кондуктора: для кондукторов нормальной
точности ТLкон = ±0,1 мм, для кондукторов повышенной точности ± 0,04 мм; Dзг - наибольший диаметр бокового отверстия заготовки, мм;
Dк - наименьший диаметр направляющего пояска накладного кондуктора, мм; Dвн -
наибольший диаметр отверстия под сменную рабочую втулку, мм; Dсм - диаметр
рабочей втулки, мм; d вн - наибольший диаметр отверстия рабочей втулки, мм;
dсв - наименьший диаметр сверла, мм; eрв -
эксцентриситет рабочей втулки, мм; h - расстояние между торцом втулки и
заготовкой, мм; b - глубина сверления, мм; l - длина направляющего отверстия
рабочей втулки, мм; F - коэффициент, учитывающий вероятный предел отклонения
координат центров отверстий в кондукторе; K - коэффициент, учитывающий
наиболее вероятный предел зазоров в сопряжениях и наиболее вероятное
смещение; m - коэффициент, учитывающий наиболее вероятную величину
эксцентриситета сменной втулки; P -Коэффициент, учитывающий наиболее
вероятную величину перекоса сверла.
|
|
Точность кондуктора
|
Коэффициент
|
|
F
|
K
|
m
|
Р
|
|
Нормальная
|
0,8
|
0,5
|
0,4
|
0,35
|
|
Повышенная
|
|
0,35
|
|
0,2
|
|
|
|
|
|
|