Расчет синхронного генератора
Содержание
Введение
. Расчёт номинальных параметров
. Определение размеров статора
. Расчёт зубцовой зоны статора. Сегментировка
. Расчёт пазов и обмотки статора
. Выбор воздушного зазора. Расчёт полюсов ротора
. Расчёт демпферной обмотки
. Расчет магнитной цепи
. Определение параметров обмотки статора для установившегося
режима работы
. Расчёт МДС обмотки возбуждения при нагрузке. Векторная
диаграмма
. Расчёт обмотки возбуждения
. Определение параметров и постоянных времени обмоток
. Расчёт масс активных материалов
. Определение потерь и КПД
. Расчёт превышения температуры обмотки статора
. Определение токов короткого замыкания
. Расчёт и построение характеристик генератора
Список использованных источников
Введение
В настоящее время синхронные генераторы являются основным источником
электроэнергии. Их мощность - в пределах от нескольких киловатт до сотен тысяч
киловатт. Синхронные генераторы устанавливаются в тепло- и
гидроэлектростанциях, самолетах, судах, ими комплектуются различные передвижные
источники электроэнергии.
Об основных свойствах синхронного генератора дают представление
характеристики, которые определяют зависимость между напряжением на зажимах
якоря, током возбуждения, током нагрузки при номинальной частоте вращения и
постоянном коэффициенте мощности в установившемся режиме.
Проектирование электрической машины - задача
неоднозначная, так как число исходных расчетных уравнений, описывающих
электромагнитные связи в ней, меньше числа неизвестных величин. Потому
номинальные данные могут быть обеспечены при различных соотношениях основных
размеров и электромагнитных нагрузок машины. Оптимальный результат в
значительной мере зависит от опыта проектировщика и достигается обычно при
сопоставлении нескольких вариантов. В качестве универсального критерия
оптимальности наиболее часто принимают минимум суммарных затрат, т.е. стоимость
материалов, затрат на изготовление и эксплуатацию. Затраты на эксплуатацию, в
свою очередь, зависят от КПД, коэффициента мощности, качества,
ремонтопригодности и ряда других факторов.
1. Расчёт номинальных параметров
Номинальное фазное напряжение ((при соединении обмотки статора в звезду Y) согласно [1] формула 6.1 с 188))
В.
Номинальная
полная мощность (согласно [1] формула 6.12 с 194)
кВ∙А.
Номинальный
фазный ток (согласно [1] формула 6.12 с 194)
А.
Число
пар полюсов (согласно [2] формула 19-3 с 363)
Расчётная
электромагнитная мощность
кВ∙А.
2. Определение размеров статора
По
рис. 1.1 для
кВ∙А при 2р = 12 предварительно находим
внутренний диаметр статора D = 1,2 м.
Внешний
диаметр статора
Da=kДD =
(1,28-1,33)∙1,2 = (1,54-1,6) м.
По
табл. 1.1 kД = 1,28-1,33.
По
табл. 1.2 ближайший нормализованный внешний диаметр статора Da = 1430 мм =
1,43 м (17-й габарит).
Высота
оси вращения h = 0,63 м.
Уточняем
внутренний диаметр статора
Полюсное
деление
Расчетная
длина статора.
По
рис. 1.3 и 1.4 для τ
= 0,293 м при 2р = 12 находим:
А=460∙102
А/м; Вδн = 0,95 Тл.
Задаемся:
αδ
=0,66; kВ=1,15; kоб
1= 0,92; αδ∙kВ=0,66∙1,15=0,76,
тогда
Находим
λ
По
рис. 1.5 устанавливаем, что найденное значение λ лежит в пределах, ограниченных кривыми при р =
6.
Действительная
длина статора
Число
вентиляционных каналов при bК = 0,01м и lпак =
(0,04-0,05) м
Принимаем
nК=8.
Длина
пакета
м.
Округляем
до целого мм: lпак=0,049 м.
Суммарная
длина пакетов сердечника
3. Расчёт зубцовой зоны статора. Сегментировка
Число параллельных ветвей обмотки статора.
Так как Iнф = 2075 А
> 200 А, то
Выбираем
a1=12, что кратно 2р=12, при этом
Iнф ∙uп/
a1 = 2075∙10/12 = 1729 ≤ 3000А
(величина
uп - из п. 20)
Из
рис. 2.1 (кривые 2) для τ
=0,293 м находим: t1min=0,035
м, t1max=0,039 м.
Максимальное
число пазов (зубцов) магнитопровода статора
Минимальное
число пазов (зубцов) магнитопровода статора
Число
пазов магнитопровода статора.
Так
как Da=1,43 м >
0,99 м, то статор выполняется сегментированным. В диапазоне Zlmax - Zlmin требованиям
пп. 2.1-2.5 удовлетворяет число пазов Zl = 108; Zl/(ma1)=108/(3∙12)=3; q1=Zl/(2pm)=108/(2∙6∙3)=3,
Zl=108=2∙2∙3∙3∙3.
Тогда
Число
проводников в пазу (предварительно)
Так
как uп должно быть четным числом, принимаем uп=10.
Уточняем:
п.
9 -
;
п.
11 -
;
п.
13 -
,
где
nк=8 -число каналов (п. 12). Принимаем lпак=
0,042м;
п.
14 - lст 1=lпак(nк+1)=0,042∙9=0,378 м;
A=ZluпIнф/(πa1D) =108∙10∙2075/(π∙12∙1,12) = 531∙102 А/м.
Длина
хорды
Расчёт
числа проводников в пазу uп, числа сегментов Sст, хорды Н
и линейной нагрузки А сводим в табл. 1.
Таблица
1
|
Вариант
|
Zl
|
Sст
|
Н, м
|
Zs=Z1/Sст
|
q1
|
a1
|
uп
|
t1, м
|
А, А/м
|
|
1
|
108=2∙2∙3∙3∙3
|
18
|
0,248
|
6
|
3
|
12
|
10
|
0,0326
|
531∙102
|
|
2
|
108=2∙2∙3∙3∙3
|
9
|
0,489
|
12
|
3
|
12
|
10
|
0,0326
|
531∙102
|
|
3
|
108=2∙2∙3∙3∙3
|
6
|
0,715
|
18
|
3
|
12
|
10
|
0,0326
|
531∙102
|
Наилучший результат дает 3-й вариант, который обеспечивает минимальные
отходы при штамповке из стандартного листа размером 750×1500
мм.
4. Расчёт пазов и обмотки статора
Для
предварительного определения ширины паза
зададимся
максимальной индукцией в зубце
(рекомендуемый
диапазон 1,6-2,0 Тл), тогда
м.
где,
kс - коэффициент заполнения пакета статора сталью,
который зависит от толщины и способа изоляции листов; при частоте f
= 50 Гц пакет статора выполняют чаще всего из лакированных листов толщиной 0,5
мм (kс=0,93)
Поперечное
сечение эффективного проводника обмотки статора (предварительно)
Плотность
тока:
J1 = AJ1/A=2370∙108/531∙102=4,46∙106
А/м².
AJ1
определено по рис. 4.1 (кривая 2).
Возможная
ширина изолированных проводников в пазу
Выбираем
изоляцию катушек класса нагревостойкости В по табл. 4.1. Предварительно
двусторонняя толщина изоляции δип при
напряжении UH ≤ 660 В принята равной 1,8
мм.
мм.
Сечение эффективного проводника обмотки статора qэф=38,77 мм² > (18-20) мм², поэтому необходимо принять
qэл= qэф/
=38,77/4=9,7 мм².
Выбираем
проводник марки ПЭТВСД с двусторонней толщиной изоляции 0,5 мм, тогда ширина неизолированного
проводника
По
табл. 4.2 размеры медного проводника принимаем: a1 × b1 = 2,24 ×
4,5; qэл = 9,72
мм²;
размеры
проводника с изоляцией a1из × b1из = 2,74 × 5 мм.
Сечение
эффективного проводника
qэф = nэп
· qэл = 4 ∙ 9,72 = 38,9 мм².
Ширина
паза (уточненная)
где
δрш = 0,05nш=0,05∙2 мм.
Высота
паза (уточненная)
где
δрв =0,05uпnв=0,05∙10∙2=1
мм.
Масштабный
эскиз паза приведен на рис. 1, спецификация паза - в табл. 2.
Отношение
h'п 1/b'п 1 =67,5/12,1=5,6 находится в допустимых пределах.
Плотность
тока в проводнике обмотки статора (уточненное значение)
Проверка
индукции в зубце (приближенно)
Проверка
индукции в ярме статора (приближенно)
где
Рис.
1 Паз статора масштаб 2,5:1
Таблица
2
|
Поз.
|
Наименование
|
Число слоев
|
Толщина, мм
|
|
|
по ширине
|
по высоте
|
по ширине
|
по высоте
|
|
1
|
Провод ПЭТВСД
|
2
|
20
|
2×5
|
10×2×2,74
|
|
2
|
Лента стеклослюдинитовая ЛС
0,13мм
|
3 вполнахлеста
|
1,56
|
3,12
|
|
|
(0,13∙3∙2∙2)
|
(0,13∙3∙2∙2∙2)
|
|
|
|
3
|
Лента стеклянная ЛЭС 0,1 мм
|
1 встык
|
0,2
|
0,4
|
|
4
|
Стеклотекстолит СТ 1 1мм
|
-
|
2
|
-
|
2
|
|
5
|
Стеклотекстолит СТ 1 0,5мм
|
-
|
2
|
-
|
1
|
|
6
|
Клин
|
-
|
-
|
-
|
5
|
|
Разбухание изоляции
|
-
|
-
|
0,1
|
0,9
|
|
Допуск на укладку
|
-
|
-
|
0,2
|
0,2
|
|
Общая толщина изоляции на
паз
|
-
|
-
|
1,76
|
11,52
|
|
Размеры паза в свету
(округленно) bп 1 × hп 1
|
-
|
-
|
12,1
|
67,42
|
|
Размеры паза в штампе b′п
1
× h′п 1
|
-
|
-
|
12,3
|
67,62
|
Перепад температуры в изоляции
Градиент
температуры в пазовой изоляции
Окончательно
принимаем:
D=1,12 м; Da=1,43
м; τ=0,293 м; t1=0,0326 м; bп 1=12,1∙10-3м;
hп 1=67,5∙10-3м; lδ=0,43 м; lст 1=0,378 м; l1.=
0,456 м; А= 5,31∙104 А/м; J1= 4,45∙106А/м²; hа=0,0875 м.
Полное
число витков фазы обмотки статора
Шаг
обмотки
;
τп = mq1=3q1=3∙3=9.
Принимаем шаг обмотки y1=8 (из первого в девятый паз), тогда
β=y1/τп=8/9=0,89.
Коэффициент укорочения шага обмотки статора
Коэффициент
распределения обмотки статора
Обмоточный коэффициент
5. Выбор воздушного зазора. Расчёт
полюсов ротора
Задавшись перегрузочной способностью генератора Мм/Mн = 2,1, по рис. 5.1 находим xd* =1,4.
Приближенное значение воздушного зазора
где
Вδ0 = 0,95 Вδн = 0,95·0,95=0,903
Тл.
Округляем
предварительную величину зазора с точностью до 0,1 мм и принимаем воздушный
зазор под серединой полюса 0,0036м. Зазор под краями полюса
δм=1,5·δ=1,5·0,0036=0,0054 м.
Среднее
значение воздушного зазора
Находим
длину полюсной дуги. Примем α = 0,7, тогда
Радиус
дуги полюсного наконечника
Высота
полюсного наконечника при τ = 0,293
м по табл. 5.1
hр = 0,038 м.
Длина
сердечника полюса и полюсного наконечника
lm = lр = l1 =0,456 м.
Находим
расчётную длину сердечника полюса. Принимаем lf =0,02 м, тогда
Предварительная высота полюсного сердечника
Определяем
коэффициент рассеяния полюсов. Из табл. 5.2 имеем k
≈ 7,0, тогда
Рассчитаем ширину полюсного сердечника, задавшись Bm = 1,5 Тл; kcp = 0,95 (полюсы выполнены из стали Ст
3 толщиной 1 мм):
Так
как
vр= πDnн/60=π·1,12·500/60=29,3 м/с<30 м/с,
то
используем способ крепления полюсов к ободу шпильками.
Длина
ярма (обода) ротора
где Δlc= 0,1 м.
Минимальная высота ярма ротора
где Bj =1,15
Тл.
Округляем с точностью до 1 мм и принимаем hj =0,067 м.
6. Расчёт демпферной обмотки
Выбираем число стержней демпферной обмотки на полюс Nс = 5.
Поперечное сечение стержня
Диаметр медного стержня
Округляем dC=13,5·10-3м, тогда qC=143,1·10 -6 м²
Определяем зубцовый шаг ротора. Принимаем Z=5·10-3 м, тогда
Проверяем условия
t2 =0,0373>t1=0,0326
- данное условие не выполняется;
t2=0,0307>0,8∙t1=0,8·0,0326=0,0261-условие выполняется.
Пазы ротора выбираем круглые полузакрытые.
Диаметр паза
ds=dc+
0,1=13,5+0,1=13,6 мм.
Раскрытие паза bs = 3 мм, высота шлица hs = 2 мм.
Длина стержня
lc=lp+(0,2-0,4)τ=0,456+0,3·0,293=0,544 м.
Сечение короткозамыкающего сегмента
qкз=bксhкс=1,15·0,5Ncqc=1,15·0,5·5·143,1·10-6
= 411·10-6 м².
По табл. 6.1 выбираем прямоугольную медь 11×40 мм (сечение qкз=439 мм²), причем bкс ≥2dc /3=2·13,5·10-3/3=9·10-3 м =9 мм.
Эскизы активных частей генератора представлены на рис.
3.
7. Расчет магнитной цепи
В данном разделе готовим расчётные выражения, необходимые для расчёта
магнитной цепи (табл. 3).
Таблица 3
|
Параметр
|
Е* и Ф*
|
|
0,5
|
1
|
1,1
|
1,2
|
1,3
|
|
Е, В
|
115,5
|
230,9
|
254
|
277
|
300,2
|
|
Ф=Е/3,3·103, Вб
|
0,035
|
0,07
|
0,077
|
0,084
|
0,091
|
|
Вδ=Е/290,9, Тл
|
0,4
|
0,8
|
0,87
|
0,95
|
1,03
|
|
Fδ=14,4Е, А
|
3324,9
|
3657,6
|
3988,8
|
4322,9
|
|
=6,38∙10-3Е,
Тл0,7371,471,621,771,92
|
|
|
|
|
|
|
, А/м214292076001900035000
|
|
|
|
|
|
|
FZ1=6,75∙10-2 , А14,4197,15131282,52362,5
|
|
|
|
|
|
|
Ва=Е/203, Тл
|
0,57
|
1,14
|
1,25
|
1,36
|
1,48
|
|
ξ
|
0,62
|
0,47
|
0,43
|
0,37
|
0,32
|
|
На, А/м
|
172
|
1200
|
2700
|
6000
|
14000
|
|
Fa=17,6∙10-2ξ На, А
|
18,8
|
99,3
|
204,3
|
390,7
|
788,5
|
|
ВZ2=5,42∙10-3Е,
Тл
|
0,63
|
1,25
|
1,38
|
1,5
|
1,63
|
|
НZ2, А/м
|
300
|
940
|
1393
|
2270
|
4750
|
|
FZ2=14,2∙10-3 НZ2,
А
|
4,26
|
13,3
|
19,8
|
32,2
|
67,5
|
|
FδZa=
Fδ+ FZ1+
Fa+ FZ2, А
|
1700,7
|
3634,6
|
4394,7
|
5694,2
|
7541,4
|
|
Фσ=3,2∙10-6 FδZa, Вб
|
0,0054
|
0,0116
|
0,0141
|
0,0182
|
0,0241
|
|
Фm= Ф + Фσ=Е/3,3·103+3,2∙10-6∙FδZa, Вб
|
0,0404
|
0,0816
|
0,0911
|
0,1022
|
0,1151
|
|
Вm=Фm/0,057,Тл
|
0,71
|
1,43
|
1,6
|
1,8
|
2,02
|
|
Нm, А/м
|
593
|
2300
|
4100
|
7683
|
20308
|
|
Fm=0,191∙ Нm, А
|
113,3
|
439,3
|
783,1
|
1467,5
|
3878,8
|
|
Fδmj
= 250 Вm, A
|
178
|
358
|
400
|
450
|
505
|
|
Вj =41·10-4 Е+42,9∙10-6FδZa, Тл
|
0,55
|
1,103
|
1,23
|
1,38
|
1,55
|
|
Нj, А/м
|
443
|
1100
|
1370
|
1970
|
3440
|
|
Fj= 8,69∙10-2Нj, А
|
38,5
|
95,6
|
119,1
|
171,2
|
298,9
|
|
Fmj= Fm+ Fδmj+ Fj, А
|
329,8
|
892,9
|
1302,2
|
2089
|
4682,7
|
|
Fвo= FδZа+
Fm+ Fδmj+ Fj, А
|
2030,5
|
4527,5
|
5696,9
|
7783,2
|
12224,1
|
|
Fвo*
|
0,45
|
1
|
1,26
|
1,72
|
2,7
|
|
Фm*
|
0,58
|
1,17
|
1,3
|
1,46
|
1,64
|
|
FδZa*
|
0,38
|
0,803
|
0,97
|
1,26
|
1,67
|
|
Fmj*
|
0,07
|
0,2
|
0,29
|
0,46
|
1,03
|
|
Фσ*
|
0,077
|
0,166
|
0,201
|
0,260
|
0,344
|
Для магнитопровода статора выбираем горячекатаную сталь 1511 толщиной 0,5
мм. Полюсы ротора выполняем из стали Ст 3 толщиной 1 мм. Толщину обода (ярма
ротора) принимаем hj
=0,067 м.
Магнитный поток в зазоре
По
рис. 1.2 при δм/δ=1,5; α=0,7; δ/τ=0,0036/0,293=0,0122 находим kв=1,155 и αδ=0,69.
Уточненное
значение расчетной длины статора
где
b'к=γδ=0,99·3,6·10-3=3,56·10-3;
γ= (bк/δ)2/(5+
bк/δ)=(1·10-2/3,6·10-3)2/(5+1·10-2/3,6·10-3) = 0,99.
Индукция
в воздушном зазоре
Коэффициент воздушного зазора статора
Коэффициент
воздушного зазора ротора
Результирующий коэффициент воздушного зазора
Магнитное
напряжение воздушного зазора
Ширина зубца статора по высоте 1/3 h′п 1 от его коронки
где
Индукция
в сечении зубца по высоте
от его коронки
Магнитное
напряжение зубцов статора
При
Е=1,3Ен
=1,92 > 1,8 Тл, поэтому соответствующую
напряженность
определяем по кривым намагничивания, рис. 7.1, с
учётом коэффициента
Индукция
в спинке статора
Магнитное
напряжение спинки статора
где
ξ определяем по рис. 7.2.
Высота
зубца ротора
Расчетная ширина зубца ротора (для круглых пазов)
Индукция
в зубце ротора
Магнитное
напряжение зубцов ротора
Удельная магнитная проводимость рассеяния между
внутренними поверхностям сердечников полюсов
Удельная
магнитная проводимость рассеяния между внутренними поверхностями полюсных
наконечников
где
Удельная
магнитная проводимость рассеяния между торцевыми поверхностями
Удельная магнитная проводимость для потока рассеяния
Магнитное напряжение ярма статора, зазора и зубцов полюсного наконечника,
А,
Поток
рассеяния полюса, Вб,
Поток
в сечении полюса у его основания, Вб,
Фm=Ф+Фσ=Е/3,3·103+3,2∙10-6FδZa.
Индукция
в полюсе, Тл,
Так
как при Е от 1,2 Uн до 1,3Uн
Вm>1,6 Тл, то в табл. 3 расчёт падения магнитного
напряжения на полюсе Fm производим по эквивалентной напряженности Нmр, которую определяем по трем сечениям полюса, табл. 4.
Таблица
4
|
Е*
|
Фm
|
Ф'm
|
Фmcp
|
Bm
|
B'm
|
Вmcp
|
Нm
|
Н'm
|
Нmcp
|
Нmр
|
|
1,2
|
0,1022
|
0,093
|
0,0976
|
1,79
|
1,63
|
1,71
|
11350
|
4750
|
7500
|
7683
|
|
1,3
|
0,1151
|
0,102
|
0,1086
|
2,02
|
1,79
|
1,91
|
31500
|
11350
|
19750
|
20308
|
При этом
Фm=Ф+Фσ; Ф'm=Ф+Фσλpl/λmσ=Ф+0,47Фσ;
Фmcp=(Фm+Ф'm)/2;
Магнитное
поле напряжения полюса, А,
где
hmp=hm+hp=0,153+0,038=0,191
м.
Магнитное
напряжение стыка между полюсом и ярмом ротора, А,
Индукция
в ярме ротора, Тл,
Магнитное
напряжение в ярме ротора, А,
Магнитное
напряжение сердечника полюса, ярма ротора и стыка между полюсом и ярмом, А,
Магнитодвижущая
сила обмотки возбуждения на полюс, А,
Результаты
расчета магнитной цепи сводим в табл. 3. При переводе значений FδZa, Fmj, Фm в
относительные единицы за базовые соответственно приняты Fво
и Ф при Е*=1.
По
табл. 3 на рис. 4 строим в относительных единицах характеристику холостого
хода.
Рис. 4. Характеристика холостого хода
На этом же рис. 4 приведена нормальная (типовая) характеристика холостого
хода.
8. Определение параметров обмотки статора для установившегося режима
работы
Средняя длина витка обмотки статора
Длина лобовой части обмотки статора
Активное сопротивление обмотки статора при 20 ºС
При
θ =75 ºС
Активное сопротивление обмотки статора в относительных единицах
Коэффициент магнитной проводимости пазового рассеяния
здесь
bп 1=0,0121 м;
λ′к=0,12 при
Коэффициент магнитной проводимости лобового рассеяния
где
Коэффициент магнитной проводимости дифференциального рассеяния
Индуктивное
сопротивление рассеяния
Индуктивное
сопротивление рассеяния в относительных единицах
Индуктивное
сопротивление продольной реакции якоря в относительных единицах
где
; α=0,7; δ/τ=0,0036/0,293=0,0123;
kad=0,86
(определяем по рис. 8.1);
kμ0=Fв 0/Fδ=2030,5/1663,2=1,22 при Е=0,5Uнф.
Индуктивное
сопротивление поперечной реакции якоря в относительных единицах
kaq=0,42
(определяем по рис. 8.1).
Синхронное
индуктивное сопротивление по продольной оси в относительных единицах
Синхронное
индуктивное сопротивление по поперечной оси в относительных единицах
9. Расчёт МДС обмотки возбуждения при нагрузке. Векторная диаграмма
По данным табл. 3 строим частичные характеристики намагничивания и
зависимость
,
рис.
5-7. Из векторной диаграммы (рис. 7) по Uнф*, Iнф*,
cosφн определяем
=1,08.
Из
рис. 6 по
=1,08 находим
Из
рис. 8.2 определяем: χd
= 0,96, χq,
=0,78 и k =0,002.
Находим
МДС
Faq*/cosψ = χq· kaq·Faн* = 0,78·0,42·1,47=0,48,
Faн* =
Faн/ Fво = 6653/4527,5 = 1,47.
По
найденной МДС из характеристики
определяем
ЭДС
,
отложив
которую на векторной диаграмме, получим направление, а затем и модуль Еrd*=Фrd* =1,04.
Находим
ψн=59°; cosψн= cos59°=0,515; sinψн = sin59°=0,857.
Из
характеристики
по Еrd* находим Frd*=0,86.
МДС
продольной реакции якоря
По
сумме
из
характеристики
определяем
.
Поток
полюса
Рис.
5. Частичные характеристики намагничивания
Рис.
6. Зависимость
Из
характеристики
по потоку
определяем
.
МДС
обмотки возбуждения при номинальной нагрузке
Из
характеристики
по Fвн* определяем ЭДС Еон*=1,29. Номинальное
изменение напряжения
ΔUн*=Eoн*-1=1,29-1=0,29.
Рис. 7. Векторная диаграмма
10. Расчёт обмотки возбуждения
Выбираем однорядную обмотку с лобовой частью в виде полуокружности.
Изоляция класса нагревостойкости В.
Средняя длина витка обмотки возбуждения
где
δ"=0,02 м (см. табл. 11.1); be ≈
0,1τ = 0,1·0,293≈0,0293
м; δ1 = (1,5-2)·10-3 м.
При
использовании тиристорного возбудительного устройства (ТВУ) номинальный ток
обмотки возбуждения 320 А. Задавшись током обмотки возбуждения 320 А и
плотностью тока обмотки ОВ Je = 3,5·106 А/м², определим предварительное значение сечения проводника
.
Определим
предварительное значение питающего напряжения
,
где
Для
питания обмотки возбуждения выбираем тиристорное возбудительное устройство
ТВУ-65-320 (Ueн=65 В, Ieн=320 А).
Тогда
напряжение на кольцах с учетом переходного падения напряжения в щеточном
контакте принимаем Ue=63 В.
Число
витков обмотки возбуждения
,
принимаем
we=43. Меньший размер прямоугольного проводника обмотки
где
δкп=13·10-3 м; δп=0,3·10-3 м.
Возможный
размер широкой стороны провода
Так
как в табл. 6.1 подходящий провод отсутствует, выбираем условно нестандартный
проводник с размерами ae×be =3×30 мм, сечением qe=90·10-6
м².
Уточненное
значение высоты полюса
Так
как расхождение с ранее выбранной высотой hm =0,153 м
составляет 3,28% < 10 %, то пересчёт магнитного напряжения полюса не
производим.
Активное
сопротивление обмотки возбуждения
,
,
Ток
обмотки возбуждения при 130 °С
МДС
обмотки возбуждения при 130 ° С
Коэффициент
запаса возбуждения, который должен быть в пределах 1,1-1,25,
Минимальное расстояние между катушками соседних полюсов
Уточняем
плотность тока в обмотке возбуждения
Превышение
температуры обмотки возбуждения
где
Полученное
превышение температуры не превосходит допустимое для изоляции класса
нагревостойкости В (
).
11. Определение параметров и постоянных времени обмоток
Индуктивное сопротивление обмотки возбуждения
Индуктивное
сопротивление рассеяния обмотки возбуждения
Находим
индуктивное сопротивление рассеяния демпферной обмотки по продольной оси.
Отношение
t2/τ=0,0373/0,293=0,127. При Nc=5
1
+ kв=1,47; 1 - kв=0,53.
Из
рис. 12.2 сd=0,75; cq=1,5, тогда
Индуктивное
сопротивление рассеяния демпферной обмотки по поперечной оси
Индуктивное
сопротивление нулевой последовательности для двухслойных обмоток
Переходные
индуктивные сопротивления обмотки статора:
по
продольной оси
по
поперечной оси
Сверхпереходные
индуктивные сопротивления обмотки статора:
по
продольной оси
по
поперечной оси
Индуктивные
сопротивления обмотки статора обратной последовательности:
при
работе машины на большое внешнее индуктивное сопротивление
при
работе машины на малое внешнее сопротивление (при коротком замыкании)
Активное
сопротивление обмотки возбуждения при 75 °С
Активное
сопротивление демпферной обмотки по продольной оси при 75 °С
где
cс = cкз
= 1.
Активное
сопротивление пусковой обмотки по поперечной оси при 75 °С
Постоянная
времени обмотки возбуждения при разомкнутых обмотках статора и демпферной
где
Постоянная
времени обмотки возбуждения при замкнутой обмотке статора
Постоянные времени демпферной обмотки при разомкнутых
обмотках статора и возбуждения:
по продольной оси
по
поперечной оси
Постоянные
времени демпферной обмотки:
по
продольной оси при замкнутой накоротко обмотке возбуждения и разомкнутой
обмотке статора
по
продольной оси при замкнутых накоротко обмотке возбуждения и обмотке статора
по поперечной оси при замкнутой накоротко обмотке
статора
Постоянная
времени обмотки статора при короткозамкнутых обмотках ротора
12. Расчёт масс активных материалов
Масса зубцов статора
где
Масса
ярма магнитопровода статора
Масса
меди обмотки статора
Масса
меди обмотки возбуждения
Масса
меди стержней демпферной обмотки
Масса
меди короткозамыкающих колец
Масса
стали полюсов
Масса
стали обода ротора
Полная
масса меди
Полная
масса активной стали
Масса
активных материалов на единицу мощности:
кг/кВА,
кг/кВА.
13. Определение потерь и КПД
Основные электрические потери в обмотке статора
Потери
на возбуждение
Магнитные
потери в ярме статора
Примем
kда =1,3; kдz
= 1,7; p1/50 =1,4 Вт/кг;
Ва=1,14
Тл; ВZ1/3=1,47
Тл
Магнитные
потери в зубцах статора
Механические
потери
Поверхностные
потери в полюсных наконечниках
где
Во = Вδо (kδ1 -1)=0,8∙(1,2-1)=0,16 Тл; k0=4,6.
Добавочные
потери при нагрузке
Рдоб = 0,005Рн = 0,005∙1150 = 5,75 кВт.
Общие
потери при номинальной нагрузке
Коэффициент
полезного действия
14. Расчёт превышения температуры
обмотки статора
Удельный тепловой поток на 1 м² внутренней поверхности статора
=
Вт/м² .
Превышение
температуры внешней поверхности статора над температурой охлаждающего воздуха
,
где
Вт/(○С×м²).
Плотность
теплового потока с внешней поверхности лобовых частей
,
где
удельная проводимость меди при 75 °С
,
периметр паза (без учета клина) П 1 = 149,8×10-3 м.
Превышение
температуры внешней поверхности лобовых частей обмотки статора над температурой
охлаждающего воздуха
.
Перепад
температуры в пазовой изоляции обмотки статора (см. п. 30)
.
Среднее
превышение температуры обмотки статора
15. Определение токов короткого
замыкания
Ударный ток короткого замыкания
о.е.
Уточненное
значение тока короткого замыкания

о.е.
Кратность
тока короткого замыкания при возбуждении холостого хода (ОКЗ)
Величину
Е′он* =1,13, определяем по продолжению спрямлённой части
характеристики холостого хода при Iв*= 1.
Кратность
тока короткого замыкания при номинальном возбуждении
Величину Е′о* = 2,8, определяем по
продолжению спрямлённой части характеристики холостого хода при номинальном
токе возбуждения Iвн*= 2,48
(рис. 8).
Данные для построения характеристики холостого хода
(рис. 8)
|
Е*
|
0,5
|
1
|
1,1
|
1,2
|
1,3
|
|
Iв*
|
0,45
|
1
|
1,26
|
1,72
|
2,7
|
Рис. 8. Характеристика холостого хода
16. Расчёт и построение характеристик
генератора
Угловая характеристика
Статическую
перегружаемость генератора определяем по угловой характеристике, рис. 9,
kм= Рм*/Рн*=Мм*/Мн*,
где
Рн*=cos φн= 0,8.
Из
рис. 9 Мм*=1,87,
kм = Рм*/Рн*
= 1,87/0,8 = 2,34.
Данные для построения угловой характеристики (рис. 9)
|
ϴ°
|
30
|
45
|
60
|
75
|
90
|
105
|
120
|
135
|
150
|
|
М*
|
1,1
|
1,52
|
1,78
|
1,87
|
1,82
|
1,64
|
1,38
|
1,06
|
0,71
|
Рис. 9. Угловая характеристика
Регулировочная характеристика Iв*= f(I*).
Для построения регулировочных характеристик задаем три
значения тока якоря I*
0; 0,5; 1. По заданным значениям I* для U*=const и cosφ=const строим векторные диаграммы Потье, совмещенные с
характеристикой холостого хода и короткого замыкания, из которых находим
значения Iв*.
В диаграмме Потье МДС реакция якоря не раскладывается
на продольную и поперечную составляющие, как в диаграмме Блонделя, поэтому эта
диаграмма применима в основном для неявнополюсных машин. Но она дает приемлемые
по точности результаты и для явнополюсных синхронных машин (ошибка не превышает
5-10 %).
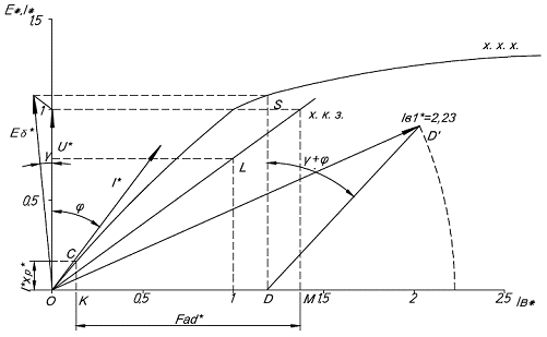
Рис.
10. Диаграмма Потье для
Построение
диаграммы Потье для U*=1; I*=1, cos φ = 0,8.
На
основании уравнения генератора
определяем
вектор
, как это было сделано при построении диаграммы
Блонделя.
Пользуясь
значением ЭДС
, по характеристике холостого хода находим ток
возбуждения
, необходимый для её создания (на рис. 10 отрезок OD).
При
построении диаграммы Потье применяют реактивное сопротивление Потье
.
Использование
вместо
учитывает
повышенное насыщение магнитной цепи индуктора от потока рассеяния возбуждения.
МДС реакции якоря определяется по характеристике короткого замыкания, которую
строим как прямую из начала координат через точку L, для
которой
и
= 1.
Для
I* = 1 по характеристике короткого замыкания определяем
МДС
(отрезок
0М), отложив на оси ординат
, по
характеристике холостого хода находим FϬ*
(отрезок ОК). Тогда
(отрезок
КМ). Чтобы получить МДС, соответствующую полному току возбуждения
, необходимо геометрически сложить векторы
, при этом учитываем, что МДС
опережает
на 90°,
а МДС
совпадает по направлению с током якоря
. Результирующий ток возбуждения находим, прибавляя к
отрезку ОD отрезок DD' = КМ, причем КМ проводим под углом (φ+γ) к отрезку DS.
Принимая,
что падение напряжения
и реакция якоря
прямо
пропорциональны току якоря, можно построить подобные диаграммы для различных
значений тока I*, напряжения U* и cosφ.
На
рис. 11 построены диаграммы для U*, равных 1,0; 1,1; 1,15; cosφ=0,8. При этом принято, что
Падением
напряжения на активном сопротивлении пренебрегаем. Данные построения сведены в
табл. 5.
Таблица
5
|
U* = 1,0
|
U* = 1,1
|
U* = 1,15
|
|
I*
|
0
|
0,5
|
1
|
0
|
0,5
|
1
|
0
|
0,5
|
1
|
|
11,572,231,261,92,611,472,132,88
|
|
|
|
|
|
|
|
|
|
По данным табл. 5 на рис. 12 построены регулировочные
характеристики для напряжений U*, равных 1,0;
1,1; 1,15.
Рис. 11. Диаграмма Потье для построения регулировочных
характеристик
Рис. 12. Регулировочные характеристики
Внешняя характеристика U* = f(I*).
Внешнюю характеристику строим, используя семейство
регулировочных характеристик (рис. 12). Из точки, соответствующей U* = 1 и I* =1, проведем прямую параллельно оси абсцисс. Точки пересечения этой
прямой с регулировочными характеристиками дадут значения тока I* при U* = 1,1 и U*
= 1,15. Значение U* при I* =0 получим по характеристике холостого хода для Iвн*. Данные расчета сведены в табл.
6.
Таблица 6
|
I*
|
0
|
0,57
|
0,74
|
1
|
|
U*
|
1,29
|
1,15
|
1,1
|
1
|
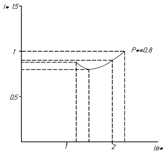
По данным табл. 6 на рис. 13 построена внешняя
характеристика.
Рис. 13. Внешняя характеристика
U-образная
характеристика I*=f(
).
При
построении U-образной характеристики должно быть обеспечено
выполнение условий
=const и
= const.
Принимая во внимание, что
,
можно
отметить, что активная составляющая тока якоря
также
постоянна.
Для
U-образной характеристики при U*=Uн* и
Р*=Р*н=cosφ=0,8
активная
составляющая тока
равна 0,8. Для характеристик при
, например при
,
активная составляющая
= 0,9·0,8 =0,72 и т.д.
U-образную
характеристику для случая Р*=0,8; U* = Uн* строим следующим
образом. Откладываем по оси абсцисс в масштабе вектор напряжения
. С ним совпадает по направлению вектор активного тока
Iн*cosφн (рис. 14). Затем задаемся несколькими значениями тока I*,
например двумя I(1)* =1, I(2)* =0,9 для индуктивной нагрузки (φ>0), одним для активной нагрузки I(3)* =Iн*cosφн и одним I(4)* =0,88
для емкостной нагрузки (φ<0),
и размещаем их, как показано на рис. 14.
Определяем для этих токов углы φ.
Рис.
14. Векторные диаграммы (к построению U-образной
характеристики)
Рис.
15. Диаграмма Потье (к построению U-образной характеристики)
Для
каждого значения I(1,2,3,4)* и φ(1,2,3,4) строим диаграмму Потье, как это делалось при
построении регулировочных характеристик (рис. 15).
Данные
расчёта сводим в табл. 7
Таблица
7
|
1,211,4922,27
|
|
|
|
|
|
I*
|
0,88
|
0,8
|
0,9
|
1,0
|
По данным табл. 7 строим U-образную характеристику (рис. 16).
Рис. 16. U-образная характеристика
Список использованных источников
. Теоретические основы
электротехники: Учеб. пособие для вузов: В 2 ч./ Л.А. Бессонов - 9-е изд.,
перераб. и доп. М.:Высшая школа, 1996. 623 с.
. Электрические машины: Учебник для
вузов/ А.И. Вольдек - 2-е изд., перераб. и доп. Л.:Энергия, 1974. 840 с.
. Проектирование электрических машин:
Учеб. пособие для вузов: В 2 кн./ И.П. Копылов, Б.К. Клоков, В.П. Морозкин и
др.; Под. ред. И.П. Копылова.- 2-е изд., перераб. и доп. М.:Энергоатомиздат,
1993. Кн. 2. 384 с.
. Пахомин С.А. Проектирование
синхронных генераторов: Учеб. пособие к курсовому проекту по электромеханике/
Юж.-Рос. гос. техн. ун-т. Новочеркасск: ЮРГТУ, 2007. - 91с.
5. СТП-40.459-007-82. Стандарт
предприятия. Текстовые документы в учебном процессе. Общие требования/ НПИ.
Новочеркасск, 36 с.