Строительные машины

  • Вид работы:
    Реферат
  • Предмет:
    Транспорт, грузоперевозки
  • Язык:
    Русский
    ,
    Формат файла:
    MS Word
    1,17 Мб
  • Опубликовано:
    2015-05-24
Вы можете узнать стоимость помощи в написании студенческой работы.
Помощь в написании работы, которую точно примут!

Строительные машины

1. ГРУЗОПОДЪЕМНЫЕ МАШИНЫ (ДОМКРАТЫ, ЛЕБЕДКИ, КРАНЫ БАШЕННЫЕ, СТРЕЛОВЫЕ, МАЧТОВЫЕ, ПОДЪЕМНИКИ)

 

1.1    Общая характеристика класса машин

Грузоподъемные машины широко используются для вертикального перемещения или наклона в ходе погрузо-разгрузочных работ. Грузоподъемные машины - краны, подъемники и лебедки - в отличие от специальных машин относятся к машинам общего назначения.

По конструкции они делятся на три группы: стрелового типа, мостового типа и краны с несущими канатами. По способу перемещения краны разделяют на стационарные, приставные, самоподъемные, переставные, радиальные, передвижные, самоходные и прицепные.

1.2 Устройство машин

.2.1 Башенные краны

Башенные строительные краны предназначены для выполнения строительно-монтажных и погрузочно-разгрузочных работ. Башенный кран состоит из башни (колонны), стрелы, опорной части, опорно-поворотного устройства, кабины машиниста. Механизмов подъема груза, поворота стрелы, изменения вылета, устройств безопасности (ограничителей грузоподъемности, высоты подъема груза, передвижения грузовой тележки, поворота и подъема стрелы).

Всеми механизмами крана управляет машинист из кабины, в которой размещена аппаратура управления.

По конструкции башенные краны делятся на краны с поворотной платформой и неповоротной башней. У кранов с поворотной платформой рабочие механизмы устанавливаются на поворотной платформе, к которой крепится башня.

Краны с неповоротной башней, кроме основных частей, имеют поворотный оголовок, к которому для уравновешивания поворотной части крепится противовесная консоль с контргрузом (противовесом) на конце.

Грузовая и стреловая лебедки устанавливаются на противовесной консоли.

По возможности перемещения башенные краны делятся на передвижные, приставные, стационарные и самоподъемные.

Опорная часть передвижных башенных кранов включает ходовые тележки, прикрепленные к нижней раме.

В некоторых кранах с неповоротной башней ходовые тележки крепятся к башне посредством портала.

Ходовые тележки на стальных ходовых колесах перемещаются по рельсовому крановому пути с помощью механизма передвижения крана.

Опорная часть стационарных башенных кранов представляет собой раму, установленную на монолитном основании.

При большой высоте башенные краны дополнительно крепят к возводимому сооружению. Такие краны называются приставными.

В ряде случаев приставной кран до определенной высоты может работать как передвижной.

Тогда он является универсальным и имеет опорную часть в виде ходового устройства аналогично передвижным кранам.

Изменение вылета у башенных кранов осуществляется либо изменением угла наклона стрелы посредством стреловой лебедки и стрелового полиспаста, либо перемещением грузовой тележки (каретки) по стреле с помощью тяговой лебедки.

В зависимости от способа изменения вылета и типа стрелы башенные краны делятся на две группы: с подъемной и балочной стрелами.

Башенные краны имеют многодвигательный электрический привод с питанием от внешней сети через кабель и токоприемник и выполняют следующие рабочие движения: подъем груза, изменение вылета, поворот, а передвижные краны, . кроме того,- передвижение.

Сочетание этих движений позволяет транспортировать груз в любую точку рабочей зоны крана, а также обслуживать территорию склада, разгружать грузы с транспортных средств.

Для обеспечения устойчивости передвижных башенных кранов на поворотной платформе или в нижней части неповоротной башни укладывается балласт.

Достоинства башенных кранов - хороший обзор крановщиком монтажной зоны; расположение стрелы на большой высоте, вследствие чего она не пересекает конструкции строящегося объекта; простота и надежность в эксплуатации; большие линейные размеры рабочей зоны.

К недостаткам относится необходимость устройства подкрановых путей (для передвижных кранов), а также монтажа и демонтажа крана при его перебазировке.

Основные параметры базовых моделей башенных кранов регламентированы ГОСТ 13555-79, согласно которому принято следующее обозначение башенных кранов: КБ-200-40Р - кран башенный, грузовой момент 200 т-м (1960 кНм), высота подъема 40 м, рельсовый; КБ-320-150П - кран башенный, грузовой момент 320 т-м (3136 кНм), высота подъема 150 м, приставной.

Системой индексации башенных кранов, выпускаемых заводами Минстройдормаша, предусмотрено первой цифрой обозначать номер размерной группы, второй и третьей цифрами - конструктивные особенности крана, буквой - порядковый" номер модели, последней цифрой - номер модификации.

Климатическое исполнение обозначается буквами ХЛ - северное, Т - тропическое и ТВ - для влажных тропиков.

Установлены четыре размерные группы 3, 4, 5 и 6, для которых грузовой момент крана соответственно равен до 980, 980-1960, 1960-2940 и 2940-4900 кНм. Вторая и третья цифры в марке крана составляют число, которое в пределах от 01 до 70 характеризует кран с поворотной платформой, а 71-90 с неповоротной башней.

Например, КБ-674А-5 - кран башенный, грузовой момент более 2940 кНм, с неповоротной башней, первая модель, исполнение пятое; КБ-401Б - кран башенный, грузовой момент более 980 кНм, с поворотной платформой, вторая модель.

Наиболее часто применяют краны с поворотной башней. У них центр тяжести находится ниже, чем у кранов с поворотным оголовком, так как большинство узлов расположено у основания крана. Благодаря этой особенности масса кранов с поворотной башней меньше, чем с неповоротной. Эти краны проще монтировать, демонтировать, транспортировать; башня при нагрузке меньше деформируется, что приводит к меньшей раскачке груза.

Кран с поворотной башней (рис 1) состоит из трубчатой или решётчатой башни 1, закреплённой на упорно-поворотном устройстве 2, на котором установлен противовес 3. В верхней части башни монтируется распорка 4 для направляющих роликов и оголовок 5. На башне закреплена стрела 6.


Краны с поворотной башней можно так же разделить на краны с подъёмной стрелой и на краны с балочной стрелой.

Краны с балочной стрелой, у которых вылет стрелы осуществляется её наклоном, более просты по конструкции, но к недостаткам этих кранов надо отнести то, что у них нельзя полностью использовать подкрановое пространство. Наименьший вылет стрелы у них составляет 30% от наибольшего. При таком креплении стрелы трудно достигнуть точной наводки элементов конструкции, так как при подъёме стрелы груз перемещается как вертикально так и горизонтально.

В кранах с балочной стрелой перемещение груза требует меньшей энергии, но маневренность таких кранов ниже, чем у кранов с подъёмной стрелой.

На рисунке 2 показана кинематическая схема отдельных механизмов башенного крана с подъёмной стрелой и схема запасовки канатов. Стрела поднимается лебёдкой и стреловым полиспастом на подвижной обойме (траверсе) 2, несущей два блока. Полиспаст подъёма стрелы четырёхкратный. Три блока полиспаста находятся на неподвижной обойме 6, жёстко прикреплённой к поворотной платформе 7.

Один конец каната подъёма стрелы жёстко закреплён на той же неподвижной обойме и перекинут через неподвижный блок 1, другой конец каната закреплён на стреловой лебёдке.

Механизм подъёма стрелы одновременно служит и механизмом опускания груза в процессе подъёма стрелы, что обеспечивает движение груза по горизонтали во время её подъёма. Для этой цели один из концов подъёмного каната закреплён на барабане лебёдки подъёма стрела так. Что во время наматывания каната подъёма стрелы на барабан канат подъёма груза сматывается с барабана. Груз и стрела поднимаются при помощи крановых лебёдок.


Лебёдки состоят из кранового фланцевого электродвигателя, двухступенчатого редуктора, тормоза, барабана, выносной опоры и двух сферических опор редуктора. Для плавной посадки груза лебёдка снабжена тормозным генератором, обеспечивающим снижение груза в 5-6 раз, и двухколодочным тормозом с гидротолкателем.

Механизм поворота включает фланцевый вертикально расположенный электродвигатель и планетарный зубчатый редуктор с вертикальными валами. На ведомом валу редуктора снизу располагается шестерня, сцепляющаяся с зубчатым венцом опорно-поворотного круга. Тормоз располагается на втором конце вала электродвигателя в горизонтальном положении. Смазка шестерни и подшипников редуктора принудительная. Редуктор имеет две проушины, которыми он крепится к поворотной платформе.

Кран опирается на четыре двухколёсные балансирные тележки. Две тележки являются ведомыми (неприводными), две - ведущими. Привод тележки осуществляется от фланцевого через червячный редуктор. Тележки снабжены центральным захватом для закрепления крана за рельсы в нерабочем состоянии.

Для восприятия грузового момента и вертикальных нагрузок поворотная часть крана соединяется двухрядным шариковым опорно-поворотным кругом с неповоротной частью.

На внутреннем конце круга предусмотрен зубчатый венец, с которым связана ведущая шестерня механизма поворота. На рисунке 3 показана схема крана с балочной стрелой.


Горизонтальное перемещение груза производится грузовой кареткой, движущейся вдоль стрелы, но может так же осуществляться поворотом стрелы или движением всего крана. Стрела удерживается на кране канатами и полиспастным устройством, подобным тому, каким оборудованы краны с подъёмной стрелой.

1.2.2 Стреловые краны


Автокран "Ивановец" КС-35714К, грузоподъемностью 16 т, смонтирован на шасси КамАЗ-53215. Гидропривод обеспечивает легкость и простоту управления краном, плавность работы механизмов, широкий диапазон рабочих скоростей, совмещение крановых операций. Стрела - телескопическая трехсекционная. Выдвижение секций - гидроцилиндром и полиспастами.

Микропроцессорный ограничитель грузоподъемности с цифровой индикацией информации позволяет следить за степенью загрузки крана, длиной и вылетом стрелы; показывает фактическую величину груза на крюке и максимальную грузоподъемность на данном вылете.

Установленная в ограничителе телеметрическая память ("Черный ящик") фиксирует рабочие параметры, а также степень нагрузки крана в течение всего срока службы.

.2.3 Лебёдки

Лебедки выпускаются в настоящее время трех видов: электрические, гидравлические и механические. Самые распространенные из них, безусловно, электрические. Фирм-производителей много, причем как со сложившимся уже мировым именем, так и прорывающихся на рынок, в основном, с территории Китая. "Электрика" отличается простотой конструкции, легкостью монтажа, удобством в использовании, способностью работать при выключенном моторе автомобиля. Недостатки - очень большое потребление электроэнергии из бортовой сети и уменьшение "тяги" со временем из-за коррозии, ветшания и т.п. элементов негерметичного электродвигателя.

Механические лебедки - это, пожалуй, наиболее давно выпускаемые средства самоспасения внедорожника из грязи. Они очень надежны, чрезвычайно неприхотливы и мощны. По этой причине у людей, знающих толк в подобной технике, эти лебедки пользуется устойчивой популярностью и уважением.

Минусы: для того, чтобы их установить, нужно иметь раздаточную коробку, допускающую установку коробки отбора мощности, от которой, собственно говоря, и получает крутящий момент лебедка. Второй минус - невозможность работы многих механических лебедок при выключенном моторе автомобиля. Хотя на некоторых моделях предусмотрена (или только заложена) возможность "кручения" редуктора лебедки вручную (в одну или в обе стороны).

Третий минус - новая "механика" - вещь не просто дорогая, а супердорогая (стоимость хорошей подержанной - не менее 1000 у.е.).

Гидромотор гидравлических лебедок, как правило, приводится в действие насосом гидроусилителя руля.

Гидромотор гораздо надежнее электрического, кроме того, он герметичен и из-за этого лебедка может без риска для "жизни" работать под водой. При перегрузках запросто можно сжечь мотор электрической лебедки, "срезать шпонку" у механической лебедки, а гидравлический мотор просто остановится, "попросив" таким образом пустить трос через один-два блока. Другой большой плюс гидравлической лебедки - практически полное отсутствие потребления электроэнергии от бортовой сети автомобиля. Но есть и минусы.

Первый - скорость сматывания троса у "гидравлики" в два раза медленнее, чем у "электрики".

Второй минус - если установлен единственный насос ГУР и на руль и на лебедку - не получается проворачивать руль во время работы лебедки - мощности насоса гидроусилителя не хватает на обоих потребителей.

Третий минус - гидравлическая лебедка работает только тогда, когда работает мотор автомобиля.

Всем знакома ситуация, когда засевшую машину необходимо вытаскивать буксиром, но есть ситуации, когда невозможно использовать энергию двигателя буксирующего автомобиля (например, на сильно пересеченной местности).

В таких случаях весьма существенную помощь может оказать лебедка.

Автомобильные лебедки подразделяются

·        Ручные

·        Электрические

·        Гидравлические


Ручные лебедки. Принцип действия - рычаг-храповик. Максимальные нагрузки 2 и 4 т., но формально эту нагрузку надо делить на два. В данном разделе этот тип приводится как прикладной инструмент.

Электрические лебедки. Питаются от электрической бортовой сети автомобиля. Является самым распространенным типом лебедки. До недавнего времени самый дешевый вариант, но цена гидравлических лебедок уже сравнима с электрическими.

Гидравлические лебедки. Привод осуществляется от насоса гидроусилителя. Пример : "Хаммер" армии США имеют гидравлические лебедки

Механические лебедки. Привод осуществляется через специальную механическую раздатку от трансмиссии автомобиля. Как правило, такие лебедки конструктивно входят в структуру привода автомобиля и устанавливаются непосредственно производителем машины. Наши армейские ЗИЛ151-157 имели механическую лебедку.



Итак, что лучше электрические, гидравлические или механические лебедки?

Рассмотрим все преимущества и недостатки разных типов лебедок. Механические лебедки являются сложными по конструкции, но они довольно надежны. Скоростью намотки троса и силой натяжения можно управлять (прямая зависимость от оборотов двигателя). Привод осуществляется через специальный адаптер (эдакая микро-раздаточка), который крепится к трансмиссии (коробке или раздатке). Естественно для этих целей должен быть так называемый PTO-порт (который изначально предусматривается производителем коробки) или же просто говоря место, предусмотренное в конструкции коробки, куда крепится этот самый адаптер. Естественно не многие автопроизводители делают трансмиссии с такими возможностями. Для работы механической лебедки необходима работа двигателя.

Для электрических лебедок не нужна работа двигателя - это большое преимущество. Но есть и недостатки у электрической лебедки - можно быстро разрядить батарею, при больших и длительных нагрузках электродвигатель лебедки может перегреться. Как правило, при установке лебедки необходима модернизация аккумулятора и генератора, соответственно установка батареи большей емкости и генератора не менее 100А.

Привод гидравлической лебедки осуществляется от насоса гидроусилителя с помощью специальных переходников.


Но мощность лебедки определяется мощностью насоса (или же рабочим давлением), гидравлическая лебедка легче и мощнее электрической, но для ее работы опять же необходима работа двигателя. Соответственно гидравлическая лебедка может работать продолжительное время без потери мощности (из-за разряда батареи, как у электрической). Другой недостаток (но несущественный) гидравлической лебедки - инертность в действиях., т.е. электрическая лебедка побыстрее, но только чуть-чуть.

Конструктивные различия между лебедками

Как правило современные лебедки делаются двухскоростные и имеют планетарный механизм (хотя встречается и червячный). 1-я скорость - рабочая, 2-я для намотки троса. Также электрические лебедки различаются по типу двигателя, так есть двигатели с постоянным магнитом, которые потребляют меньший ток, а индукционные двигатели могут работать более длительное время без перегрева. Соответственно различается максимальная нагрузка различных моделей лебедок - 1-4 тонны для электрической и до 9 тонн для гидравлической.


По способу крепления лебедки ничего нового: крепеж осуществляется специальным монтажным комплектом на дугу или же продаются бамперы с конструктивным крепежом лебедки.


Цена на лебедки колеблется от 6000 рублей за простую и маломощную (1-1,5 тонны) до супердорогих от 35000 с максимальной нагрузкой от 4 до 9 тонн.

1.3    Производительность машин

Эксплуатационную производительность крана учитывают при выборе комплектов машин, при разработке проектов организации и производства работ, расчетов с рабочими, входящими в состав крановой бригады, при определении потребного количества кранов на заданную программу строительно-монтажных работ управления, треста.

Машинисту крана необходимо знать эту категорию производительности.

Эксплуатационную производительность стрелового самоходного крана в час и смену Пэ.ч и Пэ.см определяют по формулам:

Пэ.ч = Qn×Кг×Кв т/ч;

Пэ.см = 8,2×Qn×Kг×Kв т/смена,

где 8,2 - усредненная продолжительность работы крана в течение смены, ч (при 5-дневной рабочей неделе);- грузоподъемность крана, т, при данном вылете крюка, м;

Кг - коэффициент использования крана по грузоподъемности (по полезной массе) при работе с одним определенным грузом;

в случае подъема различных грузов принимается среднее значение Kг, n - количество циклов за 1 ч работы;- 60/Тц, где Тц - время одного цикла, мин;

Кв - коэффициент использования крана по времени в течение смены, учитывающий технологические и минимальные организационные простои.

Циклом работы крана называется время, затрачиваемое на перенос груза, начиная с момента строповки его и кончая опусканием порожнего крюка к месту строповки очередного груза на приобъектном складе или на транспортной единице. Общее время цикла складывается из машинного времени Тмаш и времени, затрачиваемого на выполнение ручных операций Тр.

2. МАШИНЫ ДЛЯ ОТДЕЛОЧНЫХ РАБОТ

 

2.1 Общая характеристика класса машин

Отделочные работы представляют собой комплекс строительных процессов по наружной и внутренней отделке зданий и сооружений с целью повышения их защитно-эксплуатационных и архитектурно-эстетических качеств. Отделочные работы являются наиболее сложными и трудоемкими и составляют в настоящее время около 25…30% общих трудовых затрат, которые достигают 15… 18% от общей стоимости строительства. Около 30% всех строителей, участвующих в сооружении зданий, занято на отделочных работах.

Основная часть отделочных работ в силу их специфики выполняется в сжатые сроки в условиях строительной площадки на завершающем этапе строительства. В состав отделочных входят штукатурные, облицовочные, малярные, обойные, стекольные и кровельные работы, а также работы по устройству и отделке полов. Отделочные работы характеризуются многообразием и технологической несхожестью операций. Для выполнения отделочных работ используется большое количество строительно-отделочных машин, различных по назначению и устройству.

Важное значение для повышения производительности и качества, снижения трудоемкости и доли ручного труда при выполнении отделочных работ имеют внедрение новых эффективных малооперационных технологических процессов и их комплексная механизация и автоматизация.

Номенклатура строительно-отделочных машин постоянно расширяется и пополняется более совершенными типами и моделями, отвечающими современным требованиям технологии строительного производства.

Механизация стала одним из ведущих факторов в решении задачи повышения производительности труда и общей эффективности строительного производства, что получило отражение в Основных направлениях экономического и социального развития нашей страны.

Насыщение строительства большим количеством машин, освоение производства ряда новых типов машин, расширение технологических возможностей средств механизации и улучшение организации их использования позволили механизировать тяжелые и трудоемкие процессы и перейти к широкому внедрению комплексной механизации строительно-монтажных работ.

В настоящее время парк основных машин, используемых в строительстве, составляет более 500 тыс. единиц. Число типоразмеров, и моделей машин, применяемых в строительстве, превышает 1000. Естественно, что при таком многообразии средств механизации машин в наибольшей степени технологически и экономически соответствующих конкретным условиям производства работ, представляет в ряде случаев сложную задачу.

Широкая номенклатура применяемых в строительстве средств механизации дает возможность варьировать состав комплектов машин, обеспечивать высокую степень механизации строительных работ.

Для решения таких вопросов, проектирования организации строительства и производства строительных работ, а также в процессе производства работ необходима периодически обновляемая техническая информация, содержащая сведения о технологических и эксплуатационных параметрах средств механизации.

2.2 Устройство машин

лебедка кран штукатурный агрегат

2.2.1 Окрасочные станции и агрегаты

Окрасочные агрегаты высокого давления применяют для окраски поверхностей лаками, дисперсиями, масляными и полимерными красками вязкостью до 200...300 с по вискозиметру ВЗ-4. Основным узлом таких агрегатов является насос высокого давления (до 30 МПа), подающий красочный состав <#"806085.files/image011.gif">

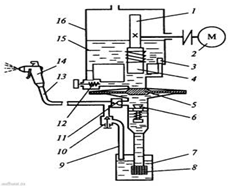
Рис. 4. Окрасочный агрегат высокого давления 7000Н-1: 1 - пистолет-распылитель; 2 - электродвигатель; 3 - выключатель и защитно-отключающее устройство; 4 - электрический кабель с штепсельным разъемом; 5 - шланг высокого давления; 6 - удочка; 7 - тележка со съемной рукояткой; 8 - всасывающая система; 9 - насос; 10 - фильтр высокого давления; 11 - бак

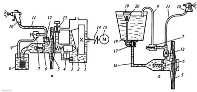
Гидравлическая схема агрегата 7000НА показана на рис. 5., а. При вращении маховика 2 с наклонной поверхностью, соединенного с валом взрывозащищенного трехфазного электродвигателя 15 упругой муфтой 14, совершает возвратно-поступательное движение подпружиненный плунжер 4 гидропередачи, который через буферную жидкость (масло) сообщает колебания мембране 5. Возврат плунжера и мембраны в исходное положение обеспечивается пружинами. Мембрана отделяет гидравлическую полость насоса от красконагнетательной.

Рис. 5. Гидравлические схемы агрегатов 7000НА, 7000Н-1

Жидкость в буферную зону поступает из корпуса 1 насоса через сменный сетчатый фильтр 3. Для дисперсий и лаков применяют фильтр с ячейками 0,08 для грубой очистки - с ячейками 0,4 мм, для тонкой очистки - с ячейками 0,2 мм. В процессе возвратно-поступательного движения мембраны осуществляется всасывание материала через всасывающий клапан 6 по шлангу низкого давления с фильтром 8 из расходной емкости и его нагнетание через нагнетательный клапан 12 и фильтр по полимерному шлангу высокого давления пистолету-распылителю 10 с металлокерамическим соплом. Частота колебаний мембраны постоянна и соответствует частоте вращения электродвигателя. Давление нагнетания изменяется бесступенчато от нуля до максимума с помощью регулятора давления 13, перепускающего часть масла из зоны расположена плунжера и мембраны в другую часть насоса. При перекрытом канале пистолета-краскораспылителя и работающем насосе красочный состав возвращается в расходную емкость через перепускной клапан 7 по шлангу 9 обратного слива.

Окрасочный агрегат 7000Н-1, гидравлическая схема которого показана на рис. 5., б, отличается от агрегата 7000НА наличием бака 18, из которого красочный состав поступает к насосу через всасывающий трубопровод 16 при открытом перепускном кране 17. Красочный состав заливается в бак через воронку 19, снабженную ситом 20. Один насос может обслуживать несколько краскораспылителей.

Агрегат 2600 НА (рис. 6.) может распылять материалы вязкостью 100...200с по ВЗ-4 с крупностью частиц до 0,08 мм и обеспечивает дальность подачи маловязких материалов на высоту до 40 м. Привод агрегата осуществляется от однофазного электродвигателя 2 (рис. 7.). Возвратно-поступательное движение мембране 5 сообщается от электродвигателя через эксцентрик 1 и подпружиненный плунжер 4.

Рис. 6. Окрасочный агрегат высокого давления 2600НА:
- тележка со съемной рукояткой;
- всасывающая система;
- насос;
- фильтр высокого давления;
- выключатель и защитно-отключающее устройство;
- электродвигатель;
- пистолет-распылитель;
- шланг высокого давления;
- электрический кабель со штепсельным разъемом

Рис. 7. Гидравлическая система агрегата 2600НА: 1 - эксцентрик; 2 - электродвигатель; 3 - сетчатый фильтр; 4 - плунжер с пружиной; 5 - мембрана; 6 - всасывающий клапан; 7 - расходная емкость с краской; 8 - фильтр; 9 - шланг обратного слива; 10 - перепускной клапан; 11 - нагнетательный клапан; 12 - регулятор давления; 13 - шланг высокого давления; 14 - пистолет-распылитель; 15 - масло; 16 - корпус

Окрасочные агрегаты "Финиш-207" (рис. 8.) и "Финиш-211" могут распылять лакокрасочные составы вязкостью 200...300 с по ВЗ-4 с крупностью твердых частиц до 0,08...0,14 мм. Они оборудуются электрогидравлическими насосами мембранного типа с верхним всасыванием красочного состава, принцип работы которых заключается в следующем: взрывозащищенный фланцевый электродвигатель 6 вращает маховик 5 с эксцентриком 8, который сообщает возвратно-поступательное движение подпружиненному плунжеру 9. Плунжер через промежуточную рабочую жидкость (масло) 11, осуществляет колебательное движение диафрагмы 3, отделяющей гидравлическую часть насоса от красконагнетательной. Возврат плунжера и мембраны в исходное положение осуществляется пружиной 4. При движении плунжера вниз происходит всасывание красочного состава из расходной емкости через штуцер 1 и всасывающий тарельчатый клапан 2 (при этом нагнетательный шариковый клапан 12 закрыт). При движении плунжера вверх выгибающаяся диафрагма вытесняет красочный состав через нагнетательный клапан 12 в напорный рукав к краскораспылителю (при этом всасывающий клапан 2 закрыт). Давление нагнетания регулируется бесступенчато с помощью регулятора давления 10, для чего часть масла перепускается из зоны расположения плунжера и диафрагмы в картер 7 насоса. Частота колебаний мембраны постоянна и соответствует частоте вращения электродвигателя. При отсутствии подачи лакокрасочного материала регулятор давления осуществляет перепуск масла внутри гидросистемы.

Рис. 8. Окрасочный агрегат высокого давления "Финиш-207"

Агрегаты высокого давления укомплектованы пистолетами со сменными насадками - стандартной и быстроразъемной. Пистолет присоединяется к шлангу высокого давления через шарнирное соединение рукоятки. В корпусе пистолета имеется запорный клапан, пусковая скоба с фиксатором и сменный фильтр. Сменные фильтры снабжены сетками с ячейками 0,08 и 0,315 мм, а фильтр высокого давления - 0,16мм. При нажиме на пусковую скобу запорный клапан открывается, а при снятии усилия закрывается.

При нанесении покрытий на фасады зданий агрегаты доукомплектовывают краскоподающими шлангами высокого давления, распыливающими устройствами с нужными параметрами распыления, пистолетами и удочками-удлинителями.

2.2.2 Штукатурные машины

Штукатурка <#"806085.files/image016.gif">

Рис. 9.

1. Рама привода; 2. Камера насосная; 3. Плунжер; 4. Грунбукса; 5. Заливочно-предохранительный клапан; 6. Пробка; 7. Пробка; 8. Камера рабочая; 9. Клапан; 10. Клапан; 11. Диафрагма; 12. Компенсатор; 13. Перепускное устройство; 14. Сливная пробка; 15. Кривошипно-шатунный механизм; 16. Электродвигатель; 17. Рым-болт; 18. Колесо; 19. Шестерня;

2.2.3 Машины для устройства полов

Все механизмы паркетошлифовальной машины установлены на корпусе, представляющем собой цельную отливку из алюминиевого сплава коробчатой формы с всасывающим патрубком и улиткой вентилятора. Шлифовальный барабан (рабочий орган машины) консольно закреплен на конусной части вала гайкой.

Вращением этой же гайки в направлении, противоположном направлению затяжки, барабан легко снимается с вала без применения дополнительных приспособлений. Шлифовальный барабан имеет эластичную поверхность, что увеличивает срок службы шлифовальной шкурки и повышает качество обработки пола.

Зажимные валики барабана обеспечивают хорошее натяжение и надежное крепление шлифовальной шкурки.

В зависимости от требований к обрабатываемой поверхности используются шлифовальные шкурки различной зернистости. Давление барабана на обрабатываемую поверхность регулируется гайкой и пружиной. Параллельное положение барабана по отношению к обрабатываемой поверхности достигается установкой с помощью эксцентрика боковых колес на одинаковую высоту.

Древесная пыль, образующаяся при шлифовании, отсасывается вентилятором в пылесборник.

Паркетошлифовальная машина позволяет обрабатывать пол вплотную к стене. Во избежание ударов барабана о стену или плинтус на передней крышке установлен ограничительный ролик. Передняя крышка легко поднимается и фиксируется в крайних положениях, обеспечивая свободный доступ к барабану.

Рис. 15. Паркетошлифовальная машина (1 - Шкив, 2 - Привод, 3 - Барабан шлифовальный, 4 - Стакан в сборе, 5 - Вентилятор, 6 - Механизм управления, 7 - Ходовая часть, 8 - Ролик задний, 9 - Крышка в сборе, 10 - Электрооборудование, 11 - Крышка,  12 - Ограждение, 13 - Корпус)


Эксплуатационная производительность растворонасоса рассчитывается по формуле:

, м3/см,

Где - объём раствора передаваемого растворонасосом за час;

- количество рабочих часов в смене;

- коэффициент использования растворонасоса в смену.

Техническая производительность вычисляется по той же формуле, при этом .

СПИСОК ИСПОЛЬЗУЕМОЙ ЛИТЕРАТУРЫ

1. Гальперин М.И., Домбровский Н.Г. Строительные машины. М., 1980.

. Добронравов С.С., Дронов В.Г. Строительные машины. М., 2001.

. Добронравов С.С., Дронов В.Г. Машины для городского строительства.

М., 1985.

. Епифанов В.Н. Лабораторный практикум по строительным машинам. Киров, 2004.

. Строительные машины под ред. Волкова Д.П., М., 1988.

Похожие работы на - Строительные машины

 

Не нашли материал для своей работы?
Поможем написать уникальную работу
Без плагиата!
Без нейросетей!