Строительные машины

  • Вид работы:
    Контрольная работа
  • Предмет:
    Транспорт, грузоперевозки
  • Язык:
    Русский
    ,
    Формат файла:
    MS Word
    1007,07 Кб
  • Опубликовано:
    2014-07-22
Вы можете узнать стоимость помощи в написании студенческой работы.
Помощь в написании работы, которую точно примут!

Строительные машины

Министерство транспорта Российской Федерации

Федеральное агентство железнодорожного транспорта

ФГОУ ВПО "Дальневосточный государственный университет путей

сообщения"

Кафедра: Транспортно-технологические комплексы








Контрольная работа

По дисциплине "Конструкции ПТСД средств и оборудования"











Хабаровск 2015 г.

1. Как устроен башенный кран с поворотной башней?

Башенные краны применяют для выполнения строительно-монтажных и погрузочно-разгрузочных работ в различных видах строительства. Их классифицируют по способу установки, типам ходового устройства, башни и стрелы. По типу применяемых башен различают краны с поворотной и неповоротной башней. В кранах с поворотной башней опорно-поворотное устройство размещено внизу на ходовой части. При повороте этих кранов вращается, за исключением ходовой части весь кран. В кранах с неповоротной башней опорно-поворотное устройство размещено в верхней части башни, поэтому при повороте этих кранов вращаются только стрела, оголовок, противовесная консоль с размещенными на ней кабиной, механизмами и противовесом. Краны с поворотной башней обладают большой мобильностью, удобством монтажа и транспортировки. Преимуществом кранов с неповоротной башней является возможность их крепления к зданию при большой высоте подъема.

Описание башенного крана с поворотной башней и подъемной стрелой.

Рассматриваемый кран сконструирован следующим образом:

Ходовая рама 2 коробчатого сечения опирается на двухколесные балансирные тележки 1. Прямоугольная поворотная платформа 3 через опорно-поворотное устройство опирается на ходовую раму. На платформе размещены грузовые и стреловые лебедки, механизм поворота и плиты противовеса 4.К ходовой раме прикреплена вводная коробка для кабеля, по которому к крану подводится ток. Башня 12 решетчатой конструкции собирается из секций, крепится шарнирно к поворотной платформе и раскосами14 к стоике 13. высокое крепление раскосов позволяет снизить нагрузки, действующие на башню от ветровых и горизонтальных инерционных сил. В головной части башни прикреплена решетчатая стрела 10, распорная балка 6 и кабина управления 11. Стрела, состоящая из основания, промежуточных секций и головки на двух канатных расчалах 8, подвешена к обойме подвижных блоков стрелового полиспаста 5. В головной части стрелы расположен головной блок, через который проходит грузовой канат 7 с подвешенным к нему крюком 9.

кран экскаватор бетонный лебедка

Рис. 1. Башенный кран с поворотной башней.

Рис. 2. Схемы запасовки: а - схема запасовки грузового каната ; б - схема запасовки стрелового каната.

. Каково назначение и виды установок пневматического транспорта? Как они устроены и работают?

В установках пневматического транспорта материал перемещается потоком воздуха по трубопроводам во взвешенном состоянии или же в контейнерах (капсулах). Пневмотранспортные установки применяются на предприятиях строительной индустрии для перемещения сыпучих материалов (цемента, сухого песка, мелкого угля, щепы, опилок). При использовании контейнеров могут перемещаться также щебень и другие материалы. Преимуществом пневмотранспортных установок является возможность перемещать материалы в любом направлении и одновременно в несколько пунктов.

Рис. 3. Схема всасывающих пневмотранспортных установок

а - общий вид установки; б - шлюзовой затвор

Они удобны и своей компактностью: транспортные линии можно располагать в траншеях, подвешивать на столбах, кронштейнах, не занимая много места в производственных помещениях. Благодаря герметичности трубопроводов потери транспортируемого материала незначительны. Высокая производительность и дальность транспортирования и относительно невысокие затраты на сооружение установок также являются их положительными качествами. Но вместе с тем у пневматических транспортных установок (за исключением аэрационных) высокий удельный расход энергии (в 3 - 6 раз больше, чем у конвейеров с механическим приводом) и быстрый износ трубопроводов при транспортировании абразивных материалов. Установки пневматического транспорта разделяются на всасывающие (вакуумные), нагнетательные и аэрационные. Во всасывающей установке (рис. 3,а) вакуум-насосом 6 создается разрежение среды, вследствие чего через заборное сопло / транспортируемый материал вместе с атмосферным воздухом поступает по трубопроводу 2 в осадительную камеру 3. Здесь вследствие большого перепада сечений скорость воздушного потока резко уменьшается и материал осаждается на дно камеры. Воздух с оставшимися в нем частицами материала по трубопроводу 4 поступает в фильтр 5 и вакуум-насосом 6 выбрасывается в атмосферу. Материал из осадительной камеры 3 и фильтра 5 выдается через шлюзовые затворы 7, выполненные в виде вращающегося барабана с ячейками (рис. 3). Всасывающая установка применяется для транспортирования материалов на небольшие расстояния, например при разгрузке цемента из железнодорожных вагонов в силосные емкости. Производительность таких установок до 60 м3/ч. В нагнетательной установке (рис. 124) атмосферный воздух нагнетается компрессором 1 в воздухосборник 2 и, пройдя влагоотделитель 3, по трубопроводу 8 подается к питателю 4. Подаваемый питателем материал транспортируется поступающим воздухом в осадительную камеру 5, откуда воздух через фильтр 6 выбрасывается в атмосферу, а материал выдается через шлюзовые затворы 7. В системе нагнетательной установки создается давление воздуха от 0,2 до 0,6 МПа. Такой установкой можно транспортировать материал на расстояние до 2 км; производительность ее до 3000 м3/ч. Принцип перемещения материала сжатым воздухом используется в контейнерном пневматическом транспорте.

Рис. 4. Оборудование контейнерных пневмотранспортных установок

а - схема установки; б - контейнер-вагонетка

В пневмотрубопровод 1 (рис. 4) большого диаметра (до 1 м) помещают вагонетки 2 цилиндрической формы с диаметром, чуть меньшим внутреннего диаметра пневмотрубопровода. Просвет между вагонеткой и трубопроводом в торце вагонетки перекрывается резиновой манжетой 3. Вагонетки снабжены ходовыми колесами 4 и роликами для опирания на поверхность трубы. При подаче сжатого воздуха в пространствомежду клапаном в трубопроводе и торцом вагонетки последняя начинает двигаться со скоростью, зависящей от количества нагнетаемого воздуха. Обычно скорость достигает 30 км/ч, а дальность транспортирования 6 км. Вагонетки можно перемещать по одной или нескольку штук в сцепе.

Рис. 5. Схема аэрожелоба

- верхняя часть желоба для груза; 2 - пористая перегородка; 3 - нижняя часть для воздуха; 4 - вентилятор; 5 - загрузочная воронка; 6 - желоб

В целях увеличения производительности установки можно использовать поезд вагонеток. Однако при большом числе вагонеток в сцепе поезда при значительных преодолеваемых подъемах потребуется увеличенный расход воздуха с повышенным давлением. Аэрационные установки (аэрожелоба), применяются для транспортирования пылевидных материалов (в основном цемента).

Установка имеет наклонный желоб 6 (рис. 5), разделенный продольной пористой перегородкой 2. В верхнюю часть / поступает материал, а в нижнюю 3 нагнетается вентилятором 4 воздух под невысоким давлением. Воздух, просачиваясь через пористую перегородку, смешивается с материалом, придавая ему свойство текучести, присущее жидкости. Благодаря этому материал самотеком перемещается по трубопроводу. В трубопровод 6 материал подается из бункера 5. Аэрированный материал (пульпу) можно транспортировать в трубопроводах и в вертикальном направлении при давлении воздуха oт 0,5 до 1 кг/см2. Расход энергии в аэрационных транспортных установках значительно меньше, чем во всасывающих и нагнетательных.

. Как устроены цепные траншейные экскаваторы? Как определять их эксплуатационную производительность?

Цепной траншейный экскаватор - это землеройная машина с рабочим органом в виде цепи, которому сообщаются движения и усилия, достаточные для отделения от массива, захвата и переноса грунта. Он относится к экскаваторам непрерывного действия, рабочий процесс которого происходит при постоянном движении базового тягача. В строительстве цепные траншейные экскаваторы наиболее широко применяют для получения протяженных выемок прямоугольного (траншеи) и трапециидального (каналы) сечений. Также их применяют при разработке карьеров строительных материалов (глины, гравия, песка). Дополнительным преимуществом их на работах этого вида наряду с высокой производительностью является измельчение добываемого сырья (особенно глины) до однородной массы, необходимой для ее последующей обработки. В результате совмещения по времени операций резания и транспортирования грунта цепные траншейные экскаваторы имеют более высокую производительность по сравнению с одноковшовыми экскаваторами. Однако они менее универсальны и могут успешно применяться при достаточно большом и сосредоточенном объеме однотипных работ. Цепь экскаватора может быть оснащена ковшами, скребками, резцами и др., в зависимости от его назначения и категории разрабатываемого грунта.

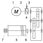
Экскаватор ЭТЦ-1609 (рис. 6) на базе колесного трактора МТЗ-82.1 предназначен для рытья траншей прямоугольного профиля глубиной до 1,6 м и шириной 0,2-0,4 м в однородных без каменистых включений грунтах I-III категорий под укладку кабелей различного назначения и трубопроводов малых диаметров. Наиболее эффективно экскаватор используется при выполнении рассредоточенных земляных работ небольшого объема на предварительно спланированных площадках. Экскаватор оснащен поворотным гидроуправляемым бульдозерным отвалом 11 для несложных планировочных работ и засыпки траншей после укладки в них коммуникаций. На экскаватор может быть навешено сменное буровое оборудование (вместо основного рабочего) для нарезания щелей шириной 0,14 м и глубиной до 1,3 м в мерзлых грунтах.

В комплект навесного экскаваторного оборудования входят: цепной рабочий орган с зачистными башмаком и отвальным винтовым конвейером, механизм подъема-опускания рабочего органа и гидромеханический ходоуменьшитель. Однорядная втулочно-роликовая цепь 6 рабочего органа установлена на ведущей 12 и ведомой 14 звездочках и несет на себе сменные резцы 17-19 для послойного срезания грунта и сменные скребки 16 для подъема грунта из траншеи. Резцы и скребки располагаются на цепи по определенной схеме, способствующей равномерному распределению нагрузки на цепь при копании и повышению долговечности цепи. Производя смену резцов и скребков, получают траншеи различной ширины (0,2; 0,27 и 0,4 м). Цепь обегает наклонную раму 4, шарнирно прикрепляемую сзади к базовому трактору, и опирается на ролики 13. Ведущая звездочка 12 цепи, закрепленная на приводном валу 2, получает вращение от вала отбора мощности базового трактора 10 через трехступенчатый редуктор 8 с переменным передаточным числом, обеспечивающим четыре рабочие скорости (0,8-2,1 м/с) и реверсивный ход цепи. В редукторе привода цепи установлена предохранительная фрикционная муфта предельного момента. Натяжение цепи регулируется перемещением натяжной звездочки 14 относительно рамы винтовым натяжным устройством 15. Скребки выносят из траншеи грунт в направлении ведущей звездочки, образуя первоначальный отвал в виде пирамиды. Эвакуацию грунта в боковые отвалы производят два шнека 7 винтового конвейера, установленного на раме рабочего органа. Шнеки имеют общий вал и приводятся во вращение скребковой цепью. Положение конвейера относительно рамы меняется в зависимости от глубины копания. К дополнительной раме 3 рабочего органа за скребковой цепью крепится сменный консольный зачистной башмак 5 для зачистки и сглаживания дна траншеи. Заглубление рабочего органа в грунт с принудительным напором по всему диапазону глубины копания, а также его подъем при переводе в транспортное положение осуществляются гидравлическим подъемным механизмом 1, гидроцилиндр которого связан с рабочим органом рычажной системой. Для получения пониженных рабочих скоростей движения машины при копании траншей и их бесступенчатого регулирования в широком диапазоне 20-800 м/ч в трансмиссию базового трактора включен гидромеханический ходоуменьшитель 9 в виде многоступенчатого цилиндрического редуктора с приводом от аксиально-поршневого гидромотора. При транспортных переездах машины ходоуменьшитель отключается. Гидромотор ходоуменьшителя, гидроцилиндры механизма подъема рабочего органа и управления отвалом бульдозера обслуживаются гидронасосами с приводом от дизеля через редуктор, а управление ими ведется из кабины машиниста с помощью двух золотниковых распределителей.

Эксплуатационная производительность цепных траншейных экскаваторов со скребковым рабочим органом (м3/ч):

Пэ=3600  · Vц· ·Кв/Кр,

где  - ширина скребка, м;  -высота скребка, м; Vц =0,8...2,1 м/с-скорость движения скребковой цепи;  =0,35...0,75 - коэффициент заполнения экскавационных емкостей; Кв=0,5...0,65 - коэффициент использования машины по времени; Кр =1,1...1,5- коэффициент разрыхления грунта в процессе разработки.

Рис. 6. Цепной траншейный экскаватор ЭТЦ-1609: а - общий вид; б - схема рабочего органа; в - рабочие цепи: 1 - универсальная (для талых и мерзлых грунтов); ll - для талых грунтов

. Какие виды машин и оборудования применяют для приготовления бетонных и растворимых смесей? Приведите их классификацию

По своему функциональному назначению эти машины и механизмы бывают трех видов: первые готовят бетонные и растворные смеси, вторые доставляют растворы на стройплощадку, третьи - укладывают и уплотняют смеси и растворы.

К первому виду относятся смесители различных модификаций: это и смесительные машины непрерывного действия, смесители циклического характера работы, смесители весельного, турбулентного типов, работающие на гравитационном или принудительном принципах смешивания, стационарные и передвижные смесители. Наиболее современным и мобильным представителем этого вида машин является автобетоносмеситель. Он готовит бетонную смесь в пути следования к объекту, непосредственно на объекте и, будучи уже загруженным качественной смесью, активирует (перемешивает) ее в пути следования. Оптимальная температура для работы этих машин - от -30 до +40 градусов Цельсия.

Ко второму виду относятся все машины для транспортирования приготовленных смесей. Это в основном специализированные автотранспортные средства: авторастворовозы, автобетоновозы, уже упомянутые нами автобетоносмесители (т.к. они совмещают в себе и функцию доставки растворов). Сюда же относятся и автобетононасосы. Автобетононасос предназначен для подачи смеси с осадкой конуса в пределах 6-12 см как в горизонтальном, так и в вертикальном направлениях. Это мобильные транспортные средства с гидравлическим приводом бетононасоса и шарнирно-сочлененной стрелы с бетоноводом. Устройство бетононасоса - поршневое. Дальность подачи смеси по горизонтали - до 300м и по вертикали - до 70 м.

К третьему типу относятся вибраторы различных конструкций и модификаций. Их основная цель - вытеснение воздуха, содержащегося в растворе и ликвидация всех пустот между опалубкой и арматурой. Наибольшее распространение в строительстве получили пневматические и электрические вибраторы с круговыми колебаниями. По способу воздействия на смесь различаются поверхностные, наружные и глубинные вибраторы.

Поверхностные вибраторы воздействуют на раствор через корытообразную прямоугольную площадку. Наружные вибраторы воздействуют через опалубку или любую другу форму, к которой прикрепляются снаружи. Глубинные вибраторы погружаются непосредственно в раствор.

5. Задача №1

Расчет и выбор параметров лебедки.

Исходные данные для расчета

вариант

Схема по рис 6.3

Грузоподъемная машина

Масса поднимаемого груза О, кг

Скорость Подъема груза м/c

Высота подъема груза м.

Группа классификации механизма

10

а

КС

5500

0,26

12

М3


Взаимосвязь группы классификации (режима) механизма и продолжительности включения.

Группа классификации (режима) механизма по ИСО 4301/1

Группа классификации (режима) механизма по ГОСТ

Продолжительность Включения ПВ ,%

М1-М4

Легкий (л)

15


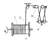
Рис. 7. Кинематическая схема лебедки: 1 - электродвигатель; 2 - упругая втулочно-пальцевая муфта с тормозным шкивом; 3-автомотический постоянно замкнутый двухколодочный тормоз; 4-цилиндрический двухступенчатый зубчатый редуктор; 5 - барабан; 6 - зубчатая муфта; 7 - выносная подшипниковая опора.

Рис. 8 Схема канатного механизма:1 - барабан; 2 - стальной канат; 3 - система блоков.

. Выбираем схему канатного полиспаста в соответствии с вариантом задания (рис. 7) и определяем его кратность


Здесь  - число ветвей каната, на которых подвешена крюковая подвеска или грузозахватное устройство; а - число ветвей каната, наматываемых на барабан, для схем, приведенных на рис. 6.3, а = 1.


. Определяем КПД полиспаста


Определяем КПД канатно-блочной системы


где  - коэффициент полезного действия полиспаста;

 - ко-эффициент полезного действия одного блока (= 0,98);

- количество обводных блоков.

Для башенных кранов количество обводных блоков можно принять равным 3. Для большинства стреловых кранов обводные блоки в канатных механизмах от-сутствуют.

 = 0,95

 =0,93

. Осуществляем подбор стального каната.

В грузоподъемных машинах применяют преимущественно канаты двойной свивки типа ЛК с шестью прядями в поперечном сечении и числом проволок в каждой пряди 19-37.

Такие канаты маркируются следующим образом: ЛК 6х 19+1ос (стальной канат с линейным касанием проволок, имеющий шесть прядей, в каждой из которых находятся 19 проволок, и один органический сердечник).

Стальной канат подбираем по допускаемому разрывному усилию, Н,


где Sр - допускаемое разрывное усилие в канате, Н;

 - минимальное значение коэффициента запаса прочности каната на разрыв, зависящего от режима работы механизма, определяется по табл. 6.10;𝜅 - максимальное рабочее усилие в канате, Н.

Таблица 1

Группа классификации Механизма по ИСО 4301/1

М1

М2

М3

М4

М5

М6

М7

М8

Значение коэффициента запаса прочности для подвижных канатов

3,15

3,33

3,55

4,00

4,50

5,60

7,10

9,00


Максимальное рабочее усилие в канате, Н, навиваемом на барабан при подъеме груза краном,


Здесь - масса поднимаемого груза, кг;  - масса крюковой подвески, кг;- ускорение свободного падения, м/с2.

тКп = (0,06...0,08).

тКп = 0,08 · 5500=440 кг.


Необходимый диаметр каната и все его данные на основании расчетного разрывного усилия каната двойной свивки типа ЛК-Р определяются по ГОСТ 2688-80 , выборочные данные из которого приведены в табл. 2.

Таблица 2

Диаметр каната, мм

Масса 1м каната, кг

Маркировочная группа (временное сопротивление проволок разрыву, МПа)



1372

1568

1764

1960



Разрывное усилие. Н

8,3

0,256

-

34800

38150

41600

9,1

0.305

-

41550

45450

49600

9,9

0.359

-

48850

53450

58350

11.0

0,462

-

62850

68800

75100

12.0

0.527

-

71750

78550

85750

13.0

0.597

71050

81250

89000

97000

14.0

0,728

86800

98950

108000

118000

15.0

0,804

100000

114500

125500

137000

16.5

1,025

121500

139000

152000

166000

18.0

1,220

145000

166000

181500

198000

19.5

1.405

167000

191000

209000

228000

21.0

1,635

194500

222000

234500

265500

22,5

1.850

220000

251000

275000

303500

23,5

2.110

250500

287000

314000

343000

25,5

2.390

284000

324500

355500

288500

27.0

2.585

319000

365000

399500

436500








Н

 = 58350 Н

Условное обозначение выбранного стального каната:

,9-Г-I-Н-1960 ГОСТ 2688-80,

где 9,9 - диаметр каната, мм;

Г - канат предназначен для подъема грузов;- обозначение марки стали проволоки для грузовых канатов;

Н-канат нераскручивающийся правой свивки прядей;

- маркировочная группа (временное сопротивление разрыву одной проволоки каната), Мпа, по которой взяты диаметр каната и разрывное усилие.

. Определение канатоемкости, диаметра и длины барабана.

Барабаны лебедок грузоподъемных машин выполняются сварными или литыми. Их поверхность может быть гладкой или с канавками (нарезной) для укладки каната. Нарезные барабаны используются для укладки каната в один слой. Размеры профиля канавок нарезного барабана зависят от параметров каната. Гладкие барабаны применяются для укладки каната в несколько слоев. Нарезные барабаны, в отличие от гладких, позволяют обеспечить равномерную укладку каната на барабан без применения специальных канатоукладочных устройств. Число слоев укладки каната на барабан ориентировочно можно определить по рекомендациям, указанным в табл. 3

Длина каната, наматываемого на барабан (ZK), м

Число слоев укладки (т)

до 50

1

50... 125

2

125...200

3

200... 350

4

350... 550

5


Длина каната, наматываемого на барабан, м

 ,

где - высота подъема груза, м.

 = 12 ,

Тогда число слоев укладки 𝘮 =1

Диаметр барабана, мм.

  · 𝘥 ,

где -коэффициент выбора диаметра (для М3 равен 14,0); 𝘥- диаметр каната, мм.

 14 · 9,9

 мм.

Полученное значение  увеличиваем в большую сторону и принимаем 160мм. Количество рабочих витков в одном слое навивки:

= 24

Общее число витков

𝘡=

Здесь  - число запасных витков, от 1,5 до 2;  - число витков каната, находящихся под зажимным устройством, для нарезных барабанов ZK составляет от 3 до 4 витков.

𝘡=24+3+2=29

Определяем основные конструктивные размеры барабана. Длина барабана с нарезкой, мм, вычисляется

б = Z · t,

где t - шаг нарезки, мм,

t = d +(2...3); t = 9,9+2 =12 мм.


Конструктивно соотношение между длиной барабана и его диаметром должно находится в пределах:

,5   ,

,5

. Определение мощности ,выбор электродвигателя, редуктора.

Необходимая мощность двигателя определяется по максимальному рабочему усилию в канате Sк, скорости навивки каната на барабан  и коэффициенту полезного действия механизма  (можно принять  = 0,85).

Скорость навивки каната на барабан, м/с,

 · 𝚞 ,

где  - заданная скорость подъема груза, м/с.


Необходимая мощность двигателя, кВт

 кВт

Электродвигатель выбираем с учетом основных технических характеристик по табл. 4 в соответствии с расчетной мощностью.

Табл. 4

Марка

Мощность при ПВ, кВт

Частота вра

Масса,

двигателя

15 %

25 %

40%

щения, мин *

кг


9,5



915


MTH 211-6


7,5


935

120




6,3

950



14



930


MTH 311-6


11

9

950 960

170


20



945


MTH 312-6


16

13

960 970

210


27



955


MTH 411-6


22

17

965 975

280


37



960


MTH 412-6


30

24

970 975

345


50



720


MTH 512-6


40

31

725 730

500


Определяем передаточное число редуктора по формуле:

 = ,

Где  - частота вращения вала электродвигателя, ,

 - частота вращения барабана, .

Частота вращения барабана определяется по среднему диаметру навивки каната, об/мин,

116,9;

=

Подбор редуктора осуществляем по требуемому передаточному числу редуктора, частоте вращения вала электродвигателя , режиму работы и мощности на быстроходном валу редуктора.

Час




Передаточное




ПВ

вра





число




%

ще











ния

8,32

9,8

12,41

16,3

[ 198819,19,88

24,9

32.42

41,34

50.94


Редуктор Ц2-250


37,6

30,5

25.0

20.0

17,0

14,0

11.5

9.8

8.2

15

1000

27,1

23.8

20.5

17,3

14.1

11.7

9.2

7.3

6.0

25


17,8

15,6

14,1

10,2

8,9

7,6

5,0

4,2

3.5

40


При выборе редукторов для механизмов подъема значение мощности на быстроходном валу редуктора, кВт, определяется:

 

где Nдв - номинальное значение мощности двигателя, выбранного по каталогу; к - коэффициент нагрузки, значения к в зависимости от режима работы составляет: к = 1,5 при JI;


Основные конструктивные и рабочие параметры лебедки, полученные в результате расчета

Параметры

Единицы измерения

Численное значение

Расчетная длина каната, наматываемого на барабан

 м

 48

Диаметр каната

 мм

 9,9

Диаметр барабана

 мм

 160

Длина барабана

 мм

 348

Электродвигатель Тип Мощность Частота вращения ротора

  кВт мин -1

 МТН 312-6 20 945

Редуктор Тип, марка передаточное число Передаваемая мощность

 Ц2-250  кВт

  8,32 37,6


6. Задача №2

Определение производительности башенного крана.

Исходные данные для расчета:

№ Вар.

Масса поднимаемого груза, т.

, м

м

м

Продолжительность ручных операций, мин

Угол поворота крана, град.

Длина пути передвижения крана, м








10

3,40

14

2,68

4,0

1,5

8,0

0,6

50

20


Решение:

. Определяем высоту подъема крюка, м

 +  ,

где H-высота подъема крюка, м;  - заданная высота уровня монтажа, м;  - высота подъема груза над уровнем монтажа, м (= 2,5 ... 3,0);  - высота конструкции, м;  - длина съемного грузозахватного приспособления, м.

=14+2,7+2,68+4=23,38 м.

По высоте подъема Н и массе поднимаемого груза  выбираем кран КБ-308А

Показатель

КБ-202 УХЛ

КБ-308А

КБ-403А

КБ-405.1А

КБ-503А

Грузоподъемность, т

3

3.2...8

4..8

5...9

7,5 10

Вылет, м

2... 13

4.5 ...25

5,5...30

13...25

7,5...35

Вылет при максимальной грузоподъемности, м

2.13

4.5

5,5

11

7,5

Максимальный грузовой момент, кН • м

390

1000

1125

1620

2800

Высота подъема, м

11,2.15

32,5

41..57,5

46...63

53...67,5

Скорость, м/мин, подъема и опускания

10

24

40

31

30

посадки

о-3

2.5

5

5

3

передвижения

20,7

18,5

18

27

12

грузовой тележки

20

27,2

30

-

18

Частота вращения, мин 1

0,7

0.77

0,6

0.7

0.6

Масса крана, т общая

22.5

84

80.5

116.4

145

конструктивная

6.7

38

50,5

66,4

90


. Определяем продолжительность цикла при работе крана без совмещения операций, с


где  - время, затрачиваемое на строповку груза, с;  - время, затрачиваемое на подъем груза до нужного уровня монтажа, с;  - время, затрачиваемое на поворот стрелы крана на заданный угол, с;  - время, затрачиваемое на перемещение крана по крановым путям, с;  - время, затрачиваемое на опускание груза до уровня монтажа, с;  - время, затрачиваемое на монтаж конструкции и ее крепления, с;  - время, затрачиваемое на расстроповку конструкции после монтажа, с;  - время, затрачиваемое на подъем груза с грузозахватным приспособлением над уровнем монтажа, с;  - время, затрачиваемое на обратное перемещение крана по крановым путям, с;  - время, затрачиваемое на пово¬рот стрелы крана в исходное положение, с; - время, затрачиваемое на опускание груза с грузозахватным приспособлением в исходное положение, с.

= 60 · , с

где - скорость подъема крюка, м/мин.

 = 41 с.

, с

где - заданный угол поворота крана, град; частота вращения поворотной части крана, .

 = 11 с.

 ,с.

где  - длина пути передвижения крана, м;  - скорость передвижения крана, м/мин.

 , с

где  -скорость посадки груза, м/мин.

 = 60·

== 65 c.

= 11c.

=

 = 90+41+11+65+65+480+36+7+65+11+41= 912 с.

. Определяем продолжительность цикла при работе крана с совмещением операций. Наибольшая эффективность будет достигаться при совмещении операций: подъем груза и перемещение крана по крановым путям (время , опускание крюка и поворот стрелы крана (время ).

 = + , с.


3. Определяем сменную эксплуатационную производительность крана при проведении работ без совмещения операций, т/смен,

 = ·,

где Q-масса поднимаемого груза, т;  - коэффициент использования крана по грузоподъемности ( = 0,8);  - коэффициент эксплуатационных потерь времени, связанных с техническим обслуживанием и плановыми ремонтами крана ( = 0,75...0,82);  - продолжительность рабочей смены, ч ( = 8 ч).

 =  3,4·0,8·0,8·8 = 68,7 т/смен

. Определяем сменную эксплуатационную производительность крана при проведении работ с совмещением операций, т/смен,

 = · ,

 т/смен

. Определяем эффективность совмещения операций при работе крана.

 ·100%

100 = 9,8%

6. Результаты расчетов заносим в таблицу

Параметр

Значение

1

Расчетная высота подъема крюка ,м

23,38

2

Марка и основные технические характеристики выбранного башенного крана: - модель башенного крана - максимальный грузовой момент , т-м - максимальная грузоподъемность ,т - максимальная высота подъема крюка ,м - максимальный вылет ,м - скорости рабочих движений, м/мин. Подъема и опускания Посадки Передвижения Грузовой тележки

 КБ-308А 1000 8 32,5 4,5  24 2,5 18,5 27,2

3

Продолжительность цикла при работе крана - без совмещения операций ,с - с совмещением операций ,с

 912 830

4

Эксплуатационная производительность крана - без совмещения операций , т/смен - с совмещением операций , т/смен

 68,7 75,5

5

Совмещаемые операции

 

5

Эффективность совмещения операций ,%

9,8


. Задача №3

Тяговый расчет и определение производительность бульдозера.

Исходные данные

№вар

грунт

Базовая машина

Ширина отвала, м

Высота отвала, м

Глубина резания, мм

Уклон местности i, рад

Масса Бульдозера ,кг

примечание

10

растительный

Т-130

3,20

1,30

40

+0,05

15710

м м  


Решение:

Проверяем условие движения бульдозера без буксования:

 ; ,

где  - тяговое усилие, развиваемое двигателем трактора, Н;  - сила тяги по сцеплению бульдозера, Н; 𝛴 - сумма сопротивлений передвижению бульдозера, возникающих в случае лобового резания и транспортирования грунта отвалом бульдозера по горизонтальной поверхности, Н.

Тяговое усилие, развиваемое двигателем трактора, Н,

 𝜂 ,

где N - эффективная мощность двигателя, кВт; 𝑣 - скорость машины на низших передачах (первой или второй), км/ч; 𝜂 - КПД привода машины (𝜂 = 0,75-0,85).

0,8=130909 Н.

Сила тяги по сцеплению, Н,

 =

где  - сцепной вес бульдозера, Н;

 - коэффициент сцепления движителей с грунтом;- ускорение свободного падения, м/;

 - масса бульдозера, кг.

· g

= 15710 · 9,8 =153958 Н

=153958·0,8=123166,4 Н

Коэффициенты сопротивления перемещению движителей  ,сцепления  и  приведены в табл.

Таблица. Сумма сопротивлений передвижению бульдозера, Н,

Вид

f



при H/B


грунта


0.15

0,30

0.35

0,40

0,45

Связный Несвязный

0,06...0,07 0,10..,0,12

0,8.. .0,9 0,5...0,7

0,70 1.15

0,80 1,20

0,85 1.25

0.90 1,30

0,95 1,50


𝛴=++++

Сопротивление грунта резанию, Н

·F·106 ,

где - удельное сопротивление грунта резанию, МПа (для I группы грунтов  = 0,06)

Площадь поперечного сечения срезаемой стружки, м2,

= B·h,

где В и h - соответственно ширина отвала и глубина резания, м.

= 3,2·0,040 = 0,128

= 0,06·0,128·=7680 Н

Сопротивление перемещению призмы волочения грунта перед отвалом бульдозера, Н,

=· γ  ,

где Vup - объем призмы волочения, м3; Н - высота отвала, м; γ - плотность грунта, т/м (γ=1,2); - коэффициент трения грунта о грунт (); кр - коэффициент разрыхления грунта ()

 ,

где кпр - коэффициент, характеризующий грунт и геометрические размеры отвала ().

= 3

=1878,2 H

Сопротивление перемещению грунта вверх по отвалу, Н,

 ·

где  - коэффициент трения грунта о поверхность отвала ();  - угол резания, град. ( = 35...50°).

= 3·0,35 ·=701,2 Н

Сопротивление передвижению трактора, Н,

,

где 𝑓 - коэффициент сопротивления перемещению движителя (𝑓=0,06); i- уклон местности, рад.

Сила тяжести от веса бульдозера, Н,

G6 = g .

= 15710·9,8 =153958 Н

= 153958·(0,06+0,05)=16935,3 Н

Сопротивление, возникающее на площадке затупления, Н,

·В·∆

где - удельное сопротивление от затупления режущей кромки отвала, зависящее от ширины площадки затупления и группы грунта, Па (); ∆ - ширина площадки затупления, м (∆=0,01м);


Пользуясь неравенством, записанным выше, проверяем, соблюдается ли условие движения бульдозера без буксования.

𝛴7680+1878,2+701,2+16935,3+9,6=27204,3 Н

 ; ,

; 123166,4 Н

Эксплуатационная сменная производительность бульдозера

·

где Тц - время цикла работы бульдозера, с; - коэффициент эксплуатационных потерь времени при работе бульдозера ( = 0,75...0,8); ку - коэффициент, учитывающий влияние величины уклона на производительность (), величины коэффициентов ку для промежуточных значений уклонов определяются методом интерполяции; - количество часов работы бульдозера в смену (= 8 ч).

Продолжительность рабочего цикла бульдозера, с,

+ ,

где , - соответственно пути резания, транспортирования и холостого хода, м; , - соответственно скорости движения бульдозера при резании, перемещении (транспортировании) грунта и холостого (обратного) хода, км/ч;  - время, затрачиваемое на переключение передач машинистом бульдозера, с, ( = 40...50);  - время, затрачиваемое на повороты, с, ( = 10... 12);  - время, затрачиваемое на опускание отвала, с, ( = 1...2).

Скорости по операциям рабочего цикла составляют:

при резании = 2,5...5,0 км/ч;

при транспортировании = 2,5...5,0 км/ч;

при холостом ходе = 5,8. ..8,0 км/ч.

 3·0,75·0,67·8= 217 /см

Результаты проведенных расчетов заносятся в таблицу.

Параметр

Значение

1

Сила тяги по сцсплснию, Н

123166,4

2

130909


Общее сопротивление перемещению бульдозера, Н

27204,3

4

Сопротивление грунта резанию, Н

7680

5

Сопротивление перемещению призмы волочения перед отвалом, Н

1878,2

6

Сопротивление перемещению грунта вверх по отвалу, Н

701,2

7

Сопротивление перекатыванию движителя бульдозера, Н

16935,3

8

Сопротивление, возникающее на площадке затупления, Н

9,6

9

Объем призмы волочения,

3

10

Заключение о возможности движения бульдозера без буксования


11

Продолжительность цикла работы бульдозера, с

174

12

Принятые скорости по операциям рабочего цикла бульдозера, км/ч: - при резании грунта - при транспортировании грунта - при холостом ходе

  4 5 7

13

Эксплуатационная сменная производительность бульдозера ,см

217


Используемая литература

1. Белецкий Б.Ф. Технология и механизация строительного производства: учебник / Б.Ф. Белецкий. - Ростов-н/Д.: Феникс, 2003. - 752 с.

. Волков Д.П. Строительные машины / Д.П. Волков, В.Я. Крикун. - М.: Изд-во АСВ, 2002. - 376 с.

. Волков Д.П. Строительные машины и средства малой механизации / Д.П. Волков, В.Я. Крикун. - М.: Академия, 2002. - 480 с.

. Александров М.П. Грузоподъемные машины; учебник / М.П. Александров. - М.: Изд-во МГТУ им. Н.Э. Баумана; Высш. шк., 2000, - 550 с.

. Технология, механизация и автоматизация строительства; учебник для вузов / С.С. Атаев, В.А. Бондарик, И.Н. Громов [и др.]; под ред. С.С. Атаева, С.Я. Луцкого. - М.: Высш. шк., 1990, - 592 с.

. Вайнсон А.А. Подъемно-транспортные машины: учебник для вузов / А.А. Вайнсон. - М.: Машиностроение, 1989. - 536 с.

Похожие работы на - Строительные машины

 

Не нашли материал для своей работы?
Поможем написать уникальную работу
Без плагиата!
Без нейросетей!