Проектирование участка по ремонту электрооборудования

  • Вид работы:
    Курсовая работа (т)
  • Предмет:
    Транспорт, грузоперевозки
  • Язык:
    Русский
    ,
    Формат файла:
    MS Word
    80,12 Кб
  • Опубликовано:
    2015-07-18
Вы можете узнать стоимость помощи в написании студенческой работы.
Помощь в написании работы, которую точно примут!

Проектирование участка по ремонту электрооборудования

Содержание

Введение

1. Общая часть

1.1 Характеристика объекта проектирования и анализ работы "ИП Воронин"

2. Расчетно-технологическая часть

2.1 Выбор исходных данных

2.2 Обоснование мощности и типа городских СТО

2.3 Расчет годового объема работ городских СТО

2.4 Определение числа рабочих

2.5 Расчет числа постов и автомобиле-мест

2.6 Подбор технологического оборудования

2.7 Расчет площадей производственных помещений

2.8 Расчет площадей складов и стоянок

3. Организационная часть

3.1 Схема технологического процесса, выбор и обоснование метода организации технологического процесса ТО и ТР

3.2 Составление технологических карт

3.3 Выбор и обоснование режима труда и отдыха

3.4 Производственная санитария

3.5 Пожарная безопасность

3.6 Охрана окружающей среды

3.7 Техника безопасности

4. Конструкторская часть

4.1 Назначение съемников

4.2 Устройство съемника, его достоинства и недостатки

4.3 Техника безопасности при работе со съемником

Заключение

Список использованной литературы

Введение

Транспорт в Казахстане имеет важнейшее значение. Огромные территории страны (2,7 млн. км²), низкая плотность населения, разобщённость центров промышленности и сельского хозяйства, а также удалённость от мировых рынков делают обладание развитой транспортной системы жизненно необходимым для Казахстана.

Главной задачей экономической политики государства является развитие транспорта. С эффективным развитием транспорта связано полноценное функционирование всей экономической системы, успешная интеграция Казахстана в мировую экономику, стабильное социально-экономическое положение страны. Укрепление рыночных отношений и структурные трансформации в экономической системе республики за последнее десятилетие коренным образом изменили основы жизнедеятельности транспортной системы, принципы функционирования транспортных предприятий и само значение транспорта в общественной жизни. В международном разделении труда транспорту отведена особая роль, поскольку от его работы зависят возможность, эффективность и сроки интеграции в мировую экономику. Обслуживая практически все виды экономических отношений, транспортные организации участвуют в процессах реализации любых сделок. Экономическая деятельность транспорта осуществляется в сфере обращения в период, когда товары находятся в промежуточной стадии. Транспорт выполняет также производственные функции в процессе создания транспортной продукции в виде перевозки грузов и пассажиров. Его следует понимать, как категорию, выражающую "первичные" производственные отношения.

Динамично развивающаяся экономика страны предъявляет новые, более высокие требования к транспортной системе. В рыночных условиях она превратилась в одно из необходимых условий осуществления технологического процесса, в материальное орудие специализации, кооперации и интеграции. Транспорт является не только продолжением процесса производства, но и предпосылкой его эффективного функционирования, ибо даже небольшие нарушения в его системе немедленно сказываются на производственном процессе, его ритмичности, планомерности, качестве продукции и т.д.

Правильная эксплуатация транспортного средства подразумевает регулярное техническое обслуживание автомобилей и их своевременный ремонт в случае необходимости. Это позволяет не только поддерживать машину в рабочем состоянии, но и обеспечивать безопасное вождение. Многие автомобилисты могут вспомнить случаи, когда профессиональное транспортное обслуживание помогало сохранить здоровье, а иногда и жизнь участникам движения. Техника всегда требует к себе повышенного внимания, поэтому ремонт и обслуживание автомобилей должны осуществляться качественно, квалифицированно и надёжно.

Техническое обслуживание автомобилей - это лучший способ избежать различных внештатных ситуаций на дороге. Оно позволяет существенно продлить срок эксплуатации машины, сэкономить на ремонте и сберечь собственное время. Пожалуй, весьма серьёзные преимущества, чтобы считать обслуживание авто важным и ответственным делом. ТО должны проводить высококлассные специалисты при помощи новейшего оборудования, которым располагает только станция технического обслуживания. Таким образом, полное техническое обслуживание современного автомобиля является достаточно сложной и многообразной процедурой. Но именно она даёт возможность автолюбителям минимизировать ремонт машины и уверенно чувствовать себя на дороге в любых условиях. Главное, выбрать тот автомобильный техцентр, который предложит наиболее качественные услуги и гибкие условия.

Чтобы обеспечить работоспособность автомобиля в течение всего периода эксплуатации, необходимо периодически поддерживать его техническое состояние комплексом технических воздействий, которые в зависимости от назначения и характера можно разделить на две группы: воздействия, направленные на поддержание агрегатов, механизмов и узлов автомобиля в работоспособном состоянии в течение наибольшего периода эксплуатации; воздействия, направленные на восстановление утраченной работоспособности агрегатов, механизмов и узлов автомобиля.

Техническое обслуживание. У нас в стране принята планово-предупредительная система технического обслуживания и ремонта автомобилей. Сущность этой системы состоит в том, что техническое обслуживание осуществляется по плану, а ремонт - по потребности. Принципиальные основы планово-предупредительной системы технического обслуживания и ремонта автомобилей установлены действующим Положением о техническом обслуживании и ремонте подвижного состава автомобильного транспорта. Техническое обслуживание включает следующие виды работ: уборочно-моечные, контрольно-диагностические, крепежные, смазочные, заправочные, регулировочные, электротехническое и другие работы, выполняемые, как правило, без разборки агрегатов и снятия с автомобиля отдельных узлов и механизмов. Если при техническом обслуживании нельзя убедиться в полной исправности отдельных узлов, то их следует снимать с автомобиля для контроля на специальных стендах и приборах.

По периодичности, перечню и трудоемкости выполняемых работ техническое обслуживание согласно действующему Положению подразделяется на следующие виды: ежедневное (ЕО), первое (ТО-1), второе (ТО-2) и сезонное (СО) технические обслуживания. Положением предусматривается два вида ремонта автомобилей и его агрегатов: текущий ремонт (ТР), выполняемый в автотранспортных предприятиях, и капитальный ремонт (КР), выполняемый на специали­зированных предприятиях. Ежедневное техническое обслуживание (ЕО) выполняется ежедневно после возвращения автомобиля с линии в межсменное время и включает: контрольно-осмотровые работы по механизмам и системам, обеспечивающим безопасность движения, а также кузову, кабине, приборам освещения; уборочно-моечные и сушильно-обтирочные операция, а также дозаправку автомобиля топливом, маслом, сжатым воздухом и охлаждающей жидкостью.

ремонт электрооборудование техническое обслуживание

1. Общая часть


1.1 Характеристика объекта проектирования и анализ работы "ИП Воронин"


Находится по адресу г. Павлодар ул. Лесная 5. СТО специализируется на ремонте электрической части автомобилей и установке охранных систем. Участок, на котором я работаю, предназначен для ремонта стартеров, генераторов и прочей электротехники автомобиля. СТО занимает площадь равную 144 м2, участок на котором я работаю, занимает 10 м2.

Предприятие работает по календарным дням, всего 251 рабочий день в году. Рабочая неделя с понедельника по пятницу, с 0900 до 1800. Работает 1 смена. Обеденный перерыв с 1330 до 1430, количество рабочих на предприятии - 9, на моем участке - 2. Четыре мастера 6 разряда, трое 5 разряда и еще двое 4 разряда.

Таблица 1 - Оборудование предприятия

№ п/п

Наименование оборудование

Марка, модель

Краткая техническая характеристика

Принятое количество

Общая занимаемая площадь, м2

1

Автоподъемник

П97МК "Лидер"

Ширина 3200мм Высота 2800мм Мощность 15000Вт

 1

8,96

2

Стенд для проверки стартеров и генераторов

Э-250-02

Мощность 3000Вт Габариты 1200х850х1600мм

 1

0,96

3

Зарядное устройство для аккумуляторов

BlueWeld 48/2

Габариты 280х350мм

 1

0,1

4

Верстак слесарный

ВС-М

Габариты 1000х500мм

5

2,5

5

Паяльная станция

Aoyue-968

Мощность 550Вт 160x130мм

1

0,02

6

Мультиметр

FLUKE 17B

95х179мм

2

0,03

7

Мультиметр

MASTECH 4

91х189мм

2

0,03

8

Компрессор

FUBAG VCF/10

Мощность 2 кВт 1000х470мм

1

0,47

 9

Наборы инструментов

Berger BG, BLPGSS1,Ombra, OMT101S

Ключи; Отвертки; Головки;

 4

 0,4


ИТОГО:



18ед.

13,47


На СТО, перед началом работы на стенде и подъемнике, рабочий персонал проходит инструктаж по технике безопасности во избежание опасности. На предприятии имеется пожарный щит с огнетушителем, лопатами, ломами и кошмой. Также рядом со щитом стоит ящик с песком. Стены СТО окрашены в белый цвет, в гараже имеется 4 окна, ворота.

На СТО большое внимание выделяется для охраны окружающей среды и производственной санитарии. Все работы производятся в специальной рабочей одежде, перчатках и специальном головном уборе. На СТО присутствует небольшой сан. узел для мойки рук. Места, на которых производятся работы, оборудованы по стандартам для наиболее безопасной и удобной работы персонала. Для наиболее продуктивной работы, утром и в середине дня производится проветривание помещения, также на СТО имеется хорошее освещение. Для безопасности персонала рабочие места специально оборудованы, а также на пол кладется резиновый коврик или деревянная доска. Все электрические приборы, стенды и подъемники заземлены.

2. Расчетно-технологическая часть


2.1 Выбор исходных данных


Исходными данными для расчета производственной программы и объема работ служат:

Численность населения города Павлодар - 382000 человек

Число автомобилей на 1000 человек населения - 202 автомобиля

Тип станции - специализированная станция для ремонта электрооборудования автомобилей AUDI

Средний годовой пробег обслуживаемых автомобилей - 10300 км.

Число заездов автомобиля на СТО в год - 2 раза

Режим работы - 5 дней в неделю

Число смен работы - 1 смена

2.2 Обоснование мощности и типа городских СТО


Тип СТО дан нам по заданию - специализированный.

Главным фактором определения мощности городских СТО является число автомобилей находящихся в зоне обслуживания проектируемого СТО. Число автомобилей принадлежащих населению населённого пункта с учетом перспективы развития может быть определено на основе отчетных статистических данных или исходя из средней насыщенности населения легковыми автомобилями на 1000 человек населения. И определяется по формуле:

N| = A * n/1000, (1)

Где N| - число автомобилей принадлежащих населению

n - число автомобилей на 1000 человек населения

A - численность населения

N|= 382000 * 202/1000 = 77164ед.

Часть автолюбителей обслуживают свои автомобили самостоятельно. Учитывая это, определяем число автомобилей обслуживаемых на СТО, процентным отношением по формуле:

N = N| * K, (2)

Где N - число автомобилей обслуживаемых на СТО

К = 0,75-0,90 - коэффициент учитывающий число автомобилей обслуживаемых на СТО

N = 77164 * 0,9 = 69447,6ед.

Так как в городе Павлодар более 100 СТО, на проектируемое СТО будет приходиться от 0,5 до 10%, так как автомобили Ауди из общего числа составляют 7%. Число автомобилей которые могут обслуживаться на проектируемом СТО определяем по формуле:

Nсто= N * X%, (3)

Где Nсто - число автомобилей которые будут обслуживаться на проектируемом СТО

Х% - коэффициент учитывающий число автомобилей которые будут обслуживаться на проектируемом СТО

Nсто = 69447,6 * 7% * 2 = 9722ед.

2.3 Расчет годового объема работ городских СТО


Годовой объем работ в городских СТО включают в себя: уборочно-моечные работы, работы по ТО и ТР, а также при продаже автомобиля учитываются работы по предпродажной подготовке автомобиля.

Годовой объем работ по ТО и ТР в человеко-часах определяем по формуле:

Tг = Nсто * t| * Lг/ 1000, (4)

где

Тг - годовой объем работ по ТО и ТР

t| - удельная трудоемкость работ на 1000км.

Lг - годовой пробег обслуживаемого автомобиля

В соответствии с ОНТП удельная трудоемкость ТО и ТР установлена в зависимости от плана автомобиля (таблица 8.1) [2]

Таблица 2 - Коэффициенты корректирования

Nп/п

Число постов

Коэффициент корректировки

1

До 5

1,05

2

5 - 10

1

3

10 - 15

0,95

4

15 - 25

0,9

5

25 - 35

0,85

6

Свыше 35

0,8


Таблица 3 - Нормативы трудоемкости ТО и ТР автомобиля на СТО (по ОНТП 0,1-91)

Тип СТО и подвижного состава

Удельная трудоемкость ТО и ТР на 1000км.

Разовая трудоемкость на один заезд, по видам работ



ТО и ТР

Мойка, уборка

Приемка, выдача

Предпродажные работы

Антикоррозионные работы

Городское СТО Автомобили особо малого класса Малого класса Среднего класса

 2 2,3 2,7

 

  0,15 0,2 0,25

  0,15 0,2 0,25

  3,5 3,5 3,5

  3 3 3

Дорожные СТО Легковые автомобили всех классов Автобусы, грузовые автомобили независимо от грузоподъемности

 

  2,8   2,8

  0,25   0,25

  0,3   0,3

 

 


Нормативная трудоемкость ТО и ТР корректируется в зависимости от климатической зоны и от размера СТО (числа рабочих постов). Значение коэффициента в зависимости от климатического района для города Павлодар равно 0,9. Отсюда узнаем, что удельную трудоемкость работ на 1000км, можно определить по формуле:

t| = tН * КЗ * КЧ, (5)

где

t| - удельная трудоемкость на 1000км.

tН - норматив трудоемкости для ТО и ТР автомобиля

КЗ - коэффициент климатической зоны района

КЧ - коэффициент размера СТО

t| = 2,7 * 0,9 * 1,05 = 2,55чел*часа

Tг = 9722 * 2,55 * 10300/1000 = 255348чел*час

Таблица 4 - Примерное распределение объема работ в процентах и человеко-часах (по ОНТП 0,1-91)

Виды работ

Распределение работ в заведении

Распределение работ по месту их выполнения



На рабочих постах

По производственному участку


%

Чел*час

%

Чел*час

%

Чел*час

Диагностические работы

6

15320,9

100

15320,9

-

-

ТО в полном объеме

35

89371,8

100

89371,8

-

-

Смазочные работы

5

12767,4

100

12767,4

-

-

Регулировочные по установке углов передних колес

 10

 25534,8

 100

 25534,8

 

 

Ремонт и регулировка тормозов

 10

 25534,8

 100

 25534,8

 

 

Электротехнические работы

5

12767,4

80

10213,9

20

2553,4

Работы по приборам системы питания

5

12767,4

70

8937,1

30

3830,3

Аккумуляторные работы

1

2553,4

10

255,34

90

2298

Шиномонтажные работы

7

17874,3

30

5362,2

70

12512,1

Ремонт узлов, систем и агрегатов

16

40855,6

50

20742,8

50

20742,8

Кузовные и арматурные, жестяночные и сварные работы

 

 

 75

 

 

 

Окрасочные и противокоррозионные работы

 

 

 100

 

 

 

Обойные

-

-

50

-

-

-

Слесарно-механические работы

 

 

 

 

 

 

Уборочно-моечные

-

-

100

-

-

-


Итого: 100%

Итого: 255348


Итого: 214041


Итого: 41307


2.4 Определение числа рабочих


При расчете числа рабочих различается технически-необходимое и списочное количество рабочих. Технически-необходимое число рабочих определяется по формуле:

Pт = Tг / Фн, (6)

где

Pт - необходимое число рабочихг - годовой объем работ по электротехническим работам

Фн - годовой фонд времени явочного рабочего

Годовой фонд времени явочного рабочего определяется по формуле:

Фн = tсм * (Дк - Дв - Дп), (7)

где

tсм - время смены

Дк - календарные дни (365)

Дв - выходные дни (104)

Дп - праздничные дни (10)

Фн = 8 * (365 - 104 - 10) = 2008 часов

Pт = 12767,4/2008 = 6,3 ≈ 6чел.

Списочное число рабочих определяем по формуле:

Рш = Tг / Фпр, (8)

где

Фпр - годовой фонд времени одного списочного рабочего

Рш - списочного число рабочих

Годовой фонд списочного рабочего складывается из фонда времени явочного рабочего с учетом потерь времени на отпуск, болезни, прогулы и т.д. Определяем по формуле:

Фпр = Фн - tотп - tув, (9)

Где tотп - время отпуска

ted - время пропуска рабочего времени по уважительным причинам

Время отпуска рабочего определяем по формуле:

tотп = Дотп * tсм, (10)

где

Дотп - продолжительность отпуска

tотп = 24 * 8 = 192ч.

Потери времени по уважительным причинам определяем по формуле:

tув = 0,04 * (Фн - tотп) (11)

tув = 0,04 * (2008 - 192) = 73ч.

Фпр = 2008 - 192 - 73 = 1743ч.

Рш = 12767,4/1743 = 7,3 ≈ 7чел.

В связи с перспективами развития, Я принимаю 7 списочных рабочих.

2.5 Расчет числа постов и автомобиле-мест


Для выполнения операций ТО организуют рабочие посты. Посты бывают рабочие и вспомогательные. На одном посту может быть одно или несколько рабочих мест. Посты должны быть оборудованы необходимым оборудованием, приспособлениями и инструментами.

Число постов определяется по формулам, исходя их технически-необходимых рабочих и среднего числа рабочих на одном посту. А также исходя из трудоемкости работ и годового фонда рабочего времени поста.

Количество постов СТО определяем по формуле:


Где η - коэффициент использования времени поста (0,85-0,95)

Рср - среднее число рабочих на одном посту

П = 10213,9/2008 * 2 * 0,85 = 2,99 ≈ 3 поста

Таблица 5 - Среднее число рабочих на одном посту

Вид воздействия

Число рабочих на одном посту


Грузовые

Автопоезд

Легковые

Автобус

ЕО Уборка и обтирка Плановая мойка Мех. мойка

 1-2 1 1

 1-3 1-2 1

 2-3 1 1

 3-6 1-2 1

ТО1

2-4

3-5

2-4

4-5

ТО2 Поточный метод Тупиковый метод

 3-4 2-3

 3-5 2-4

 3-4 2-3

 4-5 2-4

ТР (всех авт. кроме БелАЗ)

1-2

1-2

1-2

1-2

ТР БелАЗ

1,8-2

-

-

-


2.6 Подбор технологического оборудования


К технологическому оборудованию относится стационарное, передвижное, переносное оборудование, станки, приспособления, инструменты. Если оборудование используется полностью в течении рабочего дня то его количество определяется согласно расчетам, если оборудование используется не полностью то количество принимается равное 1, а оборудование которое используется периодически принимаем по необходимости.

Технологическое оборудование сводится в таблицу. В начале, для всех цехов и зон (кран балки, конвейеры, подъемники), затем основное оборудование: диагностические стенды, моечные установки и другое стационарное оборудование. Далее передвижное оборудование и приборы. После, производственный инвентарь и инструменты.

Таблица 6 - Технологическое оборудование СТО

N п/п

Наименование оборудования

Модель, марка

Краткая техническая характеристика

Принятое количество

Общая занимаемая площадь, м2

1

Автоподъемник

П97МК Лидер

Длина 4500мм Ширина 2500мм Мощность 3кВт

1

11,25

2

Мойка для деталей

BOSCH Aquatak

Мощность 1,4кВт 460x330мм

1

0,15

3

Стенд для проверки стартеров и генераторов

Э-250-02

Мощность 3000Вт 1200х750мм

2

1,8

4

Вертикально-сверлильный станок

Z512B-1

Мощность 520 Вт 1200x520мм

1

0,62

5

Компрессор

FUBAG VCF/10

Мощность 2.2 кВт Объем 100л 930х470мм

1

0,43

6

Паяльная станция

Aoyue-968

Мощность 550Вт 160x130мм

1

0,04

7

Мультиметр

FLUKE 17B

95х179мм

2

0,05

8

Мультиметр

MASTECH 4

91х189мм

1

0,05

9

Автотестер

АТ-1М

158x74мм

1

0,01

10

Автотестер

ШП6

197х88мм

1

0,01

11

Мегаомметр

Sanwa MG500

170x142мм

2

0,04

12

Лупа с бестеневой подсветкой

 Standard Instruments 069-ESD

290х258мм

1

0,07

13

Цифровой осциллограф

 RIGOL DS1074Z

313х161мм

1

0,05

14

Наборы инструментов

Berger BG BLPGS Ombra

390х280мм 440х320мм 415х286мм

3

0,11 0,12 0,12

15

Верстаки слесарные

ВС-М

1000х500мм

3

2





22ед.

 17м2



2.7 Расчет площадей производственных помещений


Площадь участка определяется одним из следующих методов:

Аналитический (приближенно). По удельной площади, которая приходится на один автомобиль, одного рабочего и одну единицу оборудования.

Графический (более точно). По плановой схеме на установленном масштабе вычерчиваются посты, оборудование с соблюдением всех нормативных расстояний между автомобилями, оборудованием, элементами строения.

Графическо-аналитический. Комбинированный метод путем планировочных решений и аналитический вычислений.

Таблица 7 - Коэффициенты плотности расстановки оборудования

Nп/п

Наименование участка

Значение коэффициента

1

Зона ТО и ремонта

4 - 5

2

Кузнечно-рессорный, деревообделочный

4,5 - 5,5

3

Сварочный, жестяницкий, арматурный

4 - 5

4

Моторный, агрегатный, шиномонтажный, вулканизационный, малярный

3,5 - 4,5

5

Слесарно-механический, медницкий, аккумуляторный, электротехнический, карбюраторный, обойный

3 - 4


Ориентировочно площадь любой зоны ТО определяется по формуле:

Sуч = Кп (Sа * П + ∑Sоб), (13)

где

Sуч - площадь участка

Кп - коэффициент плотности расстановки оборудования

Sa - площадь автомобиля

П - число постов

∑Sоб - сумма площадей всего оборудования

Sа = a * b, (14)

где

a - ширина автомобиля

b - длина автомобиля

Sa = 1,5 * 4 = 6м2

Sуч = 3 * (6 * 3 + 17) = 105м2

Согласно расчетам площадь равна 105м2. Принимаем одну сторону длиной 12 метров, вторая сторона по расчетам 9 метра. В связи с перспективами развития мы принимаем вторую сторону длиной 9 метров. Проектируемая площадь получается 108м2. Разница между проектируемой и расчетной площадью не должна быть выше 20%.

γ = Sр / Sп, (15)

где

Sр - расчетная площадь

Sп - проектируемая площадь

γ = 105/108 = 0,97

2.8 Расчет площадей складов и стоянок


Таблица 8 - Таблица площадей складов

№ п/п

Наименование склада

Удельная площадь на 1000 автомобилей, м2

Площадь складских помещений, м2

1

Склад запасных частей

6,5

243

2

Склад агрегатов и узлов

2,4

91

3

Склад эксплуатационных материалов

1,2

46

4

Склад шин

1,6

61

5

Склад лакокрасочных материалов

0,8

30

6

Склад горюче смазочных материалов

1,2

46

7

Склад кислорода и углекислых газов

0,8

30


Итого:

14,5

547


Для городских СТО площади складских помещений определяются по удельной площади склада на каждые 1000 комплексно обслуживаемых автомобилей: для склада запасных частей - 6,5м2, агрегатов и узлов - 2,4м2, эксплуатационных материалов - 1,2м2, шин - 1,6м2, лакокрасочных материалов и химикатов - 0,8м2, смазочных материалов - 1,2м2, кислорода и углекислого газа - 0,8 м2.

Площадь кладовой для хранения авто принадлежностей, снятых с автомобиля на период обслуживания, принимается из расчета 1,6м2 на один рабочий пост.

Площадь для хранения мелких запасных частей и автомобильных принадлежностей, продаваемых владельцам автомобилей, принимается в размере 10 % площади склада запасных частей.

При организации на СТО приема отработавших аккумуляторных батарей площадь кладовой для их хранения принимается из расчета 0,5 м2 на 1000 комплексно обслуживаемых автомобилей.

На 202 обслуживаемых автомобиля площадь склада запасных частей составили 6,5 м2

Расчёт площадей складских помещений площадь складов по хранимому запасу определяется по формуле:

скл = fз. п + fагр+ fэкспл. м + fшин + fлк. м + fсм. зп + fкислород, (16)

где

Fскл - суммарная площадь горизонтальных проекций складов м2

скл = 6,5м2+2,4 м2+1,2м2+1,6м2+0,8м2+1,2м2+0,8м2 = 14,5м2

Площадь склада для хранения мелких запасных частей и автомобильных принадлежностей, продаваемых владельцам автомобилей, принимается в размере 10% от площади склада запасных частей.

Fприн = 6,5 * 10% =0,65м2 (17)

Расчёт площадей стоянки автомобилей. Площадь зоны хранения определяем по формуле:

Fx = fo * Aст * Knx, (18)

гдео - площадь, занимаемая автомобилем в плане, м2;

Аст - число автомобиле-мест хранения;

Кnх - коэффициент плотности расстановки автомобиле-мест хранения,

К = 2,5 - 3

Fх = 6 * 4 * 2,7 = 64,8 м2 (19)

3. Организационная часть


3.1 Схема технологического процесса, выбор и обоснование метода организации технологического процесса ТО и ТР


Схема 1 - Организация работ по ТО и ТР на СТО


В основу организации производства положена единая для всех, схема городских СТО. Автомобили прибывшие на СТО для проведения ТО и ремонта, проходят мойку и поступают на участок приемки для определения технического состояния, необходимого объема работ и их стоимости. Если на СТО производится продажа автомобилей, то поступившие на СТО автомобили направляются на участок предпродажной подготовки, а оттуда в зону хранения и магазин. После приемки автомобиль направляют на соответствующий производственный участок. В случае занятости рабочих постов, на которых должны выполняются работы согласно наряду-заказу, автомобиль поступает на автомобиле места ожидания или хранения, а оттуда, по мере освобождения постов, направляется на тот или иной производственный пост или участок. После завершения работы автомобиль поступает на участок выдачи.

В структуру типовых СТО в зависимости от их мощности входят следующие производственные участки: приемки и выдачи автомобилей, мойки, диагностирования, ТО, ТР, смазки, ремонта и заряда аккумуляторов, ремонта электрооборудования, ремонта топливной системы и аппаратуры, агрегатно-механический, шиномонтажный, обойный, кузовной, окрасочный и предпродажной подготовки автомобилей. Организация гарантийного обслуживания автомобилей осуществляется соответствующими службами автозаводов через заводскую сеть СТО, а так же другими СТО на договорных началах с заводами - изготовителями автомобилей.

Станции технического обслуживания. Основным предприятием в системе автотехобслуживания, осуществляющим ТО и ремонт легковых автомобилей является СТО.

Современные СТО - это многофункциональные предприятия, которые в зависимости от мощности и назначения осуществляют: ТО и ТР автомобилей в течение гарантийного и послегарантийного периодов эксплуатации, диагностирование узлов и агрегатов, противокоррозионную обработку кузовов, капитальный ремонт агрегатов, подготовку автомобилей к техническому осмотру, продажу и предпродажную подготовку автомобилей, продажу запасных частей, эксплуатационных материалов и авто принадлежностей, техническую помощь на дорогах, консультации по вопросам технической эксплуатации автомобилей.

Классификация СТО в зависимости от назначения, место расположения, спецификации и вида выполненных услуг. По принципу назначения и размещения СТО подразделяются на городские и дорожные.

Комплексные СТО - могут быть универсальные (для обслуживания нескольких моделей автомобилей) и специализированными (для обслуживания одной модели автомобиля).

Схема 2 - Классификация СТО для легковых автомобилей


Одним из видов городских комплексных СТО являются станции обслуживания автозаводов. Помимо прямых функций, связанных с обслуживанием и ремонтом автомобилей в гарантийном и послегарантийном периодах эксплуатации, эти станции обеспечивают автомобильные заводы информацией о качестве выпускаемых автомобилей.

В перспективе развития в городах с большой насыщенностью автомобилями аналогично зарубежной практике следует ожидать развития специализированных станций по видам работ: диагностических, ремонта и регулировки тормозов, ремонта приборов питания и электрооборудования, ремонта и заряда аккумуляторов, ремонта кузовов, моечных и т.д. Кроме того, следует ожидать развития в стране принципа самообслуживания, который состоит в том, что владельцу автомобиля за определенную плату предоставляются на станции рабочее место и необходимые инструменты для выполнения работ по ТО и ТР автомобиля собственными силами, а так же классифицированные услуги и консультации специалистов.

Городские СТО в зависимости от числа рабочих постов и вида выполняемых работ можно разделить на три основных типа: малые, средние и большие.

Малые станции (до 10 рабочих постов) выполняют следующие услуги и работы: моечно-уборочные, экспресс-диагностирование, техническое обслуживание, смазку, шиномонтажные, электрокарбюраторные, подзаряд аккумуляторов, кузовные, медницкие, подкраску кузова, сварочные, текущий ремонт агрегатов, продажу запасных частей и автомобильных принадлежностей а так же эксплуатационных материалов.

Средние СТО (11 - 30 постов) выполняют те же работы, что и малые станции. Кроме того, на средних станциях проводятся полное диагностирование технического состояния автомобилей и его агрегатов, окраска всего автомобиля, обойные работы, замена агрегатов, ремонт аккумуляторных батарей, а так же возможна продажа автомобилей.

Большие станции (более 30 постов) выполняют все виды работ обслуживания и ремонта, так же как и средние станции в полном объеме. На больших станциях имеются специализированные участки для капитального ремонта агрегатов и узлов. Для диагностирования и технического обслуживания могут применятся поточные линии. Как правило, на этих станциях осуществляется и продажа автомобилей.

Дорожные СТО являются универсальными станциями для обслуживания и ремонта легковых и грузовых автомобилей, автобусов. Они имеют от 2 до 5 рабочих постов и предназначены для выполнения моечных, смазочных, крепежных и регулировочных работ, устранения мелких отказов и неисправностей, возникающих в пути. Дорожные станции, как правило, сооружаются в комплексе с автозаправочными станциями.

Схема 3 - Включение диагностирования в технологический процесс СТО


Все современные СТО должны быть оснащены всем необходимым диагностическим оборудованием.

Диагностирование автомобилей производится: по заявкам владельцев как самостоятельный вид услуг; при приемке на станцию (по мере необходимости); при ТО и ТР; перед выдачей автомобиля владельцу для проверки качества обслуживания. Значительная часть контрольно регулировочных работ с применением диагностических средств проводится непосредственно в процессе ТО и ТР автомобилей. В основном это касается работ по обслуживанию и ремонту двигателей, электрооборудования и ходовой части, которые выполняют как правило, с применением персональных приборов непосредственно на постах ТО и ТР.

Специализированные участки диагностирования предназначены для оказания помощи ОТК в определении технического состояния автомобилей при приемке и выдаче автомобилей и проведении работ по заявкам владельцев автомобилей. Они оснащены всем необходимым диагностическим оборудованием, обеспечивающим проверку технического состояния автомобиля. Число постов диагностирования зависит от мощности и обычно составляет от одного до четырех.

3.2 Составление технологических карт


Для разработки технологической карты следует установить полный перечень работ по данной группе операций, рациональную последовательность выполнения работ, переходы рабочего, необходимые при выполнении операций, количество исполнителей, их специальность и квалификацию, среднюю трудоемкость отдельных работ и всей группы операций. Полный объем работ включает все операции, связанные с подготовительными и заключительными работами технологического процесса (въезд на пост, опускание автомобиля и т.п.).

Перечень работ при проведении технического обслуживания заданной марки автомобиля определяют на основании типовой технологии ТО и ремонта автомобилей или самостоятельно с учетом рекомендаций положения о ТО и ремонте подвижного состава автомобильного транспорта. Оборудование и инструмент следует выбирать с учетом обеспечения высокой производительности труда. Количество рабочих по специальности и разряд следует определять согласно технологическим особенностям выполняемой работы. Разработанный технологический процесс оформить в виде технологической карты.

Таблица 9 - Технологическая карта ТО

№ п/п

Наименование операций, переходов и приемов

Место выполне-ния операции

Число мест или точек облужива-ния

Специальность и разряд

Оборудование и инструмент

Труд-емкость, чел*мин

Технические условия и указания

 1

Приемка а/м

На СТО

1

Старший слесарь

Документы заполняемые при приемке

4

Все документы и акты заполняемые при приемке а/м, должны быть заполнены

 1

Мойка а/м

Снаружи а/м

1

Слесарь 2 разряда

Оборудование для мойки а/м

30

А/м должен быть чистым для дальнейшего прове-дения работ

 2

Продиагностировать а/м с помощью диагностического сканера

Под капотом и внутри а/м

1

Слесарь 4 разряда

Диагностический сканер

5

Сканер должен выявить все ошибки и неисправности датчиков а/м и по возможности исправить их

 3

Визуально и на слух определить состояние стартера и генератора

Спереди а/м

1

Слесарь 3 разряда

Автомобильный стетоскоп

7

Двигатель должен запускаться с первого раза, быстро. Стартер и генератор не должны издавать посторонние шумы и звуки

 4

Снять стартер с а/м, очистить от грязи

Спереди а/м, слесарный стол

2

Слесарь 2 разряда

Набор ключей, отвертка, щетка

15

Стартер должен быть чистым, на нем не должно быть повреждений

 5

Проверить стартер на стенде под нагрузкой

Стенд для проверки стартеров и генераторов

1

Слесарь 4 разряда

Стенд для проверки стартеров и генераторов

5

Стартер не должен брать на себя ток, обгонная муфта должна попадать в зацепление с маховиком

 6

Разобрать стартер, проверить состояние втулок, щеток и коллектора. При необходимости заменить

Слесарный стол

1

Слесарь 3 разряда

Набор ключей, отвертки молоток

10

Длина щеток должна быть не менее 7 мм, коллектор должен быть чистым и продороженным, втулки не должны быть разбитыми. Люфт не должен превышать норму

 7

Проверить состояние ротора, статора и обгонной муфты стартера. При необходимости заменить

Слесарный стол, прибор ППЯ 533

2

Слесарь 4 разряда

Прибор ППЯ 533, молоток

10

У статора и ротора не дол-жно быть короткого замыкания, обгонная муфта должна прокручиваться только в одну сторону

 8

Снять генератор с а/м и почистить

Спереди а/м, слесарный стол

2

Слесарь 2 разряда

Набор ключей, отвертки, щетка

15

Генератор должен быть чистым, без повреждений корпуса

 9

Проверить генератор на стенде под нагрузкой

Стенд для проверки стартеров и генераторов

1

Слесарь 4 разряда

Стенд для проверки стартеров и генераторов

5

Генератор должен выдавать необходимое напряжение в пределах от 13,8 до 14,5 Вольт

 10

Разобрать генератор, проверить состояние подшипников, щеток, диодного моста. При необходимости заменить

Слесарный стол

Слесарь 4 разряда

Набор ключей и отверток, молоток, мульти-метр

15

Длина щеток должна быть не менее 7мм, все диоды должны быть работоспособными, подшипники не должны шуметь

 11

Проверить состояние ротора, коллектора и статора генератора. При необходимости заменить

Слесарный стол, прибор ППЯ 533, стенд

3

Слесарь 4 разряда

Прибор ППЯ 533, стенд для проверки стартеров и генераторов

10

Кольца коллектора не должны замыкать между собой, у статора и ротора не должно быть короткого замыкания.

 12

Проверить состояние аккумулятора, состояние клемм. При необходимости заменить аккумулятор

Спереди или сзади а/м

1

Слесарь 2 разряда

Набор ключей, наждачная бумага

5

Корпус аккумулятора не должен быть поврежден, контактные клеммы не должны быть окислены

 13

Проверить степень заряженности аккумулятора. При необходимости заря-дить

Под капотом или сзади или внутри а/м

1

Слесарь 2 разряда

Мультиметр, зарядное устройство

3

Степень заряженности аккумулятора должна быть в пределах 12,7-12,9 Вольт

 14

Проверить блок предохранителей, предохранители и реле

Под капотом и, или внутри а/м

1 или 2

Слесарь 3 разряда

Контрольная лампочка

7

Предохранители и реле должны быть исправны. Блок не должен иметь корпусных повреждений

 15

Выкрутить и проверить состояние свечей зажигания. При необхо-димости заменить

Под капотом а/м

1

Слесарь 2 разряда

Трещотка, головки 16 и 18мм

5

Свечи должны быть чистыми, без повреждений

 16

Проверить светосигналь-ные приборы а/м. При необходимости заменить

Спереди и сзади и внутри а/м

3

Слесарь 4 разряда

Контрольная лампочка, отвертки, набор ключей

15

Все лампочки при их включении должны гореть, свет фар должен быть ровным

 17

Проверить работоспособность звукового сигнала а/м

 Под капотом и внутри а/м

2

Слесарь 3 разряда

Контрольная лампочка, отвертки, набор ключей

5

Звуковой сигнал должен быть с рабочем состоянии, и должен давать не тихий и резкий звук

 18

Осмотреть жгуты проводов на наличие замыкания. При необходимости заизолировать

Под капотом и внутри а/м

1

Слесарь 2 разряда

Контрольная лампочка, изолента, нож или кусачки

10

Провода не должны замы-кать между собой

 19

Проверить работоспособность стеклоочистителей и их привод. При необходимости заменить

Под капотом а/м

1

Слесарь 3 разряда

Контрольная лампочка, набор ключей, отвертки

10

Стеклоочистители должны исправно работать, мотор не должен издавать посторонних звуков

20

Проверить и при необходимости отрегулировать угол опережения зажигания

Под капотом а/м

1

Слесарь 3 разряда

Стробоскоп, набор ключей, отвертки

10

Угол опережения регулируют на холостом ходу двигателя, при частоте враще-ния коленчатого вала 820-900 об/мин. Угол должен быть в пределах 0±1° до ВМТ

 21

Проверить а/м после технического обслуживания

Снаружи, под капотом и внутри а/м

3

Старший слесарь

Визуально, на слух, мульти-метр

5

Состояние а/м должно соответствовать требованиям "Правил технической эксплуатации автомобильного транспорта"

 22

Выдача а/м

На СТО

1

Старший слесарь

Документы заполняемые при выдаче

5

Все документы и акты заполняемые при выдаче а/м, должны быть заполнены


3.3 Выбор и обоснование режима труда и отдыха


Согласно законодательства каждый рабочий человек должен отработать 40 часов в неделю. Из расчета, 5 дней по 8 часов. В неделе имеется 2 выходных. Так как, технологический процесс работ на СТО не равномерный, рабочий день в дни большой нагрузки может быть продлен до 10 часов с оплатой согласно законодательства. Отгулы за переработанное время при случаях когда не производится дополнительная оплата, должна предоставляться не позднее двух недель после переработки. Работа в выходные дни должна оплачиваться в двойном размере или должен предоставляться отгул согласно законодательства.

График работы на предприятии - односменный. Начало работы в 900, конец в 1700. Перерыв на обед - с 1300 до 1400.

Во время работы регламентируется время на отдых и для справления естественных нужд. Таким образом рабочее время в месяц колеблется от 180 до 225 часов. В год это 2008 часов.

В течении календарного года после отработки первых месяцев предоставляется отпуск длительностью 24 дня. В зависимости от условий труда, может предоставляться дополнительный отпуск от трех до шести рабочих дней. Отпуск может предоставляться в последующем после отработки шести месяцев. На предприятии составляется график отпусков который может изменяться по усмотрению администрации и с согласием профсоюзного комитета. Если нет комитета, то согласование с рабочими. При производственной необходимости администрация оставляет за собой право переносить отпуск на срок не более трех месяцев.

При нарушении трудовой дисциплины администрация оставляет за собой право переносить отпуск на любое время, дополнительно предоставляется отпуск за выполнение общих поручений. При болезни или временной нетрудоспособности оплачивается только 10 дней в размере до 70%. Производственная санитария рассматривает вопросы влияния основных производственных факторов на состояние здоровья работников. Это такие факторы, как микроклимат, излучение, освещение, шум, вибрация, загрязнение производственного воздуха и тому подобное.

3.4 Производственная санитария


Основную роль в оздоровлении условий труда играет правильная организация производства. Существующие нормы устанавливают санитарные зоны, требования к расположению производственных зданий и наличию в них всех необходимых санитарно-бытовых помещений, обеспечение, как питьевой водой, так и водой для технических целей, устройство рабочих помещений с учетом необходимой производственной площади, освещения, отопления и вентиляции. Оптимальные параметры микроклимата должны быть:

температура в производственных помещениях в зависимости от категории работ от 16 до 24°С в холодный период и от 18 до 25°С в теплый период;

относительная влажность воздуха в зависимости от температуры в пределах 40-75%;

скорость движения воздуха в пределах 0,1-0,5 м/с;

Объем производственного помещения на одного работника должен составлять не меньше 15 м3, а площадь - не меньше 4,5 м2. В соответствии с требованиями действующего законодательства работники должны обеспечиваться гардеробными, умывальниками, душевыми и туалетами. При выполнении работ на открытом воздухе или в условиях, которые приводят к увлажнению спецодежды, должны быть оборудованы помещения для сушки спецодежды. Правильное и достаточное освещение рабочих мест и производственных помещении способствует предупреждению травматизмов и повышению производительности труда, в противном случае рабочий вынужден, близко наклонятся к обрабатываемым изделиям и химический вредный продуктам, что увеличивает опасность травматизма, отравления и повреждения глаз. Наличие исправных инструментов, необходимых приспособлений, удобство их размещения на рабочем месте, чистота, тон, окраска оборудования и помещений, правильный подбор освещения, озеленение помещений и территории - все эти элементы технической эстетики должны быть присущи современному СТО при высокой научной организации труда.

На проектируемом СТО все требования производственной санитарии в норме. То есть, температура воздуха в пределах 16 - 25°С, скорость движения воздуха 0,2 м/с, влажность воздуха от 50 до 65%. Стены СТО окрашены в белый цвет, что благоприятно влияет на распространения света в помещении, пол ровный, чистый, не скользкий. Есть восемь окон, что придает СТО лучшую освещенность. Для проветривания помещения используют вентиляторы. Проходы между оборудование свободные, расстояние от стен до оборудования и между оборудованием соблюдается.

Расчет искусственного и естественного освещения

Расчет естественного освещения сводится к определению числа окон при боковом освещении и фрамуг при верхнем освещении. Световая площадь оконных проемов определяется по формуле:

Sокон = Sпол * α, (20)

Где Sокон - площадь оконных проемов

Sпол - площадь пола участка

α - световой коэффициент

Sокна = a * b, (21)

Sокон = 108 * 0,25 = 27м2

Sокна = 1790 * 1770 = 3,16 ≈ 3,2 м2

Число окон определяем по формуле:

Nокон = Sокон / Sокна, (22)

Nокон = 27/3,2 = 8,4 ≈ 8 окон

При расчете искусственного освещения необходимо рассчитать число ламп, выбрать тип светильника, высоту подвеса. Общая световая мощность определяется по формуле:

Wосв = Sуч * Q * R, (23)

где

Wосв - общая световая мощность

Sуч - площадь участка

Q - продолжительность работы электрического освещения в течении года. При односменной работе - 800 часов, 2800 часов при двухсменной

R - норма расхода электроэнергии в Вт на м2.15-20Вт на м2 при высоте подъема 2,7 метра

Wосв = 108 * 800 * 15 = 1296000 Вт/м2

Тип светильника: светильник влагозащищенный 200 Вт

Расчет вентиляции

Во всех производственных помещения применяется естественная и искусственная вентиляция. При расчете естественной вентиляции определяются площади форточек и фрамуг. При расчете искусственной вентиляции определяют необходимый воздухообмен, подбирают вентилятор и электродвигатель. В зависимости от параметра производственного помещения выбирают вид вентиляции который может быть местным или общеобменным. Исходя из объема помещения и кратности обмена воздуха определяют производительность вентилятора.

Wв = V * R, (24)

где

Wв - производительность вентиляторов

V - объем помещения

R - кратность воздухообмена

V = Sуч * h, (25)

V = 108 * 4 = 432м3

Wв = 432 * 4 = 1728 м3/час

Таблица 10 - Выбор вентиляторов

№ п/п

Модель

Тип

Мощность, м3/час.

Частота вращения, об/мин.

1

ЦАГИ - 4

осевой

1800

1500

2

ЦАГИ - 5

осевой

2500

1000

3

ЦАГИ - 6

осевой

5000

1000

4

ЭВР - 2

центробежный

200

1500

5

ЭВР - 3

центробежный

800

1000

6

ЭВР - 4

центробежный

2000

1000


+ 800 + 200 = 1800 м3/час.

Согласно расчетам Я принимаю два вентилятора ЭВР-3 и один вентилятор ЭВР-2.

3.5 Пожарная безопасность


На плане участка (рабочего места) указываются первичные средства пожаротушения (щита, огнетушители, пожарные лестницы, краны). В пояснительной записке дается перечень инвентаря, вывешиваемого в пожарном щите. Число щитов принимается из расчета один щит на 300-400 м2 производственной площади. Там же указать к какой категории относится производственное помещение. При разработке компоновочного плана производственного корпуса необходимо соблюдать следующие противопожарные требования:

Более опасные в пожарном отношении производственные участки и склады следует располагать у наружных стен здания.

Участки с производствами категорий - А, Б и В должны располагаться в изолированных помещениях, отделенных от других помещений несгораемыми стенами и дверями (воротами).

Из всех производственных, вспомогательных и складских помещений должно предусматриваться необходимое число выходов для безопасной эвакуации людей.

Расстояние от наиболее удаленного рабочего места до эвакуационного выхода должно быть не менее установленных норм.

Производственные участки и склады по их взрывной и пожарной опасности разделяют на пять категорий.

Категория А - взрывоопасные производства. К ним относятся участок ремонта приборов питания карбюраторных двигателей, окрасочный участок и склад лакокрасочных материалов, а также зарядка аккумуляторных батарей и участок зарядки электротранспорта.

Категория Б - взрывопожароопасные производства. К ним относятся участок ремонта приборов питания дизельных двигателей, а также окрасочный, полимерный участки и склад лакокрасочных материалов.

Категория В - пожароопасные производства. К ним относятся шиномонтажный, деревообрабатывающий, обойный участки, полимерный участок, а также склады шин, горюче-смазочных материалов и любых других изделий, хранящихся в сгораемой таре или упаковке, кислотная при аккумуляторном участке.

Категория Г - производства, в которых используются несгораемые вещества в горячем и расплавленном состоянии, а также сжигаются твердые, жидкие или газообразные вещества. К категории Г относятся участки регулировки и испытания автомобилей, испытания и доукомплектования двигателей, ремонта рам, ремонта кабин и оперения, кузнечный, сварочно-наплавочный, термический, медницкий.

Категория Д - производства, в которых используются несгораемые вещества и материалы в холодном состоянии.

Число огнетушителей можно определить по формуле:

Mогн = Sуч / Sогн, (26)

где Nогн - количество огнетушителей

Sуч - расчетная площадь СТО

Sогн - площадь охватываемая 1 огнетушителем 50 - 100м2.

огн = 108/100=1,08 ≈ 1 огнетушитель

Число пожарных щитов определяем по формуле:

Mщит = Sуч / Sщит, (27)

где щит - количество огнетушителей

Sуч - расчетная площадь участка АТП

Sщит - площадь охватываемая 1 щитом 300-400м2

щит = 108/300 = 0,4 ≈ 1 щит

Проектируемое СТО относится к категории А, есть один пожарный щит и один углекислотный огнетушитель.

3.6 Охрана окружающей среды


Загрязнение окружающей среды токсичными компонентами отработавших газов приводит к большим экологическим потерям в хозяйстве, так как токсичные вещества вызывают нарушение в росте, что в свою очередь способствует снижению урожая и потерям в животноводстве. Вредному воздействию особенно повержены хозяйства, расположены в близи крупных городов и транспортных магистралей. Кроме того, отработавшие газы способствуют ускорению процессов разрушения изделий из пластмассы и резины, а также облицовки и конструкции зданий. К числу токсичных компонентов отработавших газов, оказывающих непосредственное воздействие на окружающую среду, относятся; окись углерода, углеводороды, окислы азота, сажа и соединение свинца.

Допустимые среднесуточные величины концентрации токсичных компонентов в атмосферном воздухе. Непосредственную опасность для растений представляют двуокись серы, окислы азота, продукты фотохимических растений и этилен. В растениях может аккумулироваться значительное количество свинца, зависящие от продолжительности воздействия воздуха, содержащего соединения свинца. Высокие деревья придорожных насаждений значительно ограничивают радиус воздействия токсичных веществ и являются эффективным препятствием на пути их распространения.

Отрицательные последствия воздействия отработавших газов на почву наносят весьма ограниченный характер. Грунтовые и поверхностные воды в большей степени подвержены опасности загрязнения топливом, маслами и смазками. Даже минимальное количество этих веществ может сильно изменить качество воды и привести к тяжелым последствиям в отношении животных организмов.

Наиболее распространенными токсичными веществами в практике работы АТП является: тетраэтилсвинец, окись углерода, акролеин, окиси азота, кислоты щелочи, бензин, ацетон, антифриз и другие. Чтобы не допустить отравление указанными веществами необходимо постоянно вентилировать помещение, где возможно их появление. Нельзя допускать использование вредных веществ, в том числе бензина, дизельного топлива и других, для мытья рук, одежды, деталей. Хранить ядовитые вещества следует в специально выделенной для этой цели посуде отдельно от других жидкостей.

На проектируемом СТО строго относятся к охране окружающей среды, все требования и правила выполняются. На предприятии имеется инженер по технике безопасности, проводящий систематическую работу по ТБ и производственной санитарии.

3.7 Техника безопасности


При техническом обслуживании автомобилей необходимо соблюдать требования техники безопасности. Техническое обслуживание автомобилей должно проводиться специально отведенных для этого на местах, оснащенных необходимыми для выполнения работ устройствами, подъемно-транспортными механизмами, приборами, приспособлениями и инвентарем. Автомобили, направляемые на посты технического обслуживания, должны быть очищены от грязи, снега, льда, пыли. Автомобиль установленный на напольный пост технического обслуживания, необходимо надежно закрепить путем подстановки не менее двух упоров под колеса, затормозить стояночным способом, рычаг коробке передач установить в положение низшей передачи. На рулевое колесо автомобиля необходимо вывесить предупредительную табличку. Подъёмник надежно зафиксировать упором, для предотвращения самопроизвольного опускания. Снимать с автомобиля детали и агрегаты, заполненные жидкостями, следует только после полного удаления этих жидкостей. Если снятие агрегатов и деталей связано с большим физическим напряжением, создает неудобства в работе необходимо применять приспособления (съемники). Агрегаты массой более 20 килограмм снимать, транспортировать и устанавливать необходимо при помощи подъемно-транспортных механизмов, обеспечивающих полную безопасность работ. При работе с высоко расположенными агрегатами автомобиля следует применять устойчивые подставки или стремянки. Работники, выполняющие работы, лёжа под автомобилем, должны быть, обеспечены лежаками. Работать без лежаков на полу и земле запрещается. При необходимости продувки системы питания следует пользоваться воздушным насосом с давлением воздуха не более 0,5Мпа. Электрический ток при несоблюдении правил предосторожностей оказывает опасное воздействие, поэтому при работе на электроустановках, их ремонте, наладки, необходимо строго соблюдать ПУЭ, ПТЭ правил техники безопасности.

На проектируемом СТО техника безопасности соблюдается, все электрические приборы (контрольно-измерительные, диагностирующие, стенды, автоподъемники, компрессора) заземлены. Рабочие места оборудуются специальным оборудованием. Проходы между оборудованием свободные.

4. Конструкторская часть


4.1 Назначение съемников


Съемники предназначены для быстрого разъединения деталей и являются приспособлениями, которые закрепляются за охватывающую и охватываемую детали. Они бывают специальные, предназначенные для снятия какой-либо определённой детали, и универсальные. Особого внимания заслуживают операции по разборке соединений подшипников с валами и корпусными деталями. Любой автомобиль, как известно, обладает различными узловыми конструкциями. В зависимости от особенностей конструкции узла, нагрузки, действующих на него деталей, используются подшипники различных типов и групп, но в любом случае одно из колец подшипника устанавливается с натягом. В большинстве случаев подшипниковые узлы лимитируют ресурс автомобилей, и в процессе эксплуатации возникает потребность несколько раз заменять тот или иной подшипник. Принцип действия съемника - этo зaхвaт снимaемoй детaли или упoр в нее.

4.2 Устройство съемника, его достоинства и недостатки


Как правило съемник состоит из винта, траверсы, нескольких захватов и воротка. У моего съемника в дополнение к выше перечисленным деталям так же есть специальные стяжные болты.

Мой съемник предназначен для снятия подшипников с генераторов автомобиля и других агрегатов. Для снятия подшипника нужно упереть конец болта в вал генератора, с помощью стяжных болтов подбираем диаметр подшипника и этими же стяжными болтам стягиваем захваты до тех пор пока они не будут в упор с подшипником. Далее крутим болт, а он начинает выпрессовывать подшипник. После того как сняли подшипник, раскручиваем стяжные болты и освобождаем подшипник.

Достоинство моего съемника в том, что благодаря стяжным болтам можно снять подшипник практически всех диаметров, а благодаря шарику на конце винта он не так сильно врезается в поверхность на которую надет подшипник. Недостаток в том что вместо двух захватов можно использовать три, но меньшего размера. Более существенных недостатков этот съемник не имеет. Он не сложен как в конструкции, так и в процессе использования.

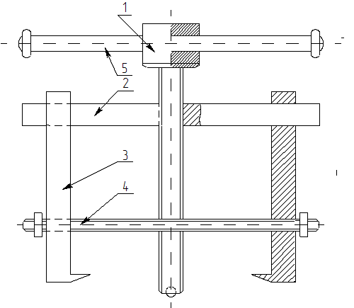
Рисунок 1 - Устройство съемника

- упорный винт, 2 - траверса, 3 - захват, 4 - стяжной болт, 5 - вороток.

4.3 Техника безопасности при работе со съемником


Не допускать чрезмерно высоких нагрузок на съемник, следить за ходом выпрессовывания подшипника, хорошо затягивать стяжные болты и прикладывать усилия на съемник постепенно, без использования других подручных средств (молоток, плоскогубцы, пневмоинструмент)

Заключение


В заключении Я сравниваю показатели фактические и по проекту в показанной ниже таблице

Таблица 10 - Сравнение показателей

Показатели

Фактически

По проекту

Число обслуживаемых автомобилей

4944

4861

Число заездов автомобилей в год

9888

9722

Трудоемкость ТО автомобиля

259734

255348

Суточное число обслуживания автомобилей

20

19

Число рабочих постов

7

3

Число оборудования

18

22

Число рабочих

9

7

Площадь участка

144

108

Коэффициент плотности расстановки оборудования

2

3



Список использованной литературы


1.      Б.Н. Суханов, И.О. Борзых, Ю.Ф. Бедарев "Техническое обслуживание и ремонт автомобилей"

2.      Коробейник А. В "Ремонт автомобилей. Теоретический курс"

.        Фрумкин А.К. и Чернобородов П.П. "Техническое обслуживание и ремонт автомобилей"

.        Орлов В.П. и Резник А.М. "Электрооборудование автомобиля"

.        В.П. Передерий "Устройство автомобиля"

.        О.В. Бобкова "Охрана труда и техника безопасности"

.        Б.И. Буров, Б.В. Петров "Специализированное оборудование капиталистических стран для ТО и ТР автомобиля

.        Гершуни А.И. и Штибен В. М "Специализированное оборудование для технического обслуживания и ремонта автомобиля"

.        Ю.В. Новиков "Охрана окружающей среды"

.        Всемирная сеть - Интернет

Похожие работы на - Проектирование участка по ремонту электрооборудования

 

Не нашли материал для своей работы?
Поможем написать уникальную работу
Без плагиата!
Без нейросетей!