Исследование физических свойств d-металлов

  • Вид работы:
    Дипломная (ВКР)
  • Предмет:
    Физика
  • Язык:
    Русский
    ,
    Формат файла:
    MS Word
    337,7 Кб
  • Опубликовано:
    2014-11-30
Вы можете узнать стоимость помощи в написании студенческой работы.
Помощь в написании работы, которую точно примут!

Исследование физических свойств d-металлов

МИНИСТЕРСТВО ОБРАЗОВАНИЯ И НАУКИ РОССИЙСКОЙ ФЕДЕРАЦИИ

Федеральное государственное бюджетное образовательное учреждение

высшего профессионального образования

«КУБАНСКИЙ ГОСУДАРСТВЕННЫЙ УНИВЕРСИТЕТ»

(ФГБОУ ВПО «КубГУ»)

Физико-технический факультет

Кафедра радиофизики и нанотехнологий



ДИПЛОМНАЯ РАБОТА

Исследование физических свойств d-металлов


Работу выполнил

Коротких Екатерина Аркадьевна

Научный руководитель к. б. н., доцент каф.

радиофизики и нанотехнологий

Н.С. Васильев





Краснодар 2013

РЕФЕРАТ

Дипломная работа 48 с., 28 рис., 6 табл., 18 источников.

НАНОПОРОШКИ, D-МЕТАЛЛЫ, НАНОЧАСТИЦЫ

Объектом исследования данной дипломной работы является нанопорошок железа.

Целью работы является исследование физических свойств нанопорошка железа.

Задачи, которые необходимо было решить
в ходе выполнения работы:

Исследование импеданса (комплексного сопротивления) водной суспензии нанопорошка железа посредством емкостной ячейки;

Проведение анализа частотной зависимости импеданса водной суспензии нанопорошка железа.

В результате выполнения дипломной работы:

Проведено исследование импеданса водной суспензии нанопорошка железа посредством емкостной ячейки и установлено его уменьшение в 1,8-2 раза по сравнению с величиной импеданса дистиллированной воды в диапазоне частот 50 - 500 кГц.

Поведен анализ частотной зависимости импеданса водной суспензии нанопорошка железа и, судя по этим результатам анализа, эта зависимость носит степенной характер и представляет собой математическую формулировку вида y=Ax-B.

СОДЕРЖАНИЕ

Введение

. Методы исследования физических свойств материалов

.1 Групповое концентрирование и спектроскопическое определение некоторых d-элементов

.2 Определение структурных характеристик и удельной проводимости Na-ВК-цеолита, содержащего нанопорошки Mo ,W , Ni

.3 Получение и физические свойства композиционных материалов на основе наноразмерных оксида цинка и металлов триады железа

.4 Применение плазменного разряда для синтеза наноматериалов и создания технологии стерилизации воды

.4.1 Нанесение наночастиц оксидов металлов на текстильные материалы с применением ультразвука

. Методы проведения экспериментальных исследований

. Результаты экспериментальных исследований

Заключение

Список использованных источников

водная суспензия нанопорошок железо

ВВЕДЕНИЕ

Сейчас наиболее распространенным и интересным является изучение физических свойств чистых металлов, оксидов металлов и смесей металлов. Весьма перспективными материалами для исследований служат нанопорошки d-металлов, но следует отметить, что нанопорошки можно производить из большого числа разнообразных материалов. Наибольшую часть получаемых нанопорошков (не менее восьмидесяти процентов) составляют оксиды металлов. Нанопорошки из чистых металлов также составляют не малую долю всего объема производства нанопорошков. А вот сложные оксиды и смеси являются самыми редкими, но их производство и использование должно увеличиться в ближайшее время.

Использование нанопорошков в промышленной сфере быстро набирает обороты. Более 50% мирового производства - это обрабатываемая промышленность, производство электронных и оптических устройств. В последние годы нанопорошки с успехом применяют в сельском хозяйстве, природоохранной деятельности, косметологии и медицине. Область применения нанопоршков очень обширна. Примером этому может служить оксид алюминия и диоксид кремния, которые весьма популярны среди производителей товаров для потребителей и электронных приборов. Использование этих двух видов порошков дает возможность значительно уменьшить габариты выпускаемых изделий. Нанопорошки Fe прекрасно укрепили свои позиции в животноводстве и растениеводстве. Некоторые нанопорошки могут использоваться в роли катализатора, как наиболее дешевая альтернатива платины. Использование такого рода катализатора способствует повышению КПД аккумуляторов. Наночастицы сейчас позволяют получить решения многих сложных задач. С помощью нанонаполнителей создаются новейшие нанокомпозитные материалы - нанокерамика (с присутствием легирующих примесей тугоплавких соединений металлов равномерно распределенных в виде наночасиц). Эти наполнители придают материалу повышенную температуростойкость лопаток газовых турбин. Температуростойкось может достигать1500°С и более. Использование нанокомпозитов - это большой прорыв в технике. Наноструктурированные материалы позволяют открывать новые полезные свойства, которые можно применять в различных областях и сферах жизнедеятельности.

Целью работы является исследование физических свойств нанопорошка железа.

Задачи, которые необходимо было решить
в ходе выполнения работы:

Исследование импеданса (комплексного сопротивления) водной суспензии нанопорошка железа посредством емкостной ячейки;

Проведение анализа частотной зависимости импеданса водной суспензии нанопорошка железа.

1. Методы исследования физических свойств материалов

.1 Групповое концентрирование и спектроскопическое определение некоторых d-элементов

Одним из перспективных методов выделения и концентрирования при определении микроколичеств элементов является их сорбционное извлечение из растворов полимерными комплексообразующими сорбентами (ПКС).

Важным направлением в практике применения ПКС является целенаправленный синтез новых избирательных сорбентов и улучшение

аналитических характеристик уже известных природных и синтетических материалов введением в матрицу сорбента функциональных аналитических группировок, способных взаимодействовать с ионами металлов. Данный раздел посвящен методике группового концентрирования и определения микроколичеств меди (II), цинка (II), свинца (II), марганца (II) и хрома (III) на твердой фазе с использованием сорбентов, модифицированных специфическими органическими реагентами [1].

Пробоподготовку сточных вод проводили по следующей методике: к одному литру анализируемой воды добавляли 6 мл разбавленной (1:1) серной кислоты и 1 г персульфата аммония для разрушения комплексов ионов меди, свинца, цинка, хрома и марганца с органическими примесями, содержащимися в сточных водах. Пробу кипятили 10-15 мин. Затем в гомогенную среду вводили сорбенты АМБ-ЦН (амберлит-цинкон), СГ-ЦП-ФФ (силикагель-цетилпиридиния-хлорид-фенилфлуорон) в массовом соотношении 2:1 и перемешивали в течение часа. Для меди (II), цинка (II), свинца (II), марганца (II) и хрома (III) в воде канала имени «Октябрьской

революции» и стоках завода «Авиаагрегат» достигнуто практически полное их извлечение (табл.1).

Таблица 1 - Результаты сравнительного определения элементов атомно- абсорбционной спектроскопией и спектроскопией диффузного отражения.

Объект анализа

Сорбент

Элемент

ААС

СДО




1

Sr

2

Sr

1

Sr

2

Sr

Плоды боярышника пятилепестничного мкг/г

АМБ-ЦН

Zn

8.50

0.04

7.51

0.04

8.20

0.01

7.14

0.03



Cu

6.54

0.05

5.50

0.06

6.85

0.02

5.80

0.03



Pb

-

-

-

-

2.84

0.06

0.04

0.07


СГ-ЦП-ФФ

Mn

3.30

0.09

8.20

0.02

3.65

0.05

8.31

0.01



Cr

-

-

-

-

0.02

0.07

0.03

0.07

Вода, мкг/л

Сорбент

Элемент

3

Sr

4

Sr

3

Sr

4

Sr


АМБ-ЦН

Zn

-

-

-

-

43

0.02

75

0.01



Cu

-

-

-

-

32

0.02

69

0.01



Pb

-

-

-

-

22

0.02

36

0.02


СГ-ЦП-ФФ

Mn

-

-

-

-

16

0.02

28

0.03



Cr

-

-

-

-

35

0.02

62

0.01


Измерения, представленные в таблице 1, проводились при комнатной температуре, знак «-» обозначает отсутствие данных, боярышник, собранный с окрестностей г. Махачкала - 1, с горных районов РД - 2, вода канала «Октябрьской революции» до очистки - 3, стоки завода «Авиаагрегат» г. Махачкала - 4.

Сочетание концентрирования модифицированными сорбентами со спектроскопией диффузного отражения позволило с большой точностью определить тяжелые металлы в больших объемах проб сложного фонового состава и снизить предел обнаружения до n·0,0001 мг/л.

Содержание свинца, меди и цинка в плодах боярышника, произрастающего в горной местности, выше, чем у боярышника, произрастающего в равнинной, тогда как содержание марганца и хрома находится в обратной зависимости [2]. Чувствительность метода пламенной (ацетилен-воздух) атомно-абсорбционной спектрометрии не позволила обнаружить в составе плодов боярышника пятипестичного ионы свинца и хрома, тогда как спектроскопией диффузного отражения выявила их следовые количества.

Для улучшения физических свойств d-металлов применяется метод, основанный на холодной обработке. Холодная обработка металла, приводящая к его упрочнению и изменению ряда физических свойств на макроскопическом уровне, может оказывать существенное влияние на поведение проводимости нанопроволок, вытянутых из таких материалов, при их разрыве [3]. Этот эффект исследован для Ag, Cu, Pt и ряда других металлов. Обнаружено влияние молекулярного водорода на характер разрыва нанопроволок серебра.

Высокая стабильность механически контролируемых разрывных контактов позволяет исследовать электронный транспорт через микросужения и нанопроволоки, образующиеся при разведении электродов MCBJ (mechanically controllable break-junction или механически контролируемых разрывных контактов). Высокая стабильность MCBJ позволяет исследовать электронный транспорт через микросужения и нанопроволоки, образующиеся при разведении электродов MCBJ. Проводимость таких нанопроволок определяется проводимостью наиболее тонкой части сужения, в которой количество атомов непрерывно уменьшается по мере увеличения расстояния между берегами контакта. Зависимость G от расстояния s между электродами имеет ступенчатый характер [4].

.2 Определение структурных характеристик и удельной проводимости Na-ВК-цеолита, содержащего нанопорошки Mo, W, Ni

Благодаря некоторым свойствам наноразмерных металлов, их можно использовать для модификации цеолитов и улучшения их физических характеристик. Цеолиты широко известны своими уникальными свойствами. Применение модифицированных цеолитов X и Y как основы катализаторов крекинга нефтяных фракций приводит к повышению эффективности процесса не менее чем на 30% . Считается, что катализаторы на основе цеолитов являются наиболее прогрессивными, так как в природе последних заложены большие возможности, позволяющие целенаправленно изменять их каталитические свойства [5].

Весьма эффективным способом улучшения свойств цеолитных катализаторов является их модификация переходными металлами, в том числе наноразмерными. В литературе появились первые работы по использованию в качестве модифицирующего агента электровзрывных металлических нанопорошков (НП) Ni, W, Mo (молибден) и др. В большинстве проведенных исследований было установлено, что модификация приводит к повышению активности и стабильности катализатора, увеличению выхода конечного продукта.

Для модификации цеолита были выбраны НП переходных металлов молибдена, вольфрама и никеля, полученные методом электрического взрыва проволоки в среде аргона.

Для измерения объемного сопротивления методом сухого прессования из образцов были приготовлены таблетки, на поверхность которых для лучшего электрического контакта наносили графит.

Установлено, что структура как исходного, так и модифицированных образцов соответствует структуре цеолита типа ZSM-5.Основу кристаллической решетки ZSM-5 и составляют структурные элементы, состоящие из пятичленных колец. Цепочки из таких элементов объединены в слои, причем каждая цепочка в слое представляет собой зеркальное отражение соседней. Слои из цепочек структурных элементов могут соединяться попарно двояким образом. Если при соединении двух соседних слоев происходит их инверсия относительно друг друга, то образуется кристаллическая решетка цеолита типа ZSM-5. Кристаллы синтезированного ВКЦ принадлежат к ромбической сингонии. Определено наличие в модифицированных образцах оксидных фаз MoO3 и WO3. Можно предположить, что частицы металлов покрыты оксидной нанометровой пленкой, что характерно для наночастиц, полученных электровзрывным способом по данным авторов работы. Отсутствие, по данным рентгеновского анализа, фазы оксида никеля в спектре 10% Ni-ВКЦ может объясняться рентгеноаморфностью либо незначительным количеством оксида никеля. Инфракрасные спектры исходного и модифицированных НП в концентрации 10 % от массовой доли образцов представлены на рисунке 1.

Спектры образцов, модифицированных НП в меньшей концентрации, аналогичны спектру исходного ВКЦ. Из полученных данных следует, что все образцы имеют набор полос поглощения, характерный для цеолитов семейства пентасил [6]. К этим полосам относятся: сильная полоса 1100-1250 1/см с двумя максимумами (1225-1229 1/см и 1095-1099 1/см), обусловленная валентными колебаниями алюминий и кремнийкислородных тетраэдров [ТO4]; полоса 449-451 1/см, относящаяся к деформационным колебаниям ТO4; полоса с ярко выраженным максимумом при 545-547 1/см, соответствующая спектрам цеолитов, в каркас структуры которых входят сдвоенные 4-, 5- и 6-членные кольца [7].

По отношению интенсивностей полос поглощения при 550 1/см и 450 1/см определена степень кристалличности, составившая от 74% (10% W-ВКЦ) до 90% (ВКЦ). Отсутствие поглощения электромагнитного излучения в области 960 1/см указывает на то, что образцы не содержат примеси аморфной фазы.

Рисунок 1 - ИК-спектры пропускания образцов

Значения удельной поверхности и объема пор указаны в таблице 2. Определено, что исследованные кристаллы синтезированного цеолита характеризуются наличием двух типов пор: микро- и мезопор.

Модификация ВКЦ НП металлов способствовала увеличению удельной поверхности и объема микропор, при этом максимальное увеличение наблюдалось в образце 1% Ni-ВКЦ и по сравнению с немодифицированным составило приблизительно 100% для обоих показателей. Уменьшение объема мезопор в большинстве образцов вследствие модификации может быть вызвано их частичной блокировкой наночастицами, располагающимися на поверхности поликристаллов.

Как следует из данных электронной микроскопии (рис.2), большинство образцов довольно однородны по своему составу и представляют собой поликристаллические сфероиды от 2,4 до 7,5 мкм в диаметре, состоящие из сросшихся монокристаллов в виде призм с углами между гранями, близкими к 90°. Кроме того, встречаются поликристаллы неправильной формы. На рисунке 2б видно, что наночастицы металла располагаются на поверхности поликристаллов.

Таблица 2 - Значения удельной поверхности и объема пор кристаллов синтезированного цеолита

Образец

Мезопоры

Микропоры


Sмезопор, м²/г

Vмезопор, см³/г

Sмикропор, м²/г

Vмикропор, см³/г

1% Ni-ВКЦ

89

0.030

197

0.081

10% Ni-ВКЦ

162

0.061

133

0.056

1% Mo-ВКЦ

221

0.081

101

0.046

5% Mo-ВКЦ

160

0.066

107

0.047

ВКЦ

167

0.068

96

0.041


Проникновение модификатора внутрь каналов цеолита маловероятно, поскольку размеры наночастиц (для электровзрывных НП от нескольких нанометров до 200 нм) существенно превышают диаметр пор ZSM-5 (6 Е).

Рисунок 2 - Электронно-микроскопические снимки образца 10% W-ВКЦ

В результате исследования термических свойств было установлено, что нагревание модифицированных образцов, помимо поглощения тепла при удалении воды, также сопровождается выделением тепла вследствие окисления металлических наночастиц в диапазоне от 222°С до 830°С (рис.3).

Для образца 10% W-ВКЦ окисление начинается при 240°С и происходит в два этапа с изменением цвета вначале на серо-зеленый, а затем на лимонно-желтый, прирост массы составляет 1,29%.

Рисунок 3 - Термограмма образца 10% W-ВКЦ

Графики зависимости удельной проводимости от температуры изображены на рисунках 4 и 5. Для образцов, модифицированных НП в меньшей концентрации, зависимости подобны. Удельная проводимость с повышением температуры увеличивается, при этом наименьшей удельной проводимостью обладает исходный образец. Наибольшее изменение у наблюдается для образца 10% W-ВКЦ: удельная проводимость достигает значений в два раза больших по сравнению с ВКЦ. Повышенные значения у модифицированных образцов на прямом ходе вызваны, вероятно, наличием на поверхности цеолита, являющегося диэлектриком, частиц проводника (металлического НП), покрытых нанометровым полупроводниковым оксидным слоем.

Примечание - На вставке показан фрагмент зависимости в низкотемпературной области.

Рисунок 4 - Зависимость удельной проводимости образцов цеолита от температуры при нагревании (прямой ход)

Поскольку, как следует из представленных данных термического анализа, в области 222-600°C происходит окисление основной массы наночастиц, на обратном ходе удельная проводимость модифицированных образцов уже не имеет столь существенных отличий от удельной проводимости исходного ВКЦ (рис.5). Пики с максимумами от 110°С (ВКЦ) до 145°С (10% W-ВКЦ, рис.4) обусловлены гидратированностью образцов. При охлаждении экстремумы в этом температурном диапазоне не зафиксированы, поскольку цеолит почти не содержит воды. При температурах меньших 220°С значения у дегидратированных образцов на порядок меньше соответствующих значений для гидратированных. Согласно таблице 3, можно выделить два температурных диапазона от 20°С до 350 °С и от 350°С до 550 °С, для которых энергия активации различна.


Примечание - На вставке показан фрагмент зависимости в низкотемпературной области.

Рисунок 5 - Зависимость удельной проводимости образцов цеолита от температуры при охлаждении (обратный ход)

При нагревании выше 350 °С наблюдается увеличение активационной энергии, указывающее на то, что в проводимости участвуют два типа носителей заряда: в низкотемпературной области основная роль принадлежит примесям и дефектам, в высокотемпературной области - собственным носителям (обменным катионам).

Это обстоятельство объясняет уменьшение энергии активации модифицированных образцов в низкотемпературной области (на 33%) и их

большую удельную проводимость.

Более высокие значения у исходных гидратированных кристаллов (по сравнению с дегидратированными) объясняются диссоциацией содержащейся в них воды, что приводит к образованию протонов и гидроксогрупп, увеличению подвижности обменных катионов, поддерживающих электронейтральность, и, как следствие, увеличению удельной проводимости.

Таблица 3 - Энергия активации дегидратированных образцов (второй и третий столбец содержат значения энергии активации дегидратированных образцов)

Образец

Высокотемпературный диапазон, E, эВ (>350°С)

Низкотемпературный диапазон, E, эВ (<350°С)

10% Ni-ВКЦ

0.68

0.15

10% Mo-ВКЦ

0.85

0.16

10% W-ВКЦ

0.42

0.16

ВКЦ

0.56

0.24


В то же время, происходит ослабление притяжения катион-решетка, вызванного взаимодействием дипольных молекул воды с катионами, следовательно, энергия активации уменьшается. Начиная с некоторой температуры (110-150)°С, наблюдается уменьшение у (рис.4) из-за дегидратации цеолита, происходит усиление связи между каркасом и катионами проводимости, что затрудняет перемещение последних и приводит к увеличению энергии активации.

Таким образом, синтезированный ВКЦ кристаллизуется в ромбической сингонии, относится к семейству пентасил, типу ZSM-5, обладает высокой степенью кристалличности и характеризуется двумя типами пор. Модифицирование цеолита электровзрывными нанопорошками переходных металлов никеля, молибдена и вольфрама в шаровой вибрационной мельнице в течение двух часов не оказывает существенного влияния на его структуру, однако приводит к понижению кристалличности. Модифицированные образцы обладают увеличенными значениями удельной поверхности и объема микропор, а при нагревании происходит выделение тепла, что необходимо учитывать при проведении высокотемпературных реакций. Модифицирование цеолита металлическими нанопорошками способствует уменьшению сопротивления и понижению энергии активации на 33% в области температур (20-350)°С.

1.3 Получение и физические свойства композиционных материалов на основе наноразмерных оксида цинка и металлов триады железа

В последнее время очень распространенным методом является метод получения композиционных материалов из металлов и их оксидов. Композиционные и керамические материалы представляют собой гетерогенные системы, полученные из двух или более компонентов (фаз). На микроуровне композиты состоят из непрерывной фазы - матрицы, и наполнителей, которые вводят для модификации свойств матрицы и придания им улучшенных или качественно новых свойств.

В данном разделе описан процесс выявления влияния условий прессования на механические свойства, в частности микротвердость, композитов на основе нанопорошков.

В качестве исходного материала использовали порошок оксида цинка, полученный электрохимическим методом. Вторым компонентом являлись нанодисперсные порошки металлов триады железа, полученные электрохимическим восстановлением ионов железа(III), никеля(II) или кобальта(II) на алюминиевой подложке [8].

Состав и основные характеристики полученных образцов представлены в таблице 4.

Таблица 4 - Состав и основные характеристики полученных образцов

№ обр.

Состав

mобр, г

Pпресс, ГПа

d, мм

h, мм

ρ, г/см³

1.

ZnO

1.24

0.43

13.82

2.56

3.23

2.

ZnO

1.26

0.65

13.87

2.57

3.25

3.

ZnO

1.27

0.86

13.81

2.36

3.59

4.

ZnO+Fe

1.27

0.43

13.80

2.18

3.90

5.

ZnO+Fe

1.25

0.65

13.80

2.11

3.96

6.

ZnO+Fe

1.26

0.86

13.80

2.06

4.09

7.

ZnO+Ni

1.26

0.43

13.78

1.96

4.31

8.

ZnO+Ni

1.24

0.65

13.78

1.86

4.47

9.

ZnO+Ni

1.24

0.86

13.78

1.74

4.78

10.

ZnO+Co

1.27

0.43

13.81

2.03

4.18

11.

ZnO+Co

1.26

0.65

13.78

1.86

12.

ZnO+Co

1.24

0.86

13.80

1.76

4.71


Как видно из представленных данных гранулометрический состав предшественников композиционных керамических материалов на основе наноструктурированного оксида цинка и металлов триады железа зависит от природы металла триады железа. В результате предварительных испытаний было установлено, что смесь наноразмерного оксида цинка и ультрадисперсного металлического железа в процессе компактирования расслаивается с ростом давления [9-10]. Изменение микротвердости компактных образцов оксида цинка и композитов с металлами триады железа в зависимости от давления прессования представлено на рисунке 6.

Рисунок 6 - Изменение микротвердости исходного оксида цинка и композитов на его основе в зависимости от давления прессования

Таким образом, в ходе проведенных исследований изучены: фазовый состав, распределение частиц по размерам в агрегированных системах.

1.4 Применение плазменного разряда для синтеза наноматериалов и создания технологии стерилизации воды

В недавнем времени был развит метод получения наноматериалов с использованием плазменного разряда. Проводились исследования возможности направленного получения наночастиц различных материалов при разложении жидкости с помощью данного метода. Эксперименты проводились в воде, органических и элементорганических жидкостях. Одним из исследованных путей получения наночастиц является использование электродов из соответствующего материала (вольфрам, медь, углерод), окисление которых под действием плазменного разряда приводит к образованию суспензии наночастиц в жидкой среде [11]. На рисунке 7 представлены фотографии наночастиц оксида вольфрама, полученные методом сканирующей электронной микроскопии. При изучении плазменного разряда методом оптической спектроскопии, было установлено, что получаемые таким образом наночастицы оксида вольфрама имеют различную кристаллическую структуру, регулируемую параметрами разряда.

На рисунке 8 представлены результаты оптических исследований плазменного разряда в воде и показано, что инфракрасная область спектра

свечения дает информацию о кристаллической структуре наночастиц WO3. Был также установлен факт адсорбции атомарного водорода частицами, это схематически изображено на рисунке 8. Вторым вариантом использования плазменного разряда для получения наночастиц является разложение органических и элементорганических жидкостей.

Рисунок 7 - Фотографии наночастиц оксида вольфрама WO3

В частности, были проведены эксперименты по разложению тетраэтоксисилана и показано, что в жидкой фазе происходит отщепление двух спиртовых групп.

Рисунок 8 - Оптические спектры соноплазменного разряда (А), варианты кристаллической структуры (моноклинная, триклинная и орторомбическая) WO3 (Б) и схема адсорбции атомарного водорода наночастицами WO3 (В)

Рисунок 9 - Распределение по размерам частиц оксида цинка, полученных в плазменном разряде

Таким образом, в результате проведенных исследований показана возможность возникновения особого типа плазменного разряда в жидкости, с образовавшимися в ней газовыми пузырьками (кавитирующей жидкости), и установлено, что такой разряд может быть успешно использован для направленного синтеза наноматериалов с контролируемыми свойствами [14]. Также были проведены эксперименты с целью получения наночастиц оксида цинка, обладающего бактерицидными свойствами. При этом были получены агломераты частиц с широким распределением по размерам (рис.9).

Исследование исходных частиц методом электронной микроскопии показало, что, во-первых, при плазменном синтезе получаются частицы палочковидной формы, а во-вторых, при агрегации они образуют составные агрегаты (рис.10).

Рисунок 10 - Фотографии агломератов частиц оксида цинка, полученные на сканирующем электронном микроскопе

После ультразвуковой обработки в течение двух минут агломераты частиц распадались на первичные частицы, и пик распределения по размерам

значительно сужался (рис.11).

Рисунок 11 - Распределение по размерам частиц оксида цинка, полученных в плазменном разряде при последующей обработке ультразвуком в течение двух минут

Рисунок 12 - Фотографии наночастиц оксида цинка, полученные на сканирующем электронном микроскопе

Результаты исследований на сканирующем электронном микроскопе подтверждают факт получения стабильной монодисперсной системы наночастиц оксида цинка (рис.12).

Таким образом, в ходе работы [14] были получены устойчивые к агрегации и седиментации монодисперсные наночастицы оксида цинка, устойчивые в течение достаточно длительного времени (до 2 месяцев) и со средним размером частиц менее пятидесяти нанометров. Отработана методика получения наночастиц в плазменном разряде.

.4.1 Нанесение наночастиц оксидов металлов на текстильные материалы с применением ультразвука

Весьма перспективным методом получения слоев оксидных металлов на поверхности различных материалов (подложек) является ультразвуковой метод. Предварительные исследования по внедрению в материалы субмикронных кварцевых сфер с наночастицами Ni с использованием сонохимического метода показали высокую эффективность для самых разнообразных материалов подложек, включая керамику, металлы

(титан, цирконий, алюминий, нержавеющая сталь) и полимеры (PS, Nylon 6, PMMA, PC и полиэстер). Было выяснено, что эффективность этого

одноэтапного звукохимического процесса зависит от числа генерируемых схлопывающихся пузырьков и достигает максимума вблизи твердых поверхностей. Причина этого эффекта заключается в асимметрии коллапса пузырька вблизи поверхности, вследствие которой наночастицы выбрасываются в сторону поверхности с очень большими скоростями. В очередной серии экспериментов наночастицы ZnO и MgO наносились на хлопчатобумажные бандажи с применением сонохимического метода.

Таблица 6 - Результаты исследований антибактериальных свойств образцов текстиля с нанесенными наночастицами оксидов цинка и магния

ZnO


0 мин

60 мин

Подавление

Обработанный Образец

8280000

200

99,9976

Контрольный Образец

8200000

7000000

14,6341

MgO

Обработанный Образец

11700000

7000000

14,6341

Контрольный Образец

11700000

15800000

56,436


С использованием микроскопии и метода динамического рассеяния света была исследована также проблема выброса твердых наночастиц из текстиля в процесс механических нагрузок. Никаких свидетельств выброса наночастиц обнаружено не было.

В результате исследований показана возможность возникновения

особого типа плазменного разряда в кавитирующей жидкости и установлено, что такой разряд может быть успешно использован для направленного синтеза наноматериалов с контролируемыми свойствами.

Рисунок 13 - Бактерии, разрушенные в результате воздействия ZnO

Выяснилось, что культуры микроорганизмов погибают в результате воздействия плазменного разряда на поток жидкости (что показано на рис.13) и исследованы бактерицидные свойства текстильных материалов, полученные с использованием синтезированных наночастиц оксида цинка [16].


2. Методы проведения экспериментальных исследований

В данной работе используется бесконтактный метод измерения посредством конденсаторной ячейки. В таких ячейках конденсатор, включенный в электрическую цепь, характеризуется двумя величинами: емкостью и потерями энергии, т. е. величиной мощности, расходуемой в нем при определенном напряжении и частоте. Мощность расходуется главным образом на перераспределение поля внутри диэлектрика и перемещение зарядов в нем.

В измерительных ячейках осуществляется взаимодействие высокочастотного электромагнитного поля с веществом. Характер и степень этого взаимодействия влияет на величину электрических параметров ячейки, регистрируемых в ходе опыта.

Наиболее употребительными ячейками для исследования взаимодействия ВЧ электромагнитного поля с веществом являются ячейки конденсаторного типа (как правило, емкостные ячейки используют при исследовании растворов с плохой электропроводностью).

Для оценки потерь в диэлектрике конденсатор представляют в виде двух совершенно равноценных схем: либо как последовательное включение емкости Сс сопротивлением потерь Rn, на котором рассеивается мощность, либо как параллельное соединение емкости и сопротивления утечки Ry (или проводимости). Конденсатор, включенный в цепь переменного тока с круговой частотой:

ω = 2nf, (1)

где f - частота, ГГц;

обладает емкостным сопротивлением:

Χ=I/ωС, (2)

где C - емкость ячейки, с/Ом;

Обратная сопротивлению величина:

 b=ωС, (3)

называется емкостной проводимостью.

В конденсаторе с идеальным диэлектриком угол сдвига фаз между напряжением и током (фазовый угол сопротивления) равен 90°; в реальном конденсаторе, обладающем потерями, он меньше на величину α. Чем больше диэлектрические потери, тем больше α, поэтому угол, дополняющий сдвиг фаз между током и напряжением до 90°, называется углом потерь. Иными словами, это угол между вектором полного тока, проходящего через диэлектрик, и вектором его реактивной составляющей. Поскольку вектор I равен сумме векторов активного и емкостного токов, которые являются катетами треугольника, то:

tg α = Ir / Ic= α / ωС (4)

Таким образом, диэлектрические потери в конденсаторе характеризуются отношением активной составляющей проводимости к реактивной. Для последовательной схемы берется отношение активного и реактивного сопротивлений:

α = R/X = RωC (5)

Бесконтактную ячейку конденсаторного типа можно представить с помощью простой схемы, представленной на рисунке 14.

Если сопротивление R становится очень малым (электропроводность исследуемого объекта велика), оно замыкает накоротко емкость С2, последняя уже не влияет на электрические характеристики цепи и может быть исключена. Тогда получается последовательная цепь (рис. 14в).

Однако описанная трансформация эквивалентной схемы справедлива лишь для реальной цепи, составленной из конденсаторов и резистора.

Рисунок 14 - Бесконтактная ячейка конденсаторного типа (а), ее эквивалентные электрические схемы (б-г)

Для ячейки с раствором она вызывает возражения, так как пренебречь емкостью С2 значит, вопреки существующим представлениям о свойствах веществ допустить, что диэлектрическая проницаемость раствора стремится к нулю. Кроме того, в концентрированных растворах возможно образование ионных ассоциатов, обладающих большими дипольными моментами. Поэтому последовательная схема здесь не обсуждается; необходимые упрощения могут быть получены непосредственно из уравнений параллельной цепи, учитывающих скин-эффект.

Этот скин-эффект (поверхностный скин-эффект) возникает в связи с тем, что в отличие от постоянного тока ток высокой частоты, протекающий по проводнику, вытесняется к его поверхности, т. е. распределяется по сечению проводника неравномерно. Вытеснение происходит потому, что не все части проводника, по которому течет ток, охватываются возникающим магнитным потоком равномерно. Центральная часть проводника всегда окружена наибольшим количеством магнитных силовых линий, благодаря чему она обладает самым большим индуктивным сопротивлением и через нее течет наименьший ток. Сопротивление периферийных участков, охватываемых меньшим количеством магнитных силовых линий, меньше, поэтому плотность тока в них велика. В проводнике круглого сечения наибольшая плотность тока на поверхности, наименьшая - в центре; при квадратном сечении наибольшая плотность тока будет в углах проводника, меньшая - на гранях и наименьшая - в центре.

Вывод формул для схемы (рис.14) и их математический анализ дал Ч. Рейли. Пусть к зажимам 1 и 2 измерительной ячейки приложено напряжение с частотой ω. Проводимость между зажимами 1 и 2, найденная по законам Кирхгофа путем суммирования проводимостей отдельных элементов цепи, выражается уравнением:

 (6)

или в  общем виде:

 (7)

Таким образом, полная проводимость ячейки зависит от двух слагаемых. Первое представляет собой действительную часть полной проводимости, это ее активная составляющая. Она обусловлена теми процессами, которые сопровождаются превращением энергии электрического поля в тепловую - миграцией ионов под влиянием приложенного поля и запаздыванием диэлектрической поляризации дипольных частиц (релаксацией). Такими частицами являются полярные молекулы или отдельные группы атомов, входящие в состав молекул и способные вращаться.

В ионных кристаллах диполями являются области, где нарушена нормальная периодичность в расположении ионов (дефекты структуры). В переменном электрическом поле в этих областях происходят процессы, аналогичные замедленной ориентации диполей.

Второе слагаемое уравнения (6) - реактивная составляющая проводимости - не связано с превращением и рассеиванием энергии ВЧ поля в виде тепла. Такой проводимостью обладал бы идеальный конденсатор, подключенный к зажимам 1 и 2. Эта часть проводимости обусловлена теми молекулами и ионами, поляризация которых происходит в такт с изменениями электрического поля, т. е. без запаздывания. Тогда энергия, затраченная на поляризацию в одной части периода, полностью возвращается в другой части, так что результирующие потери энергии равны нулю.

В качестве объекта исследования в данной работе использовался нанопорошок железа, который был получен водородным восстановлением твердых гидроксидов железа в атмосфере восстановительного газа при температуре 350 - 420ºС. Поскольку хранение чистого порошка железа в нормальных условиях невозможно, его хранили в виде водной суспензии (20 % железа, 80 % воды). Частицы в такой суспензии находятся в гидратной оболочке. Структурное строение и фотография такой частицы представлены на рисунке 15 (а, б).

Рисунок 15 - Структурное строение (а) и фотография частицы нанопорошка железа в гидатной оболочке (б)

Структура частицы состоит из ядра, содержащего нейтральное железо, оболочки, состоящей из оксидов железа Fe2O3 и гидроксидов железа Fe(OH)3. Толщина оксидной и гидроксидной оболочки, как видно из рисунка 15(б) равна приблизительно 4 нм, а диаметр этой частицы составляет около 16 нм. Кроме того схематично показано образование гидратной оболочки наночастицы.

 

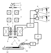
- термоэмиссионный катод; 2 - управляющий электрод; 3 - анод, 4 - ЭЛТ для наблюдения; 5 - ЭЛТ для фотографирования; 6,7 - первая и вторая конденсорная линзы; 8 - отклоняющие катушки; 9 - стигматор; 10 - объективная линза; 11 - объективная диафрагма; 12 - электронный пучок; 13 - генератор развёртки электронного луча микроскопа и ЭЛТ видеоблока; 14 - сцинтиллятор; 15 - светопровод; 16 - ФЭУ; 17 - видеоусилитель; 18 - исследуемый образец; 19 - регистрируемый сигнал (оптический, рентгеновский или электронный)

Рисунок 16 - Схема растрового электронного микроскопа JSM 7500F

Для того, чтобы определить размеры частиц нанопорошка, и убедиться в том, что он действительно состоит из частиц, обладающих характерным распределением по размерам (дисперсией), используется сканирующий растровый электронный микроскоп с полевой эмиссией JSM 7500F.

Принципиальная схема растрового электронного микроскопа JSM 7500F представлена на рисунке 16.Принцип действия микроскопа JSM 7500F основан на использовании некоторых эффектов, возникающих при облучении поверхности объектов тонко сфокусированным пучком электронов - зондом. В результате взаимодействия электронов с образцом генерируются различные сигналы. Основными из них являются поток электронов: отраженных, вторичных, оже-электронов, поглощенных, прошедших через образец, а также излучений: катодолюминесцентного и рентгеновского. Для получения изображения поверхности образца используются вторичные, отраженные и поглощенные электроны.

Получение изображения в РЭМ JSM 7500F:

Производится загрузка образца.

Регулируется изображение и проводится наблюдение образца с помощью окна наблюдения программы JEOL SEM.

Достигается необходимое увеличение изображение выбранной области и производится фотографирование участка исследуемого объекта.

Сегодня активно исследуется действие нанопорошков на различные биологические системы, как растительного, так и животного происхождения. Большое распространение и применение, которое получают нанопорошки в различных сферах деятельности человека и, в первую очередь, их дисперсность (размеры наночастиц в порошках от 10 нм и выше) вызывает необходимость в быстрой и качественной оценке их биологической активности по отношению к человеку, животным, растениям и микроорганизмам.

Для получения данных о качественном составе нанопорошка железа в необходимо провести рентгеновский энергодисперсионный анализ. Энергодисперсионная рентгеновская спектроскопия - это элементный анализ вещества, основанный на анализе энергии эмиссии её рентгеновского спектра. Этот анализ проводится с помощью сканирующего электронного микроскопа, который позволяет производить исследование объекта посредством сфокусированного высокоэнергетического пучка электронов.

В самой камере микроскопа добиваются высокого вакуума равной 10−7 мБар для того, чтобы свести к минимуму взаимодействие электронов с молекулами воздуха. Принцип работы микроскопа таков, что пучок электронов подается от источника (электронной пушки) и достигает ускорения благодаря подаче высокого напряжения. При достижении поверхности образца, часть электронов рассеивается, а часть передает свою энергию атомам вещества объекта и провоцирует тем самым эмиссию характеристического рентгеновского излучения. Затем производится анализ энергетического спектра такого излучения с помощью детектора электронного микроскопа [17].

В основе данной работы лежит кондуктометрический бесконтактный метод измерения импеданса емкостной ячейки, содержащей водную суспензию нанопорошка железа. Блок-схема эксперимента представлена на рисунке 17. Она состоит из блока питания, обозначенного цифрой 1, соединенного с импедансметром Tesla BM 570 (2). К импедансметру подключалась емкостная кондуктометрическая ячейка (3), в которой размещался исследуемый раствор или суспензия. Для контроля параметров сигнала импедансметра (амплитуды и частоты) использовался осциллограф Tektronix DPO 4104B c частотой дискретизации 1 ГГц и выборкой 5 ГСемпл в сек. Для измерения температуры исследуемой суспензии нанопорошка железа использовалась термопара и мультиметр (5).

- блок питания; 2 - импедансметр Tesla BM 570; 3 - кондуктометрическая ячейка; 4 - осциллограф; 5 - прибор для измерения температуры

Рисунок 17 - Блок-схема для измерения импеданса посредством емкостной ячейки

В данной работе измерения проводились в диапазоне частот от 50 до 500 кГц. При таких достаточно высоких частотах начинают проявляться процессы, связанные с движением и переориентацией наночастиц в суспензии. При более высоких частотах в растворе (суспензии) начинают играть роль эффекты молекулярной, или деформационной и ориентационной поляризации.

Предварительно, перед исследованием водной суспензии нанопорошка железа, проводились измерения импеданса емкостной бесконтактной ячейки, содержащей дистиллированную воду. После этого в емкостную ячейку помещалась исследуемая водная суспензия нанопорошка железа и проводились эксперименты. На рисунке 18 представлена схема емкостной бесконтактной ячейки. При бесконтактных измерениях электроды крепятся на внешней поверхности ячейки, представляющей собой стеклянный сосуд, и фиксируются эпоксидным клеем. Как уже было указано, объектом исследования данной работы являлась водная суспензия нанопрошка железа. Для проведения измерений 1,5 мл данной суспензии вносили в емкостную ячейку, затем добавляли 13,5 мл дистиллированной воды для того, чтобы довести уровень суспензии до необходимого.

Рисунок 18 - Схема прибора для бесконтактного кондуктометрического метода измерения импеданса

При высоких частотах (более 50 МГц) возрастает роль реактивной составляющей электропроводности:

λобщ = λакт + λреакт (8)

Это используется в ячейке емкостного типа, электрическая схема которой приведена на рисунке 19.

Рисунок 19 - Электрическая схема емкостной ячейки

Рассмотрим вклады различных составляющих электропроводности (рис.20).

а - ионы и полярные молекулы; б - неполярные молекулы

Рисунок 20 - Механизм возникновения электропроводности в электрическом поле растворов, содержащих ионы и полярные молекулы

Электропроводность λакт обусловлена движением ионов. Кроме них в растворе могут находиться полярные и неполярные молекулы растворителя, обусловливающие λреакт. Для полярных молекул растворителя в электрическом поле характерно явление ориентационной поляризации. Ориентационная поляризация связана с поворотом молекул в электрическом поле. Для неполярных молекул наблюдается поляризация, связанная со смещением электронной плотности относительно ядра в направлении поля, а значит, с изменением геометрической формы молекулы. Таким образом, общая электропроводность λобщ в данном методе определяется не только концентрацией ионов, но и концентрацией молекул растворителя.

Используя полученные в ходе эксперимента значения импеданса емкостной ячейки для дистиллированной воды и водной суспензии нанопорошка железа, строят графики частотной зависимости импеданса. Затем анализируют эти зависимости и определяют их характер.


3. Результаты экспериментальных исследований

При помощи сканирующего растрового электронного микроскопа с полевой эмиссией JSM 7500F были получены фотографии нанопорошка железа с увеличением в 500 (рис.21), 7500 (рис.22) и 50000 (рис.23).

Рисунок 21 - Фотография нанопорошка Fe (увеличение в 500 раз)

Рисунок 22 - Фотография нанопорошка Fe (увеличение в 7500 раз)

Полученные изображения позволяют судить о том, что нанопорошкок представляет собой совокупность частиц, обладающих дисперсностью (распределением по размерам), а так же мы видим, что в составе нанопорошка присутствуют агломераты этих частиц. На фотографиях исследуемого нами порошка Fe (рис.21,22) видно, что наночастицы в составе этого нанопорошка имеют характерный средний размер, который можно рассчитать (измеряется диаметр отдельных частиц и вычисляется их средний диаметр). Для расчета размера частиц d использовалась фотография нанопорошка железа увеличением в 50000 раз, представленная на рисунке 23.

Рисунок 23 - Фотография нанопорошка Fe (увеличение в 50000 раз)

В результате мы получили распределение частиц в нанопорошке Fe по размеру (рис.24). Анализируя полученное распределение, видим, что нанопорошок Fe содержит частицы в размерном диапазоне 50-200 нм. Распределение содержит в себе два пика. Первый пик соответствует частицам с размерами 76-82 нм - процентное содержание этих частиц составляет примерно 7,3 %. Второй пик относится к частицам с размерами 115-121 нм - процентное содержание около 5,2 %. Наличие этих пиков говорит о том, что нанопорошок Fe состоит преимущественно из частиц с размерами 79 нм и 118 нм.

Рисунок 24 - Распределение по размеру частиц в нанопорошке Fe

Для получения качественного состава нанопорошка Fe был проведен рентгеновский энергодисперсионный анализ. ЭДС и рентгеновский спектр испукания наночасиц железа представлен на рисунке 25.

Рисунок 25 - Качественный состав нанопорошка железа

С помощью полученных результатов, можно судить о качественном составе нанопорошка железа и можно смело утверждать о том, что нанопорошок железа содержит в себе следующие химические элементы: Fe, С, O, Si. Из этих результатов мы может сделать вывод, что нанопорошок железа является чистым нанопорошком металла, а примесные элементы, входящие в его состав не должны влиять на его проводимость, так как их количество ничтожно мало.

Для полупроводников, таких как Si и C, зависимость электропроводности от температуры описывается выражением:

σ = σ0 еxp (-Eg/2KT) (9)

где Eg -ширина запрещенной зоны, эВ;

T - температура, К;

K - постоянная Больцмана, Дж/К.

ln σ = ln σ0 -Eg/2KT (10)

Рисунок 26 - Зависимость электропроводности собственного полупроводника от температуры

Электропроводность чистых металлов (Fe) описывается соотношением:

σ = С/T (11)

ρ = αT (12)

где C и α - коэффициенты пропорциональности;

Рисунок 27 - Зависимость удельного сопротивления чистых металлов от температуры

Теоретические значения электропроводности:

для Fe электропроводность при t=20°C равна 1,044 ·10-7 См/м;

для FeOH2 удельная электропроводность при t=25°C равна 335733,3 См/м;

для обычного Si удельная электропроводность при t=20°C равна 0,007 См/м, а для особо чистого Si равна 1·10-6 См/м;

для C (модификация - графит) удельная электропроводность при приложении напряжения поперек слоев, электропроводность составляет 104 (См/м), а при приложении напряжения в плоскости слоев, электропроводность достигает 2·106 См/м [18].

Кондуктометрическим бесконтактным методом был получен график, представляющий собой частотные зависимости импеданса двух типов растворов: дистиллята и водной суспензии нанопорошка железа (рис.28).

линия 1 - ячейка с дистиллятом; линия 2 - ячейка с водной суспензией нанопорошка железа

Рисунок 28 - Частотные зависимости импеданса ячейки с дистиллятом и ячейки с водной суспензией нанопорошка Fe (при комнатной температуре 25°С)

Из графика видно, что импеданс ячейки как в случае с дистиллятом, так и в случае с водной суспензии нанопорошка железа, принимает наибольшие значения (для раствора дистиллята - 280 кОм, для водной суспензии нанопорошка Fe - 178 кОм) при низких частотах тока (50 кГц). По мере увеличения частоты от 50 кГц до 500 кГц импеданс понижается, и наименьшее значение импеданса мы имеем в той точке графика, где частота равняется 500 кГц (в этой точке графика импеданс для раствора дистиллята равен 81 кОм, а для водной суспензии нанопорошка Fe - 75 кОм). Для данного графика была проведена аппроксимация полученных зависимостей посредством метода наименьших квадратов.

Для частотной зависимости импеданса ячейки с дистиллятом (рис.28, линия 1) зависимость описывается уравнением: =3374,3x-0,584 с погрешностью 1,7%.

Для частотной зависимости импеданса ячейки с водной суспензией нанопорошка железа (рис.28, линия 2) зависимость следующая:=673,81x-0,355 с погрешностью 1,04%

ЗАКЛЮЧЕНИЕ

Основные результаты дипломной работы состоят в следующем:

При измерении импеданса емкостной ячейки, содержащей суспензию нанопорошка железа, установлено его уменьшение в 1,8-2 раза по сравнению с величиной импеданса дистиллированной воды в диапазоне частот 50 - 500 кГц.

Частотная зависимость импеданса водной суспензии нанопорошка железа носит степенной характер и представляет собой математическую формулировку вида y=Ax-B.

СПИСОК ИСПОЛЬЗОВАННЫХ ИСТОЧНИКОВ

 1 Савин С. Б. Сорбционно-спектроскопические и тест-методы определения ионов металлов на твердой фазе ионообменных материалов / С. Б. Савин, В. П. Дедкова, О. П. Швоева. - М.: Успехи химии.2000. - 217 с.

2 Коростелев П. П. Реактивы и растворы в металлургическом анализе / П. П. Коростелев. - М.: Металлургия, 1997. - 400 с.

3 Zou W. Зависимость длины трещины с и Кс от скорости относительной деформации при индентировании монокристаллов / W. Zou, R.A. Johnson // Pergamon Press. - 2001. - Vol. 674. - № 11. - P. 63-66.

4 Шкляревский О. И. Холодная обработка наноконтактов / О. И. Шкляревский, И. К. Янсон // Физика низких температур. - 2013. - Т.39. -№3.- С. 367-371.

5 Миначев Х. М. Окислительно-восстановительный катализ на цеолитах / Х. М. Миначев, В. В. Харламов. - М.: Наука.1990. - 149 с.

6 Ланкин С. В. Электропроводность клинолтиолита и его ионномембранных форм / С. В. Ланкин, В. В. Юрков // Перпективные материалы. - 2006. - №5. - С. 59-62.

7 Коваль Л. М. Синтез, физико-химические и каталитические свойства высококремнеземных цеолитов / Л. М. Коваль, Л. Л. Коробицина, А. В. Восмерикова. - Томск: ТГУ.2001. - 50 с.

8 Дресвянников А. Ф. Влияние условий прессования на механические свойства / А. Ф. Дресвянников, М. Е. Колпаков, Е. В. Пронина // Журнал общей химии. - 2010. - Т. 78. - №6. - С. 389-391.

9 Петрова Е. В. Исследовано влияние условий прессования на механические свойства / Е. В. Петрова, А. Ф. Дресвянников, М. А. Цыганова // Вестник Казанского технологического университета . - 2009. - № 10. - С. 26-34.

10 Дресвянников А. Ф. Функциональные материалы на основе наноструктурированных систем / А. Ф. Дресвянников // Журнал общей химии. - 2010. - Т. 80. - №10. - С. 1591-1597.

11 Perni S. Cold Atmospheric Plasma Decontamination of the Pericarps of Fruit / S. Perni, D. Liu, G. Shama // Journal of Food Protection. - 2008. - Vol. 71. - №2. - P. 302-308.

12 Абрамов О. В. Соноплазменный разряд в жидкой фазе / О. В. Абрамов // Материаловедение. - 2009. - №2. - С. 25-30.

13 Абрамов О. В. Плазменный разряд в кавитирующей жидкости / О. В. Абрамов // Инженерная физика. - 2009. - №8. - С. 34-43.

14 Нетрусов М. А. Практикум по микробиологии: Учебное пособие для студентов высш. учеб. Заведений / М. А. Нетрусов // Издательский центр «Академия». - 2005. - №7. - С. 79-82.

15 Булычев Н. А. Использование плазменного разряда в технологиях стерилизации воды / Н. А. Булычев, Е. С. Гриднева, Э. В. Кистерев // Московский Государственный Университет инженерной экологии. - 2012. - № 15. - С. 115-122.

16 Булычев Н. А. Поведение жидкостей в ультразвуковом поле / Н. А. Булычев // Московский Государственный Университет инженерной экологии. - 2012. - № 3. - С. 2-7.

Электронные библиотеки: Википедия - свободная энциклопедия. - (Рус.). URL:http://ru.wikipedia.org/wiki/Энергодисперсионная рентгеновская спектроскопия [5 марта 2012].

Ткалич В. Л. Физические основы микроэлекроники /В. Л. Ткалич, В. Н. Фролков, К. О. Ткачев // Санкт-Петербургский Государственный Университет Информационных Технологий, Механики и Оптики. - 2009. - 101 с.


Не нашли материал для своей работы?
Поможем написать уникальную работу
Без плагиата!
Без нейросетей!