Влияние соединений d-металлов на скорость диссоциации молекулы воды в биполярной мембране
Министерство образования и науки
российской федерации
Федеральное государственное бюджетное
образовательное учреждение высшего профессионального образования
Кубанский государственный университет
Факультет
химии и высоких технологий
Кафедра физической химии
Направление
бакалаврской подготовки 020100.62 Химия
Выпускная квалификационная работа
бакалавра
Влияние соединений d-металлов на скорость диссоциации
молекулы воды в биполярной мембране
Работу
выполнила Н.В. Алпатова
Научный
руководитель, проф.,
д-р хим.
наук, доц. Н.В. Шельдешов
Краснодар
2014
РЕФЕРАТ
Дипломная работа содержит 51 страниц, 18 рисунков, 4 таблицы, 44
литературных источников.
Гетерогенная биполярная мембрана, вольтамперная характеристика,
малорастворимые гидроксиды металлов электрохимический импеданс, эффективная
константа скорости диссоциации молекулы воды
Объектами исследования является аналог биполярной мембраны МБ-2,
модифицированный гидроксидами d-металлов
- Fe+3, Cо3+, Cr3+, Ni2+.
Цель данной работы - изучение влияния малорастворимых гидроксидов d-металлов на электрохимические
характеристики, а также на скорость диссоциации молекулы воды в биполярной
мембране.
Сопротивление биполярных областей измерялись методом электрохимического
импеданса. Парциальные по перенапряжению вольтамперные характеристики этих
областей рассчитывались по зависимости их сопротивления от плотности тока.
Эффективные константы скорости диссоциации молекулы воды рассчитывались по
парциальной вольтамперной характеристики биполярной области, которая измерялась
с помощью метода электрохимического импеданса.
Разработан метод и изготовлена лабораторная установка для разделения
порошков на фракции по размерам частиц и равномерного нанесения частиц на
мембраны. Обнаружено, что введение малорастворимых гидроксидов d-металлов в виде порошка массой 25
мг/дм2 в биполярную область уменьшает перенапряжение на ней с 9,0 В
на исходной мембране до 8,0 - 6,7 В при плотности тока 2 А/дм2.
Показано, что введение малорастворимых гидроксидов металлов в биполярную
область мембран примерно на порядок (с 6 с-1 до 39-54 с-1)
увеличивает эффективную константу скорости диссоциации молекул воды и линейно
зависит от количества нанесённого порошка гидроксида. Установлено, что в
системе 0,5М HCl-0,5М NaOH при плотности тока 1,1 А/дм2 сопротивление
биполярной области такой мембраны практически постоянно в течение 9 часов, что
свидетельствует о стабильности гидроксида железа(III) в биполярной области в процессе получения соляной
кислоты и гидроксида натрия из хлорида натрия.
СОДЕРЖАНИЕ
Введение
.
Аналитический обзор
.1 Строение и
свойства биполярных мембран
.1.1 Строение
и свойства монополярных областей
.1.2.
Механизм диссоциации воды в биполярных мембранах
.2 Катализ
диссоциации воды в биполярных мембранах
.2.1 Катализ
диссоциации воды ионогенными группами в биполярных мембранах
.2.2 Катализ
диссоциации воды малорастворимыми гидроксидами d-металлов
.3 Процессы с
применением биполярных мембран
.4 Методы
исследования биполярных мембран
.4.1 Метод
вольт-амперометрии
.4.2 Метод
частотного спектра электрохимического импеданса
.
Экспериментальная часть
.1 Объекты
исследования
.2 Методика
синтеза гидроксидов переходных металлов
.3 Методика
фракционирования порошков гидроксидов переходных металлов
.4 Методика
определения гистограммы распределения числа частиц порошка по диаметрам
.5 Методика
получения биполярных мембран
.6 Методика
измерения электрохимического импеданса
.7 Методика
расчета парциальных по перенапряжению вольт-амперных характеристик биполярных
мембран
.4 Методика
расчёта эффективных констант скорости диссоциации молекул воды биполярной
мембране
. Результаты
и обсуждение
.1 Результаты
определения размеров частиц порошков гидроксидов переходных металлов
.2
Зависимость электрохимических характеристик биполярных мембран от количества
порошка гидроксида металла
.3 Влияние
природы тяжёлого металла на электрохимические характеристики биполярной области
мембран
.4
Исследование каталитической активности гидроксида железа (III) при длительном
использовании модифицированной биполярной мембраны
.5 Расчёт
эффективных констант скорости диссоциации молекул воды в биполярных мембранах
Заключение
Список
использованных источников
ВВЕДЕНИЕ
Биполярные гетерогенные мембраны (БПМ) - бислойные композиты, которые
состоят из катионообменного и анионообменного слоёв. На границе этих слоёв
возникает область пространственного заряда, в которой при прохождении
электрического тока протекает реакция диссоциации молекул воды с образованием
ионов водорода и гидроксила. На использовании этой реакции основаны многочисленные
применения биполярных мембран: получение неорганических и органических кислот,
оснований и щелочей из солей, коррекция рН водных растворов, получение
деионизованной воды, удаление углекислого газа из воздуха.
Константа скорости диссоциации молекулы воды в области пространственного
заряда определяет напряжение на БПМ: чем она больше, тем меньше напряжение на
мембране. От величины рабочего напряжения на мембране зависит возможность
применения БПМ в технологическом процессе. Известно, что снизить напряжение на
мембране позволяют органические и неорганические соединения, введённые в её
биполярную область. В настоящее время наиболее дешёвыми и доступными добавками
являются гидроксиды металлов.
Изменение скорости диссоциации молекулы воды на границы мембрана -
раствор по сравнению со скоростью диссоциации молекулы воды в водных растворах
исследовалось многими авторами. При этом изучалось влияние на диссоциацию как
ионогенных групп мембран, так и каталитических добавок органической и
неорганической природы, введённых в биполярную область мембраны. Диссоциация
молекул воды исследовались как в монополярных, так и в биполярных мембранах.
Многими авторами исследовались электрохимические характеристики мембран с
каталитической добавкой в виде малорастворимых гидроксидов и их влияние на
скорость диссоциации молекулы воды. Но количество и размер частиц этих
соединений не учитывался или не мог быть определён.
Поэтому целью данной работы являлось:
исследовать влияние малорастворимых гидроксидов d-металлов различной природы, при условии, что количества
внесённых гидроксидов и гранулометрический состав порошков одинаковы, на
электрохимические характеристики биполярных мембран: на частотные спектры
электрохимического импеданса, парциальные вольт-амперные характеристики
биполярных областей мембран и эффективные скорости диссоциации молекул воды в
биполярных мембранах;
исследовать влияние количества внесённого гидроксида железа (III) заданного гранулометрического
состава на электрохимические характеристики биполярных мембран.
Задачей работы являлась разработка метода выделения заданной фракции из
исходного порошка гидроксида металла, а также разработка способа нанесения
этого гидроксида на поверхность мембраны.
1.
АНАЛИТИЧЕСКИЙ ОБЗОР
.1 Строение и
свойства биполярных мембран
Биполярные мембраны представляют собой бислойные композиты, состоящие из
соединённых друг с другом катионообменной и анионообменной мембран. При
наложении электрического поля в месте контакта этих слоёв возникает область
пространственного заряда с высокой напряжённостью электрического поля. Такие
мембраны способны генерировать ионы водорода и гидроксила из молекул воды в
результате реакции диссоциации воды, на скорость которой влияет как
напряженность электрического поля, так и природа ионогенных групп мембраны и
каталитических добавок. Получившиеся ионы водорода и гидроксила мигрируют их
области пространственного заряда в катионообменный слой (ионы водорода) и в
анионообменный слой (ионы гидроксила). То есть биполярную мембрану можно
представить как электрохимический реактор, способный разделять продукты реакции
и выводить их за пределы реакционной зоны. На этом важном свойстве биполярных
мембран основано их применение в установках для электродиализа и коррекции pH [12, 22, 31].
Но на практике при протекании электрического тока через биполярную
мембрану кроме основного процесса - диссоциации молекул воды происходит еще и
перенос ионов соли. Этот процесс является нежелательным процессом, так как он
приводит к снижению выхода ионов Н+ и ОН- по току, а
также к загрязнению получаемых кислот, щелочей и оснований [7]. Числа переноса
ионов соли через биполярные мембраны зависят от природы и тощины
катионообменного и анионообменного слоёв, из которых изготовлена мембрана.
.1.1 Строение
и свойства монополярных областей
Для создания биполярных гетерогенных мембран могут использоваться
различные типы ионообменных монополярных мембран и их различное сочетание. Так
к гетерогенным биполярным мембранам относятся отечественные мембраны МБ-1,
МБ-2, МБ-3, монополярные слои которых идентичны выпускаемым монополярным
катионообменным (МК-40, МК-41) и анионообменным (МА-40, МА-41) мембранам в
различном сочетании таблица [1].
Таблица 1
Характеристики промышленных биполярных мембран
|
Марка БПМ
|
КО мембрана АО мембрана
|
Ионогенные группы
|
|
МБ-1
|
МК-40 МА-40
|
-SO3H ºN,=NH,-NH2
|
|
МБ-2
|
МК-40 МА-41
|
|
МБ-3
|
МК-41 МА-41
|
-PO3H2,-PO3H-, -N+(CH3)3
|
Электрохимические свойства монополярных слоев БПМ обусловливают
способность противоионов и коионов участвовать в процессах переноса.
Присутствие в мембране коионов связано с поглощением электролита мембраной из
раствора, как гелевыми участками (доннановское равновесие), так и межгелевыми
промежутками. При протекании электрического тока коионы могут переноситься в
гетерогенной мембране за счет миграции в электрическом поле, а также диффузией,
в основном по межгелевым промежуткам, что и является причиной неселективного
переноса ионов соли через монополярные слои БПМ.
Селективность монополярных слоев в значительной мере определяется степенью
диссоциации фиксированных групп и их концентрацией [2]. Чтобы уменьшить перенос
ионов соли через биполярную мембрану в качестве катионообменного и
анионообменного слоев используются мембраны с сильнокислыми и сильноосновными
группами. Диссоциация этих групп подавляется в меньшей степени, чем
слабокислотных (карбоксильных) и слабоосновных (первичные, вторичные, третичные
аминогруппы), когда биполярная мембрана находится в контакте с раствором
кислоты и щелочи.
Использование монополярных слоев, содержащих в своем составе ионогенные
группы с высокой степенью диссоциации, позволяет повысить числа переноса ионов
Н+ и ОН- через биполярную мембрану, но приводит к
высокому рабочему напряжению наней, что делает ее непригодной для практического
применения. С другой стороны, рабочее напряжение на биполярной мембране мало в
случае применения в катионообменном слое фосфоновых (слабокислотных) ионогенных
групп или третичных аминогрупп (слабоосновных) в анионообменном слое, однако в
этом случае возрастают числа переноса ионов соли через мембрану вследствие
подавления степени диссоциации ионогенных групп, снижения обменной ёмкости
катионообенного и анионообменного слоя и увеличения концентраций ионов соли за
счёт их необменной сорбции в этих слоях. Таким образом, требования к составу
катионообменного и анионообменного слоев биполярной мембраны с точки зрения
чисел переноса ионов и рабочего напряжения на мембране являются взаимно
противоположными [4].
Увеличение чисел переноса коионов соли при увеличении концентрации электролитов
в прилегающих к мембране растворах можно объяснить тем, что при этом
концентрация коионов на границе мембрана - раствор со стороны мембраны
увеличивается, и в фазе мембраны увеличивается градиент концентрации коионов [4].
Таким образом, с увеличением концентрации внешних растворов увеличивается как
миграционный, так и диффузионный поток.
Так как диффузионный поток слабо зависит от плотности тока, то при
высоких плотностях тока числа переноса коионов становятся намного меньше, чем
числа переноса ионов водорода и гидроксила [10]. Это связано с малым вкладом
диффузионного потока вещества к биполярной границе в общий поток при больших
плотностях тока. Дальнейшие исследования показали [6], что перенос коионов соли
при поляризации БПМ происходит в основном по межгелевым промежуткам и порам.
Уменьшение количества ионизированных групп (например, вследствие разогрева
мембраны, как у МБ-2, и частичного дезаминирования) приводит к увеличению числа
переноса коионов [6] вследствие увеличения доннановской (необменной) сорбции.
Перенос двухзарядных ионов через БПМ намного меньше однозарядных,
вследствие их большего электростатического отталкивания от одноименно
заряженных фиксированных ионов в тех слоях БПМ, где они являются коионами [2].
.1.2 Механизм
диссоциации воды в биполярных мембранах
Существует несколько моделей строения биполярной области: модель
«нейтрального» слоя, модель области пространственного заряда, модель
гетерогенной биполярной границы.
Модель области пространственного заряда описывает область контакта
катионообменника и анионообменника как аналог p-n перехода на границе раздела
полупроводников р- и n-типа [24]. В этой области формируется двойной
электрический слой - область пространственного заряда - с высокой
напряжённостью электрического поля. Распределение электрического потенциала
Е(x) в ОПЗ в этой модели описывается системой уравнений Пуассона - Больцмана.
Решение этой системы уравнений в приближении Шоттки (ОПЗ рассматривается как
истощенный по носителям заряда слой, предполагается, что в ОПЗ отсутствуют
подвижные ионы и объемный электрический заряд обусловлен только фиксированными
ионогенными группами монополярных мембран) имеет вид
(1)
где N± - концентрация ионогенных групп в анионообменном и
катионообменном слоях БПМ;
lа,к -
толщина анионообменной и катионообменной части ОПЗ;
е - заряд электрона;
e - диэлектрическая проницаемость ОПЗ;
e0 -
диэлектрическая проницаемость вакуума.
Протяженность реакционного слоя находится по величине падения потенциала
(Dj = Dj0 +hb) в
биполярной области
(2)
где Dj0 - падение потенциала в ОПЗ в
отсутствии поляризации;
hb -
перенапряжение биполярной области.
Влияние напряженности электрического поля в области пространственного
заряда биполярных мембран на константу скорости диссоциации молекул воды было
впервые учтено в работах Тимашева и сотр. [24]
Неявным образом модель включает катализ диссоциации воды ионогенными
группами, так как рассматривается гетеролитическая реакция на активных центрах.
Константа скорости прямой реакции k0 в анионо- и катионообменнике в
отсутствии поля превосходит константу скорости гомогенной диссоциации воды.
Зависимость k1 от напряженности E электрического поля описывается
уравнением
,(3)
или
,(4)
где kb - постоянная Больцмана;- абсолютная температура;
a и b - характерные
параметры.
Уравнение для вольт-амперной характеристики, полученное в работе [24] в
предположении, что лимитирующей стадией является разложение молекул воды на
активных центрах, хорошо совпадает с экспериментальными данными для МБ-1 в
области высоких плотностей тока. Однако при средних и малых плотностях тока
совпадение неудовлетворительное. Это вызвано тем, что исследования в [24]
проводились при высоких концентрациях электролита и вклад ионов соли в перенос
через мембрану был велик. Кроме того, перенапряжение на биполярной области
отождествлялось с перенапряжением на всей мембране, так как метод измерения
статической ВАХ мембраны в целом не позволяет выделить падение потенциала в
ОПЗ. При описании биполярной области мембраны авторы пренебрегают в ней
рекомбинацией ионов H+ и OH- , вследствие чего при
отсутствии внешнего поля на мембране (перенапряжение на мембране равно нулю),
получим отличную от нуля плотность тока, т.к. Dj0 имеет конечное значение.
Модель [24] позволяет рассчитать значения a и k0, для чего необходимо построить график
в координатах «логарифм плотности тока» - «корень квадратный из разности
потенциалов в переходной области». Однако данная зависимость является
прямолинейной лишь при высоких значениях плотности тока.
Более общим и точным в широком диапазоне плотностей тока является
уравнение вольт-амперной характеристики, выведенное в работе Умнова, Шельдешова
и Заболоцкого [34]:
,(5)
где Em - максимальная напряженность электрического поля в
месте контакта катионообменника и анионообменника:
.(6)
Уравнение, выведенное в [34] отличается от уравнения, предложенного в [24],
тем, что учитывает протекание реакции рекомбинации ионов водорода и гидроксила
в ОПЗ биполярной мембраны и поэтому одинаково хорошо применимо как к области
больших, так и малых плотностей тока.
Модель гетерогенного биполярного контакта описывает существование в
мембране каналов проводимости, образованные контактирующими друг с другом
ионопроводящими участками [20]. Часть каналов не соединены между собой и
поэтому не являются ионопроводящими участками, поэтому появление проводящих
каналов подчиняется некоторому распределению вероятности. Вероятность
образования проводящего канала связана с вероятностью выхода зерен на
поверхность и определяется степенью наполнения мембран.
.2 Катализ
диссоциации воды в биполярных мембранах
Большие величины плотностей тока по ионам водорода и гидроксила,
наблюдаемые на биполярных мембранах, невозможно объяснить протеканием реакции
автопротолиза воды
так как ток, обеспечиваемый такой реакцией, на много порядков меньше, чем
наблюдаемый.
.2.1 Катализ
диссоциации воды ионогенными группами в биполярных мембранах
В.П. Гребень и соавторы [5] предположили, что ионогенные группы могут
непосредственно участвовать в реакции диссоциации воды, ускоряя ее. Они
исследовали методом вольтамперометрии биполярные мембраны, содержащие
сульфоновые, карбоксильные и фосфоновые группы, и сделали вывод, что уменьшение
разности потенциалов на мембранах в ряду
- SO3H > -
COOH > - PO(OH)2
pKa 1 ¸ 2 4 ¸ 6 3,5; 7
Dj (4 А/дм2), В 4 ¸ 18 2,0 ¸ 3,2 1,1 ¸ 1,7
можно объяснить снижением энергетического барьера взаимодействия
ионогенных групп с молекулами воды при увеличении в том же ряду значений pKa
катионообменных групп за счет протекания реакций в катионообменном слое
RAH + H2O
RА-…Н3О+↔ RА- + Н3О+
RA- + H2O
RАН…ОН- ↔ RАН + ОН-
и в анионообменном слое
RKOH
RKН+…ОН-
↔ RKН+ + ОН-
RK+ + 2H2O
RKOH …Н3О+↔ RKOH + Н3О+
где RA- и RK+ - заряженные формы ионогенных групп соответственно в
катионообменном и анионообменном слоях.
Ионогенная группа и молекула воды образует активированный комплекс, за
счет образования которого энергетический барьер диссоциации воды понижается
На роль ионогенных групп мембран в диссоциации воды впервые было указано
в [5] (таблица 2), где было объяснено различное поведение катионо- и
анионообменных мембран.
Расчетом по известным константам диссоциации ионогенных групп и
константам скоростей было показано, что константа скорости диссоциации воды на
третичных аминогруппах на несколько порядков больше, чем в чистой воде, в то
время как на четвертичных аммониевых группах диссоциация воды невозможна.
Таблица 2
Реакции между ионогенной группой и водой, протекающие в ОПЗ [11]
|
Вид реакции и равновесные
константы диссоциации
|
|
Вода
|
|
|
Сульфокислотные ионогенные
группы
|
|
|
Карбоксильные ионогенные
группы
|
|
|
Фосфорнокислотные
ионогенные группы
|
|
|
|
|
Третичные аминогруппы
|
|
|
Вторичные аминогруппы
|
|
|
Первичные аминогруппы
|
Сульфокислотные группы катионообменных мембран не обеспечивают заметного
ускорения реакции диссоциации воды [5, 7]. Так в ОПЗ биполярных мембран
возможны каталитические реакции диссоциации воды с участием ионогенных групп,
содержащихся в мембране, (таблица 2).
Сравнение констант лимитирующих стадий этих реакций с константой скорости
автопротолиза молекул воды показывает, что ионогенные группы обеспечивают
ускорение реакции диссоциации на 4 - 7 порядков.
Среди катионообменных групп фосфорнокислотные группы, а среди
анионообменных - третичные аминогруппы способны наиболее эффективно ускорять
реакцию диссоциации воды, снижая тем самым сопротивление биполярной мембраны.
.2.2 Катализ
диссоциации воды малорастворимыми гидроксидами d-металлов
Как было сказано выше, константа скорости диссоциации молекулы воды
определяет напряжение на биполярной мембране, чем она больше, тем меньше
напряжение на мембране [34]. В работе [40] было впервые предложено введение
малорастворимых гидроксидов d-металлов в БПМ для снижения напряжения на ней. В
дальнейшим изучение влияния малорастворимых гидроксидов на монополярные и на
биполярные мембраны было исследовано многими авторами как иностранными, так и
российскими.
Образующийся в процессе электродиализа природной, в частности морской
воды на поверхности мембраны осадок гидроксидов тяжёлых металлов может изменять
условия, в которых протекает реакция диссоциации молекулы воды. Это явление
было изучено автором [35, 36]. Результаты исследований влияния гидроксидов
различных металлов на процесс диссоциации воды показали, что такие гидроксиды
как Mg(OH)2, Ni(OH)2, Fe(OH)3, Co(OH)2, Al(OH)3, осаждающиеся на поверхности катионообменной
мембраны, вызывают ускорение реакции диссоциации воды. Причиной этого явления,
по мнению авторов, является взаимодействие ионов OH-, генерируемых в реакционном слое между мембраной и слоем
осадка. Но сам механизм реакции в [35, 36] так и не был установлен.
В работах Шельдешова Н.В., Заболоцкого В.И. и Ганыч В.В. было изучено влияние
малорастворимых гидроксидов на катионообменную мембрану МК-40 и влияние
соединений d-металлов в системе раствор - анионообменная мембрана МА-40 на
реакцию диссоциации молекулы воды [1, 30]. Был также предложен механизм, по
которому происходит увеличение скорости диссоциации молекулы воды, включающего
каталитическое действие частиц гидроксидов металлов [30]:


(7)


(8)
В работе Мельникова С.С. и соавторов [18] было исследовано влияние
гидроксидов переходных металлов Cu2+, Fe3+, Cr3+, Ni2+ на скорость диссоциации молекулы воды в ассиметричной
биполярной мембране, полученных электрохимическим методом. Авторы расширили
каталитический ряд ионогенных групп мембран, предложенный в [9], дополнив его
гидроксидами металлов [18]:
.3 Процессы с
применением биполярных мембран
Электромембранные способы получения кислот, щелочей и оснований с
применением биполярных мембран из соответствующих солей и воды по реакции:
+ H2O ®
KOH + HA
имеют ряд преимуществ по сравнению с классическими электрохимическими.
Типичная последовательность мембран в электродиализных аппаратах, реализующих
эти способы (рисунок 1). При наложении электрического поля на такой аппарат
биполярная мембрана генерирует ионы водорода и гидроксила
2O
® H+ + ОH-.
Анионы соли, мигрирующие из камеры 3 через анионообменную мембрану, и
ионы водорода, мигрирующие через катионообменную область биполярной мембраны, в
камере 4 образуют кислоту. Аналогичный процесс, но с участием ионов гидроксила
и катионов соли приводит к образованию щёлочи в камере 5 и 7.
Отвод образующихся растворов кислоты и щёлочи из аппарата осуществляется
промывкой камер 4, 5, 7 дистиллятом или разбавленным раствором кислоты и
щёлочи. Через камеры 2, 3, 6 циркулирует раствор исходной соли. В процессе
работы электродиализного аппарата концентрация соли и объём воды в камерах 2,
3, 6 уменьшается и для поддержания стационарного режима работы в эти растворы
необходимо добавлять новые порции соли и воды. Вода из камеры 3 и 6 удаляется в
виде гидратной воды вместе с ионами, уходящими через катионообменную и
анионообменную мембрану, и электроосмотически.
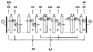
Рисунок 1 - Схема мембранного пакета электродиализного аппарата для
получения сильнодиссоциирующих кислот и щелочей
Главное преимущество электродиализного способа получения кислот и щелочей
заключается в том, что в элементарной ячейке (3-6) нет металлических
электродов, а значит, растворы не загрязняются продуктами их разрушения.
Газовыделение, которое особенно опасно в случае образования на аноде таких
окислителей, как хлор к кислород, также отсутствует. В растворах 3, 4, 5, 6
сохраняются ионы, которые могли бы окислиться или восстановиться на электродах.
Элементарная ячейка 3-6 может повторяться в пакете электродиализатора
неограниченное число раз, при этом пакет содержит только один катод и анод.
Для получения слабодиссоциирующих кислот и оснований в основном
применяются более простые схемы электродиализного пакета, имеющие двухкамерную
элементарную ячейку (рисунок 2).
Рисунок 2 - Схема мембранного пакета электродиализного аппарата для
получения слабодиссоциирующих оснований из солей
При работе такой ячейки ионы водорода, поступающие в камеру 2,
связываются в слабодиссоциирующую кислоту и не проникают в камеру 1. Выход по
току и концентрация слабодиссоциирующей кислоты в этом случае значительно выше,
чем сильнодиссоциирующей кислоты, получаемой в aппаpaтe, изображённом на
рисунке 2. Концентрация слабодиссоциирующей кислоты ограничена только её
растворимостью. В этих способах синтеза кислот и оснований предъявляются
повышенные требования к числам переноса органических ионов через мембраны, так
как их утечка через мембраны приводит к потере продукта.
Исследованы процессы получения слабодиссоциирующих кислот: уксусной
кислоты из ацетата натрия, щавелевой кислоты из оксалата натрия, борной кислоты
из тетрабората калия, лимонной, салициловой, глюколивой, молочной,
аскорбиновой.
Ряд оснований, полученных с помощью электродиализа с биполярными
мембранами несколько уже, чем ряд кислот: исследованы процессы получения
пиридина и триэтаноламина, этилендиамина и полиэтиленполиаминов из их солей.
Применение биполярных мембран позволяет обессоливать растворы и получать
деионизованную воду, а также одновременно с обессоливанием раствора
корректировать рН обрабатываемых растворов.
1.4 Методы
исследования биполярных мембран
В процессе синтеза новых БПМ большое внимание должно быть уделено
исследованию свойств полученных образцов для последующего выбора условий
синтеза, обеспечивающих улучшение электрохимических характеристик синтезируемых
мембран. Актуальной задачей является выбор среди известных методов исследования
тех, которые позволяют получить необходимую и достаточную информацию о
свойствах мембран при минимальных затратах времени. Принципы изучения основных
электрохимических свойств достаточно подробно описаны в литературе [2, 7, 24]. диссоциация биполярный электрохимический импеданс
БПМ должны обладать следующими электрохимическими свойствами: низким
сопротивлением в режиме генерации ионов, низкими числами переноса коионов соли
и способностью сохранять свойства при контакте с концентрированными растворами
кислот и щелочей.
.4.1 Метод
вольт-амперометрии
Метод вольт-амперометрии, широко применяемый в классической электрохимии
[19], применяется и в мембранной электрохимии, в частности для исследования
биполярных мембран. Вид вольт-амперной характеристики (ВАХ) определяется
структурой мембраны и природой процессов, протекающих в ней при поляризации
электрическим током. Падение потенциала на мембране представляет собой сумму
нескольких составляющих: потенциалов Доннана на границах мембрана - раствор,
омического падения напряжения на монополярных слоях, которое определяется структурой
слоёв и типом носителя заряда; падением потенциала на биполярной границе.
При поляризации БПМ током в переносе участвуют главным образом ионы Н+
и ОН-. Скорость реакции диссоциации, протекающей в области
пространственного заряда, определяет количество переносчиков тока, что
отражается на виде ВАХ. Измерение ВАХ позволяет исследовать лимитирующие стадии
процесса диссоциации воды, которые связаны с: переносом воды из объема раствора
к биполярной границе; реакцией диссоциации молекул воды; миграционным выносом
продуктов реакции под действием электрического поля. При высоких плотностях
тока, либо высоких скоростях развертки ВАХ (0,943 А/(дм2·с))
достигается предельный ток, связанный замедленной доставкой воды в зону
реакции. Измерение ВАХ биполярной области позволяет исследовать реакцию
диссоциации воды, которая протекает на активных центрах в ОПЗ [10, 24].
Наиболее простым методом изучения зависимости падения напряжения на
мембране в целом от плотности тока является изучение статических и динамических
вольтамперных характеристик [5, 7].
.4.2 Метод
частотного спектра электрохимического импеданса
Применение метода связано с измерением отклика объекта исследования на
действие переменного электрического тока, в некоторых случаях наложенного на
постоянный электрический ток.
В электрохимии развитие метод получил как инструмент для изучения
механизма и кинетики электродных реакций [3, 19]. Для описания частотных
спектров импеданса наиболее простых электрохимических систем был разработан
подход для описания кинетики различных реакций - метод эквивалентных схем.
Простота такого описания позволила применить импеданс для исследования кинетики
различных электрохимических процессов. Этот подход был использован и при
исследовании биполярных мембран [8] для выделения из общего импеданса и
перенапряжения на мембране импеданса и перенапряжения биполярной области.
Подход, изложенный в работах [3, 5] позволяет исследовать гетерогенную
химическую реакцию, которая протекает на биполярной границе, а также определить
парциальные вольтамперные характеристики монополярной и биполярных областей [7,
8]. Выделение перенапряжения биполярной области позволило развить теорию
строения реакционной области биполярной мембраны - ОПЗ [34].
Метод импеданса позволил оценить сверху толщину слоя (£ 1 нм), который предположительно разделяет
катионообменный и анионообменный слои в двухслойной биполярной мембране,
толщину модифицирующего слоя в перфторированных мембранах, геометрию пор,
радиус, глубину и число пор, удельную поверхность пористой угольной мембраны и
пористого титанового электрода, а также истинную площадь поверхности твердых
тел.
С помощью данного метода можно рассчитать кинетические константы реакции
диссоциации молекул воды, релаксация которой в реакционном слое вносит свой
вклад в частотный спектр, однако этот расчет возможен при условии корректной
расшифровки эквивалентной схемы мембранной системы с учетом всех основных
процессов, протекающих на мембране, и структурных особенностей межфазной
границы.
Несмотря на успешное моделирование отдельных процессов, до сих пор
отсутствует описание системы мембрана/раствор, достаточно полное как для
расчета кинетических констант реакции диссоциации воды, так и для расчета
параметров, характеризующих область пространственного заряда и реакционный слой
из-за большого числа параметров, от которых зависит частотный спектр импеданса
[27].
Заключение по аналитическому обзору:
Анализ литературных данных показывает, что способность ионообменных БПМ к
генерации ионов Н+ и ОН- находит многочисленные применения
в технологических процессах. Однако внедрение биполярного электродиализа часто
ограничивается высокой себестоимостью мембран.
Выходом могло бы служить использование относительно не дорогих, по
сравнению с гомогенными, гетерогенных мембран. Но их практическое применение
ограничивается несбалансированными электрохимическими характеристиками:
перенапряжением биполярной области, общим падением потенциала на мембране,
выходом по току Н+ и ОН- и числами переноса ионов соли.
Так промышленная гетерогенная биполярная мембрана МБ-2 имеет высокое напряжение
даже при небольшой плотности тока, делающее невозможным её практическое
применение, хотя и высокие числа переноса ионов водорода и гидроксила. Мембрана
МБ-3, напротив, имеет низкое рабочее напряжение, однако низкие числа переноса
ионов водорода и гидроксила в растворах кислоты и щелочи с концентрацией выше
0,5 М даже при высоких плотностях электрического тока (выше 2 А/дм2).
Кроме того при производстве этой мембраны используется катионит КФ-1, который
имеет высокую стоимость и сложен в синтезе.
Таким образом, задача получения новых биполярных мембраны с улучшенными
электрохимическими характеристиками является актуальной. Для её решения
необходим поиск недорогих исходных материалов, пригодных для использования в
качестве катионообменного и анионообменного слоя биполярной мембраны, а также
материалов, обладающих высокой каталитической активностью по отношению к
реакции диссоциации молекул воды на межфазной границе катионообменник -
анионообменник.
Согласно известным теоретическим представлениям, для повышения чисел
переноса ионов водорода и гидроксила в биполярных мембранах они должны
содержать в составе монополярных слоев сильнокислотные и сильноосновные
ионогенные группы. Эффективным способом улучшения электрохимических
характеристик гетерогенных биполярных мембран, а именно снижения их рабочего
напряжения является введение в их биполярную области каталитических добавок
таких как малорастворимые гидроксиды d-металлов, а также катионита с фосфорнокислотными группами. Константа
скорости реакции диссоциации молекул воды в биполярных мембранах может
возрастать на несколько порядков, по сравнению с исходными мембранами и для
мембран, содержащих каталитическую добавку.
Анализ имеющейся научно-технической литературы показывает, что для
исследования электрохимических характеристик получаемых биполярных мембран
необходимо применять:
метод вольт-амперометрии, позволяющий определить и выбрать наименьшее
общее напряжение на биполярной мембране, знание которого позволяет получать кислоту
и щелочь с наименьшими энергозатратами;
метод частотного спектра электрохимического импеданса, с помощью которого
можно измерить сопротивление биполярной области и перенапряжение на ней, что
позволяет оценить эффективность использованной при получении биполярной
мембраны каталитической добавки.
Электрохимические характеристики мембран с каталитическими добавками в
виде малорастворимых гидроксидов и их влияние на скорость диссоциации молекулы
воды исследовались многими авторами. Однако количество и размер частиц этих
соединений в известных работах не учитывался, или не мог быть определён.
Поэтому целью данной работы являлось:
исследовать влияние малорастворимых гидроксидов d-металлов различной природы, при условии, что количества
внесённых гидроксидов и гранулометрический состав порошков одинаковы, на
электрохимические характеристики биполярных мембран: на частотные спектры
электрохимического импеданса, парциальные вольт-амперные характеристики
биполярных областей мембран и эффективные скорости диссоциации молекул воды в
биполярных мембранах;
исследовать влияние количества внесённого гидроксида железа (III) заданного гранулометрического
состава на электрохимические характеристики биполярных мембран.
Задачей работы являлась разработка метода выделения заданной фракции из
исходного порошка гидроксида металла, а также разработка способа нанесения
этого гидроксида на поверхность мембраны.
2.
ЭКСПЕРИМЕНТАЛЬНАЯ ЧАСТЬ
.1 Объекты
исследования
Объектами исследования являлись аналоги биполярной мембраны МБ-2 полученные
прессованием катионообменных и анионообменных мембран Ralex CMH и Ralex AMH,
произведённые в Чехии, с предварительным модифицированием соединениями
переходных металлов Fe+3, Cu2+, Cr2+, Ni2+.
Рисунок 3 - Оптическое изображение среза БПМ, модифицированной
гидроксидом железа (III)
В качестве мембраны для модифицирования была выбран аналог биполярной
мембраны МБ-2 (рисунок 3), как имеющая наиболее высокие числа переноса ионов
водорода и гидроксила вследствие присутствия в ее катионообменном слое
сильнокислотного катионообменника КУ-2, а в анионообменном слое -
сильноосновного анионообменника АВ-17, диссоциация которых не подавляется в
растворах сильных кислот и оснований соответственно. Выбор исходных
катионообменных и анионообменных мембран в настоящее время крайне ограничен.
.2 Методика
синтеза гидроксидов переходных металлов
Гидроксиды d-металлов
получали химическим осаждением из 0,5 М и растворов соответствующих хлоридов
металлов и 1,5 М растворов гидроксида натрия, при этом протекала реакция MeCln + nNaOH = Me(OH)n↓ + nNaCl. Затем полученный осадок отфильтровывали и промывали
дистиллированной водой до pH≈7
по универсальной индикаторной бумаге [16]. Затем осадок высушивался,
измельчался в фарфоровой ступке, далее из него выделялась фракция 0-5 мкм.
.3 Методика
фракционирования порошков гидроксидов переходных металлов
Для выделения частиц гидроксидов переходных металлов из полидисперсного
порошка, полученного измельчением в фарфоровой ступке, использовалась разработанная
при выполнении данной работы лабораторная установка (рисунок 4), в которой
разделение происходило в восходящем потоке воздуха.
Рисунок 4 - Схема установки для фракционирования гидроксидов переходных
металлов: 1 - компрессор, 2 - разделительная колонна, 3 - седиментационная
колонна
Воздух подаётся компрессором в нижнюю часть разделительной колонны, в
которой находится полидисперсный порошок гидроксида переходного металла. В
нижней узкой части разделительной колонны скорость воздуха велика и в ней
образуется взвешенный слой порошка. При движении воздуха вверх в расширяющейся
конусной части разделительной колонны скорость воздуха постепенно уменьшается и
становится постоянной в средней цилиндрической части колонны. При этом вместе с
потоком воздуха вверх будут уноситься частицы порошка, имеющие радиус меньше
критического. Для расчёта этого радиуса учтём, что частицы порошка, имеющие
радиус равный критическому rкр, находятся во взвешенном состоянии,
так как их скорость седиментации
равна скорости восходящего потока
воздуха
. (9)
Такое состояние возможно при равенстве гравитационной силы
и силы трения
, действующих на частицу порошка [25]:
. (10)
Выражая обе силы через параметры воздуха и частиц порошка, получим:
, (11)
где h - динамическая
вязкость воздуха;
- линейная скорость движения воздуха;
r - плотность частицы гидроксида металла;
r0 -
плотность воздуха;
g -
ускорение свободного падения.
Из уравнения (11) следует, что критический радиус частицы равен
а линейная скорость, при которой частицы порошка, имеющие радиус, равный
критическому, находятся во взвешенном состоянии, равна:
. (13)
Рассчитанные таким образом линейные скорости использовались для расчёта
объемной скорости воздуха, подаваемого в установку компрессором.
.4 Методика
определения гистограммы распределения числа частиц порошка по диаметрам
Для определения гистограммы распределения числа частиц порошка по
диаметрам на предметном стекле для микроскопии в капле дистиллированной воды
готовили разбавленную суспензию порошка, настолько разбавленную, чтобы частицы
порошка в ней практически не образовывали конгломератов. Каплю суспензии
накрывали покровным стеклом.
Оптические изображения частиц исходной суспензии, полученной измельчением
в фарфоровой ступке, и после фракционирования получали в проходящем свете с
помощью микроскопа Альтами БИО2 при увеличениях объектива ´4, ´10, ´40, с использованием цифровой
окулярной 5.1 Мпикс USB камеры
UCMOS05100KPA-U-NA-N-C-SQ-NA.
Диаметры частиц и их число в заданных интервалах диаметров находили по
изображениям вручную. Гистограммы распределения числа частиц порошка по
диаметрам (рисунок 12) строили в программе Statistica 6.0.
.5 Методика
получения биполярных мембран
Биполярные мембраны, исследованные в работе, получались горячим
прессованием катионообменного и анионообменного слоёв. Температура прессования
составляла 120°С, давление - 15 атм. При этом уменьшение толщины мембраны по
сравнению с суммой толщин исходных катионообменной и анионообменной мембраны не
превышало 1%.
.6 Методика
измерения электрохимического импеданса
Для измерения частотного спектра электрохимического импеданса образцов
использовался виртуальный измеритель-анализатор импеданса, сопряженный с
компьютером (Рисунок 5).
Измерения действительной и мнимой части импеданса проводились в диапазоне
частот переменного тока 5-1МГц на фиксированных частотах, распределенных
равномерно в логарифмическом масштабе. Амплитуда измерительного переменного
тока составляла 200 мВ. Относительная погрешность измерения модуля импеданса
составляла не более 5%.
В данной работе частотный спектр импеданса биполярной мембраны измерялся
при температуре 25ºС в проточной электрохимической ячейке с концентрацией
соляной кислоты и гидроксида натрия 0,5 моль/л.
Растворы располагались таким образом, чтобы со стороны катионообменной
мембраны в биполярной мембране находился раствор кислоты, а со стороны
анионообменной мембраны щёлочь.
Рисунок 5 - Виртуальный измеритель-анализатор частотных спектров
импеданса, сопряженный с компьютером
На рисунке 6 показано взаимное расположение мембран, электродов и
растворов.
Рисунок 6 - Схема проточной четырёхэлектродной ячейки ивзаимное
расположение в ней мембран: 1 - поляризующие электроды, 2 - вспомогательные
мембраны, 3 - измерительные электроды, 4 - исследуемая мембрана
.7 Методика
расчета парциальных по перенапряжению вольт-амперных характеристик биполярных
мембран
Частотный спектр импеданса мембраны позволяет выделить из общего
сопротивления мембраны дифференциальное сопротивление биполярной области и дифференциальное
сопротивление монополярных областей [28]. Для этого экстраполяцией каждого
частотного спектра импеданса на «нулевую» и «бесконечную» частоту находят
сопротивление монополярных областей R¥ и биполярной области Rб = R0 - R¥ (рисунок 7).
Рисунок 7 - Типичный спектр электрохимического импеданса биполярной
мембраны
Далее по зависимости дифференциальных сопротивлений биполярной области,
монополярных областей и всей мембраны от плотности тока (рисунок 8а) по формуле
(14) рассчитывают парциальные вольт-амерные характеристики биполярной области,
монополярных областей и всей мембраны (рисунок 8б).
(14)

а б
Рисунок 8 - Расчёт парциальной
вольт-амперной характеристики биполярной области мембраны - аналога МБ-2
а - зависимость сопротивление биполярной области от силы тока;
б - парциальная вольтамперная характеристика по перенапряжению биполярной
области мембраны
.4 Методика
расчёта эффективных констант скорости диссоциации молекул воды биполярной
мембране
Для расчёта парциальной вольт-амперной характеристики биполярной области
в координатах «плотность тока по ионам H+, OH-» -
«перенапряжение биполярной области» использовались значения чисел перенос
биполярной мембраны - аналога МБ-2, полученные в работе [26]. Эта зависимость
позволяет корректно рассчитать эффективную константу скорости диссоциации
молекул воды в биполярной области исследуемой мембраны (рисунок 9). Для расчета
константы использовали уравнение вольт-амперной характеристики биполярной
области, предложенное в [34]:
, (15)
где kS - суммарная эффективная константа
скорости реакции диссоциации воды в области пространственного заряда в
отсутствии электрического поля;
Em - напряженность электрического поля на границе раздела катионо- и
анионообменных слоёв,
Е0 - напряженность электрического поля при нулевом
перенапряжении биполярной области;
β - энтропийный фактор;
e - относительная диэлектрическая проницаемость в области
пространственного заряда;
e0 -
абсолютная диэлектрическая проницаемость вакуума.
Параметры kΣ и β, входящие в уравнение (13), находили
минимизацией остаточной дисперсии экспериментальных точек относительно
расчётных точек
Рисунок 9 - Парциальная вольт-амперная характеристика биполярной области
мембраны - аналога МБ-2 в координатах «плотность тока по ионам H+,
OH-» - «перенапряжение биполярной области» и её аппроксимация
(линия) с помощью уравнения
3. РЕЗУЛЬТАТЫ
И ОБСУЖДЕНИЕ
.1 Результаты
определения размеров частиц порошков гидроксидов переходных металлов
Использование разработанной в данной работе лабораторной установки для
фракционирования частиц гидроксидов позволяет выделять фракции частиц с
диаметром менее 5 мкм (рисунок 10, 11) и достаточно узкой кривой распределения
по размерам (рисунок 12).
Рисунок 10 - Оптическое изображение исходной суспензии гидроксида железа
(III)
Рисунок 11 - Оптическое изображение суспензии гидроксида железа (III) с размером частиц 0-5 мкм,
полученной воздушным фракционированием исходной суспензии

а б
Рисунок 12 - Оптическое изображение суспензии гидроксида железа (III) с размером частиц 0-5 мкм,
полученной воздушным фракционированием исходной суспензии (а) и гистограмма
распределения числа частиц порошка гидроксида железа (III) по диаметрам (б)
Такие фракции гидроксидов металлов были использованы при получении
модифицированных биполярных мембран.
.2
Зависимость электрохимических характеристик биполярных мембран от количества
порошка гидроксида металла
Видно, что гидроксид железа (III), введенный в биполярную мембрану уменьшает сопротивление биполярной
области (рисунок 13).
Рисунок 13 - Частотные спектры электрохимического импеданса биполярных
мембран, измеренные при плотности тока 0,22 A/дм2
- аналог МБ-2; мембраны модифицированные гидроксидом железа (III): 2-6,25 мг/дм2, 3-12,5
мг/дм2, 4-25 мг/дм2, 5-37 мг/дм2, 6-75 мг/дм2
Данные свидетельствуют об эффективности гидроксида железа (III) в качестве каталитической добавки
при получении модифицированных биполярных мембран.
Импеданс мембраны, в которую внесена каталитическая добавка, изменяется
линейно в зависимости от количества введенного порошка, это подтверждается
графиком зависимости обратного сопротивления биполярной области от (рисунок 14).
Так сопротивление биполярной области мембраны при внесении гидроксида железа (III) массой 75 мг/дм2
составляет 78 Ом это в 8 раз меньше по сравнению с исходной мембраной.
Сопротивление биполярной области мембраны при внесении гидроксида железа (III) массой 37 мг/дм2
составляет 175 Ом это в 4 раз меньше по сравнению с исходной мембраной.
Рисунок 14 - Зависимость обратного сопротивления биполярной области от
количества введённого гидроксида железа (III)
Более наглядную информацию об электрохимических характеристиках
биполярных мембран даёт перенапряжение на биполярной области и её парциальная
вольтамперная характеристика.
Анализ зависимостей плотности тока от перенапряжения (рисунок 15)
показывает, что у мембран с большим количеством гидроксида железа (III)
перенапряжение меньше при одной плотности тока. Так при плотности тока 0,22 A/дм2 перенапряжение на
мембране с количеством внесённого гидроксида железа (III) 75 мг/дм2 составляет 0,25 В это в 6 раз меньше чем у
мембраны с количеством внесённого порошка гидроксида 6,25 мг/дм2,
перенапряжение на которой составляет 1,5 В.
Рисунок 15 - Парциальные вольтамперные характеристики по перенапряжению
биполярной области мембраны, модифицированные разным количеством гидроксидом
железа (III)
- аналог МБ-2, мембраны с количеством гидроксида железа (III)
- 6,25 мг/дм2, 3-12,5 мг/дм2,4-25 мг/дм2,
5-37 мг/дм2,6-75 мг/дм2
.3 Влияние
природы тяжёлого металла на электрохимические характеристики биполярной области
мембран
Сравнение парциальных вольт-амперных характеристик биполярной области
мембран показывает (рисунок 16), что природа гидроксида, введённого в
биполярную область мембраны, слабо влияет на перенапряжение на ней. Так при
плотности тока 2,2 A/дм2 разница между перенапряжением на мембране с
гидроксидом хрома (III) и гидроксидом кобальта (III) составляет 1,21 В, в то
время как перенапряжение на исходной мембране при той же плотности тока
составляет 9,16 В.
Рисунок 16 - Парциальные вольтамперные характеристики по перенапряжению
биполярных областей мембран
Мембраны, модифицированные гидроксидами d-металлов: 1 - кобольта (III), 2 - железа (III), 3 - никеля (II), 4 - хрома (III),
5 - мембрана аналог МБ-2
Таким образом, введение малорастворимых гидроксидов металлов в биполярную
мембрану приводит к улучшению её электрохимических характеристик. Введение
гидроксидов способствует уменьшению сопротивления биполярной области, а также
снижает напряжение на мембране. Природа гидроксида влияет на характеристики
мембраны незначительно, в то же время прослеживается заметное улучшение
характеристик при увеличении количества введённого гидроксида.
.4
Исследование каталитической активности гидроксида железа(III) при длительном использовании
модифицированной биполярной мембраны
Длительное использование для получения кислот и щелочей из солей
биполярных мембран, содержащих в качестве модифицирующей добавки гидроксиды
металлов, возможно в том случае, если гидроксиды металлов, находящиеся в
биполярной области, не растворяются в кислой среде, которая создается в
катионообменном слое биполярной мембраны, около которого находится раствор
кислоты. Гидроксид железа(III)
является перспективной каталитической добавкой, так как позволяет существенно
снизить напряжение на биполярной мембране (рисунок 13, 15, 16), кроме того, в
отличие от соединений других тяжёлых металлов, соединения железа(III) представляют наименьшую опасность
для человека. Именно поэтому в данной работе была исследована устойчивость
гидроксида железа(III) при
длительном использовании модифицированной им биполярной мембраны в
кислотно-щелочной системе.
Установлено, что в системе 0,5 М HCl - 0,5 М NaOH при плотности тока 1,1 А/дм2 сопротивление биполярной области
такой мембраны практически постоянно в течение 9 часов (рисунок 17), что
свидетельствует о стабильности гидроксида железа(III) в биполярной области в процессе получения соляной
кислоты и гидроксида натрия из хлорида натрия.
Рисунок 17 - Зависимость сопротивления биполярной области биполярной
мембраны, содержащей 25 мг/дм2 гидроксида железа(III) при плотности тока 1,1 А/дм2
от времени в системе 0,5 М HCl -
0,5 М NaOH
Таблица 3
Эффективные константы скорости диссоциации молекулы воды в биполярных
мембранах, модифицированных различным количеством гидроксида железа (III)
|
Тип мембраны
|
k∑,
1/с
|
β,
м/В
|
|
Аналог МБ -2
|
6,0
|
3,6
|
|
Fe(OH)3
6,25 мг/дм2
|
17,0
|
2,3
|
|
Fe(OH)3
12,5 мг/дм2
|
47,5
|
1,8
|
|
Fe(OH)3
25мг/дм2
|
53,5
|
2,0
|
|
Fe(OH)3
37,5 мг/дм2
|
62,1
|
2,0
|
|
Fe(OH)3
75 мг/дм2
|
134
|
2,0
|
Рисунок 18 Зависимость эффективной константы диссоциации молекулы воды в
биполярной мембране от количества внесённого гидроксида железа (III)
Таблица 4
Эффективных констант скорости диссоциации молекулы воды в биполярных
мембранах, модифицированных гидроксидами разной природы
|
Тип мембраны
|
k∑,
1/с
|
β·109, м/В
|
|
Аналог МБ -2
|
6,0
|
3,6
|
|
Fe(OH)3
25мг/дм2
|
53,5
|
2,0
|
|
Co(OH)3
25мг/дм2
|
48,9
|
2,0
|
|
Ni(OH)2
25мг/дм2
|
42,3
|
2,0
|
|
Cr(OH)3
25мг/дм2
|
38,9
|
2,1
|
ЗАКЛЮЧЕНИЕ
Разработан метод и изготовлена лабораторная установка для разделения
порошков на фракции по размерам частиц и равномерного нанесения частиц на
мембраны. Метод и установка использованы для получения фракций гидроксидов
тяжёлых металлов с диаметром частиц в диапазоне 0-5 мкм и нанесения их на
катионообменную мембрану, которая использовалась для получения модифицированных
биполярных мембран.
Обнаружено, что введение малорастворимых гидроксидов d-металлов (хрома (III), кобальта
(III), железа (III), никеля(II)) в виде порошка массой 25 мг/дм2 в
область контакта катионообменной и анионообменной мембраны в биполярной
мембране уменьшает перенапряжение на ней с 9,0 В на исходной мембране до
8,0-6,7 В при плотности тока 2 А/дм2. Показано, что введение
малорастворимых гидроксидов хрома (III), кобальта (III), железа (III),
никеля(II) в биполярную область мембран примерно на порядок (с 6 с-1
до 39-54 с-1) увеличивает эффективную константу скорости диссоциации
молекул воды.
Показано, что эффективная константа скорости диссоциации молекул воды в
биполярных мембранах, модифицированных гидроксидом железа (III) линейно
возрастает с увеличением количества нанесённого порошка гидроксида железа.
Установлено, что в системе 0,5М HCl - 0,5М NaOH при плотности тока 1,1А/дм2
сопротивление биполярной области такой мембраны практически постоянно в течение
9 часов, что свидетельствует о стабильности гидроксида железа(III) в биполярной области в процессе
получения соляной кислоты и гидроксида натрия из хлорида натрия.
СПИСОК
ИСПОЛЬЗОВАННЫХ ИСТОЧНИКОВ
1. Ганыч В.В. Электролитическая
диссоциация молекул воды в системе раствор - анионообменная мембрана МА-40 ,
модифицированная ионами переходных металлов / В.В. Ганыч, Н.В. Шельдешов, В.И.
Заболоцкий // Электрохимия. 1992. Т. 28, №9. С. 1390-1396.
2. Гельферих Ф. Иониты. - М.: ИЛ.
1962. С. 490.
3. Графов Б.М. Электрохимические цепи
переменного тока / М.Б.М. Графов, Е.А Укше: «Наука». 1973. 128с.
4. Гребень В.П. Влияние природы ионита
на числа переноса ионов через биполярные ионообменные мембраны / В.П. Гребень, И.Г
Косякова, Пивоваров Н.Я. // Журн. прикл. химии. 1981. №2. С. 288-292.
5. Гребень В.П. Влияние природы ионита
на физико-химические свойства биполярных ионообменных мембран / В.П. Гребень,
Н.Я. Пивоваров, Н.Я. Коварский, Г.З. Нефедова // Журн. физич. химии. -
1978.Т.52. Вып. 10. - С. 2641 - 2645.
6. Гребенюк В.Д. Исследование
биполярных мембран при высоких плотностях тока // В кн. Физико-химическая
механика и лиофильность дисперсных систем. В.Д. Гребенюк, С.И. Муха, Л.И.
Кошечкина. Киев: Наукова Думка, 1971. №2. С.133-136.
7. Гнусин Н.П. Фрейдлин Ю.Г.
Исследование электрохимических свойств промышленных биполярных мембран / Н.П.
Гнусин, В.И. Заболоцкий, Н.В. Шельдешов // Журн. прикл. хим. 1980. Т.53. №5.
С.1069-1072.
8. Заболоцкий В.И. Импеданс биполярной мембраны
МБ-1 / В.И. Заболоцкий, Н.В. Шельдешов, Н.П. Гнусин // Электрохимия. 1979.
Т.15. С.1488-1493.
9. Заболоцкий В.И., Шельдешов Н.В.,
Гнусин Н.П. // Успехи химии. 1988. Т. 57. №8. С. 1403.
10. Заболоцкий В.И. Перенос ионов в
мембранах/ В.И Заболоцкий, В.В. Никоненко. М.: «Наука». 1996. С. 392.
11. Заболоцкий В.И. Влияние природы
ионогенных групп на константу диссоциации воды в биполярных ионообменных
мембранах / В.И Заболоцкий, Н.В. Шельдешов, Н.П. Гнусин // Электрохимия 1986.
Т.22. №12. С.1676-1679.
12. Заболоцкий В.И. Исследование процесса
коррекции pH разбавленных растворов электролитов
электродиализом с биполярными мембранами / В.И. Заболоцкий, С.В. Утин, Н.В.
Шельдешов, К.А. Лебедев, П.А. Василенко // Электрохимия 2011. Т.47. №3. С.1-6.
13. Зубкова Л.Б. Синтетические
ионообменные материалы / Л.Б. Зубкова, А.С. Тевлина, А.Б. Даванков. М. Химия.
1978. С. 184.
14. Кестинг Р.Е. Синтетические полимерные
мембраны. М.: Химия, 1991. С.336.
15. Ковальчук В.И. Ионный транспорт в
биполярных мембранах // Химия и технол. воды 1993. Т.15. №7-8. С.484-501.
16. Корякин Ю.В.Чистые химические
вещества //Химия. 1974.
17. Ласкорин Б.Н. Ионообменные мембраны
и их примрнение / Б.Н. Ласкорин, Н.М Смирнова. М.Н. Гантман С. 163.
«ГосАтомИздат» 1961.
18. Мельников С.С. Влияние гидроксидов
d-металлов на диссоциацию воды в биполярных мембранах С.С.Мельников, О.В.
Шаповалова, Н.В. Шельдешов, В.И. Заболоцкий // Мембраны и мембранные
технологии. 2011. Т. 1, №2. С. 149-156.
19. Методы измерения в электрохимии,
т.1 и т.2 / Под ред. Егер Э., Залкинд А. М.: «Мир» 1977.
20. Пивоваров Н.Я. Влияние
гетерогенности биполярных мембран на их вольт-амперные характеристики / Н.Я.
Пивоваров, А.П. Голиков, В.П. Гребень // Электрохимия. 1997. Т.33 №5.
С.582-589.
21. Пивоваров Н.Я. Обратный электродиализ
с использованием биполярных мембран как источник электрической энергии / Н.Я.
Пивоваров, В.П. Гребень, Н.Я. Коварский // Электрохимия 1994. Т.30. №6.
С.785-789.
23. Раузен Ф.В. Использование ионитовых
мембран для получения кислоты и щёлочи из засоленных сточных вод / Ф.В. Раузен,
С.С. Дудник // Водоснабжение и сан. техн. - 1974. - №8. - С. 12-15.
24. Тимашев С.Ф. О механизме
электролитического разложения молекул воды в биполярных мембранах / С.Ф
Тимашев, Е.В. Кирганова // Электрохимия, 1981. Т. 17. С.440-443.
25. Фролов Ю.Г. Курс коллоидной химии,
поверхностные явления и дисперсные системы // Наука, 2009. С.452
26. Шаповалова О.В. Исследование чисел
переноса ионов водорода и гидроксила через модифицированные биполярные
ионообменные мембраны / О.В. Шаповалова, Н.В. Шельдешов, В.И. Заболоцкий //
Тезисы Всероссийской научной конференции с международным участием «МЕМБРАНЫ-2013».
1-4 октября 2013 г. г. Владимир, Россия. С. 342-343.
27. Шельдешов Н.В. Перенос ионов и
диссоциация молекул воды в биполярных ионообменных мебранах: дис. … канд. хим.
наук: 02.00.05. Шельдешов Николай Викторович. - Краснодар, 1985. - 204 с.
28. Шельдешов Н.В. Установка для
комплексного электрохимического исследования ионообменных мембран / Н.В.
Шельдешов, Н.П. Гнусин, В.И. Заболоцкий // Электрохимия. - 1978. - Т. 14, №6. -
С. 898-900.
29. Шельдешов Н.В. Катализ реакции
диссоциации воды фосфорнокислотными группами мембраны МБ-3 / Н.В. Шельдешов,
В.И. Заболоцкий, Н.Д. Письменская, Н.П. Гнусин // Электрохимия. - 1986. - Т.
22. - №6. - С. 791 - 795.
30. Шельдешов Н.В., Заболоцкий В.И.,
Ганыч В.В. Влияние нерастворимых гидроксидов металлов на скорость реакции диссоциации
воды на катионообменной мембране / Н.В. Шельдешов, В.И. Заболоцкий, В.В. Ганыч
// Электрохимия. 1994. Т. 30, №12. С. 1458-1461.
31. Шельдешов Н.В. Биполярные
ионообменные мембраны. Получение. Свойства. Применение / Н.В. Шельдешов, В.И.
Заболоцкого // Мембраны и мембранные технологии / Коллектив авторов. Отв.
редактор А.Б. Ярославцев. М.: Научный мир, 2013. 612 с.
32. Шендрик О.Р. Модифицирование
монополярных ионообменных мембран для генерации ионов водорода и гидроксила /
О.Р. Шендрик, М.И. Пономарев, В.Д Гребенюк // Журн. прикл. химии. 1987 Т. 60.
№7. С.1486-1488.
33. Ушаков Л.Д. Электродиализ водных
растворов солей с применением биполярных мембран // В кн. Комплексные проблемы
опреснения соленых и очистки сточных вод (ВНИИ ВОДГЕО) Респ. конф. Тезисы докл.
Одесса. 1973. С.88-90.
34. Умнов В.В. Вольтамперная
характеристика области пространственного заряда биполярной мембраны / В.В.
Умнов, Н.В. Шельдешов, В.И. Заболоцкий // Электрохимия. 1999. Т. 35. №8. С. 871-878.
35. Tanaka Y. Water
dissociation in ion-exchange membrane elektrodialysis // Journal of Membranes
Science. 203. 2002. C. 227-244.
36. Tanaka Y. Acceleration
of water dissociation generated in an ion exchange membrane // Journal of
Membranes Science 303. C. 234-243.
37. Kang M.S. Electrochemical
characteristics of ion-exchange membranes coated with iron hydroxide/oxide and
silica sol // Journal of Colloid and Interface Science. 2003. Vol. 273.
C.523-532.
38. Kang M.S. Optimal
contents of inorganic substances in preparing bipolar membranes // Journal of
Colloid and Interface Science. 2003. Vol. 273. C. 533-539.
39. Trivedi G.S. Studies on
bipolar membranes // Reactive and Functional Polymers. 1996. Vol. 28, №2. P.
243-251.
40.
Simons R.
Preparation of a high performance bipolar membrane // J. Membr. Sci. 1993. V.
78. P. 13-23.
41.Simons R. The origin and
elimination of water splitting in ion exchange membranes during water
demineralization by electrodialysis. // Desalination, 1979. V.28. P.41-42.
42. Simons R. Strong
electric field effects on proton transfer between membrane-bound amines and
water. // Nature, 1979. V.280. P.824-826.
43. Simons R. Electric field
effects on proton transfer between ionizable groups and water in ion exchange
membranes // Electrochim. Acta. 1984. T. 29. C. 151-158.
44. Пат. 5227040 USA, МПК 2010 C08J 5/22 (20060101); C08J 5/20
(20060101); C25B 13/00. High performance bipolar membranes / Simons; Raymond G.; патентообладатель: Unisearch Limited (New
South Wales, AU) - №07/781,660 заявл.
25.10.1991 опубл. 13.07.1993, БД USPTO.