Организация работы железнодорожной станции
Содержание
Исходные данные
Введение
. Техническая и эксплуатационная характеристика станции
. Организация работы парка прибытия
.1 Специализация путей парка прибытия
.2 Технология обработки поездов в парке прибытия, прибывающих
в расформирование
.3 Расчет числа бригад ПТО в парке прибытия
. Организация работы сортировочной горки
.1 Определение времени расформирования состава на горке
.2 Определение горочного технологического интервала
.3 Перерабатывающая способность сортировочной горки
.4 Специализация путей сортировочного парка
. Нормирование маневровой работы
.1 Время на окончание формирования одногруппного состава
Время на окончание формирования двухгруппного состава
.3 Время на окончания формирования сборного поезда
.4 Перестановка составов из сортировочного парка в парк
отравления
.5 Технология обработки местных вагонов
.6 Расчетная потребность в маневровых локомотивах
. Технология работы парка отправления
.1 Технология обработки поездов своего формирования
5.2 Технология обработки транзитных поездов
.3 Специализация путей в парке отправления
5.4 Определение потребного количества бригад ПТО в парке
отправления
6. Суточный план-график работы станции
.1 Назначение и содержание суточного плана-графика
.2 Показатели суточного плана графика работы
.2.1 Простой транзитного вагона без переработки
.2.2 Простой транзитного вагона с переработкой
.2.3 Простой местного вагона
.2.4 Коэффициент сдвоенных операций
.2.5 Средний простой местного вагона под одной грузовой
операцией
.2.6 Норма рабочего парка вагонов
.2.7 Вагонооборот станции
.2.8 Коэффициент загрузки локомотивов
.2.9 Параметр накопления
Заключение
Список используемых источников
ИСХОДНЫЕ ДАННЫЕ
1. Схема направлений, примыкающих к сортировочной станции «Н»
2. Характеристика перегонов, примыкающих к станции «Н»
|
Перегон
|
Число главных путей
|
Средства сигнализации и
связи
|
Время хода поездов по
прилегающим перегонам, мин.
|
|
|
|
четных
|
нечетных
|
|
Н-Е
|
2
|
АБ
|
14
|
10
|
|
Н-Ж
|
2
|
АБ
|
15
|
14
|
|
Н-Л
|
1
|
ПАБ
|
12
|
10
|
3. Характеристика технических средств на станции «Н»:
- на станции расположены пункты технического осмотра и текущего
ремонта вагонов, локомотивное и вагонное депо, к станции примыкают грузовой
район и подъездной путь;
- устройства СЦБ - маршрутно-релейная централизация;
- связь машинистов маневровых локомотивов с ДСП, ДСЦ,
составительскими бригадами - двусторонняя радиосвязь;
- связь ДСП, ДСПГ с работниками - громкоговорящая
оповестительная;
- способ передачи информации о прибывающих и отправляемых
поездах - по телетайпу;
- способ получения документов - по пневмопочте;
- серия горочного локомотива -ВЛ-10, маневрового - ЧМЭ-3.
4. Расписание прибытия на станцию «Н» грузовых поездов и их
разложение (приложение А, Б, В).
5. Остатки вагонов на станции (приложение Г).
. План суточной погрузки вагонов (приложение Д).
. Некоторые характеристики переработки вагонов (приложение Е).
. Характеристика местной работы (приложение Ж).
. План формирования поездов на станции «Н» (приложение З)
. Период построения фрагмента плана-графика работы станции «Н» (приложение
К)
. Техническая характеристика станционных элементов (приложение Н).
Приложение А
Расписание прибытия на станцию «Н» четных грузовых поездов и их
разложение (с направления Е)
|
№ п/п
|
Время прибытия
|
Назначение вагонов в
составе
|
Под выгрузку
|
|
|
Н-Л
|
Л
|
М
|
П
|
О
|
Н-Ж
|
Ж
|
З
|
К
|
И
|
ТСК
|
ПП
|
|
ч
|
мин
|
|
|
|
|
|
|
|
|
|
|
|
|
|
3002
|
3
|
00
|
2
|
5
|
10
|
10
|
8
|
0
|
8
|
2
|
15
|
5
|
0
|
5
|
|
2008
|
3
|
27
|
0
|
15
|
3
|
0
|
8
|
12
|
2
|
1
|
10
|
5
|
7
|
7
|
|
2010
|
3
|
49
|
8
|
3
|
12
|
15
|
10
|
0
|
13
|
3
|
2
|
2
|
1
|
1
|
|
2706
|
4
|
40
|
0
|
0
|
0
|
0
|
70
|
0
|
0
|
0
|
0
|
0
|
0
|
0
|
|
2012
|
5
|
06
|
0
|
13
|
2
|
8
|
7
|
3
|
8
|
12
|
5
|
9
|
0
|
3
|
|
2014
|
5
|
26
|
0
|
5
|
7
|
15
|
10
|
5
|
5
|
5
|
8
|
8
|
2
|
0
|
|
2016
|
6
|
56
|
6
|
5
|
10
|
2
|
13
|
7
|
10
|
5
|
8
|
0
|
0
|
4
|
|
2018
|
7
|
16
|
0
|
11
|
5
|
10
|
3
|
2
|
8
|
5
|
9
|
12
|
2
|
3
|
|
2708
|
7
|
31
|
0
|
0
|
0
|
0
|
70
|
0
|
0
|
0
|
0
|
0
|
0
|
0
|
|
2020
|
7
|
45
|
3
|
7
|
5
|
0
|
15
|
2
|
5
|
15
|
5
|
8
|
5
|
0
|
|
2022
|
8
|
35
|
5
|
0
|
12
|
5
|
0
|
0
|
18
|
14
|
5
|
7
|
2
|
2
|
|
3004
|
8
|
45
|
2
|
11
|
4
|
2
|
15
|
1
|
10
|
15
|
5
|
5
|
0
|
0
|
|
2024
|
9
|
15
|
0
|
15
|
11
|
5
|
10
|
9
|
2
|
5
|
4
|
6
|
3
|
0
|
|
2026
|
10
|
17
|
1
|
0
|
8
|
20
|
12
|
5
|
5
|
0
|
3
|
10
|
0
|
6
|
|
2712
|
10
|
32
|
0
|
0
|
0
|
0
|
0
|
0
|
70
|
0
|
0
|
0
|
0
|
0
|
|
2028
|
11
|
06
|
0
|
10
|
5
|
0
|
7
|
0
|
12
|
8
|
13
|
10
|
2
|
3
|
|
2714
|
12
|
22
|
0
|
0
|
0
|
70
|
0
|
0
|
0
|
0
|
0
|
0
|
0
|
|
2030
|
12
|
59
|
3
|
10
|
20
|
0
|
10
|
5
|
10
|
0
|
7
|
5
|
0
|
0
|
|
2032
|
13
|
09
|
10
|
2
|
5
|
5
|
8
|
0
|
9
|
8
|
5
|
16
|
2
|
0
|
|
2716
|
14
|
54
|
0
|
0
|
0
|
0
|
0
|
0
|
0
|
0
|
70
|
0
|
0
|
0
|
Приложение Б
Расписание прибытия на станцию «Н» нечетных грузовых поездов и их
разложение (с направления Л)
|
№ п/п
|
Время прибытия
|
Назначение вагонов в
составе
|
Под выгрузку
|
|
|
Н-Е
|
Е
|
Д
|
В
|
А
|
Г
|
Б
|
Н-Ж
|
Ж
|
З
|
И
|
К
|
ТСК
|
ПП
|
|
ч
|
мин
|
|
|
|
|
|
|
|
|
|
|
|
|
|
|
|
2753
|
4
|
08
|
0
|
70
|
0
|
0
|
0
|
0
|
0
|
0
|
0
|
0
|
0
|
0
|
0
|
0
|
|
3301
|
4
|
40
|
5
|
0
|
5
|
12
|
10
|
15
|
18
|
2
|
0
|
0
|
0
|
0
|
0
|
3
|
|
2755
|
6
|
10
|
0
|
0
|
0
|
70
|
0
|
0
|
0
|
0
|
0
|
0
|
0
|
0
|
0
|
0
|
|
3405
|
6
|
40
|
6
|
10
|
16
|
0
|
20
|
1
|
10
|
4
|
0
|
3
|
0
|
0
|
0
|
0
|
|
2305
|
7
|
30
|
4
|
6
|
2
|
19
|
4
|
13
|
0
|
0
|
5
|
6
|
5
|
3
|
1
|
2
|
|
2757
|
11
|
45
|
0
|
70
|
0
|
0
|
0
|
0
|
0
|
0
|
0
|
0
|
0
|
0
|
0
|
0
|
|
3303
|
12
|
41
|
0
|
7
|
13
|
12
|
10
|
10
|
12
|
0
|
0
|
10
|
0
|
3
|
0
|
3
|
|
2759
|
13
|
44
|
0
|
0
|
0
|
0
|
0
|
70
|
0
|
0
|
0
|
0
|
0
|
0
|
0
|
0
|
|
2761
|
14
|
38
|
0
|
0
|
0
|
0
|
70
|
0
|
0
|
0
|
0
|
0
|
0
|
0
|
0
|
0
|
Приложение В
Расписание прибытия на станцию «Н» нечетных грузовых поездов и их
разложение (с направления Ж)
|
№ п/п
|
Время приб
|
Назначение вагонов в
составе
|
Под выгр
|
|
|
Н-Е
|
Е
|
Д
|
В
|
А
|
Г
|
Б
|
Н-Ж
|
Ж
|
З
|
И
|
К
|
ГД
|
ПП
|
|
ч
|
мин
|
|
|
|
|
|
|
|
|
|
|
|
|
|
|
|
2105
|
5
|
15
|
8
|
13
|
0
|
12
|
15
|
5
|
13
|
0
|
2
|
0
|
0
|
0
|
2
|
0
|
|
2107
|
5
|
40
|
2
|
0
|
18
|
15
|
15
|
10
|
5
|
0
|
0
|
0
|
2
|
0
|
0
|
3
|
|
2703
|
7
|
00
|
0
|
70
|
0
|
0
|
0
|
0
|
0
|
0
|
0
|
0
|
0
|
0
|
0
|
0
|
|
2109
|
9
|
00
|
0
|
0
|
25
|
0
|
20
|
10
|
10
|
2
|
0
|
0
|
2
|
0
|
1
|
0
|
|
2705
|
10
|
10
|
0
|
0
|
0
|
70
|
0
|
0
|
0
|
0
|
0
|
0
|
0
|
0
|
0
|
0
|
|
2707
|
11
|
10
|
0
|
0
|
0
|
0
|
70
|
0
|
0
|
0
|
0
|
0
|
0
|
0
|
0
|
0
|
|
3103
|
13
|
2
|
8
|
5
|
15
|
25
|
2
|
6
|
0
|
2
|
0
|
0
|
0
|
3
|
2
|
Приложение Г
Остатки вагонов на станции «Н» на 03-00 часа
|
Назн вагон
|
А
|
Б
|
В
|
Г
|
Д
|
Е
|
Н-Е
|
П
|
О
|
М
|
Л
|
Н-Л
|
К
|
И
|
З
|
Ж
|
Н-Ж
|
ТСК
|
ПП
|
|
Кол-во
|
26
|
6
|
11
|
22
|
-
|
4
|
13
|
11
|
24
|
-
|
-
|
34
|
15
|
23
|
19
|
8
|
4
|
2
|
4
|
Приложение Д
План суточной погрузки вагонов
|
Объекты грузовой работы
|
Назначение погрузки
|
Итого
|
|
Д
|
Л
|
О
|
Е
|
М
|
|
|
ТСК
|
50%
|
30%
|
20%
|
|
|
16
|
|
Подъездной путь
|
|
|
|
60%
|
40%
|
45
|
Примечание: порожние вагоны из-под выгрузки сдаются в регулировку в одно
из назначений в направлении Е, Л, Ж.
Приложение Е
Некоторые характеристики переработки вагона
1. Количество вагонов в формируемом составе - 71
2. Число отцепов при расформировании - 25
. Число отцепов при формировании сборных поездов - 17
. Число расцепок вагонов при формировании поездов - 0,3
. Число промежуточных станций, на которых производится работа
сборных поездов - 4
Приложение Ж
Характеристика местной работы
|
Наименование операций
|
Место их проведения
|
|
|
Размер подачи, ваг.
|
Товарно-складской комплекс
|
18
|
|
Подъездной путь
|
25
|
|
Выгрузка группы вагонов,
час
|
Товарно-складской комплекс
|
2
|
|
Подъездной путь
|
2,2
|
|
Погрузка групп вагонов, час
|
Товарно-складской комплекс
|
1,7
|
|
Подъездной путь
|
2,0
|
|
Подача (уборка) вагонов,
мин
|
Подъездной двор
|
15
|
Приложение З
План формирования на станции «Н»
|
Категория поездов
|
Назначение групп
|
|
Сквозной, одногруппный
|
А
|
|
Сквозной, одногруппный
|
Б
|
|
Сквозной, одногруппный
|
В
|
|
Сквозной, одногруппный
|
Г
|
|
Сквозной, одногруппный
|
Д
|
|
Участковый
|
Е
|
|
Сборный
|
Н-Е
|
|
В направлении Л
|
|
Сквозной, одногруппный
|
О
|
|
Сквозной, одногруппный
|
П
|
|
Участковый
|
-
|
|
Сборный
|
Н-Л
|
|
Двухгруппный
|
Л+М
|
|
В направлении Ж
|
|
Участковый
|
-
|
|
Сборный
|
Н-Ж
|
|
Двухгруппный
|
Ж+З
|
|
Сквозной, одногруппный
|
К
|
|
Сквозной, одногруппный
|
И
|
Приложение К
Период построения фрагмента плана-графика работы станции «Н»
|
Номер учебного варианта
|
Период построения фрагмента
плана-графика работы станции «Н»
|
|
51
|
3 час-15 час
|
Приложение Н
Техническая характеристика станционных элементов
|
Показатель
|
Характеристика
|
|
Техническое оснащение горки
|
механизированная
|
|
Развитие горки
|
два пути надвига и один
путь роспуска
|
|
Наличие пути обходного
|
есть
|
|
Приведенный уклон вытяжек в
сторону сортировочных путей
|
1,5-4
|
|
Количество горочных
локомотивов
|
2
|
|
Число бригад ПТО/число
групп в бригаде в парке приема
|
1/4
|
|
Число бригад ПТО/число
групп в бригаде в парке отправления
|
2/2
|
|
Количество маневровых
локомотивов на вытяжках формирования
|
3
|
|
Количество путей в парке
приема
|
8
|
|
Количество путей в
сортировочном парке
|
27
|
|
Количество путей в парке
отправления
|
9
|
|
Полезная длина
приемо-отправочных путей
|
850
|
Введение
В успешном освоении постоянно растущего грузооборота железных дорог
ведущая роль принадлежит сортировочным станциям. На станциях выполняются
сложные технологические операции, связанные с организацией перевозочного
процесса, зарождаются и погашаются вагонопотоки. От того, насколько успешно
станция справляется с пропуском и переработкой вагонопотоков, а, следовательно,
насколько регулярно принимаются и отправляются со станции поезда, во многом зависит
успех работы железных дорог и целых направлений.
В курсовом проекте рассматриваются вопросы технологии работы
сортировочной станции, методики расчетов по установлению технологических
нормативов на маневровую работу и порядок построения суточного плана-графика с
последующим определением показателей работы станции.
Данный курсовой проект преследует цели:
- закрепить знания, полученные при изучении курса;
- научиться инженерному решению всего комплекса задач,
возникших при составлении технологического процесса работы станции;
- закрепить знания о научной организации труда на станциях;
- научиться правильно, отбирать и применять передовые приемы и
методы работы сортировочных станций.
1. Техническая и эксплуатационная характеристика станции
К данным, характеризующим работу станции, относятся: схема станции,
расписание движения поездов и их разложение, план формирования поездов, план
погрузки, представленные в задании.
Техническая характеристика станции
Сортировочные станции предназначены для массового расформирования и
формирования грузовых поездов.
Станция «Н» является односторонней станцией с последовательным
расположением парков.
Она расположена на пересечении трех направлений, схема примыканий к
станции приведена на рисунке 1.1. Характеристика прилегающих перегонов
представлена в задании.
Рисунок
1.1 - Схема направлений, примыкающих к станции «Н»
В сортировочный комплект станции входят парк прибытия, сортировочная
горка, сортировочный парк, вытяжки формирования и парк отправления.
В парке прибытия имеется 6 путей для приема и обработки поездов,
прибывающих в расформирование с трех направлений.
Расформирование составов производится на механизированной сортировочной
горке средней мощности с двумя путями надвига и двумя спускными путями.
Сортировочный парк предназначен для накопления составов в соответствии с
планом формирования поездов и состоит из 26 путей, объединенных в четыре пучка.
После накопления составов производится окончание формирования на трех
вытяжных путях, после чего переставляются в парк отправления.
Парк отправления состоит из 9 путей, предназначенных для обработки и
отправления поездов своего формирования на все направления. Транзитные поезда
принимаются на крайние пути парка отправления.
Парки станции оборудованы маршрутно-релейной централизацией стрелок и
сигналов (МРЦ).
Для списывания вагонов во входной горловине парка прибытия и в выходной
горловине сортировочного парка имеются телетайпные посты списывания вагонов.
На станции имеется пневмопочта для передачи поездных документов.
Пневмопочта связывает парки прибытия и отправления ИСО станционным
технологическим центром (СТЦ). На станции действует автоматизированная система
управления работой сортировочной станции (АСУСС) во взаимодействии с
автоматизированной системой управления перевозками (АСОУП).
На станции расположены локомотивное и вагонное депо, а также пункт
технического обслуживания (ПТО), пункт коммерческого обслуживания (ПКО), пост
военизированной охраны (ВОХР).
К станции примыкают грузовой двор (ГД) и подъездной путь промышленного
предприятия (ПП).
Эксплуатационная характеристика станции
Станция «Н» выполняет следующие виды работ:
прием, обработку и отправление грузовых поездов;
расформирование и формирование составов в соответствии с установленным
планом формирования и графиком движения поездов;
работу с транзитными поездами без переработки;
с поездами с изменением веса и длины состава;
с вагонами, прибывающими под погрузку, выгрузку на пути необщего
пользования, примыкающие к станции;
техническое обслуживание и коммерческий осмотр всех поездов и вагонов;
формирование сборных поездов на все направления;
обслуживание маневровыми локомотивами станции, примыкающих к станции
подъездных путей;
смену локомотивов и локомотивных бригад всех поездов грузового движения;
текущий и деповской ремонт вагонов;
оформление перевозочных документов.
На станцию прибывают три категории вагонопотоков: транзитные с
переработкой, транзитные без переработки и местные.
Все расчеты сведем в таблицы 1.1 - 1.5:
Таблица 1.1 - Размеры вагонопотоков с направления E
|
Категория вагонопотока
|
Назначение
|
Местные
|
å
|
|
Н-Л
|
Л
|
М
|
П
|
О
|
Н-Ж
|
Ж
|
З
|
К
|
И
|
å
|
ТСК
|
ПП
|
|
|
Транзит с переработкой
|
40
|
112
|
119
|
97
|
136
|
51
|
125
|
98
|
104
|
108
|
990
|
26
|
34
|
60
|
|
Транзит без переработки
|
-
|
-
|
-
|
70
|
140
|
-
|
70
|
-
|
70
|
-
|
350
|
-
|
-
|
-
|
|
Итого
|
40
|
112
|
119
|
167
|
276
|
51
|
195
|
98
|
174
|
108
|
1340
|
26
|
34
|
60
|
Таблица 1.2 - Размеры вагонопотоков с направления Л
|
Категория вагонопотока
|
Назначение
|
Местные
|
å
|
|
Н-Е
|
Е
|
Д
|
В
|
А
|
Г
|
Б
|
Н-Ж
|
Ж
|
З
|
И
|
К
|
å
|
ТСК
|
ПП
|
|
|
Транзит с переработкой
|
15
|
23
|
36
|
43
|
44
|
39
|
40
|
6
|
5
|
19
|
5
|
6
|
281
|
1
|
8
|
9
|
|
Транзит без переработки
|
-
|
140
|
-
|
70
|
70
|
70
|
-
|
-
|
-
|
-
|
-
|
-
|
360
|
-
|
-
|
-
|
|
Итого
|
15
|
163
|
36
|
113
|
114
|
109
|
40
|
6
|
5
|
19
|
5
|
6
|
1
|
8
|
9
|
Таблица 1.3 - Размеры вагонопотоков с направления Ж
|
Категория вагонопотока
|
Назначение
|
Местные
|
å
|
|
Н-Е
|
Е
|
Д
|
В
|
А
|
Г
|
Б
|
Н-Л
|
Л
|
М
|
П
|
О
|
å
|
ТСК
|
ПП
|
|
|
Транзит с переработкой
|
12
|
21
|
48
|
42
|
75
|
27
|
34
|
2
|
4
|
0
|
4
|
0
|
269
|
6
|
5
|
11
|
|
Транзит без переработки
|
-
|
70
|
-
|
70
|
70
|
-
|
-
|
-
|
-
|
-
|
-
|
-
|
210
|
-
|
-
|
-
|
|
Итого
|
12
|
91
|
48
|
112
|
145
|
27
|
34
|
2
|
4
|
0
|
4
|
0
|
479
|
6
|
5
|
11
|
Таблица 1.4 - Вагонопотоки, идущие с переработкой на станцию «H»
|
Направление
|
Из На
|
Направление
|
Итого тразитные с
переработкой
|
Станция “ H ”
|
Итого местные
|
|
|
Транзит с переработкой
|
|
Местные
|
|
|
|
Е
|
Л
|
Ж
|
|
ТСК
|
ПП
|
|
|
Е
|
|
504
|
486
|
990
|
26
|
34
|
60
|
|
Л
|
240
|
|
41
|
281
|
1
|
8
|
9
|
|
Ж
|
259
|
10
|
|
269
|
6
|
5
|
11
|
|
ГД
|
26
|
1
|
6
|
|
|
-
|
|
|
ПП
|
34
|
8
|
5
|
-
|
-
|
|
|
|
Итого транзитные
|
499
|
514
|
527
|
1544
|
33
|
47
|
80
|
|
Итого местные
|
60
|
9
|
11
|
80
|
|
|
|
Таблица 1.5 - Вагонопотоки, идущие без переработки на станцию «H»
|
Направление
|
Из На
|
Направление
|
Итого
|
|
|
Транзит без переработки
|
|
|
|
Е
|
Л
|
Ж
|
|
|
Е
|
|
210
|
140
|
350
|
|
Л
|
350
|
|
-
|
350
|
|
Ж
|
210
|
-
|
|
210
|
|
Итого
|
560
|
210
|
140
|
910
|
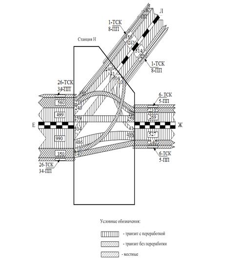
Рисунок 1.2 - Диаграмма вагонопотоков
2. Организация работы парка прибытия
.1 Специализация путей парка прибытия
Специализация путей станции необходимо устанавливать исходя из следующих
условий:
- полное обеспечение безопасности следования поездов и
маневровой работы;
- максимальная ликвидация враждебности пересечений маршрутов
следования вагонопотоков;
- выбор наилучшего варианта использования путей парков с учетом
равномерного распределения маневровой работы.
В парке прибытия поступают разборочные поезда с трех направлений (Е, Л,
Ж). Верхние пути парка прибытия рационально специализировать для приема
нечетных поездов (с Е), а нижние - для четных поездов (с Л и Ж). В парке
прибытия необходимо предусмотреть ходовой путь для заезда горочных локомотивов
под расформировываемые составы.
Специализируем пути парка прибытия и представим в виде таблицы 2.1.
Таблица 2.1 - Специализация путей в парке приёма
|
№ пути
|
Назначение пути
|
|
1
|
Приём поездов с направления
Е
|
|
2
|
Приём поездов с направления
Е
|
|
3
|
Приём поездов с направления
Е
|
|
4
|
Ходовой путь
|
|
5
|
Приём поездов с направления
Л и Ж
|
|
6
|
Приём поездов с направления
Л и Ж
|
|
7
|
Приём поездов с направления
Л и Ж
|
2.2 Технология обработки поездов в парке прибытия, прибывающих в
расформирование
Поезда, прибывающие в расформирование на станцию «Н» со всех направлений,
принимаются на свободные пути парка прибытия, где выполняется весь комплекс
операций по подготовке состава к расформированию.
Для ускорения выполнения операций с поездом, прибывающим в
расформирование, работники сортировочной станции должны подготовить
заблаговременно, до прибытия поезда. Станция получает предварительную
информацию о поезде из информационно-вычислительного центра дороги (ИВЦ) в виде
телеграммы-натурного листа (ТГНЛ). На основе ТГНЛ операторы станционного
технологического центра (СТЦ) с помощью компьютерных программ в составе АСУСС
подготавливают предварительный план расформирования состава в виде
сортировочного листа или размеченного ТГНЛ.
В момент прибытия поезда локомотивная бригада опускает перевозочные
документы в приемный бункер, установленный во входной горловине парка прибытия.
В дальнейшем документы пересылаются по пневмопочте в СТЦ.
Одновременно во входной горловине производится телетайпное списывание
вагонов на ходу, т.е. списываются номера всех вагонов в порядке их расположения
в поезде. Списывание вагонов производится для исключения ошибки при составлении
или передачи ТГНЛ. При телетайпном списывании информация одновременно передается
в СТЦ, где устраняются выявленные расхождения. В момент остановки поезда в СТЦ
имеется точная информация о наличии и расположении вагонов в составе поезда.
После остановки поезда в парке прибытия производится закрепление состава
тормозными башмаками или стационарными тормозными упорами (УТС), отцепка
поездного локомотива и уборка его в локомотивное депо. Затем производится
ограждение состава с помощью специальных устройств для того, чтобы к составу не
мог подъехать маневровый локомотив во время технического осмотра вагонов, тем
самым обеспечивается безопасность работающих около состава людей.
В парке прибытия производится технический осмотр (ТО) бригадами пункта
технического осмотра (ПТО), снятие хвостовых сигналов, разъединение рукавов
автотормозной магистрали. Выявляют вагоны с техническими неисправностями,
которые подлежат устранению на пункте отцепочного ремонта. Такие вагоны должны
быть направлены на специальные пути сортировочного парка, предназначенные для
«больных» вагонов, поэтому необходимо внести корректировки в сортировочный
лист. Вагоны с мелкими неисправностями ремонтируются в парке отправления.
Одновременно с техническим осмотром работники пункта коммерческого
осмотра (ПКО) выполняют коммерческий осмотр состава: выявляют неисправности,
угрожающие безопасности движения и сохранности груза.
По окончании технического и коммерческого осмотров снимается ограждение
состава и под состав подается маневровый локомотив для надвига на горку и
расформирования согласно сортировочному листку.
Параллельно с обработкой состава в парке прибытия производится обработка
документов в СТЦ. В СТЦ документы сверяются с номерами вагонов, полученными с
постов списывания, размечают в соответствии с планом формирования и
специализацией путей сортировочного парка. После окончания технического и
коммерческого осмотров при необходимости в ИВЦ вводится корректировка
сортировочного листка, после чего он поступает работникам, участвующим в
роспуске (дежурному по горке, горочным составителям, горочным операторам, в
пункте технического осмотра).
График обработки поезда, поступившего в парк прибытия для
расформирования, представлен на рисунке 2.1.
|
№ п/п
|
Операция
|
время, мин
|
Исполнитель
|
|
|
на операцию
|
10 20 30
|
|
|
1
|
Извещение работников СТЦ,
ПТО, ПКО, ФГП ВО, сигналистов о номере, времени прибытия и пути приема поезда
|
|
|
|
|
|
работники СТЦ, ПТО, ПКО,
ФГП ВО, сигналисты
|
|
2
|
Выход на путь приема
работников, участвующих в обработке поезда
|
|
|
|
|
|
работники СТЦ, ПТО, ПКО,
ВОХР, сигналисты
|
|
3
|
Контрольная проверка
состава поезда
|
|
|
|
|
|
оператор СТЦ
|
|
4
|
Закрепление состава поезда
|
6
|
|
|
|
|
|
сигналисты
|
|
|
|
|
|
|
|
|
|
|
5
|
Отцепка поездного
локомотива и его выезд с пути приема
|
2
|
|
|
|
|
|
|
локомотивная бригада
|
|
|
|
|
|
|
|
|
|
|
|
6
|
Ограждение состава поезда
|
1
|
|
|
|
|
|
|
|
|
оператор ПТО
|
|
|
|
|
|
|
|
|
|
|
|
|
|
7
|
Доставка перевозочных
документов в СТЦ
|
3
|
|
|
|
|
|
|
|
оператор СТЦ
|
|
8
|
Проверка, штемпелевание
перевозочных документов, корректировка ТГНЛ и передача ее данных в АСУ СС,
составление предварительного сортировочного листа ПСЛ
|
20
|
|
|
|
|
|
|
|
операторы СТЦ
|
|
|
|
|
|
|
|
|
|
|
|
|
9
|
Техническое обслуживание,
подготовка состава к роспуску и доклад о технической готовности
|
15
|
|
|
|
|
|
|
|
работники ПТО
|
|
|
|
|
|
|
|
|
|
|
|
|
10
|
Коммерческий осмотр
состава, устранение неисправностей и доклад о коммерческой готовности
|
15
|
|
|
|
|
|
|
|
работники ПКО
|
|
|
|
|
|
|
|
|
|
|
|
|
11
|
Прием под охрану вагонов с номенклатурными
и опасными грузами
|
15
|
|
|
|
|
|
|
|
работники ФГПО ВО
|
|
|
|
|
|
|
|
|
|
|
|
|
12
|
Составление СЛ и передача
его ДСПГ, на исполнительные посты горки и операторы ПТО
|
3
|
|
|
|
|
|
|
ДСПГ, операторы СТЦ и ПТО
|
|
|
|
|
|
|
|
|
|
|
|
|
13
|
Ввод программы роспуска
состава
|
1
|
|
|
|
|
|
ДСПГ
|
|
|
|
|
|
|
|
|
|
|
|
14
|
Снятие ограждения состава
|
1
|
|
|
|
|
|
оператор ПТО
|
|
|
|
|
|
|
|
|
|
|
|
15
|
Заезд и прицепка горочного
локомотива
|
3
|
|
|
|
|
|
|
локомотивная бригад
|
|
|
|
|
|
|
|
|
|
|
|
16
|
Уборка средств закрепления
состава
|
6
|
|
|
|
|
|
|
|
сигналисты
|
|
|
|
|
|
|
|
|
|
|
|
|
Общая продолжительность
обработки
|
28
|
|
|
|
|
|
|
|
|
Время готовности к надвигу
состава на горку
|
38
|
|
|
|
|
|
|
|
|
|
|
|
|
|
|
|
|
|
|
|
|
|
|
|
|
|
|
|
|
|
|
|
|
|
|
Рисунок 2.1 - График обработки поездов, прибывающих в расформирование
2.3 Расчет числа бригад ПТО в парке приема
При подготовке состава к расформированию наиболее трудоемким являются
операции технического обслуживания, продолжительность которого определяет общую
продолжительность обработки состава в парке приема.
Продолжительность технического обслуживания будет равна:
(2.1)
где
- среднее время обработки группой осмотрщиков одного
вагона, 0,8-1,0 мин.;
- число
вагонов в составе;
- число
групп в бригаде осмотрщиков.
Число
групп следует принимать таким, чтобы продолжительность технического осмотра
состава была ближе к нормативу типового технологического процесса,
представленного на рисунке 2.1.
В
условиях суточной неравномерности для бесперебойной работы станций необходимо
обеспечение рационального взаимодействия в работе основных парков и
сортировочных устройств между собой с прилегающими участками. Рассматривая
сортировочную станцию, её парки и технические средства как систему массового
обслуживания, можно сформулировать основное условие взаимодействия:
интенсивность обслуживания должна быть больше интенсивности входящего потока
составов, поступающих в систему обслуживания, т.е. должно соблюдаться следующее
условие:
(2.2)
где
- время обработки состава в парке прибытия, мин.;
-
количество одновременно работающих бригад технического осмотра;- расчетный
интервал прибытия поездов в расформирование, мин.
Исходя
из формулы 2.1:
(2.3)
Расчетный интервал определяется по формуле:
(2.4)
где Jcp, Jmin - соответственно средний и минимальный интервалы
прибытия поездов.
Дисперсия характеризует отклонение фактических интервалов между моментами
прибытия отдельных поездов от среднего значения всех рассматриваемых
интервалов.
(2.5)
Для удобства сопоставления среднего значения интервалов и отклонения
фактических интервалов от этого среднего значения пользуются средним
квадратичным отклонением, равным:
(2.6)
Коэффициент вариации интервалов характеризуется отношением среднего
квадратичного отклонения к их среднему значению:
(2.7)
Количество
бригад, удовлетворяющих правильному условию взаимодействия в работе,
определяется по формуле 2.1 при условии, что
=25 мин.
(результат расчета следует округлять в большую сторону).
Таблица
2.2 - Данные о фактическом прибытии на станцию поездов в расформирование
|
Номер поезда
|
Момент прибытия
разборочного поезда
|
Интервал, мин
|
Номер поезда
|
Момент прибытия
разборочного поезда
|
Интервал, мин
|
|
ч
|
мин
|
|
|
ч
|
мин
|
|
|
3002
|
3
|
0
|
|
2020
|
7
|
45
|
15
|
|
2008
|
3
|
27
|
27
|
2022
|
8
|
35
|
50
|
|
2010
|
3
|
49
|
22
|
3004
|
8
|
45
|
10
|
|
3301
|
4
|
40
|
51
|
2109
|
9
|
0
|
15
|
|
2012
|
5
|
6
|
26
|
2024
|
9
|
15
|
15
|
|
2105
|
5
|
15
|
9
|
2026
|
10
|
17
|
62
|
5
|
26
|
11
|
2028
|
11
|
6
|
49
|
|
2107
|
5
|
40
|
14
|
3303
|
12
|
41
|
96
|
|
3405
|
6
|
40
|
60
|
2030
|
12
|
59
|
18
|
|
2016
|
6
|
56
|
16
|
2032
|
13
|
9
|
10
|
|
2018
|
7
|
16
|
20
|
3103
|
13
|
15
|
6
|
|
2305
|
7
|
30
|
14
|
|
|
|
|
Таблица 2.3 - Определение среднего интервала поступления составов в парк
приема
|
Разряды
|
Число интервалов,
приходящихся на данный разряд
|
Среднее значение интервала
в разряде Ji, мин
|
Доля этих интервалов от
общего числа (P)
|
Jср=Ji P
|
(Ji-Jср)2P
|
|
0-10
|
4
|
5
|
0,181818
|
0,909091
|
3,042825
|
|
11-15
|
6
|
12,5
|
0,272727
|
3,409091
|
22,53944
|
|
16-20
|
3
|
17,5
|
0,136364
|
2,386364
|
31,14846
|
|
21-30
|
3
|
25
|
0,136364
|
3,409091
|
63,56828
|
|
31-50
|
2
|
40
|
0,090909
|
3,636364
|
120,2104
|
|
51-100
|
4
|
75
|
0,181818
|
13,63636
|
684,6356
|
|
22
|
|
1
|
27,3864
|
925,145
|
1
мин;
2 υ
;
мин;
бригады.
По
заданию принимаем 1 бригаду при 4х групповом варианте технического осмотра.
Рисунок
2.2 - Вариант технического осмотра состава - четырехгрупповой
3. Организация работы сортировочной горки
.1 Определение времени расформирования состава с горки
Расформирование составов производятся на сортировочной горке,
оборудованной тремя тормозными позициями. Время расформирования включает в
себя:
- время заезда горочного локомотива под состав;
- надвиг состава на горку;
- роспуск и осаживание вагонов.
Заезд локомотива за составом в парк прибытия производится после отрыва от
вершины горки последнего отцепа очередного распускаемого состава.
Рисунок 3.1 - Схема заезда горочного локомотива за составом в парк
прибытия и надвига его до горба горки
Время
на расформирование-формирование состава с горки
определяется по формуле:
, мин (3.1)
где
- время заезда горочного локомотива в парк прибытия в
хвост состава, мин.;
- время
надвига состава до горба горки, мин.;
- время
роспуска состава с горки, мин.;
- время
на осаживание вагонов на сортировочных путях, мин.
, мин
(3.2)
где
,
- время
заезда маневрового локомотива от вершины горки за входную горловину парка
прибытия и обратно к хвосту состава соответственно, мин.;
- время
на перемену направления движения маневрового локомотива, (
=0,15 мин., а для локомотивов с двумя кабинами
управления
=1,5 мин.)
В
зависимости от скорости маневровых передвижений
и
расстояний
и
время
заезда горочного локомотива от вершины горки за горловину парка прибытия и
обратно к хвосту, определяется по формуле:
, мин
(3.3)
Время
заезда с входной горловины к хвосту состава определяется в зависимости от
и
:
, мин
(3.4)
мин
мин.,
принимаем по [2] табл. 2.1.2 стр. 8.
мин
Надвиг
- это процесс передвижения состава вагонами вперед с пути приема на путь
надвига до горочного сигнала на горбу горки.
Время
надвига состава на сортировочную горку определяется в зависимости от
и
по
формуле:
, мин. (3.5)
где
- время надвига состава на горку, мин;
- время
предварительной (перед надвигом) перестановки состава из парка прибытия за
стрелку горочного вытяжного пути (при параллельном расположении парков прибытия
и сортировки), мин.
=0 мин.,
так как в курсовом проекте ПП и СП расположены последовательно.
мин.,
принимаем по [2] табл. 2.2.1 стр. 12.
Роспуск
- это процесс сортировки вагонов.
Время
роспуска состава с горки определяется:
, мин. (3.6)
где
- время на роспуск состава с горки без учета
дополнительного времени на маневры с вагонами, запрещенными к спуску с горки
без локомотива (ЗСГ);
-
увеличение времени роспуска на маневры с ЗСГ.
, мин. (3.7)
где
- расчетная длина вагона, 15 м;
- число
вагонов в составе (
=70 ваг);
- средняя
расчетная скорость роспуска состава (определяется по формуле 3.8), км/ч;
- число
отцепов (
=22).
Среднее
число вагонов в одном отцепе:
(3.8)
Расчетная скорость определяется из [2] по таблице 2.2.2 стр.14.
=8,57 км/ч.;
мин.;
мин.
В
процессе роспуска между отдельными отцепами на путях сортировочного парка
образуются окна, для ликвидации которых вагоны осаживают локомотивом горки
после роспуска 3х составов.
Время
на осаживание вагонов со стороны горки
определяется
по формуле:
, мин. (3.8)
мин.;
мин.
При
разработке технологии работы горки необходимо добиваться, чтобы время на
осаживание вагонов в сортировочном парке со стороны горки было минимальным.
Определив
время на расформирование состава с горки, необходимо построить технологический
график ее работы. На графике определяется величина горочного технологического
цикла
- среднего времени занятия горки расформированием
нескольких составов от окончания одного осаживания до окончания следующего
осаживания вагонов.
3.2 Определение горочного технологического интервала
Параметром,
характеризующим работу сортировочной горки, является горочный технологический
интервал
- среднее время занятия горки расформированием одного
состава, т.е. время окончания (начала) роспуска одного состава до окончания
(начала) роспуска следующего состава.
Горочный
технологический цикл работы горки - повторяющаяся последовательность
технологических операций на горке от начала (окончания) одного осаживания до
начала (окончания) следующего осаживания.
Рисунок 3.2 - Технологический график работы горки с двумя горочными
локомотивами и двумя путями надвига
Горочный технологический интервал определяется по формуле:
мин. (3.9)
где
- число составов поездов, расформированных на горке за
время технологического цикла ее работы.
мин.
Среднее
значение горочного интервала за весь суточный период (с учетом технологических
перерывов и занятия горки окончанием формирования).
мин. (3.10)
мин.
3.3 Перерабатывающая способность сортировочной горки
Перерабатывающая способность горки рассчитывается по формуле:
, ваг (3.11)
ваг.
Общая
перерабатывающая способность горки с учетом повторной сортировки на ней вагонов
составит:
, ваг (3.11)
ваг
Согласно
расчетной перерабатывающей способности горки, данная станция имеет горку
повышенной мощности (ГПМ), так как переработка составляет не менее 5500 вагонов
в среднем в сутки.
3.4 Специализация путей сортировочного парка
путь станция локомотив отправление
В процессе расформирования на пути сортировочного парка поступают вагоны
в соответствии с их назначением. На путях сортировочного парка происходит
накопление вагонов согласно плану формирования. За каждым назначением плана
формирования закрепляется определенный путь сортировочного парка. Такое
закрепление называется специализацией путей.
Пути сортировочного парка специализируется по назначениям плана
формирования и направлениям вагонопотока. Специализация путей должна
производиться с учетом количества и мощности отдельных назначений.
Для одногруппных поездов каждого назначения требуется выделение
отдельного пути. Для двухгруппных поездов желательно выделение двух смежных
путей, расположенных в одном пучке сортировочного парка. Для накопления сборных
поездов выделяют по одному пути на каждое примыкающее к станции направление.
Эти пути должны обслуживаться по возможности разными вытяжками.
При суточном поступлении на одно назначение более 200 вагонов желательно
выделение двух сортировочных путей.
Для накопления местных вагонов выделяют отдельные, наиболее короткие пути
для каждого назначения (ГД, ПП), с учетом наиболее удобной их подачи к грузовым
пунктам. Если вагонопоток невелик (не более 30 вагонов в сутки) отдельный путь
сортировочного парка за ним закрепляется.
Для неисправных («больных») вагонов следует выделять крайние пути
сортировочного парка, расположенные ближе к вагоноремонтному депо и имеющие
хороший подъезд для доставки запасных частей автотранспортом.
Специализации путей сортировочного парка должна предшествовать
установление потребного их количества. Это целесообразно оформить в виде
таблицы 3.1.
Таблица 3.1 - Специализация путей сортировочного парка
|
Назначение путей
|
Суточное количество вагонов
|
Требуется путей при жесткой
специализации
|
Выделено путей
|
Номера выделенных путей
|
|
А
|
119
|
2
|
2
|
13,14
|
|
Б
|
74
|
2
|
2
|
15,16
|
|
В
|
85
|
2
|
2
|
17,18
|
|
Г
|
66
|
1
|
2
|
20,21
|
|
Д
|
84
|
2
|
2
|
22,23
|
|
Е
|
44
|
1
|
1
|
19
|
|
Н-Е
|
27
|
1
|
1
|
24
|
|
Н-Л
|
42
|
1
|
1
|
6
|
|
О
|
136
|
2
|
1
|
1
|
|
П
|
101
|
2
|
1
|
2
|
|
М
|
119
|
2
|
1
|
4,5
|
|
Л
|
116
|
2
|
|
|
|
Н-Ж
|
57
|
1
|
1
|
7
|
|
И
|
113
|
2
|
1
|
9
|
|
К
|
110
|
2
|
1
|
10
|
|
З
|
117
|
2
|
1
|
8
|
|
Ж
|
130
|
2
|
|
|
|
ГД
|
33
|
1
|
1
|
12
|
|
ПП
|
47
|
1
|
1
|
25
|
|
ИТОГО
|
1640
|
31
|
22
|
26
|
4. Нормирование маневровой работы
Объем и содержание маневровой работы по окончанию формирования составов
определяется характеристикой перерабатываемого вагонопотока и условиями
накопления вагонов на сортировочных путях. Формирование составов в основном
производится одновременно с их расформированием. Для окончательной готовности
составов во многих случаях необходимо окончание формирования, заключающееся в
расстановке вагонов в соответствии с требованиями ПТЭ и Положением «О порядке
охраны труда на железнодорожном транспорте».
4.1 Время на окончания формирования одногруппного состава
Технологическое время на окончание формирования одногруппного состава при
накоплении вагонов на одном пути определяется по формуле:
,
мин(4.1)
где
- технологическое на выполнение операций, связанных с
расстановкой вагонов по ПТЭ;
-
технологическое время на подтягивание вагонов со стороны вытяжных путей для
ликвидации «окон» на путях СП.
,
мин(4.2)
,
мин(4.3)
Время на выполнение операций, связанных с расстановкой вагонов по ПТЭ,
определяется по формуле:
,
мин(4.3)
где
и
-
нормативные коэффициенты, зависящие от среднего числа операций по расцепке
вагонов
, приходящихся на один вагон формируемого состава,
принимаем из [2] по таблице 2.4.1 стр.38;
-
среднее количество вагонов в составе, 71
В=0,96
Е=0,06
мин.;
мин
Технологическое
время на окончание формирования одногруппного состава определяем по формуле
4.1:
мин.
4.2 Время на окончания формирования двухгруппного состава
Технологическое время на окончание формирования двухгруппного состава,
накапливаемого на двух путях (главная группа накапливается на одном пути, а
хвостовая на другом) определяется по формуле:
,
мин(4.4)
где
- время на расстановку вагонов по ПТЭ соответственно
в головной и хвостовой группах состава, мин.
Время
на расстановку вагонов по ПТЭ для части состава, которая после выполнения этой
операции размещается на том же пути накопления, нормируется по формуле 4.3. Эта
часть состава, назначением на ближнюю станцию, должна стоять в хвосте
формируемого двухгруппного состава для уменьшения маневровой работы на станции
назначения,
где
и
-
нормативные коэффициенты, зависящие от среднего числа операций по расцепке
вагонов
, среднее число расцепок вагонов, подлежащих
формированию, в местах несовпадения продольных осей автосцепок и постановки
вагонов в прикрытие).
Время
расстановки вагонов по ПТЭ части состава, которая переставляется на другой путь
(путь сборки), формируется по формуле:
,
мин(4.5)
где
и
-
нормативные коэффициенты, зависящие от количества операций расцепке вагонов и
затрат времени на перестановку хвостовой части состава на путь сборки (значения
приведены в [2] таблице 2.4.1 стр. 38) Ж=2,46, И=0,384;
-
количество вагонов в головной и хвостовой частях формируемого состава берем в
долях вагонов на станцию назначения от общего числа вагонов, отправляемых на
данное назначение в составе двухгруппного поезда.
Для
головной (непереставляемой) группы при
коэффициенты
В=0,64 мин; Е=0,04 мин, следовательно,
мин;
Для
хвостовой (переставляемой) группы при
коэффициенты
Ж=2,46 мин; И=0,384 мин, следовательно,
мин;
мин.
4.3 Время на окончания формирования сборного поезда
Сборным называется поезд, который работает на промежуточных станциях
данного участка, производя прицепку-отцепку нескольких вагонов на промежуточных
станциях.
Рисунок 4.2 - Схема участка работы сборного поезда
Для окончания формирования сборного поезда из вагонов, накопленных на
одном пути, производится сортировка вагонов для подборки их в соответствии с
планом формирования и требованиями ПТЭ, а также сборка их.
Технологическое время на окончание формирования состава сборного поезда
определяется по формуле:
мин(4.6)
Время
на сортировку вагонов
определяется по формуле:
,
мин(4.7)
где
и
-
нормативные коэффициенты, значения которых соответственно 0,41 и 0,32;-
количество отцепов в составе поезда (17).
Значения
коэффициентов А и Б зависят от способа расформирования состава сборного поезда
(осаживанием или толчками) типа локомотива и уклона вытяжных путей.
Время
на сборку вагонов
определяется по формуле:
мин(4.8)
где
- количество путей, с которых вагоны переставляются:
, где
-
количество поездных групп в составе; для назначения на Е =6; на Ж=6; на Л=6;
-
количество вагонов, переставляемых на путь сборки формируемого состава:
ваг.(4.9)
Рассчитываем технологическое время на окончание формирования сборного
поезда.
мин;
ваг;
мин;
мин.
4.4 Определение времени на перестановку составов из сортировочного
парка в парк отравления
Технологическое время на перестановку составов из парка в парк
определяется по формуле:
,
мин(4.10)
где
- нормативные коэффициенты, зависящие от расстояния
передвижения, рассчитывают суммированием отдельных нормативов времени (
и
) соответствующих
длине полурейсов, выполняемых при перестановке.
Значения
и
принимаются
по таблице 1 стр. 5[2].
Рисунок
4.3 - Схема расположения сортировочного и отправочного парков
Определение
времени перестановки приведем в виде таблицы 4.1:
Таблица
4.1 - Время на полурейсы перестановки, мин
|
Наименование полурейса
|
Расстояние, м
|
Параметры
|
|
|
количество вагонов
|
время
|
Перестановка
состава из СП в ПО
|
400+400+850=1650 м718,12
|
|
|
Выезд
за выходную стрелку
|
500 м-1,9
|
|
|
Заезд
локомотива в СП 
|
|
|
|
Итого:
|
|
|
19
|
4.5 Технология обработки местных вагонов
Одним из важных качественных показателей работы станции является простой
местных вагонов. Величина этого простоя зависит не только от взаимного
расположения парков станции и грузовых объектов, но и от организации работы с
местными вагонами.
Технология станции должна быть построена с расчетом правильного
обслуживания пунктов местной работы и обеспечивать наименьший простой местных
вагонов.
Общее время на подачу вагонов на грузовые объекты определяется по
формуле:
, мин(4.11)
где
- время на подборку вагонов, мин;
- время
на подачу, мин;
- время
на расстановку вагонов в пункте погрузки - выгрузки, мин;
- время
на уборку локомотива, мин.
Подборка
вагонов.
,
мин(4.12)
где А и Б - нормативные коэффициенты;
-
среднее количество отцепов при подборке групп вагонов;
- размер
подачи;
- число
грузовых фронтов на ТСК, принимаем 3.
мин.
Подача
вагонов под грузовые операции.
,
мин(4.13)
Грузовой двор расположен на расстоянии 1000 м.
мин.
Расстановка
вагонов.
мин(4.14)
Время на расстановку вагонов на грузовом дворе приближенно принимаем 1
минуту на 1 вагон.
Возвращение локомотива.
,
мин(4.15)
мин.
мин.
Общее время на уборку вагонов с грузового двора определяется по формуле:
,
мин(4.16)
где
- время следования локомотива из сортировочного парка
на грузовой фронт,
=
=3 мин;
- время
сборки вагонов, 18 мин;
- время
следования маневрового состава с пункта местной работы на сортировочную
станцию,
=
=4 мин;
- время
сортировки вагонов по путям сортировочного парка в соответствии с их
назначением.
Сборка
вагонов.
мин(4.17)
Время на сборку вагонов на грузовом дворе приближенно принимаем 1 минуту
на 1 вагон.
Сортировка.
,
мин(4.18)
мин.
мин.
Общее время при совмещении подачи и уборки вагонов с грузового двора
определяется по формуле:
,
мин(4.19)
мин.
Минимальное
число подач и уборок определяется по формуле:
, (4.20)
где
- суточное поступление местных вагонов к данному
фронту;
- среднее
число вагонов в подаче.
подачи;
подачи.
4.6 Расчетная потребность в маневровых локомотивах
Маневровые локомотивы, работающие на вытяжных путях, используются для
окончания формирования поездов, перестановки составов своего формирования из
сортировочного парка в отправочный, выполнения операций с местными вагонами по
подаче и уборке их с грузовых объектов.
Количество маневровых локомотивов М для выполнения перечисленных выше
маневровых работ определяется по формуле:
,
лок(4.21)
где
- среднесуточный объём маневровой работы, выраженной
в локомотиво-минутах;
-
технологические перерывы в работе маневровых локомотивов, включающие их
экипировку и смену бригад, мин (
= 90
мин);
-
коэффициент, учитывающий возможные перерывы в использовании вытяжного пути
из-за враждебных передвижений (0,95).
Таблица
4.2 - Затраты маневровой работы, локомотиво-минут
|
Наименование маневровых
операций
|
Продолжительность, мин
|
Кол-во операций
|
Итого, локомотиво-минут
|
|
Окончание формирования
одногруппного состава
|
11
|
8
|
88
|
|
Окончание формирования
двухгруппного состава
|
О+П
|
26
|
3
|
78
|
|
И+К
|
26
|
3
|
78
|
|
Формирование сборного
поезда
|
Н-Е
|
51
|
-
|
0
|
|
Н-Л
|
51
|
-
|
0
|
|
Н-Ж
|
51
|
-
|
0
|
|
Перестановка состава
|
9
|
14
|
126
|
|
Подача вагонов на ГД
|
43
|
2
|
86
|
|
Уборка вагонов на ГД
|
36
|
2
|
72
|
|
Подача вагонов на ПП
|
15
|
2
|
30
|
|
Уборка вагонов на ПП
|
15
|
2
|
30
|
|
Итого
|
|
|
588
|
лок.
Расчеты
произведены по данным на 12 часов, следовательно, для пропуска количества
поездов за сутки увеличиваем в два раза. Для формирования, перестановки и
подачи-уборки местных вагонов должно быть 2 локомотива.
5. Технология работы парка отправления
.1 Технология обработки поездов своего
формирования
Составы поезда своего формирования обрабатываются в парке отправления.
После окончания формирования готовые составы переставляются из
сортировочного парка на пути парка отправления. В момент перестановки состава,
номера вагонов списываются с помощью телетайпа, и эта информация поступает в
СТЦ.
В парке отправления с составами производят следующие операции:
технический осмотр состава и безотцепочный ремонт вагонов;
коммерческий осмотр вагонов и устранение коммерческих неисправностей;
прием работниками ведомственной охраны вагонов, требующих их
сопровождения;
полная проба тормозов воздушной магистрали;
навешивание сигналов на хвостовой вагон состава поездов;
прицепка поездного локомотива и сокращенная проба тормозов;
вручение локомотивной бригаде перевозочных документов, справки о тормозах
и предупреждений.
Параллельно с этими операциями обрабатываются грузовые документы.
После перестановки сформированного состава в парк отправления,
закрепления, отцепки маневрового состава, ограждения с ним производится
технический осмотр и ремонт вагонов работниками ПТО. Одновременно с техническим
осмотром приемщики поездов осуществляют коммерческий осмотр состава, устраняют
коммерческие неисправности.
После окончания осмотра и ремонта вагонов к составу подают поездной
локомотив, осуществляют сокращенное опробование тормозов, машинисту вручают
перевозочные документы.
На рисунке 5.2 представлен график обработки состава своего формирования в
парке отправления.
5.2 Технология обработки транзитных поездов
Транзитные поезда принимаются на крайние пути в парке отправления.
На станции «Н» нечетные транзитные поезда принимаются на 1-ый и 2-ой пути
парка отправления, четные - на 8-ой и 9-й пути. На этих путях производится
техническое обслуживание и коммерческий осмотр вагонов, смена локомотива,
локомотивных бригад, проба автотормозов.
При прибытии транзитного поезда на станцию одна группа осмотрщиков
располагаются у места остановки хвостового вагона, и осматривает состояние
вагонов на ходу. После остановки поезда состав закрепляется. Пакет с
документами передают в СТЦ, локомотив отцепляют и убирают в локомотивное депо.
Затем состав ограждают и производят его обработку в техническом и коммерческом отношении.
По окончании технического и коммерческого осмотра снимается ограждение и
к составу подеется поездной локомотив. После прицепки локомотива снимается
закрепление состава, и машинист производит пробу тормозов. Перед отправлением
машинисту, вновь прицепляемого локомотива, вручают пакет с перевозочными
документами в запломбируемом виде под расписку.
На рисунке 5.3 представлен график обработки транзитного поезда со сменой
локомотива.
5.3 Специализация путей в парке отправления
Специализация путей сортировочного парка и парка отправления должна быть
взаимосвязана, чтобы не допускать пересечений на вытяжках при одновременном
выставлении сформированных составов из разных маневровых районов в парк
отправления. Верхнюю часть парка отправления специализируем для нечетных
поездов (назначением на Е), а нижнюю - для четных поездов (назначением на Л и
Ж).
Назначение путей парка отправления необходимо представить в таблице 5.1
Таблица 5.1 - Специализация путей в парке отправления
|
№ пути
|
Специализация
|
|
1
|
Отправление транзитных
поездов на Л и Ж
|
|
2
|
Отправление транзитных
поездов на Л и Ж
|
|
3
|
Отправление поездов своего
формирования на Л и Ж
|
|
4
|
Отправление поездов своего
формирования на Л и Ж
|
|
5
|
Ходовой
|
|
6
|
Отправление поездов своего
формирования на Е
|
|
7
|
Отправление поездов своего
формирования на Е
|
|
8
|
Отправление транзитных
поездов на Е
|
|
9
|
Отправление транзитных
поездов на Е
|
5.4 Определение потребного количества бригад ПТО
в парке отправления
Возможное количество бригад ПТО определяем из условия:
(5.1)
где
- загрузка бригад ПТО:
(5.2)
где
- количество обрабатываемых в парке за сутки поездов
(для парков отправления - поездов формирования, транзитно-отправочных парков -
сумма транзитных и своего формирования, для транзитных парков - транзитных
поездов):
- время
обработки состава при выбранном числе групп в бригаде (в часах);
-
количество бригад ПТО, работающих в парке.
Тогда
условие
выглядит следующим образом:
(5.3)
или
(5.4)
По
заданию в парке отправления принимаем 2 бригады ПТО с двухгрупповым вариантом
технического осмотра состава.
Рисунок
5.1 - Вариант технического осмотра состава - двухгрупповой
|
№ п/п
|
Операция
|
время, мин
|
Исполнитель
|
|
|
на операцию
|
10 20 30 40 50
|
|
|
1
|
согласование номера пути
отправочного парка и извещение работников, участвующих в обработке состава
|
|
|
|
|
|
|
|
ДСП
|
|
2
|
выход на путь отправления
работников, участвующих в обработке состава, и перестановка состава из СП
|
|
|
|
|
|
|
|
работники СТЦ, ПТО, ПКО,
ВОХР, сигналисты
|
|
3
|
контрольная проверка
состава в выходной горловине СП
|
|
|
|
|
|
|
|
оператор СТЦ
|
|
4
|
закрепление состава поезда
|
6
|
|
|
|
|
|
|
|
сигналисты
|
|
|
|
|
|
|
|
|
|
|
|
|
5
|
отцепка маневрового
локомотива и его выезд с пути отправления
|
2
|
|
|
|
|
|
|
|
|
локомотивная бригада
|
|
|
|
|
|
|
|
|
|
|
|
|
|
6
|
ограждение состава поезда
|
1
|
|
|
|
|
|
|
|
|
оператор ПТО
|
|
|
|
|
|
|
|
|
|
|
|
|
|
7
|
техническое обслуживание,
подготовка состава к отправлению и доклад о технической готовности
|
25
|
|
|
|
|
|
|
|
|
работники ПТО
|
|
|
|
|
|
|
|
|
|
|
|
|
|
8
|
коммерческий осмотр
состава, устранение неисправностей и доклад о коммерческой готовности
|
25
|
|
|
|
|
|
|
|
|
работники ПКО
|
|
|
|
|
|
|
|
|
|
|
|
|
|
9
|
прием под охрану вагонов с
номенклатурными и опасными грузами
|
25
|
|
|
|
|
|
|
|
|
работники ФГП ВО
|
|
|
|
|
|
|
|
|
|
|
|
|
|
10
|
снятие ограждения состава
|
1
|
|
|
|
|
|
|
|
|
Оператор ПТО
|
|
|
|
|
|
|
|
|
|
|
|
|
|
11
|
прицепка локомотива к
составу
|
2
|
|
|
|
|
|
|
|
|
локомотивная бригада
|
|
|
|
|
|
|
|
|
|
|
|
|
|
12
|
уборка средств закрепления
состава и навешивания хвостовых сигналов
|
6
|
|
|
|
|
|
|
|
|
сигналисты
|
|
|
|
|
|
|
|
|
|
|
|
|
|
13
|
опробование тормозов
состава и вручение справки машинисту
|
10
|
|
|
|
|
|
|
|
работники ПТО, локомотивная
бригада
|
|
|
|
|
|
|
|
|
|
|
|
|
14
|
оформление натурного листа,
пакетирование перевозочных документов и пересылка их в отправочный парк
|
12
|
|
|
|
|
|
|
|
оператор СТЦ
|
|
|
|
|
|
|
|
|
|
|
|
|
15
|
вручение локомотивной
бригаде пакета с документами, предупреждение и отправление
|
5
|
|
|
|
|
|
|
|
оператор ДСП (ДСПО),
локомотивная бригада
|
|
|
|
|
|
|
|
|
|
|
|
|
Общая продолжительность
обработки
|
52
|
|
|
|
|
|
|
|
|
|
|
|
|
|
|
|
|
|
|
|
|
|
|
|
|
|
|
|
|
|
|
|
|
|
|
|
|
|
Рисунок 5.2 - График обработки поезда своего формирования в парке
отправления
|
№ п/п
|
Операция
|
время, мин
|
Исполнитель
|
|
|
на операцию
|
10 20 30 40
|
|
|
1
|
извещение работников СТЦ,
ПТО, ПКО, ФГП ВО, сигналистов о номере, времени прибытия, пути приема поезда
и времени его отправления по графику
|
|
|
|
|
|
|
ДСП или его оператор
|
|
2
|
выход на путь приема
работников, учавствующих в обработке поезда
|
|
|
|
|
|
|
работники СТЦ, ПТО, ПКО,
ВОХР, сигналисты
|
|
3
|
контрольная проверка
состава во входной горловине
|
|
|
|
|
|
|
оператор СТЦ
|
|
4
|
закрепление состава поезда
|
6
|
|
|
|
|
|
|
сигналисты
|
|
|
|
|
|
|
|
|
|
|
|
5
|
отцепка поездного
локомотива и его выезд с пути приема
|
2
|
|
|
|
|
|
|
|
локомотивная бригада
|
|
|
|
|
|
|
|
|
|
|
|
|
6
|
ограждение состава поезда
|
1
|
|
|
|
|
|
|
|
оператор ПТО
|
|
|
|
|
|
|
|
|
|
|
|
|
7
|
доставка перевозочных
документов в СТЦ
|
3
|
|
|
|
|
|
|
|
оператор СТЦ
|
|
|
|
|
|
|
|
|
|
|
|
|
8
|
проверка, штемпелевание
перевозочных документов, корректировка ТГНЛ и передача ее данных в АСУ СС
|
30
|
|
|
|
|
|
|
|
|
операторы СТЦ
|
|
|
|
|
|
|
|
|
|
|
|
|
|
9
|
техническое обслуживание,
подготовка состава к отправлению и доклад о технической готовности
|
30
|
|
|
|
|
|
|
|
|
работники ПТО
|
|
|
|
|
|
|
|
|
|
|
|
|
|
10
|
коммерческий осмотр
состава, устранение неисправностей и доклад о коммерческой готовности
|
30
|
|
|
|
|
|
|
|
|
работники ПКО
|
|
|
|
|
|
|
|
|
|
|
|
|
|
11
|
прием под охрану вагонов с
номенклатурными и опасными грузами
|
30
|
|
|
|
|
|
|
|
|
работники ФГП ВО
|
|
|
|
|
|
|
|
|
|
|
|
|
|
12
|
снятие ограждения состава
|
1
|
|
|
|
|
|
|
|
Оператор ПТО
|
|
|
|
|
|
|
|
|
|
|
|
|
13
|
прицепка локомотива к составу
|
2
|
|
|
|
|
|
|
|
локомотивная бригада
|
|
|
|
|
|
|
|
|
|
|
|
|
14
|
уборка средств закрепления
состава и навешивания хвостовых сигналов
|
6
|
|
|
|
|
|
|
|
|
сигналисты
|
|
|
|
|
|
|
|
|
|
|
|
|
|
15
|
опробование тормозов
состава и вручение справки машинисту
|
10
|
|
|
|
|
|
|
|
|
работники ПТО, локомотивная
бригада
|
|
|
|
|
|
|
|
|
|
|
|
|
|
16
|
вручение локомотивной
бригаде пакета с документами, предупреждение и отправление
|
5
|
|
|
|
|
|
|
|
|
оператор ДСП (ДСПО),
локомотивная бригада
|
|
|
|
|
|
|
|
|
|
|
|
|
|
Общая продолжительность
обработки
|
57
|
|
|
|
|
|
|
оператор ПТО
|
|
|
|
|
|
|
|
|
|
|
|
|
|
|
|
|
|
|
|
|
|
|
|
|
|
|
|
|
|
Рисунок 5.3 - График обработки транзитного поезда со сменой локомотива
6. Суточный план-график работы станции
.1 Назначение и содержание суточного плана-графика
Суточным планом графиком называют графическое отображение работы станции:
приема поездов, их обработку в парках прибытия и оправления. На планах-графиках
отражают также обработку местных вагонов, включая подачи и уборки на грузовые
пункты, погрузку вагонов, сортировку контейнеров и мелких отправок.
Цель суточного плана-графика - согласовать, увязать работу всех цехов
станции, их взаимодействие с графиком прибытия и отправления поездов, с работой
подъездных путей предприятий; уточнить загрузку отдельных парков, путей,
горловин, маневровых локомотивов; определить нормы времени нахождения на
станции вагонов различных категорий обработки. На плане графике наглядно видны
«узкие» места, межоперационные интервалы, простои из-за неравномерности
прибытия поездов, недостаточности путевого развития, числа маневровых
локомотивов и др. Перераспределение работы, корректировки подвода т отправления
поездов и подач в процессе составления суточного плана-графика позволяют
усовершенствовать технологический процесс, улучшить показатели работы.
План-график составляют на сутки. В нем в масштабе времени отображают:
·
подход поездов по
графику движения со всех примыкающих к станции направлений;
·
нахождение их в
парке прибытия с выделением времени приема (занятие стрелочной горловины),
обработки составов, простоя в ожидании последующих операций;
·
занятость
поездными и маневровыми передвижениями наиболее загруженных стрелок в горловине
сортировочного парка на маршрутах подач и уборок местных вагонов, в горловину
парка отправления;
·
расформирование
составов с выделением операций, выполняемых каждым локомотивом и занятость
устройств (горки, вытяжного пути);
·
накопление
вагонов на сортировочных путях с показом моментов завершения накопления
составов, занятость сортировочных путей при окончании формирования и выводе
составов;
·
подачу и уборку
местных вагонов маневровыми локомотивами;
·
работу грузовых
пунктов;
·
нахождение
поездов в парках отправления и транзитном с выделением операций обработки
составов и ожидания отправления;
·
оправление
поездов по графику на все прилегающие к станции направления.
План-график следует строить по наиболее характерным, напряженным условиям
работы, на размеры движения, определены графиком движения поездов.
6.2 Показатели суточного плана-графика работы станции
По суточному плану-графику определяют следующие показатели работы
станции:
6.2.1 Простой транзитного вагона без переработки
Расчет простоя вагонопотока приведен в таблице 6.1
Таблица 6.1 - Расчет простоя транзитных вагонов без переработки
|
№ поезда
|
Время прибытия
|
Время отправления
|
Число вагонов в составе
|
Продолжительность обработки
|
Вагоно-часы простоя
|
|
2753
|
4-08
|
5-05
|
0,95
|
66,5
|
|
2706
|
4-40
|
5-37
|
70
|
0,95
|
66,5
|
|
2755
|
6-10
|
7-07
|
70
|
0,95
|
66,5
|
|
2703
|
7-00
|
7-57
|
70
|
0,95
|
66,5
|
|
2708
|
7-31
|
8-28
|
70
|
0,95
|
66,5
|
|
2705
|
10-10
|
11-07
|
70
|
0,95
|
66,5
|
|
2712
|
10-32
|
11-29
|
70
|
0,95
|
66,5
|
|
2707
|
11-10
|
12-07
|
70
|
0,95
|
66,5
|
|
2757
|
11-45
|
12-42
|
70
|
0,95
|
66,5
|
|
2714
|
12-22
|
13-19
|
70
|
0,95
|
66,5
|
|
2759
|
13-44
|
14-41
|
70
|
0,95
|
66,5
|
|
2761
|
14-38
|
-
|
70
|
0,37
|
25,9
|
|
2716
|
14-54
|
-
|
70
|
0,1
|
7
|
|
|
|
910
|
10,92
|
764,4
|
По результатам таблицы рассчитаем средний простой транзитного вагона без
переработки:
, ч (6.1)
ч.
6.2.2 Простой транзитного вагона с переработкой
Простой транзитного вагона с переработкой состоит из следующих элементов:
ожидание
обработки по прибытию
обработки
по прибытию
ожидание
расформирования
расформирование
на горке
накопление
ожидание
формирования
формирование
и перестановка
ожидание
обработки по отправлению
обработка
по отправлению
ожидание
отправления
Затраты
вагоночасов на обработку вагонов в парке прибытия и расчет среднего простоя
вагона по элементам
,
,
и
сводим в
таблицу 6.2.
Простой
транзитного вагона с переработкой определяем по формуле:
ч(6.2)
Таблица 6.2 - Расчет простоя вагонов в подсистеме расформирования станции
|
№ поезда
|
Число вагонов
|
Продолжительность, мин
|
Вагоночасы, ч
|
|
|
   В
ожидании обработкиПод обработкойВ ожидании роспускаРасформирования
|
|
|
|
|
|
|
|
|
3002
|
70
|
0
|
0,63
|
0
|
0,18
|
0
|
44,1
|
0
|
12,6
|
|
2008
|
70
|
0
|
0,63
|
0
|
0,18
|
0
|
44,1
|
0
|
12,6
|
|
2010
|
70
|
0
|
0,63
|
0
|
0,4
|
0
|
44,1
|
0
|
28
|
|
3301
|
70
|
0
|
0,63
|
0
|
0,18
|
0
|
44,1
|
0
|
12,6
|
|
2012
|
70
|
0
|
0,63
|
0
|
0,18
|
0
|
44,1
|
0
|
12,6
|
|
2105
|
70
|
0
|
0,63
|
0
|
0,4
|
0
|
44,1
|
0
|
28
|
|
2014
|
70
|
0
|
0,77
|
0,05
|
0,23
|
0
|
53,9
|
3,5
|
16,1
|
|
2107
|
70
|
0
|
0,9
|
0
|
0,18
|
0
|
63
|
0
|
12,6
|
|
3405
|
70
|
0
|
0,63
|
0
|
0,4
|
0
|
44,1
|
0
|
28
|
|
2016
|
70
|
0
|
0,63
|
0,1
|
0,28
|
0
|
44,1
|
7
|
19,6
|
|
2018
|
70
|
0
|
0,72
|
0
|
0,18
|
0
|
50,4
|
0
|
12,6
|
|
2305
|
70
|
0
|
0,63
|
0
|
0,4
|
0
|
44,1
|
0
|
28
|
|
2020
|
70
|
0
|
0,7
|
0,05
|
0,23
|
0
|
49
|
3,5
|
16,1
|
|
2022
|
70
|
0
|
0,63
|
0
|
0,18
|
0
|
44,1
|
0
|
12,6
|
|
3004
|
70
|
0
|
0,63
|
0
|
0,4
|
0
|
44,1
|
0
|
28
|
|
2109
|
70
|
0
|
0,68
|
0,07
|
0,25
|
0
|
47,6
|
4,9
|
17,5
|
|
2024
|
70
|
0
|
0,67
|
0
|
0,18
|
0
|
46,9
|
0
|
12,6
|
|
2026
|
70
|
0
|
0,63
|
0
|
0,4
|
0
|
44,1
|
0
|
28
|
|
2028
|
70
|
0
|
0,63
|
0
|
0,18
|
0
|
44,1
|
0
|
12,6
|
|
3303
|
70
|
0
|
0,63
|
0
|
0,18
|
0
|
44,1
|
0
|
12,6
|
|
2030
|
70
|
0
|
0,63
|
0
|
0,4
|
0
|
44,1
|
0
|
28
|
|
2032
|
70
|
0
|
0,63
|
0,2
|
0,38
|
0
|
44,1
|
14
|
26,6
|
|
3103
|
70
|
0
|
0,63
|
0
|
0,18
|
0
|
44,1
|
0
|
12,6
|
|
Итого
|
|
|
0
|
1060,5
|
32,9
|
430,5
|
По данным таблицы 7.2 рассчитываются:
, ч(6.3)
ч
, ч(6.4)
ч
, ч(6.5)
ч
, ч(6.6)
ч.
Затрату
вагоно-часов на накопление и средний простой вагона под накоплением можно
определить по безномерному способу, как это показано в таблице 6.3
Таблица
6.3 - Расчет времени накопления вагонов
|
№ пути
|
Назначение
|
Число вагонов под
накоплением
|
Время накопления, ч
|
|
|
1
|
О
|
24
|
4,85
|
116,4
|
|
|
|
8
|
4,003
|
32,024
|
|
|
|
8
|
3,58
|
28,64
|
|
|
|
10
|
3
|
30
|
|
|
|
7
|
1,92
|
13,44
|
|
|
|
10
|
1,42
|
14,2
|
|
|
|
13
|
0
|
0
|
|
|
|
3
|
3,75
|
11,25
|
|
|
|
15
|
3,23
|
18,23
|
|
|
|
15
|
2,13
|
31,95
|
|
|
|
10
|
1,67
|
16,7
|
|
|
|
12
|
0,6
|
7,2
|
|
|
|
7
|
0
|
0
|
|
|
|
10
|
0,98
|
9,8
|
|
|
|
4
|
0,87
|
3,48
|
|
|
|
8
|
0,67
|
5,36
|
|
|
2
|
П
|
11
|
5,45
|
59,95
|
|
|
|
10
|
4,63
|
46,3
|
|
|
|
15
|
3,6
|
54
|
|
|
|
8
|
2,53
|
20,24
|
|
|
|
15
|
2,17
|
32,55
|
|
|
|
2
|
1,7
|
3,4
|
|
|
|
2
|
0,6
|
1,2
|
|
|
|
10
|
0,28
|
2,8
|
|
|
|
5
|
5,6
|
28
|
|
|
|
2
|
5,22
|
10,44
|
|
|
|
2
|
5,07
|
10,14
|
|
|
|
5
|
4,75
|
23,75
|
|
|
|
20
|
3,68
|
73,6
|
|
|
|
5
|
0,83
|
4,15
|
|
|
4
|
М
|
10
|
4,03
|
40,3
|
|
|
|
3
|
3,58
|
10,74
|
|
|
|
12
|
3
|
36
|
|
|
|
2
|
1,93
|
3,86
|
|
|
|
7
|
1,42
|
9,94
|
|
|
|
10
|
0
|
0
|
|
|
|
5
|
1,72
|
8,06
|
|
|
|
5
|
1,2
|
6
|
|
|
|
12
|
0,48
|
5,76
|
|
|
|
4
|
0,10
|
0,4
|
|
|
|
11
|
2,1
|
23,1
|
|
|
|
8
|
3,03
|
24,24
|
|
|
|
5
|
2,43
|
12,15
|
|
|
|
10
|
1,83
|
18,3
|
|
|
|
20
|
0,33
|
6,6
|
|
|
|
5
|
0,18
|
0,9
|
|
|
5
|
Л
|
5
|
4,03
|
20,15
|
|
|
15
|
3,58
|
53,7
|
|
|
3
|
3
|
9
|
|
|
13
|
1,93
|
25,09
|
|
|
2
|
1,57
|
3,14
|
|
|
5
|
1,42
|
7,1
|
|
|
5
|
0
|
0
|
|
|
11
|
1,72
|
18,92
|
|
|
7
|
1,2
|
8,4
|
|
|
11
|
0,1
|
1,1
|
|
|
15
|
4,1
|
61,5
|
|
|
10
|
2,43
|
24,3
|
|
|
10
|
0,33
|
3,3
|
|
|
5
|
0,22
|
1,1
|
|
|
2
|
0,18
|
0,36
|
|
|
2
|
0,52
|
1,04
|
|
6
|
Н-Л
|
34
|
11,25
|
382,5
|
|
|
2
|
10,43
|
20,86
|
|
|
8
|
9,4
|
75,2
|
|
|
6
|
6,24
|
37,44
|
|
|
3
|
5,57
|
16,71
|
|
|
5
|
5,02
|
25,1
|
|
|
2
|
4,47
|
8,94
|
|
|
2
|
4,32
|
8,64
|
|
|
1
|
2,93
|
2,93
|
|
|
3
|
0,23
|
0,69
|
|
|
10
|
0,08
|
0,8
|
|
7
|
Н-Ж
|
4
|
12
|
48
|
|
|
12
|
0,73
|
8,76
|
|
|
2
|
9,52
|
19,04
|
|
|
3
|
9,08
|
27,24
|
|
|
5
|
8,57
|
42,85
|
|
|
4
|
7,3
|
29,2
|
|
|
7
|
7,15
|
50,05
|
|
|
2
|
6,67
|
13,34
|
|
|
2
|
6,32
|
12,64
|
|
|
1
|
5,22
|
5,22
|
|
|
9
|
4,75
|
42,75
|
|
|
5
|
3,68
|
18,4
|
|
|
5
|
0,98
|
4,9
|
|
8
|
З+Ж
|
19
|
2,92
|
55,48
|
|
|
2
|
2,1
|
4,2
|
|
|
1
|
1,65
|
1,65
|
|
|
3
|
1,07
|
3,21
|
|
|
12
|
0
|
0
|
|
|
5
|
2,77
|
13,85
|
|
|
3
|
1,5 ,
|
4,5
|
|
|
5
|
1,35
|
6,75
|
|
|
5
|
1,03
|
5,15
|
|
|
6
|
0,67
|
4,02
|
|
|
15
|
0,52
|
7,8
|
|
|
14
|
2,52
|
35,28
|
|
|
15
|
2,13
|
31,95
|
|
|
5
|
1,67
|
8,35
|
|
|
8
|
0
|
0
|
|
|
10
|
1,05
|
10,5
|
|
|
8
|
0,83
|
6,64
|
|
9
|
И
|
23
|
5,87
|
135,01
|
|
|
5
|
5,05
|
25,25
|
|
|
5
|
4,6
|
23
|
|
|
2
|
4,02
|
8,04
|
|
|
9
|
2,95
|
26,55
|
|
|
8
|
2,43
|
19,44
|
|
|
12
|
0,7
|
8,4
|
|
|
5
|
0,33
|
1,65
|
|
|
8
|
1,44
|
|
|
7
|
5,6
|
39,2
|
|
|
5
|
5,22
|
26,1
|
|
|
6
|
4,75
|
28,5
|
|
|
10
|
3,68
|
36,8
|
|
|
10
|
3,08
|
30,8
|
|
|
5
|
0,97
|
4,85
|
|
|
16
|
0,67
|
10,72
|
|
10
|
К
|
15
|
5,6
|
84
|
|
|
15
|
4,78
|
71,7
|
|
|
10
|
4,33
|
43,3
|
|
|
2
|
3,75
|
7,5
|
|
|
5
|
2,68
|
13,4
|
|
|
8
|
2,17
|
17,36
|
|
|
8
|
0,75
|
6
|
|
|
9
|
0,43
|
3,87
|
|
|
3
|
6,47
|
19,41
|
|
|
5
|
6,32
|
31,6
|
|
|
5
|
5,6
|
28
|
|
|
5
|
5,22
|
26,1
|
|
|
4
|
4,75
|
19
|
|
|
3
|
3,68
|
11,04
|
|
|
13
|
3,08
|
10,04
|
|
|
3
|
1,5
|
4,5
|
|
|
7
|
0,98
|
6,86
|
|
|
5
|
0,67
|
3,35
|
|
12
|
Ж+З
|
8
|
2,92
|
23,36
|
|
|
8
|
2,1
|
16,8
|
|
|
2
|
1,65
|
3,3
|
|
|
13
|
1,07
|
13,91
|
|
|
8
|
0
|
0
|
|
|
5
|
2,92
|
14,6
|
|
|
10
|
1,35
|
13,5
|
|
|
8
|
1,03
|
8,24
|
|
|
5
|
0,67
|
3,35
|
|
|
5
|
0,52
|
2,6
|
|
|
18
|
2,52
|
45,36
|
|
|
10
|
2,13
|
21,3
|
|
|
2
|
1,67
|
3,34
|
|
|
5
|
0,1
|
0,5
|
|
|
12
|
0
|
0
|
|
|
10
|
0,98
|
9,8
|
|
|
9
|
0,83
|
7,47
|
|
13
|
А
|
26
|
4,7
|
122,2
|
|
|
10
|
2,22
|
22,2
|
|
|
15
|
1,42
|
21,3
|
|
|
15
|
0,95
|
14,25
|
|
|
20
|
0
|
0
|
|
|
4
|
6,47
|
25,88
|
|
|
20
|
5,07
|
101,4
|
|
|
10
|
1,5
|
15
|
|
|
25
|
0,52
|
13
|
|
15
|
Б
|
6
|
10,5
|
63
|
|
|
18
|
8,02
|
144,36
|
|
|
13
|
7,22
|
93,86
|
|
|
5
|
6,75
|
33,75
|
|
|
10
|
5,8
|
58
|
|
|
10
|
3,57
|
35,7
|
|
|
12
|
0
|
0
|
|
|
6
|
0,52
|
3,12
|
|
17
|
В
|
11
|
10,5
|
115,5
|
|
|
12
|
8,02
|
96,24
|
|
|
12
|
7,22
|
86,64
|
|
|
15
|
6,75
|
101,25
|
|
|
19
|
4,97
|
94,43
|
|
|
12
|
0
|
0
|
|
|
15
|
0,52
|
7,8
|
|
19
|
Е+ПП
|
4
|
12
|
48
|
|
|
13
|
8,72
|
113,36
|
|
|
10
|
7,15
|
71,5
|
|
|
6
|
6,47
|
38,82
|
|
|
15
|
2,48
|
37,2
|
|
|
7
|
1,5
|
10,5
|
|
|
8
|
0,52
|
4,16
|
|
20
|
Г
|
22
|
7,33
|
161,26
|
|
|
15
|
4,15
|
62,25
|
|
|
5
|
4,05
|
20,25
|
|
|
10
|
3,58
|
35,8
|
|
|
1
|
2,48
|
2,48
|
|
|
13
|
1,8
|
23,4
|
|
|
10
|
0,4
|
4
|
|
|
10
|
1,5
|
15
|
|
|
2
|
0,52
|
1,04
|
|
22
|
Д+ТСК
|
5
|
8,85
|
44,25
|
|
|
18
|
7,42
|
133,56
|
|
|
16
|
6,63
|
106,08
|
|
|
2
|
5,8
|
11,6
|
|
|
25
|
4,4
|
110
|
|
|
13
|
0,83
|
10,79
|
|
|
9
|
0,87
|
7,83
|
|
|
5
|
0,52
|
2,6
|
|
24
|
Н-Е
|
13
|
12
|
36
|
|
|
5
|
9,52
|
47,6
|
|
|
8
|
8,72
|
69,76
|
|
|
2
|
8,25
|
16,5
|
|
|
6
|
7,3
|
43,8
|
|
|
4
|
6,47
|
25,88
|
|
|
2
|
0,52
|
1,04
|
|
25
|
ТСК
|
2
|
5,87
|
11,74
|
|
|
7
|
4,6
|
32,2
|
|
|
1
|
4,02
|
4,02
|
|
|
2
|
2,58
|
5,16
|
|
|
2
|
2,43
|
4,86
|
|
|
2
|
0,7
|
1,4
|
|
|
1
|
0,33
|
0,33
|
|
|
5
|
0,18
|
0,9
|
|
|
2
|
5,77
|
11,54
|
|
|
1
|
5,07
|
5,07
|
|
|
3
|
4,75
|
14,25
|
|
|
2
|
3,08
|
6,16
|
|
|
2
|
0,98
|
|
|
3
|
0,52
|
1,56
|
|
26
|
ПП
|
4
|
3,75
|
15
|
|
|
5
|
2,93
|
14,65
|
|
|
7
|
2,48
|
17,35
|
|
|
1
|
1,9
|
1,9
|
|
|
3
|
1,27
|
3,81
|
|
|
3
|
0,83
|
2,49
|
|
|
3
|
0
|
0
|
|
|
4
|
7,15
|
28,6
|
|
|
3
|
6,83
|
20,49
|
|
|
2
|
6,47
|
12,94
|
|
|
2
|
5,6
|
11,2
|
|
|
6
|
3,68
|
22,08
|
|
|
3
|
3,08
|
9,24
|
|
|
3
|
1,5
|
4,5
|
|
|
2
|
0,52
|
1,04
|
|
Итого
|
|
1889
|
804,9
|
6563,4
|
, ч.(6.7)
ч.
Затрата
вагоно-часов на ожидание формирования, формирование и перестановку, а так же
среднее время нахождения вагонов под этими операциями определяется в таблице
6.4.
Таблица
6.4 - Расчет простоя вагонов под формированием
|
№№ поездов
|
Число вагонов в составе
|
Продолжительность, мин
|
Вагоно-часы
|
|
|
 Ожидания
формированияФормирования и перестановки
|
|
|
|
|
2802
|
35
|
0
|
0,75
|
0
|
26,25
|
|
36
|
0
|
0,75
|
0
|
27
|
|
2803
|
71
|
0
|
0,5
|
0
|
35,5
|
|
2804
|
71
|
0
|
0,75
|
0
|
26,25
|
|
2806
|
35
|
0
|
0,75
|
69,48
|
27
|
|
36
|
1,93
|
0,5
|
0
|
35,5
|
|
2808
|
71
|
0,43
|
0,5
|
30,53
|
35,5
|
|
2810
|
71
|
0,97
|
0,5
|
68,87
|
35,5
|
|
2812
|
71
|
0,9
|
0,5
|
63,9
|
35,5
|
|
2814
|
35
|
0,93
|
0,75
|
32,55
|
26,25
|
|
36
|
0,93
|
0,75
|
33,48
|
27
|
|
2816
|
35
|
0,17
|
0,75
|
5,95
|
26,25
|
|
36
|
0,17
|
0,75
|
6,12
|
27
|
|
2805
|
71
|
0,4
|
0,5
|
28,4
|
35,5
|
|
2818
|
71
|
0
|
0,5
|
0
|
35,5
|
|
2820
|
35
|
2,13
|
0,75
|
74,55
|
26,25
|
|
36
|
0
|
0,75
|
0
|
26,25
|
|
2807
|
71
|
0
|
0,5
|
0
|
35,5
|
|
2809
|
71
|
0
|
0,5
|
0
|
35,5
|
|
3402
|
71
|
0,08
|
0,75
|
5,68
|
53,25
|
|
3822
|
35
|
0,33
|
1,11
|
11,55
|
38,85
|
|
36
|
0,56
|
0,65
|
20,16
|
23,4
|
|
3824
|
71
|
0,83
|
0,18
|
58,93
|
12,78
|
|
Итого
|
1207
|
10,76
|
14,69
|
510,15
|
713,3
|
, ч(6.8)
ч
, ч(6.9)
ч
Аналогично
рассчитываются затраты вагоно-часов в ожидании отправления и на обработку в
парке отправления, а также средний простой вагона под этими операциями. Расчет
сводится в таблицу 6.5.
Таблица
6.5 - Расчет простоя вагонов в парке отправления
|
№№ поездов
|
Число вагонов
|
Продолжительность, ч
|
Вагоно-часы
|
|
|
  В
ожидании обработкиПод обработкойВ ожидании отправления
|
|
|
|
|
|
|
2802
|
71
|
0,02
|
0,88
|
0
|
1,42
|
62,48
|
0
|
|
2803
|
71
|
0
|
0,87
|
0
|
0
|
61,77
|
0
|
|
2804
|
71
|
0
|
0,87
|
0
|
0
|
61,77
|
0
|
|
2806
|
71
|
0,03
|
0,92
|
0,17
|
2,13
|
65,32
|
12,07
|
|
2808
|
71
|
0
|
0,87
|
0,13
|
0
|
61,77
|
9,23
|
|
2810
|
71
|
0
|
0,87
|
0
|
0
|
61,77
|
0
|
|
2812
|
71
|
0
|
0,87
|
0
|
0
|
61,77
|
0
|
|
2814
|
71
|
0,32
|
1,18
|
0,1
|
22,72
|
83,78
|
7,1
|
|
2816
|
71
|
0,35
|
1,22
|
0
|
24,85
|
86,62
|
0
|
|
2805
|
71
|
0,85
|
1,72
|
0,32
|
60,35
|
122,12
|
22,72
|
|
2818
|
71
|
0
|
0,87
|
0,47
|
0
|
61,75
|
33,37
|
|
2820
|
71
|
0,18
|
1,05
|
0
|
12,78
|
74,55
|
0
|
|
2807
|
71
|
0
|
0,87
|
0
|
0
|
61,77
|
0
|
|
2809
|
71
|
0,25
|
1
|
0
|
17,75
|
71
|
0
|
|
Итого
|
994
|
|
|
|
142
|
998,26
|
84,49
|
, ч(6.10)
ч
, ч(6.11)
ч
, ч(6.12)
ч
ч
6.2.3 Простой местного вагона
Продолжительность нахождения местных вагонов на станции определяется с
момента прибытия до отправления. За этот отрезок времени вагоны проходят те же
операции, что и транзитные с переработкой и, кроме того, дополнительные,
связанные с обработкой их на грузовых фронтах. Вагоны на грузовых фронтах
передаются под сдвоенные операции. Средний простой местного вагона можно
определить по формуле:
, ч(6.13)
где
- простой транзитного вагона с переработкой, ч;
-
среднее время на подачу местного вагона, ч;
-
среднее время простоя местного вагона под погрузкой выгрузкой, ч;
-среднее
время уборки местного вагона, ч;
- ожидание
подачи, ч;
-
ожидание уборки, ч.
Среднее
время на подачу местного вагона:
, ч(6.14)
где
- число вагонов, поданных в каждый пункт за сутки;
- время
на подачу вагонов каждый пункт, ч.
Время
на уборку рассчитывается аналогично.
ч;
Среднее
время простоя местного вагона под погрузкой - выгрузкой:
,
ч
, ч(6.15)
где
- суточное количество вагонов в пунктах погрузки
выгрузки с одиночными грузовыми операциями;
- то же
со сдвоенными грузовыми операциями;
- время
на выполнение одиночных грузовых операций в пунктах погрузки выгрузки;
- то же
на выполнение сдвоенных операций.
ч
Для
определения ожидания подачи и уборки составим таблицу 6.6.
Таблица
6.6 - Расчет простоя вагонов в ожидании подачи и уборки
|
Число вагонов в подаче
|
Продолжительность ожидания,
ч
|
Вагоно-часы ожидания
|
|
Подачи
|
Уборки
|
Подачи
|
Уборки
|
|
18
|
0
|
0
|
0
|
0
|
|
25
|
0
|
0
|
0
|
0
|
|
43
|
|
|
0
|
0
|
Из таблицы определяем:
, ч(6.16)
ч
, ч(6.17)
ч
Подставляя
полученные результаты в формулу 6.13, получаем среднее время обработки местного
вагона:
ч.
6.2.4 Коэффициент сдвоенных операций
Коэффициентом сдвоенных операций называется отношение количества грузовых
операций к числу местных вагонов:
(6.18)
6.2.5 Средний простой местного вагона под одной грузовой операцией
Средний простой местного вагона, приходящийся на одну грузовую операцию
(грузовой простой) определяется по формуле:
ч(6.19)
ч
6.2.6 Норма рабочего парка вагонов
Норму рабочего парка вагонов (среднее наличие вагонов на станции)
определяют по формуле:
вагоно-сут(6.20)
вагоно-сут.
6.2.7 Вагонооборот станции
Суммарное количество принятых и отправленных вагонов всех категорий за 12
часов называется вагонооборотом станции:
ваг(6.21)
ваг
6.2.8 Коэффициент загрузки локомотивов
Коэффициент загрузки маневровых локомотивов определяют отдельно для
работающих на горке, по окончанию формирования, на местной работе по формуле:
(6.22)
где
- суммарное время работы маневровых локомотивов,
прикрепленных к данному району (по суточному плану-графику);
-число
локомотивов, работающих в данном районе;
-время на
смену локомотивных бригад.
.2.9 Параметр
накопления
Величина параметра накопления определяется в целом по станции по формуле:
(6.23)
где
- число назначений плана формирования;
- среднее
количество вагонов в составе.
Заключение
В
данном курсовом проекте на примере заданной станции Н была рассмотрена работа
сортировочной станции. В ходе работы были закреплены инженерные навыки,
полученные в ходе изучения курса, по решению задач связанных с технологическим
процессом работы станции. Составленный нами суточный план-график работы
сортировочной станции позволил более наглядно и конкретно рассмотреть процесс
работы сортировочной станции, взаимодействие и взаимосвязь ее элементов.
По
исходным данным исследуемая станция принимает и обрабатывает вагонов в сутки и
отправляет их на 17 назначений. В подсистеме расформирования работают 2
горочных локомотива и 1 бригада ПТО, в подсистеме окончания формирования 3
маневровых локомотива и 2 бригады ПТО. Станция формирует по плану формирования
одногруппные, двухгруппные, участковые и сборные поезда по всем 3 примыкающим
направлениям. Параметр накопления на данной станции равен 5,4, а значит, данная
сортировочная станция работает эффективно.
Список используемых источников
1. Сотников И.Б. «Эксплуатация железных
дорог в примерах и задачах». М.: Транспорт. 1990.
2. Грунтов П.С. Управление
эксплуатационной работой и качеством перевозок на железнодорожном транспорте. -
М.: Транспорт, 1994.
3. Методические указания. Смородинцева
Е. Е., Тимухина Е. Н. «Технология и организация переработки вагонопотоков на
сортировочной станции». Екатеринбург, 2010.