Водоснабжение и канализация жилого дома
МО РБ
УО
"Полоцкий государственный университет"
Кафедра
трубопроводного транспорта, водоснабжения и гидравлики
Пояснительная
записка к курсовой работе
Водоснабжение
и канализация жилого дома
Выполнил:
Бредис О.С.
гр. 11-ПГСз-5
Проверил:
Кравцова Е.Л.
Новополоцк
2014
Содержание
1. Описание
объекта проектирования
. Выбор
системы и схемы внутреннего водопровода
.1
Классификация внутренних водопроводов
.2 Схемы
водопроводных сетей
.
Установление точек водоразбора и приёмников сточной воды
. Описание
способов прокладки водопроводной сети, водомерного узла, ввода, присоединения
городской водопроводной сети с указанием материалов, арматуры, приборов и
ГОСТов
.1 Материалы
для водопроводной сети. Арматура
.2 Устройство
вводов
.3 Водомерные
узлы и устройства для измерения расходов воды
.4
Трассировка водопроводных сетей внутри здания
.
Гидравлический расчёт внутреннего водопровода
.1 Подбор
счетчика воды
.2
Определение требуемого напора
. Выбор
системы внутренней канализации
. Расчёт
внутренней и дворовой канализационной сети
. Описание
способов прокладки внутренней и дворовой канализационной сети
.
Спецификация материалов и оборудования
Список
литературы
водопровод здание канализация счетчик
1. Описание объекта проектирования
) количество этажей - 6; 1 секции;
) гарантийный напор - 30,8 м. вод.ст;
) абсолютная отметка поверхности земли у здания - 169,3 м;
) абсолютная отметка пола 1-го этажа - 170,5 м;
) абсолютная отметка верха трубы городского водопровода -167,4 м;
) абсолютная отметка лотка городской канализации - 166,4 м;
) глубина промерзания грунта - 1,02 м;
) норма водопотребления - 245 л/сут.чел;
) приготовление горячей воды - ЦГВ;
) расстояние от красной линии до здания -5 м;
) расстояние от здания до городского канализационного колодца - 9 м;
) диаметр трубы городского водопровода 200 мм.
) диаметр трубы городской канализации 300 мм.
) высота этажа (от пола до пола) - 2,8 м;
) высота подвала - 1,9 м.
2. Выбор системы и схемы внутреннего водопровода
2.1
Классификация внутренних водопроводов
Внутренний водопровод представляет собой систему устройств,
обеспечивающих подачу воды к санитарно-техническим приборам, технологическому
оборудованию и пожарным кранам, расположенным внутри зданий.
Водопроводы классифицируются:
. По назначению:
хозяйственно-питьевые;
производственные;
противопожарные.
. По сфере обслуживания:
объединенные;
раздельные;
единые.
. По способу использования воды:
прямоточные;
оборотные;
с повторным использованием воды.
Применение
систем с оборотным водоснабжением и с повторным использованием воды в
производственных зданиях находит все большее применение. Для нормальной работы
внутреннего водопровода на вводе в здание должен быть создан такой напор
(требуемый Hтр
), который обеспечивал бы подачу нормативного расхода
воды к наиболее высокорасположенному (диктующему) водоразборному устройству и
покрывал бы потери напора на преодоление сопротивлений по пути движения воды.
Минимальный напор в наружном водопроводе у места присоединения ввода (у трубы
или на поверхности земли) называется гарантийным (Hg
).
.
В зависимости от обеспеченности напором и от установленного оборудования:
система,
действующая под напором наружного водопровода, применяется, когда Н g ≥ Н
тр. Такая система внутреннего водопровода является самой простой и наиболее
распространенной.
Рис.
1. Система водоснабжения здания, действующая под напором в наружном
водопроводе: 1 - ввод; 2 - поливочный кран; 3 - распределительные трубопроводы
(стояки); 4 - вентили на поэтажной подводке; 5 - магистральный трубопровод; 6 -
водомерный узел
система
с водонапорным баком применяется при периодическом недостатке напора в наружной
сети (Н g > Н тр, Н g < Н тр). В период повышенного давления в наружной
сети вода накапливается в баке, а в часы уменьшения давления ниже требуемого
питание системы осуществляется из бака. Система рационально использует энергию
насосов наружного водопровода, аккумулируя воду и избыток напора при уменьшении
водопотребления в ночные часы. К недостаткам системы следует отнести
возможность ухудшения качества воды при использовании открытых баков и плохой
эксплуатации и др. (рис. 2);
Рис.
2. Система водоснабжения здания с водонапорным баком: 1 - ввод; 2 -
распределительные трубопроводы; 3 - верхняя магистраль; 4 - водонапорный бак; 5
- подающий трубопровод; 6 - водомерный узел; 7 - нижняя магистраль; 8 -
обратный клапан; 9 - подводка
Рис.
3. Система водоснабжения здания с повысительной насосной установкой: 1 - ввод
№1; 2 - обратный клапан; 3 - перемычка; 4 - запорная арматура; 5 - пожарный
стояк; 6 - водомерный узел; 7 - вентиль на поэтажной разводке; 8 - монтажные
запорные вентили; 9 - поливочный кран; 10 - спуск (пробка); 11 - кольцевая
магистраль; 12 - насосная установка; 13 - пожарные краны; 14 - ввод №2
-
система с водонапорным баком и повысительной установкой применяется при
недостаточности гарантийного напора в наружном водопроводе (Н g < Н тр ) и
при неравномерном потреблении воды в здании в течение суток. Повысительные
насосы включаются автоматически в результате падения уровня воды в баке или
нормативного напора в сети. Водонапорный бак работает в сети как регулирующая
емкость (рис. 4);
систему
с повысительными насосами и пневматической установкой применяют в
противопожарных или производственных водопроводах. В этой системе
гидропневматический бак выполняет функцию водонапорного бака и может
применяться как запасная, так и регулирующая емкость;
Рис.
4. Система водоснабжения здания с водонапорным баком и повысительной насосной
установкой: 1 - ввод №1; 2 - обратный клапан; 3 - перемычка; 4 - запорная
арматура; 5 - пожарный стояк; 6 - водомерный узел; 7 - поливочный кран; 8 -
насосная установка; 9 - водонапорный бак; 10 - кольцевая магистраль; 11 - ввод
№2
зонные
системы. Применяют при превышении допустимого давления в сети и для отделения
части системы по питанию или по величинам напоров. Наибольшая величина
гидростатического давления в системах хозяйственно-питьевого водоснабжения не
должна превышать 60 м (0,6 МПа), в системах противопожарного водопровода 90 м
(0,9 МПа). Зонирование применяется в зданиях высотой более 17 этажей: первая
зона использует гарантийный напор наружной сети водопровода. Последующие зоны
назначают в зависимости от величины дополнительного давления в сети внутреннего
водопровода. Верхние зоны работают под напором дополнительных насосов, которые
подбирают по расходу и напору верхней зоны. Схемы зонных водопроводов (рис. 5).
)
последовательная;
)
параллельная.
Рис.
5. Последовательная (а) и параллельная (б) схемы зонных водопроводов зданий: 1
- центробежный насос 2-й зоны; 2 - водонапорный бак 2-й зоны; 3 - насос 3-й
зоны; 4 - водонапорный бак 3-й зоны
Последовательная
схема имеет меньшую протяженность трубопроводов, но менее надежна в работе;
требует установки насосных агрегатов на промежуточных этажах, что крайне
нежелательно из-за вибрации и шума. К числу крупных недостатков можно отнести
нерациональное распределение и использование строительного объема здания под
оборудование. При параллельной схеме наблюдается перерасход труб, но насосы
размещаются централизованно, что упрощает их эксплуатацию и автоматизацию.
Выбор системы водопровода зависит:
от
назначения;
от
конструктивных особенностей;
от
этажности и объема зданий;
от
санитарно-гигиенических и пожарных требований.
При
решении вопроса о выборе системы водопровода необходимо предварительно
определить свободный напор (НСВ), принимаемый в зависимости от этажности
застройки, т.е.:

принимаем простую систему.
.2 Схемы
водопроводных сетей
Сети внутренних водопроводов состоят из магистральных и распределительных
трубопроводов, а также подводок к водоразборной арматуре.
Водопроводные сети бывают тупиковыми, кольцевыми и комбинированными,
двойными и циркуляционными.
Тупиковые сети применяют, когда допускается перерыв в подаче воды, при
устройстве одного ввода и числе внутренних пожарных кранов меньше 12.
Кольцевые сети применяют, когда не допускается перерыв в подаче воды, они
должны иметь не менее 2-х вводов.
Комбинированные сети состоят из кольцевых, магистральных и тупиковых
распределительных трубопроводов; их применяют в зданиях с противопожарным
водопроводом, оборудованным 12 и более пожарными кранами, в зданиях с большим
разбросом водоразборных устройств.
По расположению магистральных трубопроводов схемы сетей различают с
верхней и нижней разводкой. При нижней прокладке трубопроводы прокладывают в
подвале или техподполье и применяют в жилых и общественных зданиях. При верхней
разводке трубопровод монтируют на чердаке или под потолком верхнего этажа. Сети
с нижней и верхней разводкой имеют свои достоинства и недостатки.
Схема сети внутреннего водопровода выбирается с учетом размещения
водоразборных устройств в планах каждого этажа, режимов подачи и потребления
воды, надежности снабжения потребителей водой, а также технико-экономической
целесообразности.
3. Установление точек водоразбора и приёмников сточной воды
Приемники сточных вод служат для непосредственного приема бытовых сточных
вод в системах внутренней канализации зданий и подразделяются следующим
образом:
Основные требования, которые предъявляются к санитарным приборам -
удобство и простота прочистки их приемных отверстий, а также полная промывка их
рабочей поверхности. Во избежание засорения приемные отверстия всех санитарных
приборов, кроме унитазов и напольных клозетных чаш, должны иметь решетки. Поверхности
санитарных приборов защищают покрытиями против разрушающего воздействия сточной
жидкости, а также попеременного воздействия холодной и горячей (до 90оС)
воды.
Санитарные приборы изготавливают из различных материалов - чугуна,
керамики, листовой стали, цветных металлов и сплавов, а также пластмасс.
Внутренняя поверхность приемников должна быть гладкой с закругленными
формами без шероховатостей.
В квартирах в зависимости от планировки
устанавливается следующая водоразборная арматура:
в ванной комнате - смеситель для ванны и смеситель для
умывальника или комбинированный с поворотным изливом;
на кухне - смеситель для мойки или раковины;
в туалете - смывной бак.
Трубопровод хозяйственно-питьевого водоснабжения
вычерчивается синим цветом, и обозначается В1, а канализация - красным и
обозначается К1.
На плане подвала и плане этажа указывают положение
водопроводных и канализационных стояков. Водопроводные стояки на планах и схеме
следует обозначать Ст В-1-1, Ст В-1-2; канализационные: Ст К-1-1, Ст К-1-2 и т.д.
К водоразборной арматуре также относятся поливочные и пожарные краны.
Поливочные водопроводы предназначены для полива зелёных насаждений,
территорий и тротуаров в летнее время. Их роль выполняют поливочные краны,
оборудованные вентилями и быстросмыкающимися полугайками для присоединения
гибких шлангов длиной 20-30 м. Поливочные краны размещают в нишах наружных стен
здания через каждые 60-70 м по его периметру на высоте 0,35 м от отмостки. При
расчёте внутреннего водопровода расходы воды через поливочные краны,
предназначенные для мытья полов или поливки зелёных насаждений и территорий, не
учитывают, так как эти расходы обычно не совпадают по времени с максимальным
водопотреблением в здании.
Особенность поливочных водопроводов - их сезонная работа и необходимость
отключения и опорожнения на период холодного времени года, когда при
отрицательных температурах воздуха могут происходить льдообразование и
повреждения трубопроводов и оборудования. Поэтому на каждом трубопроводе
подводки от сети внутреннего водопровода к поливочному крану устанавливают
вентиль и спускной кран (или пробку) для опорожнения в зимний период.
4. Описание
способов прокладки водопроводной сети, водомерного узла, ввода, присоединения
городской водопроводной сети с указанием материалов, арматуры, приборов и
ГОСТов
4.1 Материалы
для водопроводной сети. Арматура
Для устройства водопроводных сетей холодного и горячего водоснабжения
СНиП 2.04.01-85* рекомендуют применять трубы пластмассовые, металлополимерные,
стальные, чугунные и асбестоцементные трубы.
Пластмассовые трубы, по сравнению со стальными, обладают большой
химической стойкостью, меньшей шероховатостью и, следовательно, большей
пропускной способностью. Применение этих труб ограничено из-за низкого предела
прочности и значительного коэффициента линейного расширения при повышенных
(более 400С) температурах. Для систем водоснабжения органами
здравоохранения разрешено использовать пластмассовые трубы со штампом
"пищевые", например, из полиэтилена высокой плотности (ПВП),
полиэтилена низкой плотности (ПНП), а также из полипропилена (ПП). Для монтажа
водопроводных пластмассовых труб применяют фитинги и арматуру. Полиэтиленовые
трубы выпускают диаметром условного прохода 10-150 мм на давление до 1 МПа.
Соединение труб между собой и с фасонными соединительными частями выполняют
методом контактной сварки, а также с помощью фланцев и накидных гаек. Фланцевые
соединения с накидными гайками предусматривают в открытых, легкодоступных
местах установки арматуры.
Стальные трубы водогазопроводные, оцинкованные и неоцинкованные (черные)
(ГОСТ 3262-75*) изготавливают условным диаметром 10-150 мм; электросварные
холоднодеформированные (ГОСТ 10707-91) на давление 1 - 2,5 МПа изготавливают
длиной 2-12 м. Стальные трубы как более надежные, прочные, удобные в монтаже
применяют в основном для внутренних водопроводов. Трубы поставляют с
цилиндрической и конической резьбой.
Чугунные трубы (ГОСТ 9583-75*) изготавливают трех классов (ЛА, А и Б)
условным диаметром 65-500 мм на давление до 1,0 МПа, длиной 2-6 м. Асбестоцементные
трубы выпускают двух марок: ВТ-6 и ВТ-12, диаметром 100-500 мм.
Асбестоцементные и чугунные напорные трубы чаще применяют для устройства
вводов. Требования к трубам:
) пропуск расчетного расхода;
) не должны влиять на качество воды;
) долговечность;
) малая масса и стоимость;
) простота монтажа;
) антикоррозийность.
Водопроводная арматура.
К трубопроводам арматуру присоединяют на резьбе или с помощью фланцев.
Водопроводная арматура изготавливается из латуни, стали, бронзы, серого и
ковкого чугуна, пластмасс. Выбор материала определяется условиями эксплуатации
и назначения арматуры. Для хозяйственно-питьевых и хозяйственно-противопожарных
водопроводов устанавливают арматуру на давление 0,6 МПа. В зависимости от
назначения арматура различается:
4.2
Устройство вводов
Вводом внутреннего водопровода считается участок трубопровода от
городской водопроводной сети до водомерного узла (запорной арматуры,
размещенной внутри здания). Ввод может быть присоединен к сети наружного
водопровода одним из следующих способов:
) с помощью седелки (при действующем наружном водопроводе);
) врезкой или приваркой его трубы или тройника (при возможности
отключения участка наружной сети);
) с помощью соединительных частей, установленных на трубопроводе
наружного водопровода при его прокладке.
Число вводов зависит от назначения и оборудования зданий. При устройстве
одного ввода его располагают в центре здания, если водопотребители расположены
равномерно по обе стороны или в той части, где потребляется наибольшее
количество воды. Если устраивают два и более ввода, их следует присоединять, по
мере возможности, к различным участкам наружной кольцевой сети; при отборе воды
из одного участка наружной сети вводы должны разделяться задвижкой. Трубы
водопроводного ввода необходимо прокладывать по кратчайшему расстоянию под
углом 900 к стене здания и с уклоном 0.002-0.005 к городскому водопроводу. Для
устройства вводов применяют чугунные раструбные водопроводные трубы диаметром
50 мм и более (ГОСТ 21053-75), стальные оцинкованные трубы (ГОСТ 3262-75)
диаметром 40 мм и менее с нанесением противокоррозийной битумной изоляцией и в
отдельных случаях пластмассовые трубы. Проход ввода через отверстие фундамента
здания или стены подвала устраивают в стальной гильзе, диаметром на 400 мм
больше диаметра ввода. Кольцевой зазор между трубой ввода и гильзой заделывают
просмоленной прядью, мятой глиной и цементным раствором.
В одонасыщенных грунтах ввод заделывают бетоном и цементным раствором или
с помощью сальника. Глубина заложения труб ввода принимают в зависимости от
глубины заложения наружной водопроводной сети и глубины промерзания грунта.
Минимальная глубина укладки вводов (при отсутствии промерзания грунта)
составляет 1 м. В месте присоединения ввода к наружной водопроводной сети
следует предусмотреть колодец диаметром не менее 700 мм с установкой в нем
задвижки на вводе (или вентиля - при диаметре ввода 40 мм и менее) и спускного
крана. При пересечении водопроводных трубопроводов с канализационными расстояние
между ними в свету по вертикали должно быть не менее 0,4 м, с другими
трубопроводами - не менее 0,2 м. При меньшем расстоянии водопроводные трубы
укладывают в металлическую гильзу с вылетом на 0,5 м в обе стороны от точки
пересечения, а в водонасыщенных грунтах - на 1,0 м.
Расстояние по горизонтали (в свету) между вводом водопровода и выпуском
канализации должно быть не менее 1,5 м (при диаметре ввода до 200 мм
включительно). В месте присоединения ввода к наружной сети устраивают колодец.
Для возможности опорожнения ввод укладывают с уклоном 0,005 в сторону наружной
водопроводной сети.
4.3
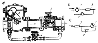
Водомерные узлы и устройства для измерения расходов воды
Для учета потребляемой воды в зданиях проектируются водомерные
устройства. Водомерные узлы располагают, как правило, сразу же после ввода.
Водомерный узел (рис. 6) состоит из устройства для измерения количества
расходуемой воды, запорной арматуры, контрольно-спускного крана, соединительных
фасонных частей и патрубков из водогазопроводных стальных труб.
Рис. 6 Водомерный узел: 1 - первый запорный вентиль; 2 - водосчетчик; 3 -
контрольно-спускной кран; 4 - второй запорный вентиль; 5 - обводная линия; 6 -
опломбированная задвижка
Различают водомерные узлы простые (без обводной линии) и с обводной
линией, на которой устанавливают опломбированную задвижку в закрытом положении.
Водомерный узел с обводной линией применяют, главным образом, на объединенных
системах хозяйственно-питьевого и противопожарного водопровода для пропуска
воды на пожар по обводной линии, минуя водосчетчик, а также в зданиях, где
недопустим перерыв в подаче воды. Запорную арматуру (вентили, задвижки)
устанавливают перед водосчетчиком и после него. Между водосчетчиком и запорной
арматурой по направлению движения воды устанавливают контрольно-спускной кран
(или патрубок с пробкой), который служит для спуска воды из системы внутреннего
водопровода, контроля располагаемого напора, проверки правильности показания
водосчетчика. Водомерный узел располагают в теплом и сухом нежилом помещении с
температурой воздуха не ниже 5°С в легкодоступном для осмотра месте вблизи
наружной стены у ввода в здание. Чаще всего его располагают в помещениях
центрального теплового пункта (ЦТП), в подвалах или приямках, устраиваемых в коридорах,
либо на лестничных площадках здания. Во избежание излишних потерь напора
водомерные узлы собирают так, чтобы водосчетчик был установлен на прямом
участке, а не на обводной линии. Для учета количества воды, расходуемой в
зданиях, применяют крыльчатые и турбинные скоростные водосчетчики. Принцип
действия водосчетчиков основан на суммировании числа оборотов помещенной в
поток воды вращающейся крыльчатки или турбинки. Скорость вращения крыльчатки
или турбинки пропорциональна средней скорости движения воды в месте установки
прибора. Передаточный механизм передает частоту вращения крыльчатки (турбинки)
счетному механизму, связанному с циферблатом, который суммирует количество
воды, прошедшей через водосчетчик. Крыльчатые водосчетчики типа ВК изготавливают
калибром 15-50 мм. Ось вращения крыльчатки у водосчетчиков ВК расположена
перпендикулярно направлению движения воды. В зависимости от способа подвода
воды к крыльчатке водосчетчики бывают одноструйные и многоструйные. Крыльчатые
счетчики размещают только в горизонтальном положении на резьбовых соединениях.
На входе в счетчик устанавливают сетку для выравнивания потока и задержания
попавших в воду окалины, продуктов коррозии. Турбинные водосчетчики выпускают
калибром 50-250 мм с фланцами для установки на трубопроводе.
Ось вращения турбинки водосчетка расположена параллельно направлению
потока воды, поэтому его установка не зависит от ориентации в пространстве.
Перед водосчетчиками следует предусматривать прямой участок длиной, равной пяти
диаметрам, а после счетчика - одному диаметру. При значительных колебаниях
расходов воды для учета малых и больших количеств применяют комбинированные
водосчетчики, состоящие из крыльчатого и турбинного, с переключающим клапаном.
Комбинированные водосчетчики завода "Водоприбор" выпускают двух
типов: параллельные и последовательные. Малые расходы воды фиксируются
крыльчатым водосчетчиком, а при увеличении расхода клапан направляет поток воды
в турбинный счетчик. Показания счетчиков суммируют (рис. 7).
В настоящее время разработаны конструкции с дистанционной передачей
показаний счетчиков по линии связи к регистрирующим приборам.
Рис. 7. Комбинированный скоростной счетчик воды: а - конструкция; б -
схема параллельного соединения счетчиков; в - схема последовательного
соединения счетчиков; 1 - клапан; 2 - крыльчатый счетчик; 3 - турбинный счетчик
4.4
Трассировка водопроводных сетей внутри здания
Правильный выбор мест прокладки сетей внутреннего водопровода существенно
снижает стоимость устройства системы и облегчает ее эксплуатацию. При нижней
разводке магистральный трубопровод, начиная от водомерного узла, следует
прокладывать в подвальном этаже или в техническом подполье, а при их отсутствии
- в каналах первого этажа, иногда совместно с другими трубопроводами
(отопления, горячего водоснабжения), располагая его под ними или рядом с ними.
Прокладка трубопроводов в земле под полом не допускается. Трубопроводы, кроме
пожарных стояков, прокладываемые в шахтах, кабинах и каналах, изолируют от конденсации
влаги.
Прокладка трубопроводов в помещениях с температурой ниже 2°С требует
устройства термоизоляции. Подпольные каналы бывают непроходные высотой 0,3-0,7
м, проходные высотой 1,7-1,8 м и полупроходные высотой 0,8-1 м. Ширина каналов
находится в пределах 0,3-1 м. Каналы делают прямоугольного сечения, выполняя их
из несгораемых материалов. Сверху их прикрывают съемными плитами.