Водопроводные очистные сооружения
МИНИСТЕРСТВО
ОБРАЗОВАНИЯ И НАУКИ
Федеральное государственное бюджетное
образовательное учреждение
высшего профессионального образования
"Нижегородский государственный
архитектурно-строительный университет"
(ННГАСУ)
Институт инженерно-экологических
систем и сооружений
Кафедра водоснабжения и водоотведения
Пояснительная записка
к курсовому проекту
Водопроводные очистные сооружения
Студент гр. 442 Струков Г.А.
Нижний Новгород - 2014г.
Содержание
1. Выбор схемы водоподготовки
. Расчет реагентного хозяйства
3. Расчет озонаторной станции
. Расчет контактной камеры озонирования
5.
Расчет хлораторной
.
Расчет вертикального вихревого смесителя
7. Расчет камеры хлопьеобразования со слоем взвешенного
осадка
. Расчет горизонтального отстойника
. Расчет скорых фильтров
10. Расчет резервуара чистой воды
Литература
1. Выбор схемы водоподготовки
Определение полной производительности станции
где:

-
полезная производительность станции, 
;

-
коэффициент, учитывающий расход воды на собственный нужны станции, 3%.
Выбор
схемы очистки.
Схема
подбирается согласно рекомендациям по табл. 15[1], в зависимости от качества
исходной воды (мутности и цветности) и производительности 
Принимаем
согласно [1] двухступенчатую реагентную очистку горизонтальные отстойники -
скорые фильтры.
. Расчёт реагентного хозяйства
В качестве коагулянта принимаем неочищенный сернокислый алюминий - Al2(SO4)3 ·18H2O.
Доза коагулянта.
Дозу коагулянта по цветности принимаем согласно п. 6.16 [1],
по мутности по табл. 16[1].
а) доза по цветности
б) доза по мутности
Окончательно
в расчетах принимаем дозу коагулянта 
.
Определяем дозу подщелачивающего реагента.
В качестве реагента используется известь СaO. Согласно п.6.19[1] дозу
подщелачивающего реагента определяют по формуле:
где:

-
коэффициент, принимаемый для извести,28;

- максимальная доза безводного коагулянта;

-
эквивалентная масса безводного коагулянта. ≈ 57 мг/л;

-
минимальная щелочность исходной воды, 1,32 мг-экв/л.
Доза
отрицательная, следовательно, подщелачивания не требуется.
В
проекте принята технология мокрого хранения коагулянта.
В
состав сооружений входят: растворные баки, баки - хранилища, расходные баки,
дозаторы, кислотостойкие насосы. На площадку очистных сооружений реагент
доставляется самосвалами или в вагонах по железной дороге. С пандуса высотой
1,2м коагулянт выгружается в растворные баки, частично заполненные водой.
Приготовленный 17% раствор после 2-4 часов отстаивания перекачивается в
баки-хранилища. Далее, по мере необходимости, крепкий раствор коагулянта
перекачивается в расходные баки, где его концентрацию доводится до рабочей -
8%. Затем раствор коагулянта рабочей концентрации забирается
насосами-дозаторами и подается к месту ввода - перед смесителем.
Суточный
расход товарного коагулянта.
где:

-
процентное содержание в реагенте безводного продукта для сернокислого алюминия
33,5%.
Объем
растворных баков.
Коагулянт
поступают на станцию большегрузным железнодорожным вагоном, грузоподъемностью
60 т, что обеспечивает потребление:
Объем
баков для раствора 17% концентрации, получаемого при растворении 60 т товарного
продукта определяется из расчёта по 2,4 м3 на тонну неочищенного
коагулянта (согласно п. 6.205 [1]):
В
соответствии с п. 6.22 [1], принимаем 3 бака. Тогда емкость каждого составит:
В
баках предусматривается съемная колосниковая решетка с прозорами 10-15мм,
которая делит бак на верхнюю надрешеточную и нижнюю подрешеточную части.
Объем
надрешеточной части составляет 70%:
Объем
подрешеточной части составляет 30%:
Конструктивно
принимаем размер бака в плане 3 x 3м. Тогда высота над- и подрешеточной частей
определится:
где:

-
площадь бака в плане, м2.
Надрешеточная
часть: 
Подрешеточная
часть: 
.
Общая
глубина бака составит.
где:

-
строительная высота, 0,5м.
Для
растворения коагулянта баки, общим объемом 
оборудованы
системой воздушного барботажа (согласно п.6.23 [1]). Расчётную подачу воздуха
(интенсивность) принимаем 9 л/с на 1 м2. Количество воздуха при
перемешивании коагулянта составит:
где:

-
количество одновременно работающих баков;

-
площадь бака, м2;
I -
интенсивность подачи воздуха 
.
Нижняя подрешеточная часть баков оборудуется системой гидросмыва осадка и
имеет угол наклона стенок 25º. Для опорожнения баков и сброса
осадка предусмотрен трубопровод d =
200 мм.
Из отстойной части растворных баков крепкий раствор забирается с помощью
поплавков и кислотостойких насосов и перекачивается в баки - хранилища.
На станции предусмотрен 30-и суточный запас коагулянта. Тогда
баки-хранилища рассчитываются на время хранения:
За этот период будет израсходовано:
Объем баков-хранилищ определяется из расчёта 1,7 м3 на 1 тонну
товарного коагулянта (п. 6.206 [1]). Тогда объём определится:

Руководствуясь ТП-901-3-181.83 принимаем 4 бака-хранилища по 104 м3
с размерами в плане 5,5×4,5 м и глубиной 4,2 м.
Баки - хранилища оборудуются системой для барботажа с интенсивностью 4 -
6 л/с м2.
Из баков-хранилищ крепкий раствор забирается с помощью поплавка и
насосами перекачивается по мере необходимости в расходные баки. Часовой расход
коагулянта с плотностью γ = 1,087 м3/т составит:
где:

-
концентрация раствора в %.
Принимаем
2 химических насоса: 1 раб + 1 рез. марки 2х-6П-1 производительностью 2 м3/ч.
Предусматриваем
установку 2-х расходных баков. Если каждый бак будет расходоваться в течении 8
часов, то емкость каждого составит:
Конструктивно принимаем размеры бака 2,5×3м и высотой в 2,5 м.
Раствор коагулянта перемешивается сжатым воздухом с интенсивностью I = 4 л/с на 1 м2 (п. 6.23
[1]). Тогда количество воздуха, необходимое для перемешивания коагулянта в 1
баке, составит:
где:

- площадь
бака в м2.
Общий расход воздуха для 2-х одновременно работающих растворных баков и
одного расходного составит:

Для подачи воздуха предусматриваем 3 воздуходувки: 2 рабочих и 1
резервную, марки ВК12 ( производительность 10,4 м3/мин ).
3. Расчёт озонаторной станции
Определяем часовую потребность в озоне:
где:

- доза
озона, 4г/м3;

-
часовой расход обрабатываемой воды, м3/ч;

-
коэффициент использования озона, 0,95.
Подбор
оборудования.
Принимаем
2 генератора озона марки П - 222 (плюс один резервный ) с расходом воздуха 435
м3/ч.
Рабочие
озонаторы расходуют воздуха:

) Принимаем 2 компрессора марки 3С2ВП-10/8,плюс один резервный.
) Выбор автоматических блоков воздухоподготовки нагревного типа
Принимаем 2 установки БОВ - 10, плюс одна резервная.
) Аппараты каталитического разложения озона.
Принимаем ТК - 1600, резервные не предусматриваются.
. Расчёт контактной камеры озонирования
Расчёт рекуперационного отделения.
Объем рекуперационного отделения рассчитывается на время пребывания воды
в нем tp = 1 мин:
где:

- полная
минутная производительность станции, м3/мин.
Площадь рекуперационного отделения:
где:

- высота
слоя воды в контактной камере 4,6м.
Конструктивно принимаем ширину камеры b = 6 м, длина рекуперационного отделения определится:
Используя формулы 4.1, 4.2, 4.3 определяем объемы и длины первой и второй
секций контактной камеры. При этом время пребывания в первой секции t1 принимается 4 мин., во второй секции t2 принимается 8 мин.
секция № 1
секция № 2
Общая длина контактной камеры определяется:
где:

-
принимается 0,5м.
Для распыления озоно-воздушной смеси в камере используем пористые
нержавеющие трубы марки ПНС - 40, с размером пор 40 мкм. Диаметр труб 60 мм,
длина одного элемента 800 мм, активная площадь распыления f = 0,075 м2. Интенсивность
подачи озоно-воздушной смеси i = 37
м3/м2час.
При подаче озоно-воздушной смеси в количестве равном расходу воздуха
генератором озона, необходимое количество труб составит:
При ширине камеры В = 6 м на одно отверстие распылительной системы
приходится n = 7 шт. пористых труб. Задаваясь
шагом между ответвлениями l1 = 0,2м и l2 = 0,6м, количество ответвлений составит:
. Расчёт хлораторной
Хлорирования производится дозой 1мг/л.
Расчетный расход хлора для хлорирования воды
В хлораторной устанавливаются два хлоратора марки ЛОНИИ-СТО (1 раб. + 1
рез.) с производительностью одного агрегата до 10 кг/ч.
Объём газообразного хлора при tпом = 18 ºС составит 0,6 кг/ч с одного баллона,
тогда количество 50-ти литровых баллонов, находящихся в работе, составит:
где:

- съем
хлора с одного баллона без искусственного подогрева, при температуре воздуха в
помещении 18 ºС 0,6кг/ч.
Месячная потребность в балонах
Для хранения хлора принимаем балоны типа F вместимостью 55л, длиной 1855мм и массой 79,5 кг.
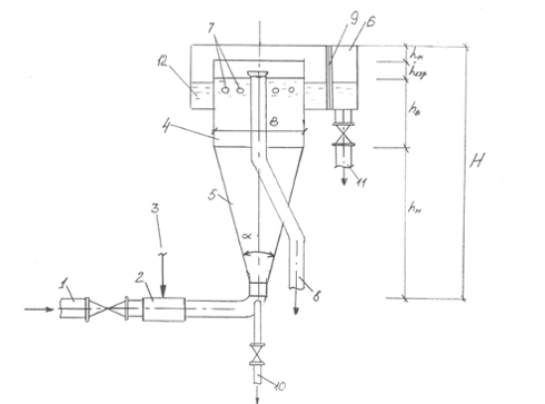
. Расчет вертикального вихревого смесителя
Принимается 2 квадратных в плане смесителя.
Расчетный расход воды на 1 смесителе Qс определяется по формуле
Площадь горизонтального сечения в верхней части смесителя
где:

-
скорость потока на отметке сборного устройства, 126м/ч.
Рис.1 - Вихревой смеситель: 1-трубопровод подачи воды на смеситель;
2-устройство ввода реагента; 3- трубопровод ввода реагента; 4-квадратная часть
смесителя; 5-пирамидальная часть смесителя; 6-сборный карман; 7-затопленные
отверстия; 8-переливной трубопровод; 9-сетка; 10-трубопровод опорожнения;
11-трубопровод отвода воды; 12-сборный лоток.
Размер корпуса в плане
Для
квадратного 
Размеры
нижней части смесителя:
Используя
значения Q и Vтр подбираем
стальные электросварные трубы по [5] dв = 500 мм. С учетом толщины стенок трубы ее наружный
диаметр dн = 530
мм. Тогда площадь нижней части смесителя f определится:
Высота нижней части смесителя
где:

-
центральный угол между наклонными стенками, 35°.
Объем
нижней части смесителя
Полный объем смесителя
где:

- время
пребывания воды в смесителе, 1,5мин.
Объем
верхней части смесителя
Wв = W - Wн ,м3
Wв = 37,55 - 24,2 = 13,35м3.
Высота верхней части смесителя
Высота смесителя
где:

-
строительный размер, 0,44м.
Полная
высота смесителя
H = h + hк м,
где hк - конструктивный размер, 0,3м.
H =
4,96 + 0,3 = 5,26 м.
Живое сечение потока воды в сборном лотке
где

- поток
воды, протекающий по лоткам делится на два
параллельных потока, 751,05 м3/ч;

-
скорость потока в сборном лотке, 0,6 м/с.
Для
определения глубины потока воды в лотке задаемся шириной лотка bл = 600 мм.
Дно
лотка выполняется с уклоном I = 0,02 в сторону сборного кармана.
Площадь
всех затопленных отверстий:
где
V0 -
скорость движения воды через отверстия, 1 м/с.
Общее
количество отверстий диаметром 100мм:
где
f0 -
площадь одного отверстия, 0,00785 м2.
Шаг
между осями отверстий:
где
P - смоченный периметр сборного лотка, м.
P =B*4=3,4*4=13,6м
7.
Расчет камеры хлопьеобразования со слоем взвешенного осадка
Камеры хлопьеобразования со слоем взвешенного осадка с вертикальными
перегородками надлежит применять для вод средней мутности и мутных вод.
Восходящую скорость движения воды следует принимать 0,65- 1,6 мм/с при
осветлении вод средней мутности и 0,8-2,2 мм/с при осветлении мутных вод.
Распределение воды по площади камеры хлопьеобразования со взвешенным осадком
предусматривают с помощью напорных перфорированных труб с отверстиями,
направленными вниз под углом 45°.
Площадь в плане всех камер хлопьеобразования
где:

-
скорость восходящего потока воды, 1мм/с=0,001м/с.
Площадь
одной камеры
Ширина
камер и их количество должны быть увязаны с размерами и количеством
отстойников.
Длина
камеры
Рабочая
высота камеры
где:

-
превышение уровня воды в камере,0,1м;

-
средняя глубина отстойника, 4м.
Время
пребывания воды в камере в среднем
Расход
воды приходящийся на каждую камеру
Расход
воды приходящийся на 1 трубу
Площадь
отверстий в стенках трубы принимается равной 40% от площади поперечного сечения
Диаметр
трубы принимаем по формуле:
Принимаем
300мм
Количество
отверстий в каждой трубе
Принимаем
диаметр отверстий 25мм=0,0025м, 
Шаг
отверстий
Отвод
воды из камеры хлопьеобразования в отстойник предусматривается через
затопленный водослив. Верх стенки водослива располагается ниже уровня воды в
камере на величину
За
стенкой водослива проектируется подвесная перегородка, отклоняющая поток воды к
низу. Она погружается на ¼ высоты отстойника
.
Расчет горизонтального отстойника
Площадь
отстойников в плане
где:

-
коэффициент объемного использования отстойников, принимаемый 1,3;

-
скорость выпадения взвеси, мм/с.
Длинна
отстойников
где:

-
средняя высота зоны осаждения, принимается 3÷3,5м;

-
расчетная скорость горизонтального движения воды в начале отстойника, принимаем
для вод мутных 9мм/с.
Количество
рабочих отстойников
Рабочая
глубина отстойника
где:

- высота
зоны накопления и уплотнения осадка, м.
Полная
высота отстойника с учетом высоты строительного борта
Площадь
одного отстойника в плане
Объем
осадочной части отстойника
где:

-
коэффициент учитывающий снижение объема зоны накопления и уплотнения осадка,
вследствие призматичности днища.
Период
работы отстойника между сбросами осадка
где:

-
средняя по всей высоте осадочной части концентрация твердой фазы осадка, г/м3;

-
концентрация взвешенных веществ в воде, поступающих в отстойник, мг/л.
Объем
зоны осаждения одного отстойника
Рабочий
объем одного отстойника
Время
пребывания воды в отстойнике в среднем
Количество
воды, сбрасываемой из отстойника вместе с осадком
где:

-
коэффициент разбавления, 
;

-
продолжительность сброса осадка, 20÷30мин.
Для
удаления осадка принимаются к монтажу в отстойнике асбестоцементные
трубопроводы с расстоянием между их осями 3м. Расстояние между осями труб и
стен принимается 1.5м.
Скорость
движения воды с осадком в конце трубы
Суммарная
площадь отверстий в одной трубе при отношении суммарной площади к площади
сечения трубы 0,7.
Требуемое
количество отверстий при площади одного 
Скорость
движения осадка в отверстиях
Отверстия
располагаются в шахматном порядке вниз под углом 45° к оси трубы. Тогда шаг
отверстий составит:
где:

- длина
дырчатого трубопровода, 
.
Сбор
осветленной воды предусматривается системой горизонтально расположенных желобов
с затопленными отверстиями. Длина желобов составляет 2/3 длины отстойника.
Принимаются по два желоба в каждом отстойнике при расстоянии между их осями 3м.
Они укладываются на поперечные опорные балки.
Расход,
приходящийся на 1 желоб, составит:
Скорость
движения воды в отверстиях принимается 1м/с. Тогда суммарная площадь отверстий
в желобе:
Требуемое
количество отверстий при площади одного 
Шаг
отверстий при 
,
составит:
Оси
отверстий располагаются на 5см выше дна желоба.
При
скорости движения осветленной воды в конце желоба 0,6 м/с площадь живого
сечения потока составит:
При
ширине желоба 0,4м высота слоя воды составит:
Верх
желоба с затопленными отверстиями располагают на 10см выше максимального уровня
воды в отстойнике. Из желобов осветленная вода поступает в сборный двухэтажный
канал (шириной в осях 1,5м, в чистоте, 1,3м). Для равномерности распределения
воды отвод на фильтры производится в нижней части канала, которая соединяется с
верхним проемом. Верхняя часть выполняет роль успокоителя, а так же в ней
происходит выделение из воды воздуха.
где:

-
площадь проема, 
.
Для
обеспечения свободного излива из сборных желобов расчетный уровень воды в
канале принимается на 0,25м ниже, чем в отстойнике. Тогда глубина воды в верхней
части сборного канала при максимальной скорости движения воды(0,4м/с) составит:
Горизонтальную
перемычку с проемом располагают на 1,1м ниже уровня воды в канале.
Для
полного опорожнения отстойников в концевой части каждого отстойника
предусматривается трубопровод, выводимый к сточной системе.
Отстойники
с встроенными камерами хлопьеобразования выполняются в сборно-монолитном
железобетоне. Для утепления одна сторона отстойников и камер хлопьеобразования
обваловывается грунтом, с другой - проектируется проходная галерея с обводным
трубопроводом и обваловка не предусматривается. Перекрытие отстойников
утепляется керамзитобетоном с выполнением гидроизоляции.
.
Расчет скорых фильтров
Общая
площадь фильтров
где:

-
полезная производительность станции, 
;

-
продолжительность работы станции в течение суток (принимается 24ч);

-
скорость фильтрования, принимается по табл.21[1];

- число
промывок одного фильтра в сутки при нормальном режиме эксплуатации;

-
удельный расход воды на промывку одного фильтра, 
.
Количество
промывок
где:

-
расчетная продолжительность фильтр цикла(принимается 8÷12ч);

- время
простоя фильтра в связи с промывкой (принимается 0,33ч).
Удельный
расход воды на промывку
где:

-
интенсивность промывки, принимается по табл.23[1] л/с ⋅ м2.
Количество
фильтров
Конструктивно
принимаем фильтр 6х6м.
Скорость
при форсированном режиме
Удовлетворяет
требованиям табл.21 [1]
Подбор состава фильтрующей загрузки и высоты фильтра принимаем согласно
СНиП. В проекте принят фильтр с двухслойной фильтрующей загрузкой.
1
слой кварцевый песок 
.
· минимальный диаметр зерен 0,5 мм;
· максимальный диаметр зерен 1,2 мм;
· эквивалентный диаметр зерен 0,7 - 0,8 мм;
· величина относительного расширения загрузки 50%;
· высота фильтрующего слоя: 0,8м
2слой - материал загрузки - дробленый антрацит;
· минимальный диаметр зерен 0,8 мм;
· максимальный диаметр зерен 1,8 мм;
· эквивалентный диаметр зерен 0,9 - 1,1 мм;
· высота фильтрующего слоя: 0,5 м
Для
фильтров предусмотрена дренажная система большого сопротивления. Принимаем
крупность зерен поддерживающих гравийных слоев 2-40 мм, при высоте слоя 
,
расстояние от поверхности фильтрующей загрузки до кромки желобов составит
где:

- высота
двух фильтрующих слоев 0,5+0,8=1,3м;

-
относительное расширение фильтрующей загрузки при промывке, 50%.
Высота
сооружения от дна до края желобов составит:
Общая
высота фильтра составит
где:

- высота
слоя воды над поверхностью загрузки, принимаем 2,2м.
Расход
промывной воды составит
где:

-
площадь 1 фильтра, м2;

-
интенсивность промывки, принимается по табл.23[1] л/с ⋅ м2.
Промывная
вода подается в нижнюю часть фильтра дренажа. Зная расход по [5]подбираем d=600мм,
V=1,67м/с, i= 0,0058.
При
продолжительности промывки 
количество
воды на одну промывку составит
Расстояние
между осями труб ответвления в дренажной системе принимаем l=270мм
согласно [1] 250-350мм, тогда количество ответвлений составит:
где:

- длина
фильтра, м;
Тогда
расход воды на одно ответвление составит
Согласно
[1] скорость движения воды в начале ответвления принимаем 1,6-2 м/с, чтобы
пропустить расход 22,97 л/c по [5] подбираем трубу d=125мм при
скорости V= 1,66 м/c на трубах распределительной
системы предусматривается отверстия диаметром d=12 мм согласно
[1]
Общая
площадь отверстий согласно [1] должна
составлять 0,25-0,5% от площади фильтра принимаем 0,3% , шаг оси отверстий
должен составлять 0,1-0,2м принимаем 0,15м. Отверстия расположены в нижней
части трубы в 2 ряда в шахматном порядке, под углом 45 к вертикали. При длине
ответвления 5,9м количество отверстий на одно ответвление составит:
Тогда
общее число отверстий составит
Общая
площадь отверстий диаметром 12 мм при площади каждого 
составит
Проверка
36м2 - 100%
,097м2
- х
Х=
0,27% что удовлетворяет требованиям [1]
Расчет
сборных желобов
Для
сбора и отвода промывной воды принимают желоба полукруглого сечения.
Конструктивно принимают по 3 желоба в каждом фильтре , тогда расстояние между
осями желобов 1,95 согласно [1] не более 2,2м , тогда расстояние от осей
крайнего желоба до стенок фильтра составит 1,05.
Ширина
желоба определится по формуле:
где:

-
коэффициент, принимаемый для желобов с полукруглым сечением, 
;

- расход
воды на один желоб определяется как 1/3 расхода промывной воды, м3/с;

-
отношение высоты прямоугольной части желоба к половине его ширины,
.
Высота
прямоугольной части желоба определится
Полезная
высота желоба принимаем равной В,
Конструктивная
высота желоба с учетом толщины конструкции = 1 м толщина днища желоба принимаем
6см. Минимальное расстояние от дна желоба до дна канала (бокового кармана)
определится
где:

- расход
промывной воды, м3/с;

- ширина
канала, согласно [1] не менее 0,7м.
.8.
Определение потерь напора в фильтре при промывке
а) потери напора в распределительной системе фильтров из перфорированных
труб в дренаже:
где:

-
скорость вначале дренажа, 1м/с;

-
скорость вначале бокового ответвления, 1,69м/с;

-
коэффициент сопротивления, определяется по формуле:
где:

-
отношение суммы площадей отверстий в дренажной системе к площади поперечного
сечения трубы.
б)
потери напора в поддерживающих гравийных слоях
где:

- высота
гравийного поддерживающего слоя, м;

-
расчетная интенсивность промывки, л/с⋅м2.
в)
потери напора в фильтрующих слоях
где:

-
параметры принимаемые для кварцевого песка а=0,76; б=0,017, для антрацита
а=0,85; б=0,004. высота гравийного поддерживающего слоя, м;
г)
потери напора в трубопроводах подводящих промывную воду к началу дренажной
системы
где:

- длина
трубопровода подающего промывную воду (принимается по ген. плану), м.
Кроме
того необходимо учесть потери на местные сопротивления в фасонных частях и
арматуре принимаем 20% от линейных
д)
Полная величина потерь напора при промывке составит:
Расчет
промывки фильтров из бака башни
Насос
для подачи воды в бак башни должен обеспечить его наполнение за время не
большее чем интервал между промывками. Забор воды для наполнения бака
осуществляется из РЧВ или из трубопровода фильтрата. Время наполнения бака
башни насосами определится:
где:

- время
работы станции, 24ч.

-
количество фильтров;

-
количество промывок в сутки.
Емкость
бака башни рассчитывается из условия хранения 2-х объемов промывной воды
Диаметр
бака башни составит:
Высота
бака башни:
Производительность
подкачивающего насоса принимая с коэффициентом запаса:
С
учётом коэффициента запаса
Отметка
низа бака башни определяется:
где:

-
отметка желоба в фильтре;

- общие
потери в фильтре при промывке.
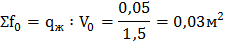
. Расчёт резервуара чистой воды
Рис.2
- Резервуар чистой воды
Объём РЧВ определяется:
где:

-
регулирующая ёмкость, 20% от 
;

- запас
на собственные нужны станции, 3% от 
;

-
противопожарный запас, определяется по формуле
По
типовому проекту 901-4-76.83:
Резервуары
для воды прямоугольные железобетонные сборные.
РЧВ
с номинальным объемом каждого 9000 м3,
размер
каждого 48 x 48 м,
макс
уровень воды 4,8 м.
водоподготовка хлораторный хлопьеобразование озонирование
Литература
1. СНиП 2.04.02-84* Строительные нормы и правила.
Водоснабжение. Наружные сети и сооружения. М., Стройиздат,1985
. Кастальский А.А., Минц Д.М. Подготовка воды для питьевого и
промышленного водоснабжения. М., Высшая школа, 1962.
. Клячко В.А., Апельцин И.З. Очистка природных вод. М.,
Стройиздат,1971.
. СанПиН2.1.4.559-96 Санитарные правила и нормы. Питьевая
вода. М.: Госкомсанэпиднадзор России, 1996.
. Шевелев Ф.А., Шевелев А.Ф. Таблицы для гидравлического
расчета водопроводных труб. Справ. пособие.-М., Стройиздат,1995.
. Абрамов Н.Н., Водоснабжение. М., Стройиздат,1974.
. Горбачев Е.А., Проектирование очистных сооружений
водопровода из поверхностных источников. Н.Новгород, ННГАСУ, 2003.
. Васильев А.Л., Васильев Л.А. Использование озона в
технологиях обработки природных вод. Н. Новгород, ННГАСУ, 2005.