Проект реконструкции левобережных очистных сооружений ООО 'КрасКом'
Министерство образования и науки
Российской Федерации
ФГБОУ ВПО "Сибирский
государственный технологический университет"
Факультет переработки природных
соединений
Кафедра промышленной экологии,
процессов и аппаратов химических производств
Бакалаврская работа
Проект реконструкции левобережных
очистных сооружений ООО "КрасКом"
Студента
дипломной работы:
В. А.
Мызникова
Руководитель
В.М. Ушанова
г.
Реферат
В дипломном проекте приведены результаты реконструкции
очистных сооружений левобережных очистных сооружений ООО "Краском" с
использованием УФ обеззараживания на последней стадии очистки.
Использование УФ обеззараживания позволяет очистить сточные
воды от бактерий, вирусов, простейших. При этом исключается образование в
сточных водах хлорорганических соединений, токсичных для рыб и всего биоценоза
водоема. Поскольку УФ-излучение является безреагентной стадией, что повышает
надежность и экологичность системы водоснабжения
Дипломный проект содержит пояснительную записку из 0 страниц
текста, 0 таблиц, 0 схему, 0 литературных источников и графическую часть из 0
листов формата А1.
очистное сооружение обеззараживание очистка
Содержание
Введение
1.Технико-экономическое обоснование
1.1 Краткая характеристика предприятия
1.1.1 Природно-климатические условия и экологическая оценка
территории расположения предприятия
1.1.2 Объемы и характеристики применяемого топлива, материалов,
потребляемой воды, энергоресурсов
1.1.3 Номенклатура выпускаемой продукции
1.2 Оценка воздействия предприятия на окружающую среду
1.2.1 Экологическая структурная карта-схема воздействия предприятия
на окружающую среду
1.2.2 Воздействие на атмосферу
1.2.3 Воздействие на гидросферу
1.2.4 Твердые отходы предприятия
1.3 Выбор и обоснование способа реализации проектного решения очистки
сточных вод
2. Технологические решения
2.1 Описание технологической схемы очистки сточных вод
2.2 Расчет основного оборудования
2.2.1 Расчет материального баланса для механической очистки
2.2.2 Расчет материального баланса для биологической очистки
2.3 Расчет дополнительного оборудования
2.3.1 Расчет решеток
2.3.2 Расчет песколовки
2.3.3 Расчет первичного отстойника
2.3.4 Расчет вторичных отстойников
2.3.5 Расчет иловых площадок
2.4 Расчет и подбор установки УФ - обеззараживания
Список использованных источников
Введение
В соответствии с федеральным законом "Об охране
окружающей среды" №7 от 10.01.2002 г. каждый имеет право на чистую
окружающую среду. Данный закон является основой экологического законодательства
РФ и является движущей силой в контроле предприятий за соблюдение норм
экологической политики предприятий.
Сточные воды несут в себе потенциальную опасность заражения
патогенными микроорганизмами и химическими веществами. Высокие требования к
качеству очищенных стоков при сбросе в водоемы рыбохозяйственного значения
стимулирует совершенствование технологии очистки стоков, применение эффективных
технологических решений. Одним из более распространенных и качественных методов
обеззараживания вод является УФ-излучение.
Применение ультрафиолетового излучения, обладающего высоким
бактерицидным действием, позволяет получить высокое качество обеззараживания
сточных вод по микробиологическим показателям.
1.Технико-экономическое
обоснование
1.1 Краткая
характеристика предприятия
Наименование: ООО "Красноярский жилищно-коммунальный
комплекс" ("Краском"). Основной целью производственной
деятельности является производство услуг водоснабжения и водоотведения для
населения, промышленных предприятий и прочих потребителей Красноярска.
Сегодня жизнедеятельность Красноярска обеспечивают две
централизованные системы - водоснабжения и водоотведения.
Всего на предприятии трудится около 3 тыс. человек. Каждые
сутки город потребляет 780 000 000 литров питьевой воды. Благодаря
инфильтрационному способу водоснабжения, Красноярск имеет практически самую
чистую воду в России.
Ежедневно более 40 тысяч абонентов г. Красноярска получают с
7 водозаборов около 500 тыс. м3 питьевой воды, шесть из которых -
инфильтрационные и один поверхностный. Химический состав подземных вод инфильтрационных
водозаборов полностью формируется за счет поверхностных вод Енисея и
практически не меняется на протяжении нескольких лет.
Водопроводная вода в Красноярске не требует очистки, то есть
она поднимается на поверхность практически кристально чистой и не требует
хлорирования. Поднимаемая из водозаборов вода готова к промышленному
бутилированию без предварительной водоподготовки.
.1.1
Природно-климатические условия и экологическая оценка территории расположения
предприятия
Левобережные коллекторно-очистные сооружения ООО
"КрасКом" г. Красноярска расположены на берегу р. Енисей,
юго-восточнее деревни Песчанка.
Выпуск очищенных сточных вод после левобережных
коллекторно-очистных сооружениях производится в р. Енисей по двум коллекторам
через глубинно-русловые выпуски с рассеивающими оголовками, вынесенными в русло
реки на 86 м от берега. Глубина погружения оголовок 3,5 м при средней глубины
реки в месте выпуска 4 м. Ширина реки в створе стоков составляет 600 м, расход
воды - 1800 м³ / с., средняя скорость течения - 0,75 м/с
[30].
По климатическим условиям г. Красноярск относится к
климатической зоне 1В - району континентального климата с холодной
продолжительной зимой и коротким жарким летом.
г. Красноярск расположен на двух берегах р. Енисей, в среднем
его течении, на стыке трех геоморфологических районов: предгорий Восточного
Саяна, долины реки Енисей, а также прилегающих к ней плато.
Долина р. Енисей занимает преобладающую часть города. Ширина
правобережной и левобережной части долины неодинакова. На правом берегу она
изменяется от одного километра у ручья Лалетина до 6-8 км при впадении реки
Березовка. Левобережная долина значительно расширяется только при впадении реки
Кача (2-8 км) и в северной части в районе поселка Песчанка.
Растительность в городе и его окрестностях различна:
левобережье Енисея - типичная лесостепь, а правобережье - ярко выраженная
горная тайга.
Город опоясан лесными массивами, общей площадью 5332 га.
Преобладающее распространение в почвенном покрове занимает черноземный тип
почв, который представлен четырьмя подтипами: обыкновенные, выщелоченные,
оподзоленные и недоразвитые черноземы, кроме черноземов встречаются серые
лесные, дерново-намытые пойменные и лугово-черноземные почвы.
Орографические условия определяют для города Красноярска
однородный ветровой режим в течение всего года. В городе, где направление
долины реки совпадает с преобладающими направлениями ветра, повторяемость
юго-западных ветров очень велика (30-35% в году), в январе повторяемость этих
ветров вместе с западными составляет 80 %. При переходе от зимы к лету
несколько увеличивается повторяемость ветров северной части, хотя
преобладающими по-прежнему остаются юго-западные ветра. Самая низкая средняя
температура приходится на январь, она составляет 16,8 - 18,3ºC и распределяется по городу в зависимости от рельефа местности.
Самым жарким месяцем является июль, когда в среднем в течение 26 дней средняя
температура выше 15ºC, из них в течение 10 дней
выше 20ºC. Абсолютные минимумы и максимумы показывают на большие пределы
колебания температуры воздуха. Средние максимумы и минимумы дают представление
об уровне температур, соответственно, в наиболее холодную (ночную) и наиболее
теплую (дневную) часть суток.
Относительная влажность воздуха, являющаяся показателем
насыщения воздухом водяными парами, наиболее низкая (53-62%) наблюдается в
апреле-июне, что обусловлено быстрым прогреванием приземных слоев воздуха и
небольшим количеством выпадающих осадков. К августу ее значение повышается и
достигает 76 %. Затем следует небольшой спад, а с переходом к устойчивым
отрицательным температурам в ноябре-декабре снова наблюдается увеличение
относительной влажности до 71 %. С ноября по февраль значение среднемесячной
относительной влажности почти не изменяется 70-71 %.
Атмосферные осадки. Среднее годовое количество осадков в
пределах города Красноярска - 454 мм, из них в холодный период (с октября по
март) выпадает 85 мм. Наименьшее месячное количество (11-14 мм) наблюдается в
январе - марте. С апреля количество осадков постепенно увеличивается, достигая
максимума в июле (81 мм). Результаты наблюдений приведены в таблице 1.1
Таблица 1.1 - Среднемесячное и годовое количество осадков (Р)
и суточный максимум осадков (Р макс, мм)
|
Месяц
|
1
|
2
|
3
|
4
|
5
|
6
|
7
|
8
|
9
|
10
|
11
|
12
|
Год
|
|
Р
|
14
|
11
|
12
|
24
|
44
|
60
|
81
|
75
|
47
|
38
|
29
|
19
|
454
|
|
Р макс
|
7
|
14
|
17
|
26
|
33
|
60
|
94
|
97
|
44
|
33
|
54
|
11
|
97
|
Ветровой режим - одним из важнейших факторов, определяющих
характер рассеивания промышленных выбросов в атмосфере. Преобладающие
направления ветров до высоты от 800 до 1000 м - юго-западный и западный,
совпадающие с господствующими направлениями воздушных потоков над данной зоной
в свободной атмосфере.
Это можно считать благоприятным фактором, т.к. они относят
вредные примеси в сторону от основных жилых массивов.
На слабые ветры и безветренные "застойные" периоды
(от 0 до 1,0 м/с), опасные с точки зрения накопления высоких концентраций
вблизи источников выбросов вследствие слабого естественного воздухообмена,
приходится до 40 % в зимний и летний периоды.
Скорости ветра от 4,0 до 5,0 м/с отвечают условиям
удовлетворительного естественного воздухообмена, но способны осуществлять
длительный направленный перенос промышленных выбросов от высоких источников на
значительные расстояния. Повторяемость ветров в зимний и летний периоды
приведены в таблице 1.2.
Таблица 1.2 - Повторяемость направлений ветров
|
Месяц
|
Повторяемость
различных направлений ветра, %
|
|
С
|
СВ
|
В
|
ЮВ
|
Ю
|
ЮЗ
|
З
|
СЗ
|
штиль
|
|
Январь
|
12
|
2
|
3
|
2
|
14
|
38
|
23
|
5
|
25
|
|
Июль
|
16
|
9
|
11
|
4
|
11
|
23
|
18
|
7
|
16
|
Вероятность штилевой погоды - 40-50%, а вместе со слабыми ветрами
(до 5 м/с) - около 85-90%. Сильные ветры (более 15 м/с) не превышают 1%.
Среднегодовая роза ветров представлена на рисунке 1.2.
Рисунок 1.1 - Среднегодовая роза ветров, г. Красноярск
На территории г. Красноярска происходят частые температурные
инверсии, затрудняющие вертикальный воздухообмен и способствующие накоплению и
рассеиванию вредных веществ в приземном слое атмосферы (таблица 1.3). Во
всероссийской классификации город Красноярск расположен в зоне повышенного
потенциала загрязнения атмосферного воздуха.
Таблица 1.3 - Метеорологические характеристики и
коэффициенты, определяющие условия рассеивания загрязняющих веществ в атмосфере
города
|
Наименование
|
Величина
|
|
Коэффициент
рельефа местности
|
1,0
|
|
Средняя
температура наружного воздуха наиболее жаркого месяца года, °С
|
25,5
|
|
Средняя
температура наружного воздуха наиболее холодного месяца года, °С
|
минус 18,2
|
|
Относительная
влажность, %
|
67
|
|
Осадки, мм/год
|
512
|
|
Среднегодовая
роза ветров, % С СВ В ЮВ Ю ЮЗ З СЗ
|
4,2 5,8 9,0
2,3 3,4 28,6 35,1 10,4
|
|
Скорость ветра
по средним многолетним данным, повторяемость превышения которых составляет
5%, м/с
|
9,0
|
1.1.2 Объемы
и характеристики применяемого топлива, материалов, потребляемой воды,
энергоресурсов
Исходным сырьем для очистных сооружений канализации являются
хозяйственные и промышленные сточные воды предприятий, учреждений и жилого
массива левобережной части г. Красноярска.
Значения общего суточного расхода сточных вод, проходящих
очистку на ЛОС, приведены в таблице 1.4.
Таблица 1.4 - Общий суточный расход сточных вод
|
Дата
|
Общий поток, м3/сут
|
|
Июнь, 14
|
305078,87
|
|
Июль,14
|
300524, 20
|
|
Август, 14
|
296072,06
|
|
Сентябрь, 14
|
296617,33
|
|
Октябрь, 14
|
293839,03
|
|
Ноябрь, 14
|
300000,36
|
|
Декабрь, 14
|
304082,26
|
|
Январь, 15
|
299618,71
|
|
Февраль, 15
|
302581,67
|
|
Март, 15
|
303484, 20
|
|
Апрель, 15
|
302023,33
|
|
Среднее
|
300356,47
|
Таким образом, средний суточный расход, поступивших на ЛОС
сточных вод за исследуемый период, составил 300 тыс. м3/сут.
Вышеприведенные данные представлены в виде диаграммы н рисунке 1.2.
Рисунок 1.2 - Средний суточный расход по месяцам за период с
июня 2014 г. по апрель 2015 г.
Качественный состав сточных вод, сбрасываемых промышленными
предприятиями на очистные сооружения канализации регламентируется нормами
допустимых концентраций химзагрязнений, содержащихся в них. Вспомогательными
материалами при очистке сточных вод являются активный ил, техническая вода,
которые удаляются из вторичных отстойников и подаются в аэротенки на стадии
биологической очистки.
Данный объект обеспечивается электроэнергией с недалеко
находящегося завода КрАЗ. За месяц левобережные очистные сооружения расходуют
52698 кВт. Годовой расход электроэнергии составляет 632 376 кВт.
1.1.3
Номенклатура выпускаемой продукции
Готовым продуктом являются очищенные сточные воды непрерывно
сбрасываемые в р. Енисей.
В таблице 1.5 представлены данные о количестве и качестве
сточной воды до и после очистки.
Таблица 1.5 - Показатели сточных вод
|
Название
загрязняющих веществ
|
Исходная
концентрация до очистки, мг/л
|
Конечная
концентрация После очистки, мг/л
|
Предельно
допустимая концентрация, мг/л
|
Предельно допустимый
сброс, мг/л
|
|
Взвешенные
вещества
|
80
|
12,8
|
8,38
|
8,382
|
|
Фенолы
|
0,003
|
0
|
0,001
|
0
|
|
Нефтепродукты
|
0,27
|
0,11
|
0,09
|
0,09
|
|
Азот аммонийный
|
10,8
|
2,7
|
1,82
|
2,2
|
|
Медь
|
0,27
|
0,006
|
0,005
|
0,005
|
|
Никель
|
0,24
|
0,115
|
0,021
|
0,022
|
|
Хром +3
|
0,0027
|
0,0015
|
0,002
|
0,002
|
|
Фосфаты
|
3,9
|
3,3
|
1,55
|
1,55
|
|
Хлориды
|
21,6
|
18,0
|
21,0
|
6,52
|
|
АПАВ
|
0,3
|
0,85
|
0, 19
|
0,5
|
|
НПАВ
|
0,37
|
0,14
|
0, 19
|
0, 19
|
|
Жиры
|
10,5
|
4,87
|
0
|
0
|
|
Сульфаты
|
20,0
|
18,7
|
26
|
39,4
|
|
Свинец
|
0,009
|
0,003
|
0,0013
|
0,001
|
Прошедшие очистку (механическую, биологическую) сточные воды
содержат патогенные бактерии, простейших, яйца гельминтов и вирусы, опасные для
человека. Сточные воды с патогенной микрофлорой попадают в водоемы, создавая
тем самым опасность заражения для человека во время купания, употребления
продуктов рыбохозяйственной деятельности и просто отдыха. Наибольшую опасность
представляет попадание стоков в подземные воды, которые используются в качестве
хозяйственно - питьевого водоснабжения.
Согласно СанПиН 2.1.5.980 - 00, сточные воды, опасные по
эпидемиологическому критерию, могут сбрасываться в водные объекты только после
соответствующей очистки и обеззараживания до числа термотолерантных колиформных
бактерий. В связи с этим на левобережные очистные сооружения необходимо
внедрить систему обеззараживания.
.2 Оценка
воздействия предприятия на окружающую среду
.2.1
Экологическая структурная карта-схема воздействия предприятия на окружающую
среду
Экологическая структурная карта-схема воздействия предприятия
на окружающую среду представлена на рисунке 1.2
Рисунок 1.2 - Экологическая структурная карта-схема
1.2.2
Воздействие на атмосферу
Основными источниками выбросов в атмосферу являются: топливо
при сжигании, органические примеси в осадке песколовок.
Газы, выделяющиеся в процессе производства, негативно
действуют на окружающую среду и здоровье человека, поэтому, по возможности их
лучше утилизировать.
1.2.3
Воздействие на гидросферу
Общий обьем поступающих на очистку сточных вод составляет
300-350 тыс. м³/сут, из них воды бюджетных организаций
(66,165 тыс. м³/сут), хозфекальные сточные воды жилого
массива (103 тыс. м³/сут) остальное количество
составляет промышленно-хозяйственные воды. Принимается 300 тыс. м³/сутки.
Сброс очищенных сточных вод производится в р. Енисей одним
смешанным выпуском.
Качество сбрасываемых вод, в динамике с 2000 по 2014 г. г.
постоянно улучшается. Сократился сброс нефтепродуктов (на 17,6 %), жиров (на
3,5 %), цинка (на 48,7 %), свинца (на 72,6 %). По остальным загрязняющим
веществам, несмотря на постоянную гидравлическую нагрузку, сброс остается
стабильным.
1.2.4 Твердые
отходы предприятия
В процессе очистки сточных вод образуются несколько видов
твердых отходов: мусор с защитных решеток малоопасный (код по ФККО 2014 - 722
101 01 714), осадок с песколовок малоопасный (код по ФККО 2014 - 722 102 01
394), ил избыточный биологических очистных сооружений (код по ФККО 2014 - 722
200 01 394). Предприятие имеет лицензию на захоронение данных отходов.
Отходы вывозятся на шламовые площадки. Для контроля качества
обеззараживания отходов производится их регулярный анализ.
В соответствии с п.6.386, СНиП 2.0403-85 предусмотрены
аварийные иловые площадки на 20 % объема годового количества осадка.
Для защиты грунтовых вод предусмотрено высотное положение
иловых полей, в соответствии со СНиП 2.01.03-85, составляющее не менее 1,5 м
над уровнем воды.
Некоторые производственные процессы сопровождаются
значительным шумом и вибрацией. Источники интенсивного шума и вибрации - насос,
вентилятор и метатенк.
Повышение уровня шума и вибрации на рабочих местах оказывает
вредное воздействие на организм человека.
Под влиянием интенсивного шума и вибрации наступают
повышенная утомляемость и раздражительность, плохой сон, головная боль,
ослабление памяти, внимания и остроты зрения, что ведет к снижению
производительности труда (в среднем на 10-15 %) и часто является причиной
травматизма.
На данном предприятии технологическое оборудование
малошумное, поэтому мероприятия по снижению вибрации, защитные средства для
обслуживания персонала не предусмотрены.
Основное снижение шума достигается звукоизоляцией источника
при применении глушителей, которые устанавливаются на воздуховодах
Звукоизоляция это специальное устройство, преграды (в виде стеновых
перегородок, кожухов) препятствующие распространению шума.
Физическая сущность в том, что наибольшая часть звуковой
энергии отражается от ограждающихся конструкций. Устанавливают специальные
кожухи на агрегатах, это обеспечивает снижение шума на 15-29 дБ. Для защиты
работающих от прямого воздействия шума используют экраны, устанавливаемые между
источниками шума и рабочим местом. [9]
1.3 Выбор и
обоснование способа реализации проектного решения очистки сточных вод
Сточные воды несут в себе потенциальную опасность заражения
патогенными микроорганизмами и химическими веществами, которые могут иметь как
органическое так и неорганическое происхождение. Поэтому обеззараживание стоков
- это актуальная проблема для всех времен. Если не проводить эффективное
очищение от болезнетворных бактерий и вредных веществ, это может вызвать
развитие эпидемии.
Способов очистки воды достаточно много, в основном все
способы делятся на 2 вида: химические методы и физические. К химическим методам
относится, например хлорирование, к физическим можно отнести кипячение,
обработку ультразвуком, ультрафиолетовую очистку.
Рассмотрим два варианта обеззараживания сточных вод.
Первым вариантом дополнительной очистки сточных вод
рассмотрим химический метод - озонирование. Озонирование производственных,
ливневых и хозяйственно-бытовых сточных вод применяется как на начальной стадии
очистки, так и на заключительной. Озонирование предварительно очищенной сточной
воды используют для решения таких задач как:
Обеззараживание сточной воды озоном перед сбросом в
канализацию или водоем. Применяется в тех случаях, когда УФ-обеззараживание
недостаточно эффективно.
Доочистка сточной воды от нефтепродуктов и ПАВ. В некоторых
случаях требуется совместная обработка воды озоном и перекисью водорода
(AOP-процесс, Advanced Oxidation Process).
Удаление фенолов. Фенолы плохо удаляются даже обратным
осмосом вследствие недостаточно высокой селективности осмоса по отношению к
неионным соединениям.
Очистка стоков от формальдегида. Те же проблемы, что и с
фенолами - низкая селективность обратноосмотических систем, недостаточная
эффективность других методов очистки. Озонирование воды в данном случае
применяется совместно с дозированием перекиси водорода (AOP-процесс) или
ультрафиолетовым облучением (AOP-процесс, фотоозонирование). Действующим
окислителем в данном случае являются короткоживущие высокореакционноспособные пероксидные
радикалы. Озонирование сточной воды без применения перекиси или УФ-облучения в
данном случае неэффективно.
Удаление сероводорода, органических сульфидов и меркаптанов.
Наиболее важной проблемой данного метода является высокая
активность озона, он вступает в химические реакции со всеми органическими и
неорганическими веществами находящимися в воде. В воде из поверхностных
источников (которые в основном являются источниками водозабора) находится
огромное количество сложных органических веществ природного происхождения, а
также в большинстве крупных промышленных городов в воду попадают с
промышленными стоками красители, ПАВ, нефтепродукты, фенолы и пр. При
озонировании воды, содержащей вышеприведенные вещества, возможно образование
достаточно высоко токсичного формальдегида (ПДК 0,05 мг/л). Все эти недостатки,
свойственные озонированию, явились причиной для массового внедрения менее
опасных методов обеззараживания.
Второй предлагаемый нами вариант - УФ обеззараживание сточных
вод. В настоящее время УФ обеззараживание в России получает все большее
распространение. УФ облучение летально для большинства водных бактерий,
вирусов, спор и простейших. Данный способ уже применяется на ПОС ООО
"КрасКОМ".
Обеззараживание ультрафиолетом происходит за счет фотохимических
реакций внутри микроорганизмов. На ход этих реакций не влияют такие изменения
характеристик воды как рН и температура, которые при химической очистке имеют
большой вес. Время обеззараживания составляет от 1 до 10 с в проточном режиме,
поэтому не возникает необходимости в создании контактных емкостей.
Данный метод безопасен для людей, отсутствует необходимость
создания складов токсичных хлорсодержащих реагентов, требующих соблюдения
специальных мер технической и экологической безопасности.
Для обеззараживания УФ характерны более низкие
эксплуатационные затраты, по сравнению с хлорированием и озонированием.
Недостатком УФ обеззараживания является необходимость в
высокой прозрачности очищаемой воды. Поэтому перед обеззараживанием необходимо
очистить воду от коллоидных загрязняющих веществ. Применение минеральных
коагулянтов обеспечивает необходимую доочистку от грубодисперсных, коллоидных
загрязнений, растворенных высокомолекулярных органических веществ, фосфатов,
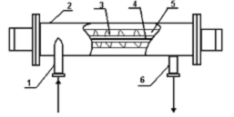
фторидов. В качестве коагулянта используется Al2 (SO4) 3. Реагент
добавляется в распределительную чашу после аэротенок. Схема предлагаемой
очистки представлена на рисунке 1.3.
Для реализации проектного решения выбирается второй вариант.
Применение именно такой очистки рекомендовано по многим причинам:
Обеззараживание ультрафиолетом происходит за счет
внутриклеточных реакций, происходящих в бактериях, поэтому на саму воду не
оказывается никакого влияния.
Время выполнения процесса минимально, поэтому возможно его
применение в проточных системах очистки.
Себестоимость такой дезинфекции на порядок ниже, чем у других
способов.
Применение установок УФ очистки не несет потенциальной
опасности для человека.
Современное оборудование для выполнения подобного процесса
малогабаритно и не требует огромных производственных площадей. Кроме того,
новейшие разработки позволили полностью автоматизировать процесс. Современные
электронные системы самостоятельно определяют степень загрязнения воды и задают
оптимальную программу работы.
Рисунок 1.3 - Схема очистки сточных вод с внедрением УФ
обеззараживания
2.
Технологические решения
2.1 Описание
технологической схемы очистки сточных вод
Схема очистки сточных вод представлена на рисунке 2.1 Сточные
воды самотеком объемом 300 тыс. м3/сут через камеру гашения (2)
поступают на решетки-дробилки (3) для механической очистки от крупных
нерастворимых плавающих загрязнений. На решетках-дробилках примеси размером
более 5 мм задерживаются и измельчаются без извлечения из воды. При засорении
решеток уровень воды в подводящих каналах повышается.
Основным параметром регулирования работы решеток является
гидравлическое сопротивление, выражающееся через перепад уровней жидкости до и
после решетки, который не должен превышать 10-20 см.
После решеток сточная вода поступает в двухсекционную
горизонтальную песколовку (4) с круговым движением воды, где происходит
выделение загрязняющих примесей более 0,25 мм (в основном песка). Осадок из
песколовки удаляется гидроэлеваторном (5). Техническая вода на гидроэлеватор
подается из первичных отстойников (7) [26].
Песковая пульпа удаляется в песковые бункеры (6), где
происходит обезвоживание песка. Техническая вода из бункера (6) отводится в
систему хозфекальной канализации, а обезвоженный песок вывозится в отвал на
территории очистных сооружений. Накопление песка допускается слоем не более 40
см. Удаление песка из песколовок (4) производится по мере его накопления, но не
реже, чем один раз за двое суток.
Для создания благоприятного режима прохождения сточных вод
через песколовку и замера количества поступающих сточных вод, после песколовки
(4) в канале установлен лоток Паршаля, после которого сточные воды самотеком
поступают в радиальные первичные отстойники (7).
Осветленные сточные воды после первичных отстойников (7) по
самотечному каналу поступают в верхний канал двухкоридорных
аэротенков-вытеснителей (8), где происходят процессы окисления под действием
микроорганизмов. Впуск воды в аэротенки осуществляется в начале первого
коридора каждой секции через прямоугольные отверстия, перекрываемые щитовыми
затворами.
Одновременно, непрерывно со сточными водами, в аэротенк (8)
подается активный ил в начало первого коридора каждой секции. Для регулирования
подачи ила в каждую секцию в камере установлены подвижные водосливы с тонкой
стенкой.
Активный ил в распределительную камеру подается шламососами
(14), установленными в насосно-воздуходувной станции, которые его перекачивают
его из резервуара активного ила (10).
Аэрация иловой смеси в коридорах аэротенков (8) осуществляется
нагнетанием сжатого воздуха воздуходувками (16), установленными в
воздуходувно-насосной станции. Работа воздуходувок контролируется приборами:
подавлению воздуха, по температуре подшипников, по давлению воды, подаваемой на
охлаждение подшипников.
Для опорожнения каждой секции аэротенков (8) предусмотрена
система, состоящая из трубопровода во втором коридоре с задвижкой в колодце.
Иловая смесь из аэротенков (8) поступает в метентенк (11).
Оседающий во вторичных отстойниках (9) активный ил самотеком
под гидростатическим давлением при помощи илоскребков удаляется в иловые
приямки отстойников, из которых через систему трубопроводов отводится в иловые
камеры и, далее, в приемный резервуар активного ила (10). Из резервуара
активного ила (10) ил поступает в метатенк (11) вместе с сырым осадком, где
происходит обеззараживание. После чего обеззараженный осадок поступает на
иловые площадки (12) и далее перекачивается на иловые карты, на которых при
естественных условиях происходит обезвоживание осадка.
Избыточный активный ил подается шламососом (13) в аэротенк
(8), туда же вентилятором (16) подается воздух.
Сточная вода из вторичных отстойников отводится в камеру
доочистки очищенных сточных вод (17), после камеры доочистки вода поступает в
УФ-камеру (18) и далее на рассеивающий выпуск в р. ЕНИСЕЙ (2 трубы 20 м от
берега). Схема очистки приведена в приложении А. [27].
- приемный резервуар; 2 - камера гашения; 3 - решетка
дробилка; 4 - песколовка; 5 - гидроэлеватор; 6 - бункер песка; 7 - первичный
отстойник; 8-аэротенк-вытеснитель; 9 - вторичный отстойник; 10 - сборник
активного ила; 14 - шламосос; 15 - пескосушка; 16 - воздуходувка; 17 - камера
доочистки; 18 - УФ-камера
Рисунок 3.1 - Схема очистки сточных вод левобережных
сооружений
2.2 Расчет
основного оборудования
Количество поступающих стоков 300 тыс. м3/сут,
принимаем 110 тыс. м3/сут так, как расчет ведем по одной из
очередей. Содержание взвешенных веществ в поступающей в воде - 80 мг/л.
Задерживается взвешенных веществ в песколовках (6%). Эффект осветления сточных
вод в первичных отстойниках 70%. Вынос взвешенных веществ из вторичных
отстойников-11,2 мг/л.
Материальный баланс для всего процесса очистки можно выразить
следующей формулой:
C1Q=C2Q2 + C3Q3
+ C4Q4 +C5Q5, (3.1)
где:
C - концентрация загрязняющих веществ, г/ м3;
Q - объем загрязнений сточной воды, м3/сут;
C1Q1 - количество примесей поступающих на очистку,
кг/сут;
C2Q2 - количество примесей на выходе из сооружений,
кг/сут;
C3Q3 - количество примесей, отводимых в виде осадка
после очистки в песколовке, кг/сут;
C4Q4 - количество примесей, отводимых после очистки в
первичном отстойнике, кг/сут;
C5Q5 - количество примесей, отводимых после очистки во
вторичном отстойнике, кг/сут.
Расчет материального баланса для поступивших стоков
Мi=Q*Ci (3.2)
где Q - расход сточной воды, м3/сут,
Ci - концентрация загрязняющего вещества, г/м3.
Рассчитываем массу поступивших веществ. Взвешенные вещества
Мпос=80·300=24000 кг/сут
) Фенолы
) Нефтепродукты
Мпос=0,27·300=81 кг/сут
) Азот аммонийный
Мпос=10,8·300=3240 кг/сут
) Медь
Мпос=0,27·300=81 кг/сут
) Никель
Мпос=0,24·300=72 кг/сут
) Хром+3
Мпос=0,0027·300=0,81 кг/сут
) Фосфаты
Мпос=3,9·300= 1170 кг/сут
) Хлориды
Мпос=21,6·300=6480 кг/сут
) АПАВ
Мпос=0,3·300=90 кг/сут
) НПАВ
Мпос=0,37·300=111 кг/сут
) Жиры
Мпос=10,5·300=3150 кг/сут
) Сульфаты
Мпос=20·300=6000 кг/сут
) Свинец
Мпос=0,009·300=2,7 кг/сут
2.2.1 Расчет
материального баланса для механической очистки
Расчет материального баланса для песколовки
Загрязненная сточная вода поступает в песколовку при
температуре 16оС, расходом 300 тыс. м3/сут Принимаем
эффективность очистки по каждому загрязняющему веществу: взвеси - 6 %,
остальные загрязняющие вещесва-0% [30].
Зная концентрацию веществ после песколовок и расход сточной
воды находим массу загрязняющих веществ после очистки в песколовках из формулы
(3.2):
) Взвешанные вещества
Мп. п=75,2·300=22560 кг/сут
Отсюда масса которая задержалась равна:
Мзад=МпосМп. п (3.3)
Мзад24000 - 22500=1440 кг/сут
Эффективность очистки по взвешенным веществам:
Э=
×100 %, (3.4)
где Сн - начальная концентрация i - го компонента, г/ м3;
Ск - конечная концентрация i-го компонента, г/м3,
Эi - эффективность очистки по каждому
веществу, %.
Э=
Масса взвешенных веществ кг/сут уловного в песколовке определяется
Мул=Мпос*Э (3.5)
где Мул - масса уловленного i-го вещества в песколовке,
Мпос - масса поступившего i-го вещества на очистку,
Э - эффективность очистки, %.
Мул=24000 ·0,06=1440 кг/сут
Полученные данные сводим в таблицу 3.1
Таблица 3.1 - Характеристики сточных вод, поступающих в
песколовку.
|
Загрязняющее
вещество
|
До очистки
|
После очистки
|
|
Концентрация,
г/ м3
|
Массовый
расход, кг/сут
|
Концентрация,
г/ м3
|
Массовый
расход, кг/сут
|
|
Взвешенные
вещества
|
80
|
24000
|
75,2
|
22560
|
Из песколовки выходит 22560 кг/сут загрязненных сточных вод.
Количество веществ, удаляемых в осадок (C3Q3) равно 1440 кг/сут.
Вместе с осадком уходит 60 % воды от массы вещества, т.е.864 кг/сут
Расчет материального баланса для первичного отстойника.
Рассчитываем массу загрязняющих веществ по формуле:
Мотс=Q *Ciотс (3.6)
где Мотс - масса i-го вещества после
очистки в первичном отстойнике,
Ciотс - концентрация i-го вещества после
первичных отстойников.
) Взвешенные вещества
Мотс=42,4·300=12720 кг/сут
) Нефтепродукты
Мотс=0, 204·300=61,2 кг/сут
) Азот аммонийный
Мотс=8,2·300= 2460 кг/сут
) Фосфаты
Мотс=3,2·300= 960 кг/сут
) Хлориды
Мотс=19·300=5700 кг/сут
) Сульфаты
Мотс=19·300=5700 кг/сут
Масса веществ кг/сут уловленных в первичных отстойниках
определяется
Му. от= Мп. п - Мотс (3.7)
где Му. от - масса уловленного i-го вещества в первичных
отстойниках,
Мп. П - масса поступившего i-го вещества,
Мотс - масса i-го вещества после очистки в первичном
отстойнике.
) Взвешенные вещества
Му. от=22560 - 12720=9840 кг/сут
) Нефтепродукты
Му. от=81-60=21,0 кг/сут
) Азот аммонийный
Му. от=3240 - 2460=780 кг/сут
) Фосфаты
Му. от=1170-960=210 кг/сут
) Хлориды
Му. от=6480-5760=720 кг/сут
) Сульфаты
Му. от=6000-5700=300 кг/сут
Эффективность очистки после первичных отстойников считается
по формуле (3.4) 1) Взвешенные вещества
Э=
) Нефтепродукты
Э=
) Азот аммонийный
Э=
) Фосфаты
Э=
) Хлориды
Э=
) Сульфаты
Э=
Полученные данные сводим в таблицу 3.2.
Таблица 3.2 - Характеристики сточных вод, поступающих в
первичные отстойники
|
Загрязняющее
вещество
|
До очистки
|
После очистки
|
|
Концентрация,
г/ м3
|
Массовый
расход, кг/сут
|
Концентрация,
г/ м3
|
Массовый
расход, кг/сут
|
|
Взвешенные
вещества
|
75,2
|
22560
|
42,4
|
12720
|
|
Нефтепродукты
|
0,27
|
81,0
|
0,11
|
61,2
|
|
Азот аммонийный
|
10,8
|
3240
|
8,2
|
2460
|
|
Хлориды
|
21,6
|
6480
|
19,0
|
5700
|
|
Фосфаты
|
3,9
|
1170
|
3,2
|
960
|
|
Сульфаты
|
20
|
6000
|
19,0
|
5700
|
Из первичных отстойников выходит 12720 кг/сут загрязняющих
веществ. Количество веществ, удаляемых в осадок (C4Q4) 9840 кг/сут. Вместе с
осадком уходит 95 % воды от массы вещества, т.е. 9348 кг/сут
2.2.2 Расчет
материального баланса для биологической очистки
Рассчитываем массу веществ после биологической очистки [21].
Мп. био=Q*Ciп. б (3.8)
где Мп. био-масса i-го вещества после
биологической очистки, Сiп. б - концентрация i-го загрязняющего вещества после
биологической очистки.
) Взвешенные вещества
Мп. био=11,2·300=3360 кг/сут
Нефтепродукты
Мп. био =0,11·300=33 кг/сут
) Азот аммонийный
Мп. био=2,7·300=810 кг/сут
) Медь
Мп. био=0,0066·300=1,98 кг/сут
) Никель
Мп. био=0,0115·300=3,45 кг/сут
) Хром+3
Мп. био=0,0015·300=0,45 кг/сут
) Фосфаты
Мп. био=3,2·300=960 кг/сут
) Хлориды
Мп. био=19·300=5700 кг/сут
) АПАВ
Мп. био=0,085·300=255 кг/сут
) НПАВ
Мп. био =0,146·300=438 кг/сут
) Жиры
Мп. био=4,71·300=1413 кг/сут
) Сульфаты
Мп. био=19·300=5700 кг/сут
) Свинец
Мп. био=0,003·300=0,9 кг/сут
Масса веществ (кг/сут), уловленных на биологической очистке:
Му. б= Мотс - Мп. био (3.9)
) Взвешенные вещества
Му. б=12720-3360=9360 кг/сут
) Нефтепродукты
Му. б =61,2-0,33=60,87 кг/сут
) Азот аммонийный
Му. б=2460-810=1650 кг/сут
) Медь
Му. б=81-1,98=79,02 кг/сут
) Никель
Му. б=72-3,45=68,55 кг/сут
) Хром+3
Му. б=0,81-0,45=0,36 кг/сут
) Фосфаты
Му. б=990-960=-30 кг/сут
) Хлориды
Му. б=5760-5400=360 кг/сут
) АПАВ
Му. б= 90-25,5=64,5 кг/сут
) НПАВ
Му. б=111-43,8=46,2 кг/сут
) Жиры
Му. б=3150-1461=1689 кг/сут
) Сульфаты
Му. б=6000-5610=390 кг/сут
) Свинец
Му. б=2,7-0,9=1,8 кг/сут
Эффективность биологической очистки.
) Взвешенные вещества:
Э=
) Нефтепродукты
Э=
) Азот аммонийный
Э=
) Медь
Э=
) Никель
Э=
) Хром+3
Э=
) Хлориды
Э=
) АПАВ
Э=
) НПАВ
Э=
) Сульфаты
Э=
) Жиры
Э=
) Свинец
Э=
Полученные данные сводим в таблицу 3.3.
Таблица 3.3 - Характеристики сточных вод, поступающих в
первичные отстойники
|
Загрязняющее
вещество
|
До очистки
|
После очистки
|
|
Концентрация,
г/ м3
|
Массовый
расход, кг/сут
|
Концентрация,
г/ м3
|
Массовый
расход, кг/сут
|
|
1
|
2
|
3
|
4
|
5
|
|
Взвешенные
вещества
|
42.4
|
12720
|
11,2
|
3360
|
|
Нефтепродукты
|
0, 204
|
61,2
|
0,11
|
33
|
|
Азот аммонийный
|
8,2
|
2460
|
2,7
|
810
|
|
1
|
2
|
3
|
4
|
5
|
|
Медь
|
0,27
|
81,0
|
0,0066
|
1,98
|
|
Никель
|
0,24
|
72,0
|
0,012
|
3,45
|
|
Хром+3
|
0,0027
|
0,81
|
0,0015
|
0,45
|
|
Фосфаты
|
3.3
|
990
|
3,2
|
960
|
|
Хлориды
|
19
|
5760
|
18
|
5400
|
|
АПАВ
|
0,3
|
111
|
0.085
|
9.82
|
|
НПАВ
|
0.37
|
40.7
|
0,146
|
43,8
|
|
Жиры
|
10,5
|
3150
|
4,87
|
1461
|
|
Сульфаты
|
20
|
6000
|
18.7
|
5610
|
|
Свинец
|
0,009
|
2,7
|
0,003
|
0,9
|
Из вторичных отстойников выходит 3360 кг/сут загрязняющих
веществ. Количество веществ, удаляемых в осадок (C5Q5) равно 9360 кг/сут.
Вместе с осадком уходит 100 % воды от массы вещества, т.е.9360 кг/сут. При
прохождении через очистные сооружения потери воды составляют 10 % =30 000 м3/сут.
Рассчитываем эффективность всей очистки:
Э=
×100%, (3.10)
где Спос - начальная концентрация i - го компонента, с которой он поступил на очистку г/ м3;
Ск - конечная концентрация i-го компонента, г/м3,
Эi - эффективность очистки по каждому
веществу, %
) Взвешенные вещества
Э=
) Нефтепродукты
Э=
) Азот аммонийный
Э=
) Медь
Э=
) Никель
Э=
) Хром+3
Э=
) Фосфаты
Э=
) Хлориды
Э=
) АПАВ
Э=
) НПАВ
Э=
) Жиры
Э=
) Сульфаты
Э=
13) Свинец
Э=
2.3 Расчет
дополнительного оборудования
Рассчитываем расход воздуха
, (3.11)
где
g0-=1,1
мг/мг удельный расход кислорода воздуха мг на 1 мг БПКполн,
принимаемой при очистке по БПКполн 15-20 мг/л,
К1 - коэффициент учитывающий тип аэратора К1= 0,75,К2-коэффициент
зависящий от глубины погружения аэратора К2=2,72,К3-коэффициент учитывающий
качество воды (для городских вод - К3=0,85),
К4 - коэффициент учитывающий температуру сточной воды.
Кт=I+0.02 (Tw-20),
где Tw-среднемесячная температура на летний
период 0с
, (3.12)
где
ha-глубина погружения аэратора, м,
C0-средняя
концентрация кислорода в аэротенке, мг/л.
К1=0,75, К2=2,72, К3=0,85. КТ=1+0,02
(20-20) =1,02
Са=
·10,15=12,36 мг/л, С0=4 мг/л
Len-БПКполн поступающей в
аэротенки воды, мг/л,
LexБПКполнводы после первичных
отстойников, мг/л
С учетом ПДС

мг/л.
2.3.1 Расчет
решеток
Для удаления очень крупных и средних частиц используют
механическую грабельную решетку. Определяем секундный расход сточной воды:
м3/с (3.13)
Определяем количество прозоров решетки:
, (3.14)
где Qmax - секундный расход сточных вод, м3/с
[40];
Hmax - глубина воды в камере решетки, до 1,5 м. [27];
Vp - скорость движения воды в решетке, не более 1 м/с;
Кз = 1,05 - коэффициент неравномерности;
B - ширина между стержнями, b=16мм.
Определяем количество решеток:
.
Общая ширина решетки:
(3.15)
где S - толщина стержней решетки, 8мм;
nпр - число
прозоров, 56 шт;
b - ширина между стержнями, b = 16мм.
Bp= 0,008 · (145-1) ·0,016·145=0,39=2,7 м
Выбираем типовую решетку МГ-11 Т размером 1000*1600 мм,
Требуемое количество решеток, шт.:
= 2,7/1 = 2,7 » 3 шт.
Выбираем две решетки рабочих и одну резервную.
Потери напора в решетке, м:
·sina·
, (3.16)
где b - коэффициент,
зависящий от формы стержня решетки,
V - скорость движения воды в камере перед решеткой, 1 м/с;
G - ускорение свободного падения, 9,81;
P - коэффициент, учитывающий увеличение потерь напора вследствии
засорения решетки, принимается равным 3 [27];
sina - угол наклона решетки к поверхности воды,
sin60 = 0,866
h = 1,79· (
) ·3 = 0,27м.
Количество задержанных на решетке отбросов, м3/сутки:
Vсут = а·Q, (3.17)
Vсут =
0,3·300000 = 90000 м3/сутки.
Радиус решетки, м:
Rp= Hp+850 мм = 1600+850 = 2,45 м,
где Hp - высота решетки, мм.
длина камеры решетки, м:
lp = Rp+ 0,5м. = 2450+500 = 2,59 м
длина входа в камеру, м
ll= 1,37 (Bp - Bk) = 1,37 (1,0 - 0,8) = 0,27 м.
длина выхода из камеры, м:
l2 = 0,5 ll=0,5 * 0,27 = 0,14 м.
2.3.2 Расчет
песколовки
Песколовка предназначена для выделения из сточных вод тяжелых
нерастворенных минеральных примесей, при расходе воды более 300 м3/сутки. В
песколовке задерживаются частицы размером 0.25 мм и более. Время нахождения
воды в песколовке 30-60 минут. Песколовка состоит из рабочего и осадочного
отделений.
Расчет песколовки заключается в определении размеров как
рабочей, так и осадочной части.
Определяем длину песколовки по формуле 17 СНиП 2.04.03-85
"Канализация, наружные сети и сооружения”.
L = Ks
, (3.18)
где Hs - расчетная глубина песколовки, м (см.
табл.28, СНиП);
Vs - скорость движения сточной воды, м/с (принимаем по табл. 28,
СНиП);
Uo - гидравлическая плотность песка, мм/с, принимается в зависимости
от требуемого диаметра частиц песка;
Ks - коэффициент, учитывающий влияние турбулентности (см. табл. 27
СНиП).
По табл. 27 и 28 (СНиП) принимаем: Uo = 18,7 мм/с, тогда Ks = 1.7; Hs = 1м, а Vs= 0,15-0,3, принимаем Vs=0,2м/с.
L =
. (3.19)
Определяем площадь живого сечения проточной части, м2:
w =
, (3.20)
где gmax - секундный расход сточной воды, м3/с;
Uo - гидравлическая крупность песка, мм/с [26].
w =
м2
Ширина проточной части отделения песколовки, м:
B =
n, (3.21)
где w - площадь
живого сечения;
Hs - глубина песколовки;
N - число делений песколовки.
B =
м.
Определяем количество задержанного песка в сутки:
W = a×Q; (3.22)
где а - среднее содержание примесей, кг/ м3, г/м3,
м3 /м3
W = 0,29·300000 = 87000 кг/сут,
Определяем количество осадков в год:
Wос = W×365 (3.23), Wос = 87600·365=31755·103 кг/год.
Объем осадка, улавливаемого за сутки:
Wос. с =
, (3.24)
где N - число жителей, обслуживаемых
канализацией,
p - норма осаждения песка на одного человека, л/сутки [31];
T - число суток между двумя чистками.
Wос. с =
м3/сутки,
Определяем количество задержанного песка в сутки:
W = a×Q; (3.25)
где а - среднее содержание примесей, кг/ м3, г/м3,
м3 /м3
W = 0,292·300000=87600 кг/сут,
Определяем количество осадков в год:
Wос = W×365 (3.26)
Wос = 87600×365 =
319774000 кг/год.
Определяем фактический объем пескового приямка, принятого проектом
песколовки:
F = n×B×L, (3.27)
где n - количество отделений песколовки;
B - ширина отделений, м;
L - длина песколовки, м.
F = 2 ·11,2·30,9=692,2 м2.
При выгрузке осадка один раз в сутки максимальная высота слоя
осадка равна:
Ho= V·Кн, (3.28)
где Кн = 3 - коэффициент, учитывающий неравномерность
распределения осадка по площади песколовки [27].
Ho=
м.
Из конструктивных соображений принимаем горизонтальную песколовку
с круговым движением воды, с двумя рабочими отделениями, длиной 18,18 м,
шириной отделения 11,3 м. Песколовка выполнена из сборных железобетонных элементов.
2.3.3 Расчет
первичного отстойника
Первичные отстойники предназначены для механической очистки и
осветления сточных вод, прошедших через песколовки. В отстойниках взвешенные
вещества оседают на дно под действием силы тяжести или всплывают. Вертикальные
отстойники представляют собой круглые железобетонные резервуары с коническим
днищем.
Определяем необходимый объем отстойной части отстойника:
W = q×t, (3.29)
где q - расход сточных вод, м3/с;
T - время отстаивания, с
W =
= 1561,5 м3
Определяем высоту отстойной части отстойника:
H = J×t, м. (3.30)
где J - скорость
протока жидкости, м/с.
H = 0,002 × 1,5 × 3600 = 10,8 м.
Определяем площадь живого сечения:
F =
, м2. (3.31)
F =
м2.
Определяем диаметр отстойника:
D =
, м. (3.32)
где
f - площадь живого сечения центральной трубы, которая определяется
по формуле
f =
, м2. (3.33)
где J - скорость
потока жидкости в центральной трубе, м/с.
f =
м2.
По формуле определяем диаметр,
D=
м. (3.34)
Определяем диаметр центральной трубы:
d =
, м (3.35)
d =
м.
Находим общую высоту вертикального отстойника:
H = h1 + h2 + h3 + h4+ h5, (3.36)
где,
h1 - высота
рабочей части отстойника;
h2 -
расстояние от конца раструба центральной трубы до отражательного щита;
h3 -
нейтрального слоя;
h4 - высота
иловой части;
h5 -
превышение борта отстойника над уровнем жидкости
H = 3.8 + 0.3 + 0.3 + 3.8 + 0.4 = 8.6 м.
Из конструктивных соображений выбираем 12 первичных радиальных
отстойников, диаметром 8,3 м, общей высоты 8,6 м.
2.3.4 Расчет
вторичных отстойников
Назначение вторичного отстойника - отстаивание мертвой
пленки, выносимой после биологической очистки. Применяют радиальные отстойники.
Время отстаивания - 1,5 часа. Скорость движения воды в отстойнике - 0,5 мм/с.
Определяем рабочую глубину отстойника:
Н = J×r× 3600, (3.37)
где J - скорость движения воды
в отстойнике, мм/с [32];
r - продолжительность отстаивания [27].
Н = 1,5 × 0,0005 × 3600 = 2,7 м.
Определяем общий объем промытой части всех отстойников:
W =
, (3.38)
где,
Q - расход воды, м3/сутки [30];
К = 1 - коэффициент неравномерности;
r - время неравномерности.
W =
м3
Определяем площадь одного отстойника:
F =
, (3.39)
где n - рабочая глубина, м [32];
h - количество отстойников [12].
F =
м2.
Определяем диаметр отстойника:
D =
, (3.40)
где
f - площадь живого сечения центральной трубы, которая определяется
по формуле (5.22)
f =
м2, D =
= 27,2 м.
Из конструктивных соображений для очистки сточных вод выбираем 12
вторичных радиальных отстойников диаметром 8 м, площадью 578,7 м2
2.3.5 Расчет
иловых площадок
Определяем полезную площадь иловых площадок:
Fполез =
(3.41)
где W - количество осадка, м3/сутки,
поступающего на иловые площадки [34];
k1 -
коэффициент уменьшения количества ила в результате его распада;
k2 -
коэффициент уменьшения количества ила в результате уменьшения его влажности
после сбраживания;
k3 -
климатический коэффициент, принимаемый по нормам;
h - высота напуска ила на 1 м2 иловых площадок, м.
Fполез =
м2;
Определяем полную площадь иловых площадок:
Fполн = Fполез× 1,3; (3.42)
Fполн =
61928,3 × 1,3 = 80506,8 м2;
Определяем площадь залива:
Fз =
, (3.43)
где - слой напуска ила, м [10].
Fз =
м2;
Определяем площадь замораживания за год:
Fнам =
(3.44)
где t - период замораживания, дней
к4 - коэффициент, учитывающий уменьшение объема осадка вследствие
зимней фильтрации и испарения;
к5 - коэффициент, учитывающий часть площади, отводимое под зимнее
замораживание.
нам =
м2
Это составляет меньше 80% общей площади, в связи с чем
дополнительная площадь иловых площадок не нужна.
Иловые площадки представляют собой заглубленные спланированные и
заасфальтированные участки земли окруженные со всех сторон земляными откосами и
выложенными бетонными плитами высотой 1м.
Карты оборудованы дренажами состоящими из щелевых асботруб,
засыпанных слоем гравия.
В процессе работы над проектом было подобрано оборудование для
станции очистки бытовых сточных вод. Решетка МГ-11Т размером 1000 1600 мм, общей шириной 0,4 м., толщиной
стержней 8мм., числом прозоров 56 шт Горизонтальная песколовка, состоящая из
приемного и отстойного отделений, длиной 18,18 м, шириной отделения 11,3 м с
круговым движением воды; первичный радиальный отстойник диаметром 8.3 м, общей
высотой 8,6 м с высотой отстойной части 10,8 м; вторичный радиальный отстойник
площадью 212,1 м2, диаметром 9 м.
Иловые площадки площадью 80506,8 м2, кроме, того
площадью залива 1221,6 м2 и намораживание 8016,7м2 [6].
2.4 Расчет и
подбор установки УФ - обеззараживания
Источником ультрафиолетовых лучей является ртутно-аргонная
или ртутно-кварцевая лампа, устанавливаемая в кварцевом чехле в центре
металлического корпуса. Чехол защищает лампу от контакта с водой, но свободно
пропускает УФ-лучи. Обеззараживание происходит во время протекания воды в
пространстве между корусом и чехлом при непосредственном воздействии УФ-лучей
на микробы. Поэтому наличие в воде взвешенных веществ, поглощающих световое
излучение, снижает эффективность обеззараживания. Необходима постоянная чистка
наружной поверхности кварцевого чехла от осаждающегося осадка, для этого
имеются продольные щетки, которые приводятся во вращение турбиной. УФ -
излучение действует мгновенно, поэтому контактные бассейны не нужны. В то же
время излучение не придает воде остаточных бактерицидных свойств, а также
запаха и привкуса. Бактерицидная установка не нуждается в реагентах, она
компактна и легко управляема. Работа лампы проверяется визуально через
смотровой глаз, для большей надежности в эксплуатации используют систему
световой или звуковой сигнализации, выведенной в помещение дежурной службы. УФ
- установка приведена на рисунке 2.2.
- корпус; 2 - спираль; 3 - турбина; 4 - опорожнение; 5 -
щетка; 6 - кварцевый чехол; 7 - лампа; 8 - воздухоотделитель; 9-смотровой глаз
Рисунок 2.2 - Схема камеры облучениия бактерицидной установки
ОВ-150
Для запуска установки камеру заполняют водой и включают
лампу. Через 10 мин открывают задвижки на трубопроводах подачи воды. Для
увелиыения пропускной способности допускается параллельное включение до пяти
установок с одной в резерве.
В дипломном проекте выбираем две горизонтальных бактерицидных
установки ОВ-150. Производительность 15 000 м3/ч с числом рабочих
камер 3 и давлением 1 МПа, мощностью лампы 2500 Вт и расчетным бактерицидным
потоком в 60 Вт.
На ЛОС очищаемая вода после вторичных отстойников будет
поступать на станцию УФ-обеззараживания, которую можно разместить в неиспользуемой
хлораторной.
Станция УФ-очистки обеспечивает обеззараживание очищенных
сточных вод перед впуском из водоема.
Количество необходимых ламп находим по формуле 3.45:
N= Q0/q
(3.45)
где Q0 - расход воды, м3/ч
q - производительность 1 лампы, м3/ч
N=12500/620=20 шт
Для очистки сточных вод УФ-обеззараживанием
производительностью 300 м3/сут необходимо пять каналов по четыре
модуля, и один резервный, который используется при промывке других каналов. В
одном канале располагается 4 модуля - 2 ряда по 2 модуля.
Список
использованных источников
1.
Комментарий к закону "Об окружающей природной среде". Официальный
текст, действующая редакция. - М.: Экзамен, 2001. - 32 с.
.
Инструкция "По применению закона РФ о плате за землю" // Министерство
налогов и сборов РФ от 21.02.2000, № 56.
.
ФЗ " Об охране окружающей природной среде " № 7 от 10.01.2002. - М;
2002. - 210 с.
.
ФЗ " О защите населения и территории от ЧС природного и техногенного
характера. - Красноярск, 2000. - 14 с.
.
ФЗ " О гражданской обороне". - Красноярск, 2000. - 35 с.
.
Об утверждении гигиенических нормативов ГН 2.1.6.2897-11 "Дополнение N 9 к
ГН 2.1.6.1338-03 "Предельно допустимые концентрации (ПДК) загрязняющих
веществ в атмосферном воздухе населенных мест: Постановление Главного
государственного санитарного врача Российской Федерации от 12 июля 2011 г. N 98
г. // Рос. газета. - 2011. - 31 августа.
.
Методика расчета концентраций в атмосферном воздухе вредных веществ,
содержащихся в выбросах предприятий ОНД-86: утв. Председателем ГоскомСССР по
гидрометеорологии и контролю природной среды 04.08.1986 г. № 192.; Согл.
Госстроем СССР 7.01.1986 г. № ДП-76-1.; Согл. Минздравом СССР 7.02.1986 г. №
04-4/259-4. - М., 1986. - 76 с.
.
Букс, И.И. Экологическая экспертиза и оценка воздействия на окружающую среду
(ОВОС): книга 1: учеб. пособие / И.И. Букс, С.А. Фомин. - М.: Изд-во МНЭПУ,
1998. - 127 с.
.
Статистический отчет о выбросах в атмосферный воздух: форма № 2 ТП (воздух). -
Кызыл, 2010. - 8 с.
.
СанПиН 2.2.1/2.1.1.1200-03. Санитарно-защитные зоны и санитарная классификация
предприятий, сооружений и иных объектов [Электронный ресурс]: в ред. Изменения
№ 1, утв. Постановлением Главного государственного санитарного врача РФ от
10.04.2008 г. № 25; Изменения № 2, утв. Постановлением Главного государственного
санитарного врача РФ от 06.10.2009 № 61; Изменения и дополнения № 3, утв.
Постановлением Главного государственного санитарного врача РФ от 09.09.2010 №
122). - Режим доступа: http://www.estateline.ru/legislation/418
.
Василенко, А.И. Канализация. Курс проектирования: учеб. Пособие / А.И.
Василенко, А.А. Василенко. - Киев: Высшая школа, 1975. - 208 с.
.
Гост 12.0.003-74* ССБТ. Опасные и вредные производственные факторы.
Классификация с изм. № 1 от 1978 г.
.
Гост 12.4.121-75* ССБТ. Системы вентиляционные. Общие требования безопасности.
С изм. № 1 от 04.1998г.
.
Гост 12.1.003-83* ССБТ. Шум. Общие требования безопасности. С изм. № 1 от
12.1998 г. Переиздано 01.1996г.
.
Гост 12.0,004-90* ССБТ. Организация, обучение безопасности труда. Общие
требования. - Москва, 2001.
.
Гост 12.1.004-90* ССБТ. Пожарная безопасность. Общие требования. С изм. № 1 от
05.10.1993. Переиздан от 01.1996.
.
Договор арендной платы № 1223. От 12.08.2002.
.
Дытнерский Ю.И. Основные процессы и аппараты химической технологии. / Ю.И.
Дытнерский. - "Химия"; 1991. - 493 с.
.
И-72. Инструкция по устройству молниезащитных зданий и сооружений. Руководство
от 30.06.2003. М.: Издательство НЦ ЭНАС, 2004. - 56 с.
.
Клименко, Н.И. Экономика природопользования. Экологический менеджмент.
Экономика и природопользование. / Н.И. Клименко, Л.В. Брезинская. Красноярск,
2002. - 78 с.
.
Ласков, Ю.М. Примеры расчетов канализационных сооружений: Учеб. пособие для
вузов / Ю.М. Ласков, Ю.В. Воронов, В.И. Калицун. - М.: Высшая школа, 1981. -
232 с.
.
НБП 105-95. Определения категорий помещений и зданий по взрывопожарной и
пожарной безопасности. - М: ГУТПС МВД России, 1995.
.
Постановление Правительства № 344 " О плате за загрязнение окружающей
среды и размещение отходов"
.
Постановление Правительства № 1113 " О единой государственной системе
предупреждения и ликвидации ЧС". Москва. - 2000. - 608 с.
.
Правило устройства электроустановок. - М: ЗАО "Энергосервис".
.
Родионов, А.И. Техника защиты окружающей среды / А.И. Родионов, В.Н. Глушин;
"Химия": - М, 1989. - 450 с.
.
Самохин, В.Н. Канализация населенных мест и промышленных предприятий. / В. Н
Самохин. - 2-е изд. Стройиздат, 1981. - 631 с.
.
СанПин 2.2.1/ 2.1.1.1200-03. Санитарные защитные зоны и санитарная
классификация предприятий, сооружений и иных обьектов. - М.: Минздрав России,
2003. - 38 с.
.
СанПин 2.04.05-91* Отопление, вентиляция и кондиционирование. - М: ЦНИУТП
Госстроя, 1996. - 96 с.
.
СанПин 2.2.548-96. Гигиенические требования к микроклимату производственных
помещений. - М.: Госком Эпидемнадзор России, 1996. - 20 с.
.
СниП 2.04.03-85. Канализация. Наружные сети и сооружения. Госстрой России. -
М.: гупцпп, 1999. - 72 с.
.
СниП 2.09.04-87* Административные и бытовые здания. Минстрой России. М: ГПЦПП,
1995. - 19 с.
.
СниП 23-05-95. Естественное и искуственное освещение. М.: Минстрой России,
1995. - 20 с.
.
СниП 21-01-97. Пожарная безопасность зданий и сооружений. М.: Минстрой России,
1995. - 35 с.
.
Технологический регламент Левобережных очистных сооружений ООО
"КрасКом". - Красноярск, 2002. - 233 с.
.
Трудовой кодекс РФ № 197, 2001.
.
ФЗ " О гражданской обороне". - Красноярск, 2000. - 35 с.
.
Чернобыльский, И.И. Машины и аппараты химических производств: И. И.
Чернобыльский,
А.Г. Гаевский; под. общ ред.И. И. Чернобыльского, - 3 - е изд. - М.:
Стройиздат, 1972. - 280 с.
.
Шайхутдинова, М.Н. Процессы и аппараты химической технологии. Расчет сушильных
установок: Учеб. Пособие к курсовому проектированию / М.Н. Шайхутдинова, Л.И.
Ченцова, Э.И. Стрижнева. - Красноярск: СибГТУ, 2001. - 92 с.
.
Ласков, Ю.М. Примеры расчетов канализационных сооружений уебн. особие для вузов
/ Ю.М. Лавсков, Ю. В, Воронцов, В.И. Калицун //. М.: ИД "Альянс",
2008. - 255 с.
.
Кольман, Т.Я. Сравнительная характеристика методов обеззараживания сточных вод/
Т.Я. Кольман, в.А. Гронь // Развитие теории сооружений и совершенствование
методов оситки сточных вод. СФУ, г. Красноряск, 2010. - 6 с. Режим доступа:
conf. sfu-kras.ru›sites/mn2010/pdf/12/22b. pdf