Виды бетона

  • Вид работы:
    Реферат
  • Предмет:
    Строительство
  • Язык:
    Русский
    ,
    Формат файла:
    MS Word
    53,92 Кб
  • Опубликовано:
    2014-09-26
Вы можете узнать стоимость помощи в написании студенческой работы.
Помощь в написании работы, которую точно примут!

Виды бетона















РЕФЕРАТ

по дисциплине «Материаловедение»

ВИДЫ БЕТОНА

Содержание

Введение

. Гидротехнические бетоны

. Основные требования к качеству составных бетонов

. Технология приготовления и транспортировки бетонной смеси

. Последовательность загрузки материалов и время перемешивания бетонной смеси

. Укладка и уплотнение бетонной смеси

. Уход за бетоном, обработка после распалубливания

. Производство бетонных и железобетонных работ в зимних условиях

. Контроль качества бетонных работ

Заключение

Список использованной литературы

Введение

Бетон (от фр. bйton) - искусственный каменный строительный материал, получаемый в результате формования и затвердевания рационально подобранной и уплотнённой смеси, состоящей из вяжущего вещества (цемент или др.), крупных и мелких заполнителей, воды. В ряде случаев может содержать специальные добавки, а также отсутствовать вода (например, в асфальтобетоне).

Согласно ГОСТ 25192-82, классификация бетонов производится по основному назначению, виду вяжущего, виду заполнителей, структуре и условиям твердения:

При строительстве и ремонте индивидуальных жилых домов и при благоустройстве приусадебных участков широко применяется искусственный каменный материал - бетон.

Обычный бетон получают из смеси цемента с водой и различными заполнителями (песка, гравия, щебёнки, гальки и т. п.) после её формования и твердения. До формования указанная смесь называется бетонной смесью. Обычный бетон хорошо выдерживает большие нагрузки на сжатие, но плохо - на растяжение; он используется в таких конструкциях, как фундаменты, толстые стены.

Для придания бетону большей прочности на изгиб в конструкциях, воспринимающих растягивающие усилия (перемычки, плиты, перекрытия и т. п.), бетонную смесь армируют, то есть включают в неё стальную или железную арматуру.

Армированный сталью или железом бетон называется железобетоном.

гидротехнический бетон качество

1. Гидротехнические бетоны

Гидротехнические бетоны, в отличие от бетонов промышленного и гражданского назначения имеют ряд особенностей. Их применяют для возведения сооружений в гидротехническом и гидромелиоративном строительстве.

В зависимости от конструкции и размеров сооружений, расположения относительно уровней воды, массивности конструкций и назначаются требования к гидротехническим бетонам по водостойкости, водонепроницаемости, морозоустойчивости, прочности, солестойкости, удобообрабатываемости и сниженного тепловыделения.

В зависимости от вида вяжущего бетоны разделяются на:

а) цементные бетоны;

б) известковые бетоны;

в) гипсовые бетоны;

г) бетоны на органических заполнителях.

В зависимости от типа заполнителей бетоны разделяют нa:

Особо тяжелые с Y > 2,5 т/м3. Эти бетоны готовят на тяжелых заполнителях, а в ряде случаев с применением металлической стружки и чугунных обрезков. Применяются такие бетоны при строительстве реакторов АЭС.

Тяжелые бетоны с Y = 1,8 - 2,4 т/м3. Изготавливают, как правило, на гранитном заполнителе. Применяются для строительства гидротехнических сооружений.

Легкие бетоны с Y= 0,5 - 1,8 т/м3. Они применяются для изготовления стеновых панелей или как утеплительный материал.

Особенно легкие с Y< 0,5 т/м3 (существует Y = 10кг/м3) В зависимости от места расположения бетона в ГТС он разделяется на три вида:

Рис. 1

Бетон подводный(А) - который постоянно находится под водой. Как правило, этот бетон изготовляется на шлакопортландцементах, пуцоланових цементах, портландцементах.

Бетон переменного уровня воды (Б). Этот бетон наиболее ответственный и в обязательном порядке должен удовлетворять требованиям по морозоустойчивости. Его готовят на портландцементах и шлакопортландцементах с обязательным применением пластифицирующих добавок.

Бетон надводный (В), который находится выше УВ. Этот бетон изготовляется на всех видах цемента.

В зависимости от массивности конструкций бетоны разделяются на две группы:

Бетон внешней зоны. (1) В зависимости от назначения конструкции и класса сооружений внешняя зона t = 1,5 - 3,0 м.

Бетон внутренней зоны, к которому предъявляются в основном требования по объемной массе. В особенно массивных конструкциях бетон внутренней зоны может быть заменен отсыпкой с уплотнением грунта или камня. В большинстве случаев бетоны внутренней зоны имеют марку ниже чем бетон внешней зоны.

Гидротехнические бетоны должны обладать:

.Химической стойкостью, то есть бетоны должны противостоять химическим влияниям окружающей среды. С этой целью, они изготовляются на сульфатостойких цементах с применением соответствующих добавок.

.Водонепроницаемостью, которая характеризуется наибольшим давлением воды на бетон, при котором не наблюдается просачивания ее через образцы соответствующей формы (d = h = 152 мм), выдержанных t = 180сут.

По водонепроницаемости бетоны разделяются на 5 марок: W2, W4, W6, W8, W12.

.Морозоустойчивостью, которая характеризуется наибольшим числом циклов замораживания и оттаивания, соответствующих образцов, выдержанных в нормальных условиях в течение t =18 суток. При этом, после испытаний потеря их прочности должна быть не более 15%. Замораживание должно проходить при - 15° и ниже на протяжении 4 часов, а оттаивание при +5-20° на протяжении 4 часов.

По морозоустойчивости бетоны разделяют на 6 марок: F50, F100, F150, F200, F250, F300.

2. Основные требования к качеству составных бетонов

Для приготовления бетона применяется гранитный щебень, гравий и мелкие заполнители - песок. Эти материалы должны отвечать следующим требованиям:

.Щебень и гравий должны быть распределены по фракциям с диаметрами частиц: 5…20, 20…40, 40…70, 70…120 мм;

.Прочность материала щебня и гравия должна быть выше заданной прочности бетона не менее чем в 1,5-2 раза;

. Содержание примесей мелких и пылеватых частиц у гравия не должно превышать 1…2% по массе;

. Песок для бетона должен иметь крупность частиц 0,15…5 мм. Иногда песок делят на две фракции: мелкий - 0,15-2 мм и крупный - 2-5 мм Содержание частиц диаметром меньше 0,15 мм должен быть не более 2…3%;

. Вода, которая используется для приготовления бетона и ухода за ним не должна иметь механических примесей, а содержание легкорастворимых солей - не более 5 г/л. Общее содержание сульфатов в воде не должно превышать 2,7 г/л, а показатель концентрации ионов водорода (рН) должен быть не ниже 4;

. Марка цемента должна превышать заданную марку бетонаб 100 150 200 250 300 400 500 600ц 200 200-300 400 500 500 500-600 500-600 600

Для предварительной оценки потребности в материалах можно исходить из того, что для приготовления 1 м3 бетона необходимо иметь:

щебня или гравия - 0,95 м3

песка - 0,45 м3

цемента-0,18…0,4 т

воды-0,12…0,25 м3

С целью повышения качества гидротехнического бетона и его долговечности необходимо:

. Использовать 2-3 фракции щебня и 2-3 фракции песка. Применение этих фракций позволяет увеличить плотность бетона.

. Необходимо стремиться к увеличению крупности заполнителей, что позволяетснизить количество цемента на 10-15% и екзотермию бетона.

. Необходимо применять соответствующие заданным маркам бетонацемент.

. Необходимо стремиться к применению более твердых бетонных смесей с водоцементным отношением В/Ц < 0,5.

. Необходимо применять зональный метод бетонирования, то есть внешние части гидротехнических сооружений выполнять из повышенных марок бетона.

. При приготовлении бетонных смесей в летних условиях необходимо стремиться квыпуску бетонной смеси с пониженой температурой, для чего применяются холодная вода и лед.

. Необходимо бетонные работы построить так, чтобы покрытие ранее уложенного слоя бетона осуществлялось к началу его отвердевания.

3. Технология приготовления и транспортировки бетонной смеси

В отличие от большинства материалов, которые используют в строительстве бетонную смесь нельзя заготовить заранее и перевозить на большие расстояния. После приготовления она должна быть уложена в блоки сооружений до начала отвердевания. Такая ее особенность вызывает необходимость в приготовлении ее вблизи мест укладки, чтобы время пребывания смеси в дороге летом не превышало 1 час. Процесс приготовления бетонной смеси состоит из таких операций:

транспортировка составляющих ее материалов;

дозирование их;

загрузка в бетоносмеситель;

перемешивание;

выгрузка бетона.

Ведущий процесс - перемешивание смеси - осуществляют в бетоносмесителях различных типов и конструкций. процесс приготовления бетонной смеси в значительной степени зависит от имеющегося оборудования, заполнителей и других составляющих бетона. Как правило приготовление бетонной смеси осуществляется на заводах в производственной комплекс которых входят:

. Склады заполнителей и цемента;

. Комплекс объектов: компрессорная, насосная станция, трансформаторная подстанция, котельная и др.

. Бункеры заполнителей, цемента, воды и добавок.

. Дозирующие устройства.

. Смесительное оборудование (бетономешалки).

. Система управлением хозяйством.

. Бункеры выдачи готовой бетонной смеси.

Бетонная смесь может готовиться на разных типах бетоносмесительных установок, которые можно разделить на такие виды:

. По назначению:

а) приобъектные, производительностью до 10 м3/час., применяются для приготовления бетонной смеси непосредственно на объектах;

б) заводы для приготовления товарного бетона - постоянно действующие, производительностью более 15 м3/час.;

в) заводы, предназначенные для приготовления бетонной смеси на заводах сборного железобетона.

. По принципу действия:

а) циклического действия, что в свою очередь разделяются на:

. заводы с гравитационным перемешиванием смеси;

. заводы с принудительным перемешиванием бетонной смеси.

Преимущество гравитационного перемешивания заключается в возможности применения заполнителей с крупностью более 150 мм, в отличие от принудительного, при котором крупность заполнителей не должна превышать 50 мм

б) заводы непрерывного действия.

. По мобильности:

а) стационарные заводы;

б) инвентарные заводы;

в) передвижные заводы (автобетономешалки с емкостью до 4 м3) .

. По способу управления:

а) механизированные;

б) автоматизированные.

. По схеме компоновки:

а) одноступенчатые, когда все технологические процессы проходят одну точку (один ярус).

б) двухступенчатые.

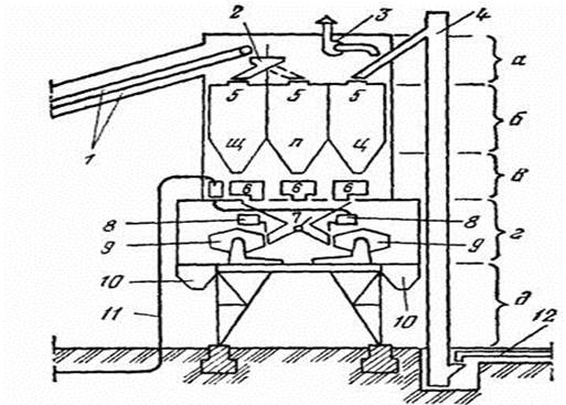
Рис.2 Схема компоновки одноступенчатой стационарной типовой бетоносмесительной установки: а - надбункерное помещение; б - расходные бункеры; в - дозаторное отделение; г - бетоносмесительное отделение; д - отделение выдачи готовой смеси; 1- наклонная галерея с ленточным транспортером; 2 - поворотная распределительная воронка; 3 - система вентиляции; 4 - вертикальный ковшовый элеватор для цемента; 5 - расходные бункеры щебня, песка, цемента; 6 - дозаторы; 7 - бункер-воронка с течками; 8 - дозаторы для воды; 9 - бетоносмесители; 10 - бункеры готовой смеси; 11 - подвод воды; 12 - горизонтальный шнековый транспортер для цемента.

4. Последовательность загрузки материалов и время перемешивания бетонной смеси

На качество бетонной смеси влияют такие факторы:

. Правильная загрузка материалов.

. Время загрузки.

. Время перемешивания бетонной смеси.

Последовательность загрузки материала в бетоносмеситель осуществляется в таком порядке: сначала загружается 15-20% воды от необходимого количества, а затем поступает песок, цемент и крупный заполнитель. Оставшееся количество воды, загружается в течении всего цикла загрузки материала.

Время перемешивания бетонной смеси зависит от:

. подвижности бетонной смеси;

. состава бетонной смеси;

. крупности заполнителей;

. емкости бетоносмесителя и находится в границах:

Перегрузка бетоносмесителей допускается не более чем на 10%.

. Транспортировка бетонной смеси

Транспортируют бетонную смесь к объектам с/х строительства в основном автомобильным транспортом: автосамосвалами, автобетоновозами, бортовыми автомобилями (в таре), автобетоносмесителями и в специальных емкостях.

Автомобили-самосвалы общего назначения - наиболее распространенный вид транспорта.

Автобетоновозы - специализированные автомобили для перевозки готовых бетонных смесей от бетонных заводов к сооружаемым объектам. Они имеют специальный корытообразной формы кузов, который не допускает расслоения и разбрызгивания бетонной смеси.

Бортовые автомобили используют во время перевозки бетонной смеси в бадьях, контейнерах и специальных бункерах.

Автобетоносмесители это бетоносмесители, смонтированные на автомобиле для приготовления бетонной смеси в дороге.

Во время перевозки бетонной смеси на небольшие расстояния (до 0,5 км) и в пределах строительной площадки применяют мототележки с опрокидными кузовами емкостью 0,3 м3 или с перекидными ковшами.

Длительность перевозки не должна превышать сроки отвердевания смеси (1 - 1,5 ч).

Бетонную смесь к месту укладки подают различными способами в зависимости от вида и расположения строящейся конструкции, свойств бетонной смеси, объема бетонных работ и заданных темпов бетонирования.

Высота свободного сброса бетонной смеси для предотвращения расслоения не должна превышать 2 м.

Для подачи бетонной смеси из бровки котлована на расстояние 5-10 м при небольшом уклоне 5-10° можно использовать вибротранспортные установки.

Для подачи бетонной смеси на глубину до 10м применяют вертикальные звеньевые хоботы, свыше 10м - виброхоботы.

Бетонную смесь для сооружения конструкций надземной части подают стреловыми и башенными кранами, различными подъемниками.

Бетонную смесь с помощью кранов подают в раздающих опрокидных бадьях вместимостью 0,3 - 0,8м3 и поворотных ковшах-бадьях вместимостью 0,3 - 3м3.

Доставленную автомобилями бетонную смесь перегружают в раздающие бадьи, для чего устраивают приямки.

При бетонировании больших массивов целесообразно подавать бетонную смесь с помощью бетононасосов и пневмотранспортных средств.

Пневмотранспортными установками бетонную смесь подают на расстояние до 200м по горизонтали и до 35м по вертикали. Транспортируют ее по бетоновозу с помощью пневмонагнетателя, в котором компрессор поддерживает необходимое давление (до 0,6 МПа).

Пневмотранспортные установки широко применяются для устройства набивных свай и имеют производительность 10 и 20 м3/час.

. Укладка и уплотнение бетонной смеси


h = Qt/F

где: h - толщина укладываемого слоя, м.;- интенсивность подачи бетонной смеси, м3 /час;- площадь бетонной конструкции, м ;максимальная длительность времени перекрытия ранее уложенного слоя, час.;

t = t1 - t2

где: t1 - промежуток времени между затвором и началом отвердевания цемента, час.- длительность транспортировки и укладки первой порции бетонной смеси, час.

Для обеспечения уплотнения укладываемого слоя, его толщину принимают не более 1,25 длины рабочей части внутреннего вибратора.

Колонны, стены и перегородки бетонируют ярусами. В пределах яруса бетонную смесь укладывают непрерывно, между ярусами устраивают рабочие швы. Высота яруса принимается 2-3 м.

В балки, прогоны и плиты перекрытий бетонную смесь укладывают, как правило, одновременно. В плитах толщина укладываемого бетонного слоя, составляет 12-25 см.

Арки и своды бетонируют в направлении от пят к замку, одновременно с двух сторон. При пролете более 15 м. бетонную смесь укладывают полосами, длина которых такая же как и продольной оси конструкции. Между полосами оставляют небольшие разрывы, которые заполняют через 5 - 7 дней.

В бетонные подготовки бетонную смесь укладывают широкими полосами между маячными досками сразу на всю высоту.

Основной способ уплотнения смеси - вибрация.

Сущность его заключается в том, что с помощью вибраторов вызывают колебательные движения частиц смеси. В итоге резко снижаются трение и сцепление между ними, смесь приобретает подвижность структурной жидкости, которая стремится занять наименьший объем. Частицы смеси укладываются плотнее в опалубку, выдавливая на поверхность пузырьки воздуха и воды.

В зависимости от способа влияния на бетонную смесь при ее уплотнении различают внутренние, внешние и поверхностные вибраторы.

Внутренние вибраторы наиболее эффективны, их рабочий наконечник при работе окунают в массу, которую уплотняют.

Внешние вибраторы, прикрепляют к опалубке и через нее передают вибрацию на бетонную смесь.

Поверхностные вибраторы устанавливают на уложенный слой смеси.

По мере бетонирования внутренние вибраторы переставляют из одной позиции на другую. Шаг их передвижения составляет 1,5 - 1,75 радиуса действия.

Поверхностные вибраторы переставляют, перекрывая уплотненный участок на 50 - 100 мм

Длительность вибрации для внутренних вибраторов 20 - 40 с; поверхностных 20 - 60 с; внешних - до 60 с.

При бетонировании бетонных и ж/б конструкций неминуемы перерывы в работе. Поэтому устраивают рабочие швы. При возобновлении бетонирования, поверхность ранее уложенного бетона необходимо очистить от грязи и пленки цементного молока, чтобы обнажить крупный заполнитель. На старом затвердевшем бетоне делают насечку. Очищенную поверхность обдувают сжатым воздухом и смачивают водой.

Непосредственно перед возобновлением бетонированрования на подготовленную поверхность наносят слой цементного раствора состава 1:3.

. Уход за бетоном, обработка после распалубливания

После укладки бетонной смеси наступает период выдержки, который длится до получения бетоном необходимой прочности. В этот период осуществляется уход за бетоном.

В сухую погоду при температуре 15.°С и выше поверхность бетона систематически увлажняют, поливая ее водой. Бетоны на портландцементе необходимо поливать на протяжении 7 суток. Первые три дня бетон поливают через каждые три часа и 1 раз ночью, а в последующие дни не реже 3-х раз в сутки. Бетоны на шлакопортландцементах, которые имеют меньшую активность, поливают на протяжении 14 суток, а на высокоактивных глиноземистых цементах - на протяжении 3х суток.

В жаркую сухую погоду при температуре более 15.°С открытые распалубленные поверхности бетона необходимо защищать от солнца, укрывая их рогожами защитными пленками.

В период выдерживания бетона до приобретения им прочности не менее 1,5 МПа движение людей и установка рихтовок по забетонированной поверхности запрещены.

Обработка поверхностей конструкций состоит в исправлении дефектов, выявленных после распалубливания: пустот, каверн, раковин, их расчищают, потом заполняют бетонной смесью или раствором под давлением. Для придания поверхности бетона соответствующего вида ее обрабатывают пескоструйными аппаратами, шлифуют и т.д.

. Производство бетонных и железобетонных работ в зимних условиях

При температуре ниже 0.°С вода в бетонной смеси замерзает, реакция гидратации прекращается, и бетон не отвердевает. Если к моменту замерзания бетон набрал определенную прочность, то после оттаивания он может достичь проектной марки. Минимальное значение прочности, что может быть допущено к моменту замерзания, называется критической прочностью. Эта прочность указывается в проекте, ее минимальное значение регламентируется СНиП.

Для обеспечения рационального температурно-влажностного режима отвердевания бетона применяют разные способы: безобогревное выдерживание бетона, искусственный подогрев и комбинированную выдержку.

Безобогревную выдержку бетона осуществляют путем применения метода термоса и химических добавок.

Для искусственного подогрева бетона используют электроэнергию, пар и теплый воздух.

Комбинированная выдержка является соединением отдельных методов.

Температура бетонной смеси, которая укладывается в опалубку при выдерживании бетона по методу термоса, должна отвечать установленной расчетом, при применении искусственного обогрева - быть не ниже +5°С.

Производство бетонных работ в зимних условиях требует соответствующей подготовки: предварительно определяют объемы работ и выбирают методы их выполнения; защищают грунт основания от промерзания и т.п.. При транспортировке бетонной смеси утепляют тару и прогревают ее перед загрузкой у нее бетонной смеси. Открытые поверхности бетона укрывают.

Перед укладкой бетонной смеси опалубку и арматуру очищают от снега и пыли. Арматурные стержни диаметром более 25мм., арматуру из прокатных профилей и большие залоговые части при отрицательной температуре воздуха ниже -10°С подогревают до положительной температуры.

Бетонирование монолитных конструкций с применением прогревания бетона необходимо проводить таким образом, чтобы исключить возможность возникновения значительных температурных деформаций. Для этого в определенных местах оставляют разрывы, которые заполняют бетонной смесью после охлаждения положенного раньше бетона к 15°С.

. Контроль качества бетонных работ

Контроль качества бетонных и железобетонных работ должен состоять из проверки:

качества арматуры и составляющих бетонной смеси, а также условий их хранения;

работы бетоносмесительных узлов, их дозирующих устройств и бетонного хозяйства в целом;

готовности блоков и частей сооружений к бетонированию ( подготовка основы, установления опалубки, лесов и подмостей, арматуры и закладных частей);

качества бетонной смеси при ее приготовлении, транспортировке и укладке;

правильности ухода за бетоном, сроков распалубливания, а также частичной и полной нагрузки конструкций;

качества забетонированных конструкций; - осуществление мероприятий по устранению обнаруженных дефектов;

Для проведения мероприятий контроля бетонных работ необходимо вести систематический надзор за проведением работ, выполнять в необходимых случаях соответствующие анализы, исследования, испытания, вести установленную техническую документацию по проведению и контролю качества работ.

При контроле качества бетона проверяют:

соответствие фактической прочности бетона в конструкции прочности, которая требует проект, а также заданной в сроки промежуточного контроля;

показатели морозоустойчивости и водонепроницаемости бетона при условии специальных требований проекта.

Необходимо систематически контролировать подвижность и жесткость бетонной смеси в местах ее изготовления и укладки. В случае появления отклонений от заданной консистенции смеси, или же при нарушении ее однородности следует принимать соответствующие меры для улучшения условий транспортировки смеси или изменения ее состава.

Бетонные и железобетонные работы представляют собой комплекс технологических процессов, в результате которых создаются бетонные сооружения необходимых размеров и конфигурации, которые обладают надежностью и долговечностью работы в условиях влияния водного потока, попеременного замерзания и оттаивания и других природно-климатических и производственных факторов.

В комплекс бетонных работ входит приготовление бетонной смеси, транспортировка ее к месту укладки, установление опалубки и арматуры, укладка бетонной смеси и уход за бетоном. Каждый из элементов комплекса представляет собой сложный технологический процесс.

Заключение

Бетон (от фр. bйton) - искусственный каменный строительный материал, получаемый в результате формования и затвердевания рационально подобранной и уплотнённой смеси, состоящей из вяжущего вещества (цемент или др.), крупных и мелких заполнителей, воды. В ряде случаев может содержать специальные добавки, а также отсутствовать вода (например, в асфальтобетоне).

Согласно ГОСТ 25192-82, классификация бетонов производится по основному назначению, виду вяжущего, виду заполнителей, структуре и условиям твердения:

По назначению различают бетоны обычные (для промышленных и гражданских зданий) и специальные - гидротехнические, дорожные, теплоизоляционные, декоративные, а также бетоны специального назначения (химически стойкие, жаростойкие, звукопоглощающие, для защиты от ядерных излучений и др.).

Выбор бетонной смеси по степени её подвижности или жёсткости производят в зависимости от типа бетонируемой конструкции, способов транспортирования и укладки бетона Наряду с ценными конструктивными свойствами бетон обладает также и декоративными качествами. Подбором компонентов бетонной смеси и подготовкой опалубок или форм можно видоизменять окраску, текстуру и фактуру бетона; фактура зависит также и от способов механической и химической обработки поверхности бетона. Пластическая выразительность сооружений и скульптуры из бетона усиливается его пористой, поглощающей свет поверхностью, а богатая градация декоративных свойств бетона используется в отделке интерьеров и в декоративном искусстве.

Список использованной литературы

1. Ясинецкий В.Г., Фенин Н.К. Организация и технология гидромелиоративных работ. - М.: Агропромиздат, 1986.- с.116-184.

. Чураков А.И. и др. Производство гидротехнических работ. - М.: Стройиздат, 1985. с. 262-387.


Не нашли материал для своей работы?
Поможем написать уникальную работу
Без плагиата!
Без нейросетей!